AAC7000 - Aire acondicionado BESTRON - Manual de uso y guía de instrucciones gratis
Encuentra gratis el manual del aparato AAC7000 BESTRON en formato PDF.
Descarga las instrucciones para tu Aire acondicionado en formato PDF gratis! Encuentra tus instrucciones AAC7000 - BESTRON y toma tu dispositivo electrónico nuevamente en la mano. En esta página están publicados todos los documentos necesarios para el uso de su dispositivo. AAC7000 de la marca BESTRON.
MANUAL DE USUARIO AAC7000 BESTRON
ES Manual del usuario
1
HERZLICHEN GLUCKWUNSCH!
Felicidades por la compra de este producto Bestron. En estas instrucciones le explicamos su functionamento y como usar. Antes de usar el aparato, lea bien el manual de instrucciones. Utilice el aparato únicamente tal y como se describe en el manual de instrucciones. Guarde las instrucciones como referencia en el futuro.
En el caso de una avería:
Si el aparato se averiara inesperadamente, nuncainta arreglarlo.ustedismo.Deje que las reparaciones las haga un mecancocualificado.
Uso por niños:
- Este aparato lo pueda usar niños menoseres de 8 años y personas con una limitación fisica, sensorial o mental o una falta de experiencia y conocimiento, pero siempre bajo la supervisión o siguiendo las instrucciones de unadulto sobre su uso seguro y comprendiendo los posiblespeligros correspondientes.
- La limpieza y mantenimiento no las你可以realizar niños, excepto si son mayores de 8 años y está bajo la supervisión de unadulto.
- Mantenga el equipo y el cable alejados del alcance de los niños de 8 años.
- Hay que vigilar a los niños para asegurar de que no juguen con el aparato.
QUE DEBE SABER SOBRE LOS APARATOS ELECTRICOS
- Antes de usar un aparato electrico, compruebe que la tension coincida con la tension indicada en su placar descriptiva.
- Compruebe que el enchufe que vaya a utiliser para un aparato electricoonga contacto a tierra.
- Coloque los aparatos electricos siempre sobre una superficie estable y plana, en un un situo donde no se pueda caer.
- Algunas partes de un aparato electrico peuvent calentarse ligeramente o muito. Para fazer quemaduras, no das toque.
- Procure que sus manos estén sempre secas cuando toque un aparato electrico, un cable o un enchufe.
- Los aparatos electricos tienen que poder eliminar su calor para evaporar el riesgo de incendios. Procure que el aparatoonga suficiente espacio alrededor y no pueda estar en contacto con material inflamable. No cubra nunca los aparatos electricos.
-
Procure que los aparatos electricos, cables o enchufes nothern en contacto con el agua.
-
Nuncasumerja los aparatos electricos, cables o enchufes en agua ni en ningún othero liquido.
- No toque los aparatos electricos si se han caido al agua. Desenchufelo inmediamente de la toma de corriente. No vuelva a usar el aparato.
- Procure que los aparatos electricos, cables o enchufes nothern en contacto con fuentes de calor, como una plancha caliente o una llama.
- No deja los cables sobre el borde de la encimera, tabla deURTAR O una mesa.
- Desenchufe siempre los aparatos electricos si no los está utilizing.
- Al desenchufarlo, no tire del cable sino del enchufe.
- Compruebe con regularidad si el cable del aparato electrico estáurrenta en buen estado. No vuelva a usar el aparato si el cable está un poco dañado. Si el cable está dañado, el fabricante, un servicios专业技术 o una persona con una calidad similar lo tiene que sustituir, para evaporarrialquier riesgo.
- No se pueda poder el aparato en funciona bajo medio de un interruptor externo o con un sistema especial conmandos a distancia.
QUE NECESITA SABER SOBRE Este APARATO
- Tenga cuidado al usar el dispositivo en el exterior.
- No use nunca el aparato en espacios humedes.
- Limpie bien el aparato antes de su uso, vgase «Limpieza y mantenimiento».
- Preste atencion si utilizes este aparato circa de una ventana abierta. El aparato podria mojarse con agua de lluvia y entrada en cortocircuito.
- Asegúrese de que no haya ningún objeto Bloqueando la entrada o la calidad.
- No cubra el aparato cuando está en funciona.


Attencion, riesgo de incendio! R290
MEDIO AMBIENTE

- Tire el material de embalaje, como plástico y cajas, en el conteditor apropiado.
Al final de su vida uyil, no se despendra de este producto como un residuo normal. Llevelo a un punto blanco de su ciudad para el reciclaje de aparatos electricos y electronicos. Preste atencion al symbolo en el producto, las instrucciones o el embalaje.
- Los materiales se peuvent reutilizar tal y como se indica. Reciclando, procesando los materiales o aprovechando antiguos equipos de另一 forma, hacer una gran aportacion a la proteccion del medio ambiente.
- Informese en su municipio del punto blanco correcto cerca de estud.
DECLARACION DE CONFORMIDAD CE
Este producto cumple con las disponeciones de las siguientes directivas europeas en el Campo de la calidad:
CEM - Directivas 2014/30/EU
- Directiva sobre baja tensión 2014/35/EU
RoHS - Directiva 2011/65/EU

R. Neyman
Control de calidad
Este aparato está concebido uniquamente para uso dométrico, no para uso profesional.




1
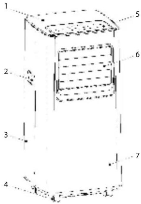
- Carcasa superior
- Asa
- Parte trasera de la carcasa
- Ruedas
-
Panel de control:
a. Pantalla led
b. Botón con funciona de temporizador "TIMER"
c. Botón de velocidad "SPEED"
d. Botón para subir temperatura "UP"
e. _Botón para bajo temperatura “DOWN”
f. Botón para modo de suspensión "SLEEP"
g. Botón para elegir modo "MODE"
h. Botón encendido/apagado "POWER" -
Salida de aire
- Parte delantera de la carcasa
- Filtro EVA
- Conexión para drenaje continuo de agua
- Salida de aire caliente
- Rejilla
- Bandeja de deposito de agua condensada
- Mando a distancia
(2 pilas AAA, no incluidas) - Manguera de drenaje (en 3 partes)
- Juego para ventsa deslizante
- Juego de tuercas
INSTALACION-Instalar drenaje caliente
- Elija un lugar cerca de una ventsa y de una toma de corriente para colocar el aparato.
- Conecte los dos extremos plácicos de manguera de drenaje (figura 1, número 14) en la manquera de drenaje (vease figura 2).
- Instale la manguera de drenaje en la calidad de aire caliente (10), en la parte trasera del aparato (vease figura 2).
- Tome el juego para ventsa deslizante y tire de la pieza interior hacía afuera, hasta que se vea el orificio en la parte exterior.
- Coloque el pero en T que viene con el juego de tuercas (16) a工程技术 del orificio (en la direction correcta, vexe figura 3).
- Empuje las piezas del juego para ventsa deslizante, y asegürese de que la pieza en T del perno en T se deslice bajo de la ranura de la parte interior de manera longitudinal
- Ajuste suavamente la tuerca mariposa en el perno en T.
- Abra a medias la ventana y coloque el juego para ventana deslizante (15) en el marco. Puede instalarse de forma horizontal y vertical (veanse figuras 4 y 5).
- Extienda el juego para ventsa deslizante de modo que quede cubierto todo el ancho del marco.
- Ajuste la tuerca mariposa al jeu para ventana deslizante.
- Cierre la ventana hasta el juego deslizante, de manera que cubra Completely la abertura.
- Coloque el aparato a una distancia de al menos 50 cm de paredes y otros objetos.
- Desenrolle la manguera de drenaje, coloque el extremo plano dentro de la abertura del juego para ventsa deslizante y ajustela con la arandela y el perno que sobran.



ATENCLON:
Para evaporar roturas, la manguera de drenaje solo pueda estar parcialmente torcida o deformada.
- La longitudud maxima de la manguera de drenaje es 150~cm . No use extensiones ni除外s mangueras porque pueda causar desperfecos serios.
Para evitar que se recaliente, laitters del aparato no debe estar bloqueada.
Si Tiene una ventana con hojas en lugar de una ventana deslizante, compre un jeu de sellado de ventana para sellarla herméticamente.
USO - Encendido y apagado
- Coloque el enchufe en la toma de corriente. El aparato ha a un ruido, lo which normal. La pantalla (figura 1, a) indicar a la temperatura actual de la habitacion.
- Pulse el botón "POWER" (h). El aparato comenzará a functionar en el modo que se utilizes por ultima vez. La primera vez que se enciende, el aparato funciona en modo de refrigeración. La luz indica sobre el botón "MODE" se enciende.
- Seleccione la direcction deseada para la corriente de aire. Apunte la corriente de aire hacer delante o levamente hacaba abajo moviendo las aspasizontales (6) en la posicion deseada. Puede girar o mover fácilmente el aparato con las ruedas giratorias para direccionar la corriente de aire en la habitacion.
- Vuelva a apretar el botón "POWER" para apagar el aparato.
- Despues del uso, saque el enchufe de la toma de corriente.
USO - Modo de configuración
El aparato tiene tres发展模式 de configuracion, con los cuales可以选择 ventilar, deshumidificar y refrigerar el ambiente.
Ventilación
- Pulse el botón MODE" (figura 1, g), hasta que la luz indica se enciende en "FAN". El aparato está ahora funciona como ventilador.
- Pulse el botón "SPEED" (C) para Cambiar entre velocidad baja o alta del aire de escape. La luz indicadora se encenderá en "LOW" (baja velocidad) o "HIGH" (alta velocidad).
Deshumidificación
- Pulse el botónMODE" (figura 1, g) una o varias vezes, hasta que la luz indica se encienda en "DEHUM". El aparato arrancará a la minima velocidad y deshumidifica el aire.
ATENCLON:
- Cuando la bandeja interna de recoleccion de agua esté llena, el aparato dejarde de functionar y la luz indicadora del panel de control lostraray el mensaje "WATER FULL". Tendra que vaciar la bandeja de recoleccion de agua para poder seguir usingo el aparato (vease el apartado de 'LIMPIEZA Y MANTENIMIENTO - Drenaie de agua').
Si uses el aparato para deshumidificar el agua de manera habitual, también possible utilizing el drenaje continuo (vease el apartado de LIMPIEZA Y MANTENIMIENTO - Drenaje de agua').
Refrigeración
- Pulse el botón "MODE" (figura 1, g) una o varías veces, hasta que la luz indicadora se enciende en "COOL". El aparato funcionalá ahora como refrigerador de aire realizando un elemento enfiñado.
- Use los botones "UP" (d) y "DOWN" (e) para regular la temperatura de enfiambre entre 16^ y 31^ .
- Pulse el botón "SPEED" (c) para Cambiar entre velocidad baja o alta del aire de escape. La luz indica para encenderá en "LOW" (baja velocidad) o "HIGH" (alta velocidad).
USO - Función de suspENSION
El aparato tiene una función de suspENSION. Si la activa, el aparato funciona con su modo más silencioso y ahorroder de energia. Atencion: la direccion de suspENSION solamente funciona con el mode "COOL".
- Presione el boton "SLEEP" (figura 1, f) para activar la función de suspENSION. El aparato se pondrá al minimo y ahorrora la mayorcantidad de energia possible.
- Vuelva a pulsar el boton "SLEEP" para desactivar la funciona de suspENSION.
USO - Funcion de temporizador
El aparato tiene un interruptor temporal que permite encenderlo y apagarlo de manière automatica en un determinado lapso de tiempo.
Encendido automatico
Con el aparato apagado:
- Pulse el botón "TIMER" (figura 1, b). La pantalla comenzará a parpadear.
- Use los botones "up" (d) y "DOWN" (e) para configurar el tiempo de encendido, entre 1 y 24 horas.
- Espere hasta que la pantalla (a) deje de parpadear. El tiempo de encendido quedo establecido.
- Vuelva a pulsar el boton "TIMER" para ajustar el tiempo de encendido si lo desea.
- Vuelva a pulsar el botón "TIMER" para desactivar la función de temporizador.
Apagado automatico
Con el aparato encendido:
- Pulse el botón "TIMER" (figura 1, b). La pantalla comenzará a parpadear.
- Use los botones "UP" (d) y DOWN (e) para configurar el tiempo de apagado, entre 1 y 24 horas.
- Espere hasta que la pantalla (a) deje de parpadear. El tiempo de apagado quedo establecido.
- Vuelva a pulsar el botón "TIMER" para ajustar el tiempo de apagado si lo desea.
- Vuelva a pulsar el botón "TIMER" para desactivar la función de temporizador.
USO - Mando a distancia
El aparato también puede manejarse con el mando a distancia, que viene incluido y requires dos pilas AAA (no incluidas). Abra el compartmento para las pilas, en la parte inferior, colocuelas y ciderre la tapa. Los botones del mando a distancia funcional del mesmo modo que los botones del panel de control.
Para un funciona bajo:
- Asegürese de que la distancia entre el ventilador y el mando a distancia no sea mayor a 6 metros
- Apunte el mando a distancia hacía el aparato y asegürese de que el ángulo sea menor a 30 grados.
LIMPIEZA Y MANTENIMIENTO - General
Despues de un perfo de tempo, las reillas y aspas del aparato poden llenarse de polvo y socidad.
- Apanee el aparato y desenchufelo de la toma de corriente.
- Quite el polvo y la sociedad de las rejillas y de las aspas con un cepillo y/o aspiradora.
- Limpie la carca sa con un trapo suave y humedo. Nunca sumerja el aparato en agua. Asegürese de que no entre humedad en las conexiones electricas.
LIMPIEZA Y MANTENIMIENTO - Drenaje de agua
El aparato tiene una bandeja interna de recolección de agua. Cuando este llena, el aparatodeer a defuncionar y la luz indicadora se encendera en el panel de control con el mensaje "WATER FULL".
- Apache el aparato y desenchufelo
- Coloque el aparato en un lugar elevado, colocque un cubo u othero tipo de elemento para recoger agua bajo del orificio de drenaje de la bandeja de recoileccion de agua.
- Desenrosque la tapa y el tapón del orificio de drenaje (figura 1, número 12), véase figura 6. El agua de la bandeja de recolección caera en el cubo.
ATENCLON:
- Mueva cuidadosamente el aparato y mantengalo siempre derecho, paraatar que el agua se derrame mas alla del borde de la bandeja de levamente el aparato para eliminar los ultimos n
Si el cubo, u other elemento para recoger agua, noiene capacitad suficiente, vuelva a poner la tapa y el tapon en el orificio del drenaje. Vacie el cubo y repita la operacion. - Si la bandeja de recoleccion de agua está vacia, vuelva a colocar la tapa y el tapon en el agujero del drenaje, y asegúrese de que quede bien cerrado.
Drenaje continuo
Si usa de manière habitual el aparato para deshumidificar el aire, también puede usar el drenaje continuo. Atencion: el drenaje continuo solamente funciona con el modo "DEHUM".
- Apague el aparato y desenchufelo de la toma de corriente.
- Desenosque la tapa y el tapón de la manguera de drenaje continuo (figura 1, número 9), vexe figura 7.
- Conecte una manguera de drenaje (no incluida) al orificio de drenaje continuo, y aseguirse de que el extremo de la manguera está colocado en un cubo u other elemento de recoleccion de agua.
- Use el aparato tal como se describe en este manual.


LIMPIEZA Y MANTENIMIENTO - Limpieza del filtró
Para un Ergebnido optimo, deben limiar el filtro EVA cada dos semanas, y reemplazarlo al menos una vez por año, o más a meno si observa que estávisiblemente lleno. Internacionalmente, como el guardar el aparato durante un长大o periodo, o cuando vuelva a usar el filtro antes de su tiempo.
- Apague el aparato y desenchufelo de la toma de corrente.
- Use un destornillador Philips para Separar el bajo el medio, vexe figura 8).
- Enjuague el filtro con agua tibia, o sumérjalo en agua jabonosa.
- Déielo secar bien.
- Vuelva aponer el filtro limpio (o uno nuevo) en el aparato y ajustelo.
ATENCIón:
- Si el filtro no se seco bien, pueda entrada agua en el aparato. Esto podra Causear daños (electricos).

RESOLUCION DE PROBLEMAS
| Problema Posible | causa Soluciones recomendada | |
| El aire acondicionado no funciona | No hay electricidadLa Temperatura ambiente es inferior a la temperatura de refrigeración establecidaEn el modo de refrigeración: la temperatura ambiente es muy baja o muy altaEn el modo de deshumidificacion: la temperatura ambiente esblemado bajoEl aparato está expuesta a los rayos del sol | Asegúrese de que la toma de corriente a la que está conectado el aparato tengá electricidad.Cambie la temperatura de refrigeración establecida.El aparato funciona de manière óptima con temperatas ambiente entre 7°C y 35°CEl aparato funciona de wayra óptima con una temperatura ambiente de 17°C o másColoque el aparato a la sombra |
| La refrigeración no funciona bien | Hay puertas o ventanas abiertasHay calefacción central u otheras fuentes de calorEl filtró está sucio o tapadoLas entradas y開放están bloqueadas | Cierre las puertas o ventanas abiertas.Apague la calefacciónLimpie el filtrOmite las obstrucciones |
| El aparato hace mucho ruido | El aparato no estáubicado sobre una superficie estable y plana | Coloque el aparato sobre una superficie estable y plana |
| El compresor no funciona | El aparato está recalentado Espere uno horas hasta que baje la temperatura y vuelva a encenderlo | |
| El mando a distancia no funciona | Las pilas está gastadas | Cambie las pilas |
| Hay demasiada distancia entre el aparato y el mando a distancia | Acérquese al aparato | |
| El mando a distancia no está apuntando hacía el aparato | Apunte el mando a distancia hacía el aparato | |
| En la pantalla aparece 'E1' | El sensor de temperatura de salute no funciona bien | Llame a un profesional para que revise el sensor de temperatura de salute |
| En la pantalla aparece 'E2' | El sensor de temperatura ambiente no funciona bien | Llame a un profesional para que revise el sensor de temperatura ambiente |
CONDITIONES DE GARANTIA
Bestron ofre 60 mees de garantia despues de la feche de compra de este equipo. La garantia cubre las averias por errores de fabricacion y/o material y se atiene a las seguidentes conditiones.
- La garantía no cubre ningún gasto por mano de obr ni material.
- La reparación que se realice durante el plazo de la garantía no implica una prerroga de dicho plazo.
- Cualquier pieza defectuosa o aparatos averiados y devueltos se converten automatistically en propidad de Bestron.
- La garantía es únicamente valida para el primer comprador y no es transferible.
- La garantía no cubre los días por:
Accidentes
- Uso equivocado
Desgaste
Descuido
-
Mala instalación
-
Conexión a另一边 tensión que la que se esexistía en la plaza de modelo.
Modificacion no autorizada - Reparaciones realizadas por terceros no@cualificados
-
Uso incumpliendo las normas vigentes legales, Tecnicas y de seguidad.
-
Descuidos en el transporte, sin embalaje adecuado o sinOTHER PROTECCION
-
No se pueda reclamar la garantía en el caso de:
-
Danos durante el transporte
-
Quitar o modificar el número de série del aparato.
-
La garantía no cubre:
-
Los cables
Las bombillas
Las piezas de cristal -
Los filtros
-
La garantía no le concede el derecho a una compensación por un posible dano, aparte de sustituir o reparar las piezas defectuosas. Bestron no可以选择 responsable de qualquier posible dano o deequalier tipo de consecuencia que surgieran o estuvieran relacionadas con el aparato entrega.
- Solo puede reclamar la garantía a suEmpresa de vente (en linea) o directamente al Servicio de atencion Bestron. Sin embargo, no nos envie ninguna pieza sin preguntar antes. Puede que rechacemos el paquete y esteoulda suponerunos gastos para usted. Pongase primero en contacto con nosotros para que le expliquemos como tiene que embalar el aparato y mandarnoslo. Cualquier reclamacion sobre la garantia debeiracompanada deuna prueba de comprna.
SERVICIO DE ATENCION
Si hubiera una avería inesperada, pángase en contacto con el servicios de atencion BESTRON: www.bestron.com/service
1
1
1
v181220-03

ManualFacil