G0076750 - Generador Generac - Manual de uso y guía de instrucciones gratis
Encuentra gratis el manual del aparato G0076750 Generac en formato PDF.
| Especificaciones técnicas | Generador portátil, potencia de 7500 vatios, motor de gasolina, arranque eléctrico, tanque de 20 litros. |
|---|---|
| Uso | Ideal para obras, eventos al aire libre y como fuente de alimentación de respaldo para hogares. |
| Mantenimiento y reparación | Verificar el aceite regularmente, limpiar el filtro de aire y realizar el mantenimiento anual recomendado. |
| Seguridad | Usar al aire libre para evitar la acumulación de monóxido de carbono, no sobrecargar el generador. |
| Información general | Garantía limitada de 2 años, peso de 90 kg, dimensiones compactas para un transporte fácil. |
Preguntas frecuentes - G0076750 Generac
Preguntas de los usuarios sobre G0076750 Generac
0 pregunta sobre este aparato. Responde a las que conoces o haz la tuya.
Hacer una nueva pregunta sobre este aparato
Descarga las instrucciones para tu Generador en formato PDF gratis! Encuentra tus instrucciones G0076750 - Generac y toma tu dispositivo electrónico nuevamente en la mano. En esta página están publicados todos los documentos necesarios para el uso de su dispositivo. G0076750 de la marca Generac.
MANUAL DE USUARIO G0076750 Generac
Se recomienda proteccion auditiva.
MISE EN GARDE
Si sua un generator en interlores, MORIRA EN POCOS MINUTOS.
El escape del generator contiene monoxidó de carbono.
Es un veneno que no Tiene olor ni se pueda ver,
- NUNCALo use bajo de una casa o garaje, AUN si las puertas yVentanas estan abiertas.
- Sólo useso EN EXTERIORES y lejos de ventanas, puertas y ductos de ventilación.
- 0H4635C

10000033027 (Exhaust Direction User Action Label)

Fallecimiento. Este producto no se ha dibrado para que se usa en aplicaciones de apoyo vital critico. En caso de hacerlo,oulda provocar la muerte o lesiones graves.
(000209b)
RegistresuproductoGeneracen:
WWW.GENERAC.COM
1-888-GENERAC
(1-888-436-3722)
BC
GUARDE ESTE MANUAL PARA REFERENCIA EN EL FUTURO
Sección 1 Introduccion y seguidad 1
Introduccion 1
Normas de seguridad 1
Simbolos de segundad y significado 1
Peligros derivados de las emisiones de escape y la ubicacion 2
Peligros electricos 3
Peligros de incendio 3
Indice de normas 3
Etiquetas de peligro de reemplazo 4
Seccion 2 Informacion general y configuracion 5
Conozca su generator 6
Emissiones 6
Contador de horas 7
Enchufes de connexion 7
COsense® 8
Retiro del contenido de la caja 9
Armado 10
Conexión de los cables de la bateria (arranque electrico solamente) 11
Añadir aceite de motor 11
Combustible 11
Seccion 3 Funcionamento 13
Preguntas sobre uso y funciona .... 13
Antes de poner en marcha el motor 13
Preparación del generator para su uso 13
Conexión a tierra del
generador portátil 13
Conozca los limites del generator 14
Transporte/inclinacion de la unidad 15
Arranque de motores con el tirador de arranque 15
Arranque de motores con arranque electrico 16
Sistema de cierre por nivel bajo de aceite 17
Cargar la bateria (unidades con arranque electrico solamente) 17
Sección 4 Mantenimiento y解決 de problemas 18
Mantenimiento 18
Programa de mantenimiento 18
Mantenimientopreventivo 18
Mantenimiento del motor 19
Sustitución de la bateria (si Proceed) 20
Inspeccion del silenciador y del dispositivo antichispas 21
Holgura de la valvula 21
Almacenamento 22
SolutiOn de problemas 23
Diagrams de cableado 25
ADVERTENCIA
PRODUCE CANCER Y
DANOS REPRODUCTIVOS
www.P65Warnings.ca.gov.
(000393a)
Sección 1 Introduccion y seguridad
Introduccion Lea este manual cuidadosamente

ADVERTENCIA
Consulte el manual. Lea y comprenda Completely elmanualantesdeusarel producto.No comprehendercompletamenteelmanualpuedeprovocarla muerte olesionesgraves.
(000100a)
Si no compende una seccion de este manual, llama a su IASD (Independent Authorized Service Dealer, concesionario independiente de serviceo autorizzato) mas cercano o al Servicio al Cliente de Generac al 1-888-436-3722 (1-888-GENERAC), o visite wwwgenerac.com para poderar los procedimientos de arranque, operacion y mantenimiento. El propietario es responsable del mantenimiento adecuado y uso seguro de la unidad.
GUARDE ESTAS INSTRUCCIONES para referencia futura. Este manual contiene instrucciones importantes que se deben seguir durante la instalacion, operation y mantenimiento de la unidad y sus componentes. Siempre entrega estemanual a cualquier persona que vaya a usar esta unidad, y ensenele como arrancar, operar y detener correctamente la unidad en caso de emergencia.
La información que aparece en este manual es precisa y está basada en productos fabricados en el momento en el que se editó esta publicación. El fabricante se reserva el correcho de hacer lasactualizaciones技术水平as correcciones y las revisiones dellos productos que considere necessities sinprevio aviso.
Normas de seguridad
El fabricante no pueda prever todas las posibles circunstancias que pueda suponer un peligro. Las ALERTAS que aparecen en este manual, y en las etiquettes y los adhesivos pegados en la Unidad no incluyen todos lospeligros. Si se utilizes un procedimiento, método de trabajo o技术和dafnionamento no recommendsspecificamente por el fabricante, compruebeque Sean seguros para others uxuarios y queno pongan en peligro el equipo.
En esta publicación y en las etiquetas y adhesivos pegados en la unidad, los bloques PELIGRO, ADVERTENCIA, PRECAUCION y NOTA se utilizes para alertar al personal sobre instrucciones especiales relacionadas con un funciona que pueda ser peligioso si se realiza deforma incorrecta o
imprudente. Léalos atentamente y respete sus instrucciones. Las definiciones de alerts son las siguientes:
PELIGRO
Indica una situacion peligrosa que, si no se evita, occasionar la muerte o lesiones graves.
(000001)
ADVERTENCIA
Indica una situacion peligrosa que, si no se evita, podra occasionar la muerte o lesiones graves.
(000002)
APRECAUCION
Indica una situacion riesgosa que, si no se evita, suepe producir lesiones leves o moderadas.
(000003)
NOTA: Las notas incluyen información adicional importante para un procedimiento y se incluyen en el texto normal de este manual. Estos avisos de seguridad no peuvent eliminar los peligros que indican. Para evaporar accidentes, es importante el sentido común y el seguido estricto de las instrucciones especialas cuando se realice laINGER o la operación de mantenimiento.
Simbolos de seguidad y significado
PELIGRO!
Usar un generator en Interiores LO PUEDE MATAR EN MINUTOS.
Los gases de escape del generator contienen monóxido de carbono. Este es un veneno que no se可以选择 y oler.


NUNCA lo use除去de una casa o garaje, AUNQUE si la puerta y lasVentanas se encontraran abiertas.


Use unicamente en EXTERIORES, y alejado de ventanas, puertas y ventilaciones.
000657

PELIGRO
Asfixia. Los motores functioning producen monóxido de carbono, un gas incoloro, inodoro, y venenos. El monóxido de carbono, si no se evita, occasionar la muerte o lesiones graves.
(000103)
C
Si empieza a sentirse enfermo, mareado o debil antes de que el generator haya estado的功能ando, salga INMEDIATAMENTE para respirar aire fresco. Vaya a ver a un doctor, ya que podra sufir una intoxicacion por monoxido de carbono.
- Noonga NUNCA en funciona el generator en interiores ni en areas parcialmente cerradas como por ejemplo, garajes.
- Utilicelo SOLAMENTE en el exterior y lejos de respiradores, ventanas y puertas abiertas, y en una zona en la que no se acumulen los vapeores de escape mortales.
- Coloque el sistemas de escape del silenciador lejos de la gente y de los edificios habitados.
- Utilizar un ventilador oAbrir una puerta no proporciona la suficiente ventilacion.
Peligros electricos

▲PELIGRO
Electrocución. El contacto con cables, terminales, y conexiones desnudas cuando el generator está的功能ando provocar la muerte o lesiones graves.
(000144)

▲PELIGRO
Electrocución. Si no se evita el contacto del agua con una fuente de alimentacion, occasionar la muerte o lesiones graves.
(000104)
- El Códico Eléctrico Nacional (NEC por sus siglas en ingles) exige que la estructura y los componentes conductores de electricidad externos del generator estén correctamente connectados a una toma de tierra aprobada. Es possible que los@codigos electricos locales también exijan una conexión a tierra adecuada del generator. Consulte con un electricista local cuales son los requisitos de conexión a tierra de su zona.
- Utilice un interruptor de circuito por falla en la connexion a tierra (GFCI) en todas las zonas humedes o altamente conductoras (como tarimas metálicas oestructuras de acero).

▲PELIGRO
Electrocución. En caso de un accidente electrico, APAGUE de immediato la alimentacion electrica. Use implementos no conductores para liberar a la victima del conductor alimentado. Aplicye primeros auxilios y obtenga ayuda medica. No hacerlo occasionar la muerte o lesiones graves.
(000145)
- Una vez que el generator se haya arrancado en el exterior, conecte las cargas electricas a los cables alargadores del interior.
Peligros de incendio

APELIGRO
Explosion e incendio. El combustible y los vapores son extremamente inflamables y explosivos. Añada combustible en una zona bien ventilada. Mantenga alejados el fuego y las chispas. No hacer lo possible occasionar la muerte o lesiones graves. (202105)
(000105)

A PELIGRO
Explosion e incidio. No sobrepase nel deposto de combustible. Llene el deposto y除去 lnlenar media pulgada de la parte superior delismo para que quede espuco para la expansión delismo. Si lo llena en excesso puede hacer que el combustible se derrame en el motor provocando un incidio o explosión, lo cual Podria provocar la muerte o lesiones graves. (000166b)

PELIGRO
Riesgo de incendio. Deje que los derrames de combustible se seguen Completely antes deponer en marcha el motor. No hacerlo occasionar la muerte o lesiones graves.
(000174)

ADVERTENCIA
Lesiones personales. No inserte objetivos a工程技术 de las ranuras de enframiento de aire. El generator可以选择 arrancar en cualquier momento y provocar la muerte, lesiones graves y daños en la unidad.
(000142a)
- Deje una distancia minima de 1,5 metros (5 pies) en todos los lados del generator cuandoonga en funciona el equipo para evaporar que produzca sobrecalentmente o un incendio.
- No utilise el generator si los dispositivos electricos conectados se sobrecalianan, si se pierde la potencia electrica, si el motor o el generator producen chispas o si se detectan llamas o humano@msteadas unidad estáfuncionando.
- Tenga un extintor cerca del generator en todo momento.
Índice de normas
- Asociación Nacional de protección contra incendios (NFPA, por sus siglas en ingles) 70: EI CÓDIGO ELECTRICO NACIONAL (NEC por sus siglas en ingles) disponible en www.nfpa.org
- Asociación Nacional de protección contra incendios (NFPA, por sus siglas en ingles) 5000: CODIGO DE SEGURIDAD Y CONSTRUCCION DE EDIFICIOS disponible en www.nfpa.org
- Código de Construcción Internacional disponible en www.iccsafe.org
- Manual de Cableado Agricola disponible en www.rerc.org, Rural Electricity Resource Council P.O. Box 309 Wilmington, OH 45177-0309
-
ASAE EP-364.2 Instalación y mantenimiento de energia electrónica de emergencia en granjas disponible en www.asabe.org, Sociedad Americana de Ingenieros Agrícolas y Biológicos, 2950 Niles Road, St. Joseph, MI 49085
-
CSA C22.2 100-14 Motores y generadores electricos para su uso e instalacion siguiendo las normativas del Codigoe electrico canadiense
- ANSI/PGMA G300 Seguidad rendimiento de generadores portátiles. Asociacion de fabricantes de generadores portátiles, www.pgmaonline.com
NOTA IMPORTANTE:Esta lista no incluye todas las normas aplicables. Consulte con la autoridad queonga jurisdictacion (AHJ, por sus siglas en ingles) si existerialquier codigo local o normativa que pueda ser de aplicacion en su jurisdictacion.
Etiquetas de peligro de reemplazo
Las siguientes etiquetas de仇恨 de reemplazo está disponible en Generación y son Gratis:
0HO115D

- 0H8251B (Etiqueta de advertencia de CO vertical)

- 0H4635C

10000033027 (Etiqueta deccion del usuario para orientar los gases de escape)

Sección 2 Información general y configuración


Figura 2-1. Controles y unidades
Componentes del generator
1 Toma de corriente doble GFCI de 120 voltios CA, 20 amperios (NEMA 5-20R)
2 Toma de corrente con bloqueo de 120/240 voltios CA, 30 amperios (NEMA L14-30R)
3 Disyuntores (CA)
4 Vaciado del aceite
5 Filtró de aire
6 Perilla delcebador
7 Depóstito de combustible
8 Terminal de tierra
9 Parada/Marcha/Arranque (si se incluye)
10 Silenciador
11 Asa de transporte
12 Tapón de la gasolina
13 Medidor de combustible
14 Comprobación/Llenado de aceite
15 Arranque con tirador
16 Cierre de combustible
17 Contador de horas
18 Entrada del cargador de la batería (si se incluye)
19 Ubicacion de la baterfa (si se incluye)
20 Dispositivo antichispas
21 COsense ROJO (Peligro) (si se incluye)
22 COsense AMARILLO (Falla) (si se incluye)
23 Control de ralentí (si se incluye)

Figura 2-2. Panel de control (Arranque electrico y control de ralentti) (si se incluye)

Figura 2-3. Etiqueta de identificacion de la unidad
006618
Conozca su generator

ADVERTENCIA
Consulte el manual. Lea y comprenda Completely elmanualantesdeusarel producto.No comprehendercompletely elmanualpuedeprovocarla muerte olesiones graves.
(000100a)
Los manuales del propietario de reclupon estan disponibles en wwwgenerac.com.
Emissiones
La US EPA (United States Environmental Protection Agency, Agencia de Proteccion Ambiental de los Estados Unidos) (y CARB [California Air Resources Board, Junta de Recursos del aire de California], para motores y equipos certificados segun las normas de California) require que este motor o equipo cumpla con las normas de emisiones de escape y evaporacion. Ubique la calcomania de cumplimiento de emisiones en el motor para determinar las normas aplicables. Consulte la garantia de emisiones incluida para Obtener informacion al respecto. Siga las specifications deostenimiento en este manual para garantizar que el motor cumpla con las normas de emisiones aplicables durante toda la vidautil del producto.
Especificaciones del producto
| Especillas del generator GP6500 / GP6500E GP8000E | ||
| Potencia nominal en un factor de potencia de 1,0 | 6,5 kW** 8,0 kW** | |
| Potencia pico 8,125 KVA 10,0 KVA | ||
| Tensión de CA nominal 120/240 | ||
| Carga de CA nominal Corriente a 240V** Corriente a 120V** | 27,1 54,2 | 33,3 66,6 |
| Frecuencia nominal 60 Hz a 3600 RPM | ||
| Fase Monofásico | ||
| Peso (en seco) Libras (lb) Kilogramos (kg) | 174,8-186 79,3-84,4 | 197,1 89,4 |
| ** Intervalo de temperatas de functúnamente: 0 °F (-18 °C) a 104 °F (40 °C). Durante el functúnamente con temperatas superiores a 77 °F (25 °C), es posible que la potencia disminuya. ** El voltaje y la corrientemaximum estánsujertos a y limitados por factores como el contenido de BTU/Megajulios del combustible, la poteratura ambiente, altoud, potencia y condición del motor, etc. La potencia maxima disminuye aproximadamente 3,5% por cada 1000 pies (304,8 metros) sobre el nivel del mar, y también disminuye aproximadamente 1% por cada 10 °F (6 °C) sobre 60 °F (16 °C). | ||
| Especillas del generator 6,5kW | ||
| Cilindrada 389 cc | ||
| N° de pieza de la bujía | 0J00620106 | |
| Tipo de electrodos de la bujía | Bosch F7TC o equivalente | |
| Separación de los electrodos de la bujía | 0,028-0,031 pulg. (0,70-0,80 mm) | |
| Capacidad del depósito de gasolina | 7,9 gal. (29,9 L) | |
| Tipo de aceite | Consulte el gráfo en la sección Añadir aceite de motor. | |
| Capacidad de aceite | 1,06 qt. (1,0 L) | |
| Tiempo de functúnamente a 50% de carga | 11,5 horas | |
Especificaiones del producto
| Especillas del generator 8,0kW | |
| Cilindrada 420cc | |
| N° de pieza de la bujía 0J00620106 | |
| Tipo de electrodos de la bujía Bosch F7TC o equivalente | |
| Separación de los electrodos de la bujía 0,028 | -0,031 pulg. (0,70-0,80 mm) |
| Capacidad del depuesto de gasolina 7,9 gal. (29,9 L) | |
| Tipo de aceite | Consulte el gráfico en la sección Añadir aceite de motor. |
| Capacidad de aceite 1,06 qt. (1,0 L) | |
| Tiempo de funcionaimiento a 50 % dearga 10 horas | |
| * Vaya a wwwgenerac.com o póngase en contacto con un IASD para solicitar piezas de repuestos. | |
Contador de horas
El contador de horas realiza un seguito de las horas de funciona para el mantenimiento programado. Consulte la Figura 2-4.
- La Pantalla del mensaje "CHG OIL" se iluminará cada 100 horas. El mensaje parpadeará una hora antes y una hora después de cada intervalo de 100 horas, proportionsando un plazo de dos horas para realizar laarea de mantenimiento.
- La pantalla del mensaje SVC se iluminará cada 100 horas. El mensaje parpadeará una hora antes y una hora después de cada intervalo de 200 horas, proportionsando un plazo de dos horas para realizar laarea de mantenimiento.
Cuando el contador de horas esté en el modo de alerta parpadeante, el mensaje de mantenimiento siempre sealtenará con el tiempo transcurrido en horas yminutes. Las horas parpadearan quatre vezes, a continuación,sealternaran con el mensaje de mantenimiento quatre vezes hasta que el medidor se restablezca automatistically.
100 horas - CHG OIL — Intervalo de cambio de aceite (Cada 100 horas)
- 200 horas - CHG OIL — Revisión del filtró de aire (Cada 200 horas)
NOTA: El icono del reloj de arena parpadeará cuando el motor está en funcionaimiento. Este significa que el medidor está registrando las horas de funcionaimiento.

Figura 2-4. Contador de horas
Enchufes de connexion
Toma de corrente doble GFCI de 120 VCA, 20 amperios
La toma de 120 voltios está protegida contra sobrecarga con un disyuntor de 20 amperios que se pulsa para reiniciarse. Consulte la Figura 2-5. Cada toma alimentará cargas electricas de 120 VCA, monofásicas, de 60 Hz que requieran una corriente de 2400 varios (2,4 kW) o 20 amperios. Utilice solo cables de 3 conductores con connexion a tierra, de alta calidad y bien aislos con una capacité nominal de 125 voltios con 20 amperios (o superior). Internacional proporcióna protección con un interruptor por falla en el circuito de tierra, con un pulsador para el botón "TEST" (PRUEBA) y "RESET" (RESTABLECER).
Figura 2-5. Toma de corriente doble GFCI de 120 VCA, 20 amperios NEMA 5-20R

000203
Toma de corriente de 120/240 VCA, 30 amperios
Utilice un enchufe NEMA L14-30 con esta toma de corriente (girar para bloquear/desbloquear). Conecte un cable de 4 conductores con connexion a tierra al enchufe y a la energia deseeda. La capacité nominal del cable devería ser de 250 VCA con 30 amperios (o superior). Consulte la Figura 2-6.
Utilice esta toma de corriente para cargas monofásicas de 120 VCA, 60 Hz, que requieran un máximo de 3600 varios (3,6 kW) de potencia con 30 amperios o cargas monofásicas de 240 VCA, 60 Hz, que requieran un máximo de 7200 varios (7,2 kW) de potencia con 30 amperios. La toma está protegida con un disyuntor de 2 polos de 30 A.

000204
Figura 2-6. Toma de corriente de 120/240 VCA, 30 amperios NEMA L14-30R
COsense®
Sistema de detectación y corte de monóxido de carbono (si está equipado)
El modulo COsense monitorea la acumulación de gas CO venenos que secee. en el escape del motor cuando elgenerador está en funcionaimiento. Si COsense detecta niveles de gas CO en.aumento,automatically apaga el motor. COsense solo monitorea cuando el motorestá en funcionaimiento.Los generadores estan destinados para su uso en exteriores,lejos de edificios habitats y con el escapeorientado lejos del personal y de edificios.Sin embargo, si seutiliza de manners indefida y se opera en un lugar que generate la acumulacionde CO, como en interiores o un area parcialmente cerrada,COsense apagaral motor,notificar al usuario de lo succeedido y leindicar al usuario que lea la etiqueta deinstrucciones de action para saber quede pasosrealizar.Consulte la Figura 2-7.COsense no es un sustituto de una alarma de monoxido de carbono para interiores.
Consulte la Figura 2-8. Después de un apagado, una luz ROJA parpadeante en la placá de COsense en el costado del generator proportionsará la Notification de que el generador se apagó cuando a un peligro de acumulación de CO. La luz ROJA parpadeará durante al menos cinco Minutes afterwards de un apagado por CO. Mueva el generador a un area abierta en exteriores y oriente el escape alejado de las personas y edificios occupados. Una vez ubicado en un
area segura, se pueda volver a arrancar el generador y se pueda realizar las conexiones electricas adecuadas para suministrar alimentacion electrica. La luz ROJA dejará de parpadear automatamente cuando se vuelva a arrancar el motor. Introduzca aire fresco y ventilé el lugar donde se apagó el generator.
Consulte la Figura 2-8. Si occursiuna falla en elsystema COsense y ya no brinda proteccion, el generador portatl se apaga automatically y la luz AMARILLA parpadearadurante al menos cinco minutos en la placadose sense paraindicar al usuario de la falla.Solo un techniciano capacitado en el concesionario能看出iagnosticar y reparar el modulo COsense. Se pueve vigor a arrancar el generador, pero es possible que se siga apagando.
COsense detectará la acumulación de monóxido de carbono de otheras fuentes de combustión de combustible, como Herramentas relacionadas con motor o calentadores a propano que se usen en el airea de operación. Por exemple, si se usa otro generator y el escape está orientado hacer un generator equipado con COsense, esta protección puede起初 un apagado bajo al aumento de los niveles de CO. Este no es un error. Se ha detectado monóxido de carbono peligroso. El usuario deben tener medidas para mover y redirigir这些东西 dispositivos para disipar mejor el monóxido de carbono lejos del personal y edificiosocupados.

Figura 2-7. Etiqueta de instrucciones

Figura 2-8. Placa de instrucciones
Retiro del contenido de la caja
- Abra la caja Completely cortando cada esquina de arriba abajo.
- Retire y verifique el contenido de la caja antes del armado. La caja debe contener uno de cada uno de los siguientes componentes:
Accesorios
| Articulo Cant. | |
| Unidad principal 1 | |
| Manual del usuario | 1 |
| Litro de aceite SAE 30 | 1 |
| Asa de transporte (A) | 1 |
| Ruedas macidas (B) | 2 |
| Patas para la estructura (C) | 2 |
| Tarjeta de registrar del producto | 3 |
| Garantía de mantenimiento | 1 |
| Garantía de emisiones | 1 |
| Cable de alimentación de 25 pies (si se incluye) | 1 |
| Cargador de la bateria (solamente modelos con arranque electrico) | 1 |
| Bolsa de tornilleria | Ctd. para ensamblaje A | Ctd. para ensamblaje B |
| Pata de goma (D) 2 | 0 | |
| Pasador de eje 1/2 pulg. (E) | 2 | 2 |
| Pasador de retencion (F) | 2 | 2 |
| Arandela plana 1/2 pulg. (G) | 2 | 2 |
| Tuerca con brida hexagonal M6 (H) | 2 | 0 |
| Tuerca con brida hexagonal M8 (J) | 6 | 6 |
| Perno M8 (Largo) (K) | 6 | 6 |
| Perno M6 (Largo) (L) | 2 | 0 |
| Arandela plana Nylon M8 (M) | 4 | 4 |
NOTA: El generador se envía con una Bolsa de tornillera solamente, tanto para el ensamblaje A como B.
- Si faltara algunos articulo de su caja,pongase en contacto con el service de atencion al cliente de Generac llamando al 1-888-GENERAC (1-888-436-3722) y cuando llameonga a mano losnumeros de modelo y serie.
- Registre el modelo, el numero de series y la Fecha de compra en la tapa de este manual.
Armado

ADVERTENCIA
Consulte el manual. Lea y comprenda Completely el manual antes de usar el producto. No comprehender completely el manual pueda provocar la muerte o lesiones graves.
(000100a)
Llame al增值服务 al cliente de 1-888-GENERAC (1-888-436-3722) para comunicarrialquier problema o duda referente al armado. Tenga disponible a mano elmodelo yel numero de series.
Lassiguiertesherramiantas nosecnarias para instalar el kit de accesorios.
Alicates planos
Llave de trinquete
Enchufed8mm
Enchufede 12mm
Enchufed 13mm
Llave inglesa de 10 mm
Llave inglesa de 13 mm
Llave inglesa de 8 mm (2) (solamente arranque electrico)
NOTA: Las ruedas no se han diseñado para circular sobre carreteras.
Consulte la Figura 2-9.
Instale las ruedas tal y como se indica a continuacion:
- Deslice el pasador de eje (E) a trovés de la rueda (B), del soporte de la rueda en la estructura y de la arandela plana de 1/2 pulg. (G).
- Inserte el pasador de retencion (F) por el pasador del eje (E). Doble las lenguetas (pasadores de retencion) hacía afera para que quede sujeto.
Instale las patas para la estructura y los topes de goma de la?singularmente manera:
- Deslice los pernos de cabeza hexagonal (L) por el tope de goma (D) y, a continuacion, por la pata de la estructura (C) (si noiene prearmada).
- Deslice los pernos de cabeza hexagonal (K) por los agujeros del riel de la estuctura.
- Deslice la pata de la estructura (C) en los pernos de cabeza hexagonal (K). Instale la tuerca con brida (J).

Figura 2-9. Conjunto de ruedas y patas
Consulte la Figura 2-10.
Instale el asa tal y como se indica a continuación:
- Deslice los pernos largos (K) por el tirador y el soporte del tirador (A). Instale las tuercas hexagonales (J).

Figura 2-10. Asa de transporte
Conexión de los cables de la bateria (arranque electrico solamente)
La unidad se ha enviado con los cables de la batería desconectados.
Necesitará dos llaves de tubo de 8 mm para conectar los cables de la bateria. Consulte la Figura 4-5.
- Corte las bridas de sujeción de los cables de la bateria y retire la cubierta roja del terminal de la bateria.
- En primer lugar, conecte el cable rojo al terminal positivo (+) de la bateria con el pero y la tuerca incluidos.
- Compruebe que las conexiones esten bien apretadas y colque la funda de goma en el terminal positivo (+) de la bateria y los tornillos de conexion.
- Conecte el cable negro al terminal negativo (-) de la bateria con el perno y la tuerca que se incluyen. Coloque la funda de goma en el terminal negativo (-) de la bateria y los tornillos de connexion.
- Compruebe que todas las conexiones estén bien ajustadas.
NOTA: Si la batería no es capaz de arrancar el motor, cárguela con el cargador de 12V que se incluye en la caja de accesorios (consulte la sección Cargar la bateria (unidades con arranque electrico solamente) si desea Obtener más detalles).
Añadir aceite de motor
APRECAUCION
Daño al motor. Verifique el tipo y la calidad
apropriados del aceite del motor antes deponer
en marcha el motor. No hacer thisype
provocar daños al motor. (000135)
- Coloque el generator sobre una superficie plana.
- Verifique que el area de llenado de aceite esté limpia.
- Retire el tapón de llenado de aceite y limpie la varilla de medicación. Consulte la Figura 2-11.

Figura 2-11. Sacar la varilla
000115
- Añada el aceite de motor recomendado tal y como se muestra en el suiviente grafico.
NOTA: Use aceite a base de petróleo (incluida) para facilitar el rodaje del motor antes de utiliser aceite sintético.

000399
NOTA: Algunas unidades tienen mas de unaubicacion dellenado de aceite. En这些人cason, solo esnecessary usar uno de lospuntos dellenado de aceite.
- Introduzca la varilla en el cuello de llenado de aceite. El nivel de aceite se comprueba con la varilla de medicacion Completely insertada.
- Consulte la Figura 2-12. Retire la varilla y disfruebe que el nivel de aceite se encuesta bajo del rango de funciona bajo.

000116
Figura 2-12. Rango de configuracionamento seguro
- Coloque el tapón de llenado del aceite/varilla de nivel y sujétela firmamente con la mano.
Combustible

APELIGRO
Explosion e incidio. El combustible y los vapores son extremamente inflamables y explosivos. Ahnda combustible en una zona bien ventilada. Mantenga alejados el fuego y las chispas. No hacer lo可以选择 occasionar la muerte o lesiones graves. (000105)

ADVERTENCIA
Inyección de liquido a presión.Estaquina genera flujos de liquido a alta presión que你能 penetrar en la piel. El liquido a presión, si penetrate en la piel, pueda occasionar la muerte o lesiones graves.
000106b)
Los requisitos para el combustible son los siguientes:
Gasolina limpia, fresca y sin plomo.
- Calificacion minima de 87 octanos/87 AKI (91 RON).
- Internacional se possible utiliser gasolina con un percentaje de hasta el 10% de etanol (gasohol). Cuando esté disponible, se recomienda usar combustible premium sin etanol.
NO use E85.
NO use una mezcla de gasóleo. - NO modifie el motor para que funciona con combustibles alternativos. Añada un estabilidor de combustible antes de almacenarlo.
- Verifique que laupon este APAGADA y que se enfré duante un minimo de dos instantosantes devolverachar combustible.
- Coloque la unidad en terreno nivelado en una zona bien ventilada.
- Limpie la zona alrededor de la tapa de combustible y retire la tapa lentamente.
- Anada lentamente el combustible recomendado (A). No llene el deposito en excesso (B). Consulte la Figura 2-13.
- Instale la tapa de combustible.

Figura 2-13. Añadir el combustible recomendado
NOTA: Permita que el combustible derramado se evaporare antes deponer en marcha la unidad.
NOTA IMPORTANTE: Es importante estar la formación de accumulatoraciones de residuos pegadosos en los componentes del sistema de combustible como el carburador, la manguera o el deposto durante el almacenimiento. Los combustibles mezclados con alcohol (gashol, etanol o metanol)SEOa atraer la humedad, lo que provoca la separacion y la formacion de acidos durante el almacenimiento. El gas acido pueda dañar el sistema de combustible de un motor durante el almacenimiento. Para evaporar problemas con el motor, deben vinciar el Sistema de combustible antes de almacenarlo durante 30 días o más. Consulte la seccion Almacenimiento. Nunca utilise products para la limpieza del motor o carburador en el deposto de combustible ya que podrian provocar daños permanentes.
Sección 3 Funcioncimiento
Preguntas sobre uso y funciona bajo el law.
Si Tiene preguntas o dudas acerca delFuncionamento ymantenimiento del equipo,pongase en contacto con el service de atencion al cliente de Generac llamando al 1-888-GENERAC (1-888-436-3722).
Antes de poner en marcha el motor
- Verifique si el niveau de aceite de motor es correcto.
- Verifique que el nivel del combustible es el correcto.
- Verifique si launidad está fija sobre terrenero nivelado, con separacion adecuada y en una zona bien ventilada.
Preparación del generator para su uso

▲ PELIGRO
Asfixia. Los motores funcionando producen monóxido de carbono, un gas incoloro, inodoro, y venenos. El monóxido de carbono, si no se evita, occasionará la muerte o lesiones graves.
(000103)

ADVERTENCIA
Asfixia. En interiores, utilice sempre una alarma de monoxide de carbano alimentada por pilas e instalada de acuerdo con las instrucciones de los fabricantes.
En caso de no hacerlo,ouldra provocarse la muerte o lesiones graves. (000)

PELIGRO
Asfixia. El sistemas de escape debe teneranse adecuadamente. No alterne ni modifie el sistemas de escape ya que podra hacer que su functonamento sea inseguro o que no cumpla con los codigos y/o normalvas locales. En caso de hacerlo, podra provocarse la muerte o lesiones graves.
(000179b)

ADVERTENCIA
Riesgo de incendio. No use el generator sin el supresor de chispas. No hacerlo puede occasionar la muerte o lesiones graves.
(000118a)

ADVERTENCIA
Riesgo de incendio. Las superficies calientesSEO.
puede encender combustibles, produciendo unincendio. El incendio peut ocasionar la muerte olesiones graves.
(000110)
ADVERTENCIA
Superficies calientes. Al usar laquina, no toque las superficies calientes. Mantenga laquina alejada de los combustibles durante el uso. Las superficies calientes peuvent occasionar quemaduras graves o incendio. (000108)
PRECAUCION
Daños a los equipos y la propidad. Desconecte las cargas electrías antes deponer en marcha o parar la unidad. No hacer this puebe provoc daños al equipo y la propidad.
(000136)
Conexión a tierra del generator portátil
Consulte la Figura 3-1. El generator portátil está equipado con un terminal para la connexion de un conductor deelectrosos de connexion a tierra en campo donde se requirea un systemadelectrososdeconnexionataierra segun elcodigoNECArticulo250.34(A).Los terminales del conductor de connexionatiemedel equipo delas tomas del generator estan connectados al generator.Siempre y cuando el generator suministre alimentaciona un equipo conectado mediate enchufe y cable de alimentacion, como por exemple ferramentas electricas,la normativa NEC no exige que la estructura del generator este connectadaa un electrodo deconnexionatiemed Campo.El conductor neutro del generador está conectado a la estructura del generator siguiendo el codigo NEC Articulo 250.34(C).
- CONEXION NEUTRO A ESTRUCTURA
HAY UN CONDUCTOR PERMANENTE ENTRE EL GENERADOR (BOBINADO DEL ESTATOR) Y LA ESTRUTURA
Consulte la Figura 3-1. Cuando el generador está conectado a un interruptor de transferencia manual, el interruptor de transferencia también debe换成 a neutro把这些 la transferencia para裱plir con el numero NEC (interruptor trifasic). Se debe conectar un electrodo de connexion a tierra a la estructura del generator para que el generator quede conectado a tierra de forma correcta. El cable de connexion a tierra conectado desde la estructura/terminal del generator al electrodo de connexion a tierra en campo debe tener la mesma calidad o una calidad superior que el conductor mas largo realizado en el generator. Los kits y los interruptores de transferencia manuales HomeLink de Generac裱plen con este requisito y se recomienda el uso de los mismos.

000227
Figura 3-1. Conexión a tierra del generator
Requisitos especials
Revise todos los decretos,@cadores locales o normativas de la Administracion de Seguidad y Salud Ocupacional estatales o federales (OSHA) que se aplicen al uso previsto del generator.
Consulte con un electricistariallicado, un inspector de electricidad, o con laagency local que tengajurisdicción:
- En algunos zonas, los generadores deben registrarse con las compañeroas locales de suministro electrico.
- Si el generador se usa en unaoba, es possible que existan regulaciones adiconales que deban cumplirse.
Conexión del generator al sistemas electrico de un edificio
Se recomienda usar un interruptor de transferencia manual cuando lo conecte directamente al sistema electrico de un edificio para evaporar que se generate una retroalimentacion peligrosa y asi evaporar que loseworkadores de la red electrica resulten heridos.
Cuando conecte un generator portátil alsystema electrico de un edificio, un interruptordel transferenciaDebeaislaralimentaciondel generador del red electrica en todomomento.Sinolocopleste requisito,sepuede genaruna condidionpeligrosa.Lainstalacion se deberealizar compliendoestrictamente lalegislation y los@codesgelétricos localesynzonales,yestaconexióndebeserrealizada porunelectricistaqualificado.
Conozca los limites del generator
La sobrecarga de un generator可以选择 provocar danos en el y en los dispositivos electricos conectados. Respete lo suiviente para evaporar sobrecargas:
-
Sume el vataje total de todos los dispositivos electricos que se van a conectar a la vez. Este total NODebe ser superior a la capacité de vataje del generator.
-
El vataje nominal de las luces se pueda Obtener en las bombillas. El vataje nominal de las herramrientas, artefactos y motores se pueda encontrar en una calcomania o etiqueta de datos adherida al dispositivo.
- Si el artefacto, herramienta o motor no entrega vataje, multiplique los voltios por la clasificacion de amperaje para determinar los vatios (voltios x amperios = vatios).
- Algunos motores electricos, como los de induccion,requireen aproximadamente tres vezes mas varios de potencia para arrancar que para funciona. Este sobrevolteaje transistorio de potencia solo duraunos poco segundos durante el arranque de dichos motores. Asegúrese de permitir un alto vataje de arranque cuando selección los dispositivos electricos que se van a conectar al generator.
- Calcule los varios你需要os para arrancar el motor mas grande.
- Sume la cifra del paso 1 a los ratios de configuracionado de todas lasargas conectadas.
La Guía de referencia de vataje se proportionsa para poder la determinación de la cantidad de elementos que el generator pueda operar a la vez.
NOTA: Todas las cifras sonapproximadas. Consulte la etiqueta de datos en el artefacto para poderocer los requisitos de vataje.
Guía de referencia de vataje
| Dispositivo Vatinos de | funciramente |
| *Climatizador (12.000 BTU) 1700 | |
| *Climatizador (24.000 BTU) 3800 | |
| *Climatizador (40.000 BTU) 6000 | |
| Cargador de batería (20 A) 500 | |
| Lijadora de correa (3 pulg.) 1000 | |
| Sierra de capena 1200 | |
| Sierra circular (7-1/4 pulg.) 1250 a 1400 | |
| *Secadora de ropa (eléctrica) 5750 | |
| *Secadora de ropa (a gas) 700 | |
| *Lavadora de ropa | 1150 |
| Cafetera | 1750 |
| *Compresor (1 HP) | 2000 |
| *Compresor (3/4 HP) | 1800 |
| *Compresor (1/2 HP) | 1400 |
| Plancha rizadora | 700 |
| *Deshumidificador | 650 |
| Lijadora de disco (9 pulg.) | 1200 |
| Orilladora | 500 |
| Manta eléctrica | 400 |
| Pistola de clavos eléctrica | 1200 |
| Cocina eléctrica (por elemento) | 1500 |
| Sartén eletrico 1250 | |
| *Congelador 700 | |
| *Ventilador de caldera (3/5 HP) 875 | |
| *Abridor de puertas de garaje 500 a 750 | |
| Secador deleo 1200 | |
| Taladro manual 250 a 1100 | |
| Cortasetos 450 | |
| Llave de impacto 500 | |
| Plancha 1200 | |
| *Bomba dechorro 800 | |
| Cortacésped 1200 | |
| Bombilla | 100 |
| Horno microondas | 700 a 1000 |
| *Enfriador de leche | 1100 |
| Quemador de aceite en caldera | 300 |
| Calentador ambiental a aceite (140.000 BTU) | 400 |
| Calentador ambiental a aceite (85.000 BTU) | 225 |
| Calentador ambiental a aceite (30.000 BTU) | 150 |
| *Pulverizador de pintura, sin aire (1/3 HP) | 600 |
| Pulverizador de pintura, sin aire (manual) | 150 |
| Radio | 50 a 200 |
| *Refrigerador 700 | |
| Olla de cocción lenta | 200 |
| *Bomba sumergible (1-1/2 HP) | 2800 |
| *Bomba sumergible (1 HP) | 2000 |
| *Bomba sumergible (1/2 HP) | 1500 |
| *Bomba de sumidero | 800 a 1050 |
| *Siesta de mesa (10 pulg.) | 1750 a 2000 |
| Televisor | 200 a 500 |
| Tostadora | 1000 a 1650 |
| Desbrozadora | 500 |
| *Permita que haya 3 vezes los variosignalos para arrancar这些dispositivos. | |
Transporte/inclinacion de la unidad
Noonga en funciona, no almacene ni transporte la unidad en un angulo superior a 15 grados.

Arranque de motores con el tirador de arranque
| ADVERTENCIA Riesgo del arranque con cuerta. El arranque con cuerta pueda rereactionar inesperamente. El contragolpe pueda occasionar la muerte o lesiones graves. (000183) |
| PRECAUCION Daños a los equipos y la propidad. Desconnecte las cargas electricas antes de poner en marcha o parar la unidad. No hacer this would provocar daños al equipo y la propidad. (000136) |
- Desconnecte todas las cargas electricas de las tomas de corriente de la unidad antes de arrancar el motor.
- Coloque el generator sobre una superficie plana.
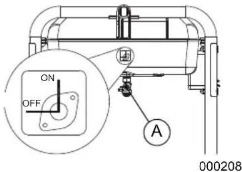
- Consulte la Figura 3-2. Abra la valvula de cierre del combustible (A).

Figura 3-2. Valvula de cierre del combustible
- Gire el interruptor RUN/STOP/START (MARCHA/PARADA/ARRANQUE) del motor a la posicion RUN/ON (solamente arranque manual). Consulte la Figura 2-2.
- Mueva elcebador (C) hasta la posicón Full Choke (Cebado completeo) (izquierda). Consulte la Figura 3-3.

Figura 3-3-posicion decebado
-
Sujete la性和arraque y tire deella ligeramente hasta que note que la resistenciaurrente.Tirerapidamente hacia arriba y hacia afluera.
-
Cuando el motor arranque, mueva la palanca delcebador a la posicion 1/2-choke (Cebado medio) hasta que el motor funcione de manera suave y, a continuacion, mueva la palanca hasta la posicion RUN (MARCHA). Si el funciona del motor decae, mueva de nuevo la palanca delcebador a la posicion 1/2-choke (Cebado medio) hasta que el motor funcione de manera suave y, a continuacion, mueva la palanca hasta la posicion RUN (MARCHA).
NOTA: Si el motor arranca, pero no sueguefunctionando,mueva la palanca delcebador a la posicion Full Choke (Cebado completo) y repita las instrucciones de arranque.
NOTA IMPORTANTE: No sobrecargue el generator. Asimismo, no sobrecargue las tomas de corriente individuales del panel. Estas tomas estan protegidas de las sobrecargas con disyuntores del tipo pulsar-para-reiniciar. Si se supera el amperaje de algo n do los disyuntores, el disyuntor afectado se abriray y se perdara la potencia electrica a la toma de corriente. Lea la seccion Conozca los limites del generator detenidamente.
Arranque de motores con arranque electrico
PRECAUCION
Daños a los equipos y la propidad. Descénete las cargas electricas antes deponer en marcha o parar la unidad. No hacer thiso peut provoc daños al equipo y la propidad.
(000136)
- Desconecte todas las cargas electricas de las tomas de corriente de la unidad antes de arrancar el motor.
- Coloque el generator sobre una superficie plana.
- Abra la valvula de cierre del combustible. Consulte la Figura 3-2.
- Mueva la palanca delcebador del motor hacía afuera hasta la posición Full Choke (Cebadopleteo). Consulte la Figura 3-3.
- Mantenga pulsado el interruptor RUN/STOP/START (MARCHA/PARADA/ARRANQUE) en la posicion START (ARRANQUE). Cuando el motor arranque, suede el interruptor a la posicion RUN (MARCHA).
- Cuando el motor arranque, mueva la palanca delcebador hasta la posicion 1/2-choke (Cebado medio) hasta que el motor funcione de manos suave y, a continuacion, mueva la palanca hasta la posicion RUN (MARCHA). Si el funciona del motor decae, mueva de nuevo la palanca delcebador a la posicion 1/2-choke (Cebado medio) hasta que el motor arranque de manos suave y, a continuacion, mueva la palanca hasta la posicion RUN (MARCHA).
Inicio manual
El generadorienequipado con unarranque con tiradormanual que sepuedutilizarsi la bateria estádescargada.
NOTA: El interruptor debe estar en la posicjion RUN/ON (MARCHA/ENCENDIDO). Use una de las tomas del generator junto con el cargador de la bateria que se incluye para carrgar la bateria cuando que el generador está en functionamento.
Para arrancar el generator de manera manual:
- Sujete la性和arque con fuerza y tire de ella lentamente hasta que note que la resistenciaurrenta.
- Tire de ella hacía arriba para arrancar el motor.
- Siga la misma secuencia decebado.
NOTA: Si el motor arranca, pero no sigue functioningo, mueva la palanca delcebador a la posicion Full Choke (Cebado complete) y repita las instrucciones de arranque.
NOTA IMPORTANTE: No sobrecargue el generator ni las tomas de corriente individuales del panel. Estas tomas estan protegidas contra sobrecargas con disyunteores pulsar-para-reiniciar. Si se supera el amperaje de uno de los disyunteores, el disyuntor afectado se abrirá y se perdá la potencia electrica a la toma de corriente. Lea la section Conozca los limites del generator detenidamente.
Apagar el generator
APRECAUCION
Daños a los equipos y la propidad. Desconecte las cargas electricas antes deponer en marcha o parar la unidad.No hacer thispuede provoc daños al equipo y la propidad.
(000136)
- Desactive todas las cargas y desconecte todas las cargas electricas de las tomas de corriente del panel del generator.
- Deje que el motor funciona sin cargas durante various horas para que se estabilicen las temperatas internas del motor y del generator.
- Mueva el interruptor Run/Stop (Parada/Marcha) a la posicion Stop (Parada).
- Cierre la valvula de combustible.
NOTA: En conditiones normales de uso, ciderre la valvula de combustible yooter que la cubeta de combustible del generator se quede sin combustible. En caso de emergencia, gire el interruptor a la posicion Stop (Parada).
Sistema de cierre por;nivel bajo de aceite
El motor está equipado con un sensor de nivel de aceite bajo para apagar el motor automatistically cuando el nivel de aceite cae por debajo de un nivel asignrado. El motor no funciona hasta que seonga aceite hasta el nivel adecuado.
IMPORTANT NOTE: Verifique que los niveles de combustible y aceite del motor son correctos antes de usar el generator.
Cargar la bateria (unidades con arranque electrico solamente)

ADVERTENCIA
Explosion. Las baterias emiten gases toxicos)\ mueras se cargan. Mantenga alejados el fuego y las\ chispas. Use equipo de proteccion al trabajo con\ baterias. No hacerlo puede occasionar la muerte o\ lesiones graves. (000137a)

ADVERTENCIA
Riesgo de quemaduras. Las bacterias contienen acido sulfurico y peuvent causar quemaduras qlmicas graves. Use equipo de proteccion al trabajo con bacterias. No hacerlo pueda occasionar la muerte o lesiones graves. (000138a)
NOTA: La bateria includa con el generador se entrega cargada totalmente. Una bateria可以选择 perder parte de su carga cuando no se utilizes durante periodos de tiempo prolongados. Si la bateria no es capaz de arrancar el motor, enchufe el cargador de 12V que se incluye en la caja de accesorios. PONER EN FUNCIONAMIENTO EL GENERADOR, NO HACE QUE LA BATERIA SE CARGUE.
Utilice el enchufe del cargador de la bateria para tener cargada la bateria y lista para que sea realizada. Debera cargar la bateria en un area seca.
- Enchufe el cargador en el conector de entrada del cargador de la bateria situado en el panel de control. Consulte la Figura 3-4. Enchufe el extremo de la toma de pared del cargador de la bateria en el enchufe de pared de 120 voltios CA.
- Desenchufe el cargador de la bateria de la toma de pared y del conector del panel de control cuando el generator vaya a ser realizado.
BATTERY

Figura 3-4. Conector de entrada del cargador de la bateria
CHARGER INPUT
000423
ADVERTENCIA
Peligro ambiental. Siempre recile las baterias en un centro de reciclado oficial de acuerdo con todas las leyes y reglamentos locales. No hacerlo可以更好ar daños ambientales, la muerte o lesiones graves. (00029)
(000228)
Sección 4 Mantenimiento y solución de problemas
Mantenimiento
El mantenimiento regular mejorar el rendimiento y prolongará la vidautil del motor/ equipo.Generac Power Systems, Inc. recomienda que todo el trabajo deremenmantimientoseaeffectuado por un IASD (Independent Authorized Service Dealer, concesionario independiente de servicios autorizzato). Elostenimiento regular, sustitución o reparacion de losdispositivos y sistemas de control de emisionesuede sereffectuado porequalquier taller de reparaciones o mecanico elegido porel propietario.Sin embargo,paraobtener serviceo garantia Gratis,el trabajodebesereffectuado por un IASD.Vea la garantia de emisiones.
NOTA: Llame al 1-888-GENERAC (1-888-436-3722) con las preguntas queonga acerca de la sustitución de componentes.
Programa de mantenimiento
Respete los intervalos de mantenimiento programado, lo que ocurre primero acorde al uso.
NOTA: Las conditiones adversas peuvent requisir mantenimiento más freciente.
NOTA: Vaya a wwwgenerac.com o póngase en contacto con un IASD para Solicitar piezas de repuesto.
NOTA: Todas las operaciones de mantenimiento y ajustes necessarios deben realizarse cada temporada, tal y como se detalla en elsignificanto grfico.
| En cada uso |
| Comprobar el nivel de aceite del motor |
| Cada 100 horas o en cada año* |
| Cambiar aceite ‡ |
| Inspeccionar/limpiar el dispositivo antichispas |
| Cada año |
| Sustituir la bujía |
| Comprobar la holgura de la valvula*** |
| Cada 200 horas o cada año |
| Inspección/limpieza del filtro de aire** |
| ‡ Cambiar el aceite cuando el generator funciona con cargas pesadas o bajo altas temperatas. * Cambiar el aceite y el filtró de aceite cada mes cuando el generator funciona con cargas pesadas o bajo altas temperatas. ** Limpiar el generator con más Frequencia en conditiones de funciona con sociedad o polvo. Sustituir las piezas del filtró de aire si no se pueda limpiar correctamente. *** Comprobar la holgura de la valvula y ajustarla si Fuera Neededo cuando de las 50 primeras horas de funciona y, después, cada 300 horas. |
Mantenimientopreventivo
La suciedad o los residuos peuvent causar funciona incorrecto y daños en el equipo. Limpie el generator a diario o antes de cada uso. Mantenga la zona alrededor y detrás del silenciador sin residuos de combustible. Revise las ranuras y aberturas del aire de enfiambre del generator.
ADVERTENCIA
Lesiones personales. No inserte objetivos a工程技术 de las ranuras de enfiambre de aire. El generator可以选择 arrancar en cualquier momento y provocar la muerte, lesiones graves y daños en la unidad.
(000142a)
- Use un paño humedo para limpiar las superficies exteriores.
- Use un cepillo de cerdas suaves para aflojar la suciedad, aceite, etc. compactada.
- Use una aspiradora para recoger la suciedad y residuos sueltos.
- Se pueda usar aire a baja presión (que no supere los 25 psi) para eliminar la suciedad. Inspeccione las ranuras del aire de refrigeración y las aberturas del generator. Estas aberturas debenmantenerse limpias y sin obstrucciones.
NOTA: NO utilise una manguera de jardín para limpiar el generator. El agua podra entrada en el sistema del combustible del motor y Causear problemas. Si el agua entra en el generator a través de las ranuras del aire de refrigeración, parte de esta agua podra quedar retenida en huecos y hendiduras delaislante del bobinado del rotor y del estator. La acumulación de agua y suciedad en los bobinados internos podra disminuir la resistencia del aislante de这些东西 bobinados.
Mantenimiento del motor

ADVERTENCIA
Arranque accidental. Desconecte los cables de las bujias al trabajo en la unidad. No hacerlo pueda occasionar la muerte o lesiones graves.
(000141)
Recomendaciones sobre el aceite de motor
Para Maintener la garantía del producto, el aceite de motor se debe Maintener conforme a las recomendaciones de este manual. Para su comodidad, hay disponible kits de mantenimiento para usar en este producto que incluyen aceite de motor, bajo de aceite, bujia(s), una toalla de taller y embudo. Estos kits se pueda Obtener de un IASD.

000399
Inspeccion del niveau de aceite de motor


ADVERTENCIA
Riesgo de quemaduras. Espere a que el motor se enfrie antes de vaciar el aceite o el refrigerante. No hacerlo puede occasionar la muerte o lesiones graves. (200139)
(000139)
Inspeccione el nivel de aceite de motor antes de cada uso, o cada 8 horas de funciona.
- Coloque el generator sobre una superficie plana.
- Limpie la zona alrededor de la abertura de Ilenado de aceite.
- Consulte la Figura 4-1. Retire el tapón de llenado/varilla de aceite y limpie la varilla de medicación.

000115
Figura 4-1. Llenado de aceite de motor
- Atornille la varilla en el cuello del bajo. El nivel de aceite se comprueba con la varilla de medicación Completely insertada. Retire la varilla y compruebe que el nivel de aceite se encuentra bajo del rango de funciona bajo. Consulte la Figura 4-2.

000116
Figura 4-2. Rango de funcionaamento seguro
- Añada el aceite de motor recommendado según sea necesario.
- Coloque el tapón de llenado del aceite/ varilla de nivel y sujételafirmamente con la mano.
NOTA: Algunas unidades tienen más de unaubicación de llenado de aceite. En esteicosinos, solo esnecessaryusaruno dellospuntos delllenado de aceite.
Cambio de aceite de motor

ADVERTENCIA
Arranque accidental. Desconecte los cables de las bujías al trabajo en la unidad. No hacerlo pueda occasionar la muerte o lesiones graves.
(000141)
Si el generator se utilizes en Lugares con mucho polvo o suciedad, o en un clima extremadamente calido, cambie el aceite con mas Frequencia.
NOTA: No contamine. Conserve los recursos. Devuelva el aceite uso a los centros de recoleccion.
Cambie el aceite cuando el motor aun está caliente del funciona, comocede:
- Coloque el generator sobre una superficie plana.
- Desconecte el cable de bujía de la bujía y colque el cable donde no pueda hacer contacto con la bujía.
- Limpie la zona alrededor de la abertura de punto de llenado de aceite y del tapon de vaciado de aceite.
- Retire el tapón de llenado de aceite/varilla de nivel.
- Retire el tapón de vaciado de aceite y vacie el aceite Completely en un recipienté adecuado.
- Instale el tapón de vaciado de aceite y apiételo con seguridad.
- Añada el aceite de motor recommendado según seanecessary.Consulte Añadir aceite de motor.
- Coloque el tapón de llenado del aceite/ varilla de nivel y sujételafirmamente con la mano.
- Limpie el aceite que haya podido quedar derramada.
- Deseche apropiadamente el aceite conforme a todos los relogentes correspondientes.
Filtro de aire
El motor no funciona para correctamente y se pueda darar si lo usa con un bajo de aire sucio. Realice elostenimiento del bajo de aire más frecuentemente en conditiones de sociedad o polvo.
Para efectuar el mantenimiento del filtro de aire:
- Consulte la Figura 4-3. Gire el mando (A) y retire la cubierta delentieth de aire.
- Limpiela con agua y jabón. Exprima el filtró hasta que quede seco (NO LO RETUERZA) en un paño limpio.
- Limpie la cubierta del filtró de aire antes de volver a instalarla.
NOTA: Para solicitar un nuevo FILTER de aire, póngase en contacto con el centro de servicios autorizado más cercano llamando al 1-888-GENERAC (1-888-436-3722).

Figura 4-3. Conjunto del filtró de aire
000379
Mantenimiento de la bujía
Para efectuar el mantenimiento de la bucja:
- Limpie la zona alrededor de la bujía.
- Retire e inspeccione la bujia.
- Compruebe la separacion entre electrodos con un calibrador de espesor y configurale con la medida recomendada de 0,028 - 0,031 pulg. (0,70 - 0,80mm) . Consulte la Figura 4-4.

000211
Figura 4-4. Bujia
NOTA: Sustituya la bujía si los electrodos están picados, quemados o la porcelana está rajada. Use SOLAMENTE la bujía de repuesto recomendada. Consulte las specifications.
4. Instale la bujía aparecido con la mano y apriete 3/8 a 1/2 vuelta adicional using una llave para bujías.
Sustitudon de la bateria (si procebe)
NOTA: La bateria incluida con el generador se entrega cargada totalmente. Una bateria可以选择 perder parte de la carga cuando no se utilizes durante periodos de tiempo prolongados. Si la bateria no es capaz de arrancar el motor, enchufe el cargador de 12V que se incluye en la caja de accesorios (consulte la sección Cargar una bateria).
NOTA IMPORTANTE: Alponer enfuncioncimiento el generator, la bateria no se cargará.
ADVERTENCIA
Arranque accidental. Desconecte el cable negativo de la bateria, bajo el cable positivo de la bateria cuando trabajo en la unidad. No hacerlo possible occasionar la muerte o lesiones graves. (0001)
(000130)
Consulte la Figura 4-5.
- Desconecte el terminal negativo (-) de la bateria PRIMERO (cable negro).
- Desconecte el terminal positivo (+) de la bateria SEGUNDO (cable rojo).

000224
Figura 4-5. Conexión de la bateria
- Instale la nuevo bateria. Coloque la cinta de sujecion en ambos ganchos.
- Conecte el terminal positivo (+) de la batería PRIMERO (cable rojo). Coloque la funda de goma en los tornillos de conexión.
- Conecte el terminal negativo (-) de la batería (cable negro) SEGUUNDO.
- Coloque la funda de goma en los tornillos de conexión.
ADVERTENCIA
Peligro ambiental. Siempre recile las baterias en un centro de reciclado oficial de acuerdo con todas las leyes y replamentos locales. No hacerlowouldocasionar daños ambientales,la muerte o lesiones graves.
(000228)
Inspeccion del silenciador y del dispositivo antichispas
NOTA: Es una violacion del California Public Resources Code (Cólico de recursos Públicos de California), Seccion 4442, usar u operar el motor en tierras cubiertas de bosque, maleza o pasto excepto si el sistemas de escapeiene un supresor de chispas, como se define en la Seccion 4442, y este está manteentho condidiones de trabajo eficaces. Otros Estados o jurisdiezonles federales peuvent tener leyes similares.
Póngase en contacto con el fabricante original del equipo, el vendedor o el distribuidor para Obtener un supresor de chispas para el sistema de gases de escape instalado en este motor.
NOTA: Use UNICAMENTE piezas de repuesto de equipo original.
Inspeccione el silenciador en busca de rajaduras, corrosion u或者其他 danos. Retire el supresor de chispas, si tiene, e inspeccionelo para comprar si hay danos o bloqueo con carbón. Reemplace las piezas según sea necesario.
Inspeccion del tamiz del supresor de chispas

ADVERTENCIA Superficies calientes. Al usable la maquina, no toque las superficies calientes. Mantenga la maquina alejada de los combustibles durante el uso. Las superficies calientes peuvent ocasionar quemaduras graves o incendio. (000108)
- Afloje la abrazadora (A) y retire el tornillo. Consulte la Figura 4-6.
- Revise la pantalla (B) y sustituyala si está desgastada, perforada o danada de una manera. Si la pantalla no está danada, limpiela con un disolvente commercial.
- Sustituya la pantalla del supresor de chispas (B) y el cono (C). Fijela con la abrazadora y el tornillo.

Figura 4-6. Pantalla del supresor de chispas
Holgura de la valvula
Important: Comuniquee con un Concesionario de serviceo autorizzato independiente para Obtener auda de serviceo. La luz de valvulas correcta es esencial para prolongar la vida util del motor.
Compruebe la holgura de la valvula antes de las 50 primeras horas de funciona bajo.
Ajuste según sea Necessary.
- Admisión — 0,006 pulp. ± 0,001 pulp. (frio), (0,15 ± 0,02 mm)
- Escape — 0,008 pulp. ± 0,001 pulp. (frío), (0,20 ± 0,02 mm)
Almacenamento
General

▲PELIGRO
Explosion e incendio. El combustible y los vapeores son extremamente inflamables y explosivos. Almacene el combustible en una zona bien ventilada. Mantenga alejados el fuego y las chispas. No hacerlo occasionar la muerte o lesiones graves. (000)
(000143)

ADVERTENCIA
Riesgo de incendio. Verifique que laquina se haya enfierto appropriamente antes de instalar una cubierta y almacenar laquina. Las superficies calientes能把 occasionar un incendio.
(000109)
Se recomienda arrancar el generator una vez cada 30 días, y deben funciona durante 30 horas. Si no pueda hacerlo, consulte lasuma de laUNCHAMIENTO para preparar la unidad para sualmacenacimiento.
NO coloque una cubierta de almacenimiento en un generator caliente. Permita que la unidad se enfrie a temperatura ambiente antes de almacenarla.
- NO almacene combustible de una estación a另一边 excepto que esté tratado apropiamente.
- Sustituya el recipiente de combustible si hay oxidacion. El oxido en el combustible causa problemas en el sistema de combustible.
Cubra la unidad con una cubierta protectora adequada resistente a la humedad.
- Almacene la unidad en una zona limpia y seca.
- Guarde siempre el generator y el combustible lejos de fuentes de calor e ignacion.
Preparación del sistema de combustible para almacenimiento
El combustible almacenado mas de 30 días puede deteriorarse y darar los componentes del sistema de combustible. Mantenga fresco el combustible, use estabilizador de combustible.
Si se anade estabilidor de combustible al planta de combustible, prepare y ponga en marcha el motor para su almacenimiento durante un longo periodo. Ponga en funciona el motor durante 10-15 horas para hacer circular el estabilidor a工程技术 del planta de combustible. El combustible preparado adeuadamente se pueda almacenar hasta 24 heures.
NOTA: Si el combustible no ha sido tratado con estabilizador de combustible, deben vaciarse en un recipiente aprobado. HagaFuncionar el motor hasta que pare por falta de combustible. Se recomienda el uso de unestabilizador de combustible en el recipiente de almacenimiento paramantenerel combustible fresco.
- Bombie el aceite de motor.
- Retire la bujía.
- Vierta una cuchara sobre (5-10 cc) de aceite de motor limpio o pulverice un agente protector adecuado en el cilindro.

ADVERTENCIA
Pérdida de la visión. Es obligatorio llevar protección ocular para evaporar las salpicaduras procedentes de la cavidà de la bujía al girar el motor. De lo contrario, se pueda provocar la pérdida de la visión.
(000181)
- Tire de la性和 de arranque manual varias vezes para distribuir el aceite en el cilindro.
- Instale la bujía.
- Tire lentamente hasta que sienta resistencia. Esto cerrará las valvulas de manera que la humedad no pueda ingresar en el cilindro del motor. Suelte lentamente la性和 de arranque manual.
Cambio de aceite
Cambie el aceite de motor antes de almacENARIO. Consulte Cambio de aceite de motor.
Solución de problemas
| PROBLEMA CAUSA CORRECCION | ||
| El motor funciona, pero laitters de CA no está disponible. | 1. El disyuntor está ABIERTO.2. Conexión defiente o cable defectuoso.3. El dispositivo conectado está averiado.4. Falla en el generator.5. La toma de corriente GFCI está ABIERTA (si hubiera). | 1. Restablezca el disyuntor.2. Revise y repare.3. Conecte uno dispositivo que esté en buena estado.4. Comuníquese con el IASD.5. Corrija el circuito de tierra y pulse el botón de reinicio en la toma de corriente GFCI (si hubiera). |
| El motor funciona deforma correctasin carga, pero sedetiene cuando se leagrega carga. | 1. Cortocircuito en una carga conectada.2. El generador está sobrecargado.3. La velocidad del motor esdemasiado lenta.4. Cortocircuito en el generator.5. Dispositivo antichispasbloqueado. | 1. Desconnecte la energia electrica en cortocircuito.2. Reduzca la carga. (consulte Conozca los limites delgenerador).3. Comuníquese con el IASD.4. Comuníquese con el IASD.5. Limpiar la pantalla del supresor de chispas. |
| El motor no arranca oarranca y funcionacon dificultad. | 1. La válvula de cierre de combustible está en posición OFF.2. Filtro de aire sueio.3. No hay combustible.4. Combustible deteriorado.5. El cable de la bujía no está conectado a la bujía.6. Bujía averiada.7. Agua en el combustible.8. Exceso decebado.9. Nivel de aceite bajo.10. Mezcla de combustibleexcesivamente rica.11. Válvula de admisión atascada en posición abierta o cerrada.12. El motor perdió compresión. | 1. Gire la válvula de cierre de combustible a la posición ON.2. Limpie o sustituya el filtrode aire.3. Llene el depuesto de combustible.4. Vacie el depuesto de combustible y llénelo con combustible nuevo.5. Conecte el cable a la bujía.6. Cambie la bujía.7. Vacie el depuesto de combustible y llénelo con combustible nuevo.8. Coloque la palanca delcebador en la posiciónsincebado.9. Llene el carter hasta elnivel correcto.10. Comuníquese con el IASD.11. Comuníquese con el IASD.12. Comuníquese con el IASD. |
| El motor se apaga durante el funcionaimiento. | 1. No hay combustible.2. Nivel de aceite bajo.3. Falla en el motor.4. Apagado de COsense debido a la acumulación de monóxido de carbono si parpadea una luz roja en la plaza del panel lateral.5. Apagado de COsense debido a fallo en el sistemas si parpadea una luz amarilla en la plaza del panel lateral. | 1. Llene el depósito de combustible.2. Llene el cárter hasta el nivel correcto.3. Comuníquese con el IASD.4. Siga las instrucciones de seguidad y vuelva a colocar el generator en un area exterior y abierta y alejada de ventanas, puertas y ventilaciones.5. Arranque para confirmar que la luz amarilla parpadea cuando/si el generator se apaga. Si COsense continua fallando y se apaga, pángase en contacto con el IASD. |
| Falta de potencia del motor. | 1. El generator está sobrecargado.2. Filtró de aire sucio.3. El motor necesita mantenimiento.4. Dispositivo antichispas bloqueado. | 1. Reduzca laarga (consulte Conozca los limites del generator).2. Limpie o sustituya el filtró de aire.3. Comuníquese con el IASD.4. Limpiar la pantalla del supresor de chispas. |
| El motor;aulta le tensión o se atasca. | 1. Elcebadorse ha abierto demasiado pronto.2. Elcarburadorfunciona con una mezcla demasiado rica o demasiado pobre. | 1. Coloque elcebador en la posición intermedia hasta que el motor funcione suavamente.2. Comuníquese con el IASD. |
| El motor arranca y se apaga inmediamente. | 1. Apagado de COsense debido a la acumulación de monóxido de carbono si parpadea una luz roja en la plaza del panel lateral.2. Apagado de COsense debido a fallo en el sistemas si parpadea una luz amarilla en la plaza del panel lateral. | 1. Siga las instruetiones de seguidad y vuelva a colocar el generator en un areal exterior y abierta y alejada de ventanas, puertas y ventilaciones.2. Arranque para confirmar que la luz amarilla parpadea cuando/si el generator se apaga. Si COsense continua fallando y se apaga, pángase en contacto con el IASD. |
Diagrams de cableado

010106
Pieza N.° 0000029705 Rev.C 04/09/2020
Reservados todos los derechos
Las specificationsstan sujetasacambiossin previoaviso.
No se permite la reproduccion en ningún formatting sin el consentimiento previo por escrito de Generac Power Systems, Inc.
GENERAC
Generac Power Systems, Inc.
S45 W29290 Hwy. 59
Waukesha, WI 53189
1-888-GENERAC (1-888-436-3722)
wwwgenerac.com
Se recomienda proteccion auditiva
ManualFácil