G0076750 - Generator Generac - Free user manual and instructions
Find the device manual for free G0076750 Generac in PDF.
| Technical specifications | Portable generator, 7500 watt power, gasoline engine, electric start, 20 liter tank. |
|---|---|
| Usage | Ideal for construction sites, outdoor events, and as a backup power source for homes. |
| Maintenance and repair | Check oil regularly, clean the air filter, and perform recommended annual maintenance. |
| Safety | Use outdoors to avoid carbon monoxide buildup, do not overload the generator. |
| General information | 2-year limited warranty, weight of 90 kg, compact dimensions for easy transport. |
Frequently Asked Questions - G0076750 Generac
User questions about G0076750 Generac
0 question about this device. Answer the ones you know or ask your own.
Ask a new question about this device
Download the instructions for your Generator in PDF format for free! Find your manual G0076750 - Generac and take your electronic device back in hand. On this page are published all the documents necessary for the use of your device. G0076750 by Generac.
USER MANUAL G0076750 Generac
GP Series Portable Generator
Owner's Manual

MODEL:
SERIAL:
DATE PURCHASED:

WARNING
Loss of life. This product is not intended to be used in a critical life support application. Failure to adhere to this warning could result in death or serious injury. (000209b)
Register your Generac product at:
WWW.GENERAC.COM
1-888-GENERAC
(1-888-436-3722)

SAVE THIS MANUAL FOR FUTURE REFERENCE
Section 1 Introduction and Safety 1
Introduction 1
Safety Rules 1
Safety Symbols and Meanings 1
Exhaust and Location Hazards 2
Electrical Hazards 3
Fire Hazards 3
Standards Index 3
Replacement Hazard Labels 3
Section 2 General Information and Setup 5
Know Your Generator 6
Emissions 6
Hour Meter 7
Connection Plugs 7
COsense® 8
Remove Contents from Carton 9
Assembly 9
Battery Cable Connection (electric
start only) 10
Add Engine Oil 10
Fuel 11
Section 3 Operation 12
Operation and Use Questions 12
Before Starting Engine 12
Prepare Generator for Use 12
Grounding the Portable Generator 12
Know Generator Limits 13
Transporting/Tipping of the Unit .... 14
Starting Pull Start Engines 14
Starting Electric Start Engines 14
Low Oil Level Shutdown System ... 15
Charging the Battery (electric start units only) 15
Section 4 Maintenance and
Troubleshooting 16
Maintenance 16
Maintenance Schedule 16
Preventive Maintenance 16
Engine Maintenance 16
Battery Replacement (if applicable) 18
Inspect Muffler and Spark Arrester 18
Valve Clearance 19
Storage 19
Troubleshooting 20
Wiring Diagram 22
Notes 23
WARNING
CANCER AND REPRODUCTIVE HARM
www.P65Warnings.ca.gov.
(000393a)
Section 1 Introduction and Safety
Introduction
Read This Manual Thoroughly

WARNING
Consult Manual. Read and understand manual completely before using product. Failure to completely understand manual and product could result in death or serious injury. (000100a)
If any section of this manual is not understood, contact the nearest Independent Authorized Service Dealer (IASD) or Generac Customer Service at 1-888-436-3722 (1-888-GENERAC), or visit wwwgenerac.com for starting, operating, and servicing procedures. The owner is responsible for proper maintenance and safe use of the unit.
SAVE THESE INSTRUCTIONS for future reference. This manual contains important instructions that must be followed during placement, operation, and maintenance of the unit and its components. Always supply this manual to any individual that will use this unit, and instruct them on how to correctly start, operate, and stop the unit in case of emergency.
The information in this manual is accurate based on products produced at the time of publication. The manufacturer reserves the right to make technical updates, corrections, and product revisions at any time without notice.
Safety Rules
The manufacturer cannot anticipate every possible circumstance that might involve a hazard. The alerts in this manual, and on tags and decals affixed to the unit, are not all inclusive. If using a procedure, work method, or operating technique that the manufacturer does not specifically recommend, verify that it is safe for others and does not render the equipment unsafe.
Throughout this publication, and on tags and decals affixed to the unit, DANGER, WARNING, CAUTION, and NOTE blocks are used to alert personnel to special instructions about a particular operation that may be hazardous if performed incorrectly or carelessly. Observe them carefully. Alert definitions are as follows:
DANGER
Indicates a hazardous situation which, if not avoided, will result in death or serious injury.
(000001)
WARNING
Indicates a hazardous situation which, if not avoided, could result in death or serious injury.
(000002)
CAUTION
Indicates a hazardous situation which, if not avoided, could result in minor or moderate injury.
(000003)
NOTE: Notes contain additional information important to a procedure and will be found within the regular text of this manual.
These safety alerts cannot eliminate the hazards that they indicate. Common sense and strict compliance with the special instructions while performing the action or service are essential to preventing accidents.
Safety Symbols and Meanings
DANGER
Using a generator indoors CAN KILL YOU IN MINUTES. Generator exhaust contains carbon monoxide. This is a poison you cannot see or smell.

NEVER use inside a home or garage, EVEN IF doors and windows are open.

Only use OUTSIDE and far away from windows, doors, and vents.

000657
DANGER

Asphyxiation. Running engines produce carbon monoxide, a colorless, odorless, poisonous gas. Carbon monoxide, if not avoided, will result in death or serious injury. (000103)
- If you start to feel sick, dizzy, or weak after the generator has been running, move to fresh air IMMEDIATELY. See a doctor, as you could have carbon monoxide poisoning.

DANGER
Asphyxiation. The exhaust system must be properly maintained. Do not alter or modify the exhaust system as to render it unsafe or make it noncompliant with local codes and/or standards. Failure to do so will result in death or serious injury. (00017)

DANGER
Electrocution. Water contact with a power source, if not avoided, will result in death or serious injury.
(000104)

DANGER
Electrocution. Turn utility and emergency power supplies to OFF before connecting power source and load lines. Failure to do so will result in death or serious injury. (000116)
WARNING
Equipment and property damage. Do not alter construction of, installation, or block ventilation for generator. Failure to do so could result in unsafe operation or damage to the generator. (000146)

AWARNING
Asphyxiation. Always use a battery operated carbon monoxide alarm indoors and installed according to the manufacturer's instructions. Failure to do so could result in death or serious injury. (000178a)
WARNING
Equipment and property damage. Do not operate unit on uneven surfaces, or areas of excessive moisture, dirt, dust or corrosive vapors. Doing so could result in death, serious injury, property and equipment damage. (00025)

WARNING
Moving Parts. Keep clothing, hair, and appendages away from moving parts. Failure to do so could result in death or serious injury. (000111)

AWARNING
Hot Surfaces. When operting machine, do not touch hot surfaces. Keep machine away from combustables during use. Hot surfaces could result in severe burns or fire. (000108)
WARNING
Personal injury. Do not insert any object through the air cooling slots. Generator can start at any time and could result in death, serious injury, and unit damage. (000142a)
AWARNING
Risk of injury. Do not operate or service this machine if not fully alert. Fatigue can impair the ability to service this equipment and could result in death or serious injury. (000215)
AWARNING
Injury and equipment damage. Do not use generator as a step. Doing so could result in falling, damaged parts, unsafe equipment operation, and could result in death or serious injury. (000216)

CAUTION
Hearing protection recommended.
PRECAUCION
Protection auditive recommande.
000406
- For safety reasons, it is recommended that the maintenance of this equipment be performed by an IASD. Inspect the generator regularly, and contact the nearest IASD for parts needing repair or replacement.
Exhaust and Location Hazards

DANGER
Asphyxiation. Running engines produce carbon monoxide, a colorless, odorless, poisonous gas. Carbon monoxide, if not avoided, will result in death or serious injury. (000103)

DANGER
Asphyxiation. The exhaust system must be properly maintained. Do not alter or modify the exhaust system as to render it unsafe or make it noncompliant with local codes and/or standards. Failure to do so will result in death or serious injury. (00017)

WARNING
Asphyxiation. Always use a battery operated carbon monoxide alarm indoors and installed according to the manufacturer's instructions. Failure to do so could result in death or serious injury. (000178a)
WARNING
Equipment and property damage. Do not alter construction of, installation, or block ventilation for generator. Failure to do so could result in unsafe operation or damage to the generator. (000146)
If you start to feel sick, dizzy, or weak after the generator has been running, move to fresh air IMMEDIATELY. See a doctor, as you could have carbon monoxide poisoning.
- NEVER run a generator indoors or in a partly enclosed area such as garages.
- ONLY use outdoors and far away from windows, doors, vents, crawl spaces and in an area where adequate ventilation is available and will not accumulate deadly exhaust gas.
- Point muffler exhaust away from people and occupied buildings.
- Using a fan or opening a door will not provide sufficient ventilation.
Electrical Hazards

DANGER
Electrocution. Contact with bare wires, terminals, and connections while generator is running will result in death or serious injury.
(000144)

DANGER
Electrocution. Water contact with a power source, if not avoided, will result in death or serious injury.
(000104)
- National Electric Code (NEC) requires the frame and external electrically conductive parts of the generator be properly connected to an approved earth ground. Local electrical codes may also require proper grounding of the generator. Consult with a local electrician for grounding requirements in the area.
- Use a ground fault circuit interrupter (GFCI) in any damp or highly conductive area (such as metal decking or steel work).

DANGER
Electrocution. In the event of electrical accident, immediately shut power OFF. Use non-conductive implements to free victim from live conductor. Apply first aid and get medical help. Failure to do so will result in death or serious injury. (000145)
- Once generator has been started outside, connect electrical loads to extension cord(s) inside.
Fire Hazards

DANGER
Explosion and Fire. Fuel and vapors are extremely flammable and explosive. Add fuel in a well ventilated area. Keep fire and spark away. Failure to do so will result in death or serious injury.(000105)

DANGER
Explosion and Fire. Do not overfill fuel tank. Fill to 1/2 inch from top of tank to allow for fuel expansion. Overfilling may cause fuel to spill onto engine causing fire or explosion, which will result in death or serious injury. (000166b)

DANGER
Risk of fire. Allow fuel spills to completely dry before starting engine. Failure to do so will result in death or serious injury.
(000174)
WARNING
Personal injury. Do not insert any object through the air cooling slots. Generator can start at any time and could result in death, serious injury, and unit damage. (000142a)
- Allow at least 5 feet of clearance on all sides of the generator when operating to prevent overheating and fire.
- Do not operate the generator if connected electrical devices overheat, if electrical output is lost, if engine or generator sparks, or if flames or smoke are observed while unit is running.
- Keep a fire extinguisher near the generator at all times.
Standards Index
- National Fire Protection Association (NFPA) 70: The NATIONAL ELECTRIC CODE (NEC) available from www.nfpa.org
- National Fire Protection Association (NFPA) 5000: BUILDING CONSTRUCTION AND SAFETY CODE available from www.nfpa.org
- International Building Code available from www.iccsafe.org
- Agricultural Wiring Handbook available from www. rerc.org, Rural Electricity Resource Council P.O. Box 309 Wilmington, OH 45177-0309
- ASAE EP-364.2 Installation and Maintenance of Farm Standby Electric Power available from www.asabe.org, American Society of Agricultural & Biological Engineers 2950 Niles Road, St. Joseph, MI 49085
- CSA C22.2 100-14 Electric motors and generators for installation and use, in accordance with the Rules of the Canadian Electrical Code
- ANSI/PGMA G300 Safety and Performance of Portable Generators. Portable Generator Manufacturer's Association, www.pgmaonline.com
IMPORTANT NOTE: This list is not all inclusive. Check with the Authority Having Jurisdiction (AHJ) for any local codes or standards which may be applicable to your jurisdiction.
Replacement Hazard Labels
The following replacement hazard labels are available free from Generac:
0 H 0 1 1 5 D

- 0H8251B (Vertical CO Warning Decal)
DANGER
Using a generator indoors CAN KILL YOU IN MINUTES. Generator exhaust contains carbon monoxide. This is a poison you cannot see or smell.




NEVER use inside a home or garage, EVEN IF doors and windows are open.
Only use OUTSIDE and far away from windows, doors, and vents.
DANGER
Section 2 General Information and Setup


Figure 2-1. Features and Controls
Generator Components
1 120 Volt AC, 20 Amp, GFCI Duplex Receptacle (NEMA 5-20R)
2 120/240 Volt AC, 30 Amp Locking Receptacle (NEMA L14-30R)
3 Circuit Breakers (AC)
40 i D r a i n
5 Air Filter
6 Choke Knob
7 Fuel Tank
8 Grounding Lug
9 Stop/Run/Start Switch (if equipped)
10 Muffler
11 Handle
12 Gas Cap
13 Fuel Gauge
14 Oil Check/Fill
15 Recoil Starter
16 Fuel Shut Off
17 Hour Meter
18 Battery Charger Input (if equipped)
19 Battery Location (if equipped)
20 Spark Arrestor
21 COsense RED (Hazard) (if equipped)
22 COsense YELLOW (Fault) (if equipped)
23 Idle Control (if equipped)

Figure 2-2. Control Panel (Electric Start and Idle Control) (if equipped)

Figure 2-3. Unit Identification Label
006618
Emissions
The United States Environmental Protection Agency (US EPA) (and California Air Resources Board (CARB), for engines/equipment certified to California standards) requires this engine/equipment to comply with exhaust and evaporative emissions standards. Locate the emissions compliance decal on the engine to determine applicable standards. See the included emissions warranty for emissions warranty information. Follow the maintenance specifications in this manual to ensure the engine complies with applicable emissions standards for the duration of the product's life.
Know Your Generator

AWARNING
Consult Manual. Read and understand manual
completely before using product. Failure to
completely understand manual and product
could result in death or serious injury. (000100a)
Replacement owner's manuals are available at wwwgenerac.com.
Product Specifications
| Generator Specifications GP6500 / GP | 6500E GP8000E | |
| Rated Power @1.0 Power Factor 6.5 kW** 8.0 | kW** | |
| Surge Power 8.125 KVA 10.0 KVA | ||
| Rated AC Voltage 120/240 | ||
| Rated AC Load Current @ 240V** Current @ 120V** | 27.1 54.2 | 33.3 66.6 |
| Rated Frequency 60 Hz @ 3600 RPM | ||
| Phase Single Phase | ||
| Weight (dry) Pounds (lb) Kilograms (kg) | 174.8-186 79.3-84.4 | 197.1 89.4 |
| ** Operating Temperature Range: -18 deg. C (0 deg. F) to 40 Deg. C (104 Deg. F). When operated above 25 deg. C (77 deg. F) there may be a decrease in power. ** Maximum wattage and current are subject to, and limited by, such factors as fuel Btu content, ambient temperature, altitude, engine condition, etc. Maximum power decreases about 3.5% for each 1,000 feet above sea level; and will also decrease about 1% for each 6° C (10° F) above 16° C (60° F) ambient temperature. | ||
| 6.5kW Engine Specifications | ||
| Displacement 389 cc | ||
| Spark Plug Part No. | 0J00620106 | |
| Spark Plug Type | Bosch F7TC or equivalent | |
| Spark Plug Gap | 0.028-0.031 inch or (0.70-0.80 mm) | |
| Gasoline Capacity | 29.9 L (7.9 gal) | |
| Oil Type | See Chart in Add Engine Oil | |
| Oil Capacity | 1.0 L (1.06 qt.) | |
| Run Time at 50% Load | 11.5 Hours | |
Product Specifications
| 8.0kW Engine Specifications | |
| Displacement 420cc | |
| Spark Plug Part No. 0J00620106 | |
| Spark Plug Type Bosch F7TC or equivalent | |
| Spark Plug Gap 0.028-0.031 inch or (0.70-0.80 mm) | |
| Gasoline Capacity 29.9 L (7.9 gal) | |
| Oil Type | See Chart in Add Engine Oil |
| Oil Capacity 1.0 L (1.06 qt.) | |
| Run Time at 50% Load 10 Hours | |
| * Go to Generac.com or contact an IASD for replacement parts. | |
Hour Meter
The Hour Meter tracks hours of operation for scheduled maintenance. See Figure 2-4.
- The CHG OIL display will illuminate every 100 hours. The message will flash one hour before and one hour after each 100 hour interval, providing a two hour window to perform service.
- The SVC display will illuminate every 100 hours. The message will flash one hour before and one hour after each 200 hour interval providing a two hour window to perform service.
When the hour meter is in flash alert mode, the maintenance message will alternate with elapsed time in hours and tenths. The hours will flash four times, then alternate with the maintenance message four times until the meter automatically resets.
100 hours - CHG OIL - Oil Change Interval (Every 100 hrs)
- 200 hours - SVC — Service Air Filter (Every 200 hrs)
NOTE: The hour glass icon will flash when the engine is running. This signifies the meter is recording hours of operation.
The 120 Volt outlet is overload protected by a 20 Amp push-to-reset circuit breaker. See Figure 2-5. Each receptacle will power 120 Volt AC, single phase, 60Hz electrical loads requiring up to 2400 watts (2.4kW) or 20 Amps of current. Use only high quality, well-insulated, 3-wire grounded cord sets rated for 125 Volts at 20 Amps (or greater). It also provides protection with a Ground Fault Circuit Interruptions with a press to TEST and RESET button.
Figure 2-5. 120 VAC, 20 Amp, GFCI Duplex Receptacle NEMA 5-20R

000203
120/240 VAC, 30 Amp Receptacle
Use a NEMA L14-30 plug with this receptacle (rotate to lock/unlock). Connect a suitable 4-wire grounded cord set to plug and desired load. The cord set should be rated 250 Volts AC at 30 Amps or greater. See Figure 2-6. Use this receptacle to operate 120 Volt AC, 60 Hz, single phase loads requiring up to 3600 watts (3.6kW) of power at 30 Amps or 240 Volt AC, 60Hz single phase loads requiring up to 7200 watts (7.2kW) of power at 30 Amps. The outlet is protected by one 30 Amp 2-pole circuit breaker.

000204
Figure 2-6. 120/240 VAC, 30 Amp Receptacle NEMA L14-30R
COsense®
Carbon Monoxide (CO) Detection and Shut-off System (if equipped)
The COsense module monitors for the accumulation of poisonous CO gas found in engine exhaust when the generator is running. If COsense detects increasing levels of CO gas, it automatically shuts off the engine. COsense only monitors when the engine is running. Generators are intended to be used outdoors, far from occupied buildings and the exhaust pointed away from personnel and buildings. However, if mis-used and operated in a location that results in the accumulation of CO, like indoors or in a partially enclosed area, COsense shuts off the engine, notifies the user of what has happened and directs the user to read the instruction action label for steps to take. See Figure 2-7. COsense is not a substitute for an indoor carbon monoxide alarm.
See Figure 2-8. After a shut-off, a blinking RED light in the COsense badge on the side of the generator provides notification that the generator was shut off due to an accumulating CO hazard. The RED light will blink for at least five minutes after a CO shut-off. Move the generator to an open, outdoor area and point the exhaust away from people and occupied buildings. Once relocated to a safe area, the generator can be restarted and the proper electrical connections made to supply electrical power. The RED light will stop blinking automatically upon engine re-start. Introduce fresh air and ventilate the location where the generator had shut down.
See Figure 2-8. If a COsense system fault has occurred and no longer provides protection, the portable generator is shut off automatically and the YELLOW light will blink for at least five minutes in the COsense badge to notify the user of the fault. The COsense module can only be diagnosed and repaired by a trained technician at the dealer. The generator can be re-started, but may continue to shut-off.
COsense will detect the accumulation of Carbon Monoxide from other fuel burning sources such as engine powered tools or propane heaters used in the area of operation. For example, if another generator is used and the exhaust is pointed at a COsense equipped generator, COsense may initiate a shut-off due to rising CO levels. This is not an error. Hazardous Carbon Monoxide has been detected. The user must take action to move and re-direct these devices to better dissipate Carbon Monoxide far away from personnel and occupied buildings.

Figure 2-7. Instruction Action Label

Figure 2-8. Instruction Badge
Remove Contents from Carton
- Open carton completely by cutting each corner from top to bottom.
- Remove and verify carton contents prior to assembly. Carton contents should contain the following:
Accessories
| Item Qty. | ||
| Main Unit 1 | ||
| Owner's Manual 1 | ||
| Liter Oil SAE 30 1 | ||
| Handle Assembly (A) 1 | ||
| Never-flat Wheel (B) 2 | ||
| Frame Foot (C) 2 | ||
| Product Registration Card 3 | ||
| Service Warranty 1 | ||
| Emissions Warranty 1 | ||
| 25' Power Cord (if equipped) | 1 | |
| Battery Charger (electric start models) | 1 | |
| Hardware Bag | Qty. Assy. A | Qty. Assy. B |
| Rubber Feet (D) | 2 | 0 |
| 1/2" Axle Pin (E) | 2 | 2 |
| Cotter Pin (F) | 2 | 2 |
| 1/2" Flat Washer (G) | 2 | 2 |
| Hex Flanged M6 Nut (H) | 2 | 0 |
| Hex Flanged M8 Nut (J) | 6 | 6 |
| M8 Bolt (Long) (K) | 6 | 6 |
| M6 Bolt (Long) (L) | 2 | 0 |
| M8 Nylon Flat Washer (M) | 4 | 4 |
NOTE: The generator is shipped with only one (1) hardware bag, assembly A or B.
3. Call Generac Customer Service 1-888-GENERAC (1-888-436-3722) with the unit model and serial number for any missing carton contents.
4. Record model, serial number, and date of purchase on front cover of this manual.
Assembly

AWARNING
Consult Manual. Read and understand manual completely before using product. Failure to completely understand manual and product could result in death or serious injury. (000100a)
Call Generac Customer Service at 1-888-GENERAC (1-888-436-3722) for any assembly issues or concerns. Please have model and serial number available.
The following tools are required to install the accessory kit.
Needle Nose Pliers
Ratchet Wrench
8mm Socket
12mm Socket
13mm Socket
10mm Wrench
13mm Wrench
8mm Wrench (2) (electric start only)
NOTE: The wheels are not intended for overthe-road use.
See Figure 2-9.
Install wheels as follows:
- Slide axle pin (E) through the wheel (B), wheel bracket on frame, and 1/2" flat washer (G).
- Insert cotter pin (F) through axle pin (E). Bend tabs (of cotter pins) outward to lock into place.
Install frame foot and rubber bumpers as follows:
- Slide hex head bolts (L) through rubber bumper (D), then through frame foot (C) (if not pre-assembled).
- Slide hex head bolts (K) through holes in frame rail.
- Slide frame foot (C) onto hex head bolts (K). Install locking flange nuts (J).

Figure 2-9.Wheel & Foot Assembly
See Figure 2-10.
Install handle as follows:
- Slide long bolts (K) through handle bracket and handle (A). Install hex nuts (J).

Figure 2-10. Handle Assembly
Battery Cable Connection (electric start only)
The unit has been shipped with the battery cables disconnected.
You will need two 8mm box wrenches to connect the battery cables. See Figure 4-5.
- Cut off cable ties securing battery cables and remove red cover from battery terminal.
- First, connect the red cable to the positive (+) battery terminal with the bolt and nut supplied.
-
Make sure connections are secure and slide rubber boot over the positive (+) battery terminal and connection hardware.
-
Connect the black cable to the negative (-) battery terminal with the bolt and nut supplied. Slide rubber boot over the negative (-) battery terminal and connection hardware.
- Make sure all connections are secure.
NOTE: If the battery is unable to start the engine, charge it with the 12V charger included in the accessory box (see the Charging the Battery (electric start units only) section for details).
Add Engine Oil
CAUTION
Engine damage. Verify proper type and quantity of engine oil prior to starting engine. Failure to do so could result in engine damage.
(000135)
- Place generator on a level surface.
- Verify oil fill area is clean.
- Remove oil fill cap and wipe dipstick clean. See Figure 2-11.

Figure 2-11. Remove Dipstick
- Add recommended engine oil as shown in the following chart.
NOTE: Use petroleum based oil (supplied) for engine break-in before using synthetic oil.

000399
NOTE: Some units have more than one oil fill location. It is only necessary to use one oil fill point.
- Thread dipstick into oil filler neck. Oil level is checked with dipstick fully installed.
- See Figure 2-12. Remove dipstick and verify oil level is within safe operating range.

000116
Figure 2-12. Safe Operating Range
- Install oil fill cap/dipstick and hand-tighten.
Fuel

DANGER
Explosion and Fire. Fuel and vapors are extremely flammable and explosive. Add fuel in a well ventilated area. Keep fire and spark away. Failure to do so will result in death or serious injury. (000105)

WARNING
Fluid Injection. This machine produces high-pressure fluid streams that can pierce skin. Fluid injection could result in death or serious injury. (000106b)
Fuel requirements are as follows:
- Clean, fresh, unleaded gasoline.
Minimum rating of 87 octane/87 AKI (91 RON). - Up to 10% ethanol (gasohol) is acceptable (where available; non-ethanol-premium fuel is recommended).
DO NOT use E85.
DO NOT use a gas oil mix. - DO NOT modify engine to run on alternate fuels. Stabilize fuel prior to storage.
- Verify unit is OFF and cooled for a minimum of two minutes prior to fueling.
- Place unit on level ground in a well ventilated area.
- Clean area around fuel cap and remove cap slowly.
- Slowly add recommended fuel (A). Do not overfill (B). See Figure 2-13.
- Install fuel cap.

Figure 2-13. Add Recommended Fuel
NOTE: Allow spilled fuel to evaporate before starting unit.
IMPORTANT NOTE: It is important to prevent gum deposits from forming in fuel system parts such as the carburetor, fuel hose or tank during storage. Alcoholblended fuels (called gasohol, ethanol or methanol) can attract moisture, which leads to separation and formation of acids during storage. Acidic gas can damage the fuel system of an engine while in storage. To avoid engine problems, the fuel system should be emptied before storage of 30 days or longer. See the Storage section. Never use engine or carburetor cleaner products in the fuel tank as permanent damage may occur.
Section 3 Operation
Operation and Use Questions
Call Generac customer service at 1-888-GENERAC (1-888-436-3722) with questions or concerns about equipment operation and maintenance.
Before Starting Engine
- Verify engine oil level is correct.
- Verify fuel level is correct.
- Verify unit is secure on level ground, with proper clearance and is in a well ventilated area.
Prepare Generator for Use

DANGER
Asphyxiation. Running engines produce carbon monoxide, a colorless, odorless, poisonous gas. Carbon monoxide, if not avoided, will result in death or serious injury. (00010)
(000103)

AWARNING
Asphyxiation. Always use a battery operated carbon monoxide alarm indoors and installed according to the manufacturer's instructions. Failure to do so could result in death or serious injury.
(000178a)

DANGER
Asphyxiation. The exhaust system must be properly maintained. Do not alter or modify the exhaust system as to render it unsafe or make it noncompliant with local codes and/or standards. Failure to do so will result in death or serious injury. (000179b)

WARNING
Risk of fire. Do not use generator without spark arrester installed. Failure to do so could result in death or serious injury.
(000118a)

WARNING
Risk of Fire. Hot surfaces could ignite combustibles, resulting in fire. Fire could result in death or serious injury.
(000110)

WARNING
Hot Surfaces. When operating machine, do not touch hot surfaces. Keep machine away from combustibles during use. Hot surfaces could result in severe burns or fire. (000108)
(000108)
CAUTION
Equipment and property damage. Disconnect electrical loads prior to starting or stopping unit. Failure to do so could result in equipment and property damage. (000136)
Grounding the Portable Generator
See Figure 3-1. The portable generator is equipped with a terminal for the connection of a field grounding electrode conductor where a grounding electrode system is required by NEC Article 250.34(A). The equipment grounding conductor terminals of the generator receptacles are bonded to the generator frame. Where the generator supplies power to cord and plug connected equipment, like power tools, the frame of the generator is not required by the NEC to be connected to a field grounding electrode. The generator neutral conductor is bonded to the generator frame in accordance with NEC Article 250.34(C).
- NEUTRAL BONDED TO FRAME
- THERE IS A PERMANENT CONDUCTOR BETWEEN THE GENERATOR (STATOR WINDING) AND FRAME
See Figure 3-1. Where the generator is connected to a manual transfer switch, the transfer switch must also switch the neutral upon transfer to be NEC code compliant (3-Pole switch). A grounding electrode is required to be connected to the generator frame to properly ground the generator. The ground wire connected from the generator terminal/frame to a field ground electrode shall be of equal or larger ampacity than the largest conductor used in the generator. Generac HomeLink manual transfer switches and kits meet this requirement and are recommended for use.

Figure 3-1.Grounding the Generator
000227
Special Requirements
Review all Federal or State Occupational Safety and Health Administration (OSHA) regulations, local codes, or ordinances that apply to the intended use of the generator.
Consult a qualified electrician, electrical inspector, or the local agency having jurisdiction:
-
In some areas, generators are required to be registered with local utility companies.
-
If the generator is used at a construction site, there may be additional regulations which must be observed.
Connecting the Generator to a Building Electrical System
It is recommended to use a manual transfer switch when connecting directly to a building electrical system to prevent hazardous backfeeding and avoid injuring utility line workers.
When connecting a portable generator to a building electrical system, a transfer switch must isolate the generator power from the utility power at all times. Failure to comply will result in a hazardous condition. Installation is to be made in strict compliance with all national and local electrical codes and laws, and be completed by a qualified electrician.
Know Generator Limits
Overloading a generator can result in damage to the generator and connected electrical devices. Observe the following to prevent overload:
- Add the total wattage of all electrical devices to be connected at one time. This total should NOT be greater than the generator's wattage capacity.
- The rated wattage of lights can be taken from light bulbs. The rated wattage of tools, appliances, and motors can be found on a data label or decal affixed to the device.
- If the appliance, tool, or motor does not give wattage, multiply volts times ampere rating to determine watts (volts x amps = watts).
- Some electric motors, such as induction types, require approximately three times more watts of power for starting than for running. This surge of power lasts only a few seconds when starting such motors. Make sure to allow for high starting wattage when selecting electrical devices to connect to the generator:
- Calculate the watts needed to start the largest motor.
- Add to that figure the running watts of all other connected loads.
The Wattage Reference Guide is provided to assist in determining how many items the generator can operate at one time.
NOTE: All figures are approximate. See data label on appliance for wattage requirements.
Wattage Reference Guide
| Device Running | Watts |
| *Air Conditioner (12,000 Btu) 1700 | |
| *Air Conditioner (24,000 Btu) 3800 | |
| *Air Conditioner (40,000 Btu) 6000 |
| Battery Charger (20 Amp) 500 | |
| Belt Sander (3") 1000 | |
| Chain Saw 1200 | |
| Circular Saw (7-1/4") 1250 to 1400 | |
| *Clothes Dryer (Electric) 5750 | |
| *Clothes Dryer (Gas) 700 | |
| *Clothes Washer 1150 | |
| Coffee Maker | 1750 |
| *Compressor (1 HP) 2000 | |
| *Compressor (3/4 HP) | 1800 |
| *Compressor (1/2 HP) | 1400 |
| Curling Iron | 700 |
| *Dehumidifier | 650 |
| Disc Sander (9") | 1200 |
| Edge Trimmer | 500 |
| Electric Blanket | 400 |
| Electric Nail Gun 1200 | |
| Electric Range (per element) | 1500 |
| Electric Skillet | 1250 |
| *Freezer | 700 |
| *Furnace Fan (3/5 HP) | 875 |
| *Garage Door Opener 500 to 750 | |
| Hair Dryer 1200 | |
| Hand Drill | 250 to 1100 |
| Hedge Trimmer | 450 |
| Impact Wrench | 500 |
| Iron | 1200 |
| *Jet Pump | 800 |
| Lawn Mower | 1200 |
| Light Bulb | 100 |
| Microwave Oven 700 to 1000 | |
| *Milk cooler | 1100 |
| Oil Burner on Furnace | 300 |
| Oil Fired Space Heater (140,000 Btu) | 400 |
| Oil Fired Space Heater (85,000 Btu) | 225 |
| Oil Fired Space Heater (30,000 Btu) | 150 |
| *Paint Sprayer, Airless (1/3 HP) | 600 |
| Paint Sprayer, Airless (hand-held) | 150 |
| Radio | 50 to 200 |
| *Refrigerator | 700 |
| Slow Cooker | 200 |
| *Submersible Pump (1-1/2 HP) | 2800 |
| *Submersible Pump (1 HP) | 2000 |
| *Submersible Pump (1/2 HP) | 1500 |
| *Sump Pump 800 to 1050 | |
| *Table Saw (10") 1750 to 2000 | |
| Television 200 to 500 | |
| Toaster 1000 to 1650 | |
| Weed Trimmer 500 | |
| * Allow 3 times the listed watts for starting these devices. | |
Transporting/Tipping of the Unit
Do not operate, store or transport the unit at an angle greater than 15 degrees.

Starting Pull Start Engines

(000183)

- Unplug all electrical loads from the unit's receptacles before starting engine.
- Place generator on a level surface.
- See Figure 3-2. Open the fuel shut-off valve (A).

Figure 3-2.Fuel Shut-off Valve
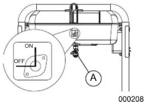
- Turn engine RUN/STOP/START switch to RUN/ON (manual start only). See Figure 2-2.
- Slide engine choke (C) to Full Choke position (left). See Figure 3-3.

Figure 3-3. Choke Position
- Firmly grasp recoil handle and pull slowly until increased resistance is felt. Pull rapidly up and away.
- When engine starts, move choke knob to 1/2-choke position until engine runs smoothly, then fully into RUN position. If engine falters, move choke back to 1/2-choke position until engine runs smoothly, then to RUN position.
NOTE: If engine fires, but does not continue to run, move choke lever to Full Choke and repeat starting instructions.
IMPORTANT NOTE: Do not overload the generator. Also, do not overload individual panel receptacles. These outlets are protected against overload with push-to-reset-type circuit breakers. If amperage rating of any circuit breaker is exceeded, that breaker opens and electrical output to that receptacle is lost. Read Know Generator Limits carefully.
Starting Electric Start Engines
CAUTION
Equipment and property damage. Disconnect electrical loads prior to starting or stopping unit. Failure to do so could result in equipment and property damage. (000136)
- Unplug all electrical loads from the unit's receptacles before starting the engine.
- Place generator on a level surface.
- Open the fuel shut-off valve. See Figure 3-2.
- Move engine choke knob outward to Full Choke. See Figure 3-3.
- Press and hold RUN/STOP/START switch in the START position. When engine starts, release the switch to the RUN position.
- When engine starts, move choke knob to 1/2 choke position until engine runs smoothly, then fully to RUN position. If engine falters, move choke knob back to 1/2 choke position until engine runs smoothly, then move to RUN position.
Manual Start
The generator is equipped with a manual recoil starter which may be used if the battery is discharged.
NOTE: The switch must be in the RUN/ON position. Use one of the generator's receptacle outlets along with the included battery charger to charge the battery while the generator is running.
To start manually:
- Firmly grasp the recoil handle and pull slowly until increased resistance is felt.
- Pull rapidly up and away to start engine.
- Follow the same choke sequence.
NOTE: If engine fires, but does not continue to run, move choke lever to Full Choke and repeat starting instructions.
IMPORTANT NOTE: Do not overload generator or individual panel receptacles. These outlets are overload protected with push-to-reset circuit breakers. If amperage rating of any circuit breaker is exceeded, that breaker opens and electrical output to that receptacle is lost. Read Know Generator Limits carefully.
Generator Shut Down
CAUTION
Equipment and property damage. Disconnect electrical loads prior to starting or stopping unit.
Failure to do so could result in equipment and property damage.
(000136)
- Shut off all loads and unplug electrical loads from generator panel receptacles.
- Let engine run at no-load for several minutes to stabilize internal temperatures of engine and generator.
- Move Run/Stop switch to Stop.
- Close fuel valve.
NOTE: Under normal conditions, close fuel valve and allow generator to run carburetor bowl out of fuel. For emergencies, switch to Stop.
Low Oil Level Shutdown System
The engine is equipped with a low oil level sensor to shut down the engine automatically when the oil level drops below a specified level. The engine will not run until the oil has been filled to the proper level.
IMPORTANT NOTE: Verify proper engine oil and fuel levels before use.
Charging the Battery (electric start units only)

WARNING
Explosion. Batteries emit explosive gases while charging. Keep fire and spark away. Wear protective gear when working with batteries. Failure to do so could result in death or serious injury.
(000137a)

WARNING
Risk of burns. Batteries contain sulfuric acid and can cause severe chemical burns. Wear protective gear when working with batteries. Failure to do so could result in death or serious injury.
(000138a)
NOTE: The battery shipped with the generator has been fully charged. A battery may lose some of its charge when not in use for prolonged periods of time. If the battery is unable to crank the engine, plug in the 12V charger included in the accessory box. RUNNING THE GENERATOR DOES NOT CHARGE THE BATTERY.
Use battery charger plug to keep the battery charged and ready for use. Battery charging should be done in a dry location.
- Plug charger into Battery Charger Input jack, located on the control panel. See Figure 3-4. Plug wall receptacle end of battery charger into 120 Volt AC wall outlet.
- Unplug battery charger from wall outlet and control panel jack when generator is to be in use.
BATTERY

Figure 3-4. Battery Charger Input Jack
CHARGER
INPUT
000423
WARNING
Environmental Hazard. Always recycle batteries at an official recycling center in accordance with all local laws and regulations. Failure to do so could result in environmental damage, death, or serious injury. (0002)
Section 4 Maintenance and Troubleshooting
Maintenance
Regular maintenance will improve performance and extend engine/equipment life. Generac Power Systems, Inc. recommends that all maintenance work be performed by an Independent Authorized Service Dealer (IASD). Regular maintenance, replacement, or repair of the emissions control devices and systems may be performed by any repair shop or person of the owner's choosing. To obtain emissions control warranty service free of charge, the work must be performed by an IASD. See the emissions warranty.
NOTE: Call 1-888-GENERAC (1-888-436-3722) with questions about component replacement.
Maintenance Schedule
Follow maintenance schedule intervals, whichever occurs first according to use.
NOTE: Adverse conditions will require more frequent service.
NOTE: Go to Generac.com or contact an IASD for replacement parts.
NOTE: All required service and adjustments should be each season as detailed in the following chart.
| At Each Use |
| Check engine oil level |
| Every 100 Hours or Every Year* |
| Change oil ‡ |
| Inspect/clean spark arrester |
| Every Year |
| Replace Spark Plug |
| Check Valve Clearance*** |
| Every 200 Hours or Every Year |
| Inspect/clean air cleaner filter** |
| € Change oil after first 30 hours of operation, then every season. * Change oil and oil filter every month when operating under heavy load or in high temperatures. ** Clean more often under dirty or dusty operating conditions. Replace air filter parts if they cannot be adequately cleaned. *** Check valve clearance and adjust if necessary after first 50 hours of operation and every 300 hours thereafter. |
Preventive Maintenance
Dirt or debris can cause improper operation and equipment damage. Clean generator daily or before each use. Keep area around and behind muffler free from combustible debris. Inspect all cooling air openings on generator.
WARNING
Personal injury. Do not insert any object through the air cooling slots. Generator can start at any time and could result in death, serious injury, and unit damage.
(000142a)
- Use a damp cloth to wipe exterior surfaces clean.
- Use a soft bristle brush to loosen caked on dirt, oil, etc.
- Use a vacuum to pick up loose dirt and debris.
- Low pressure air (not to exceed 25 psi) may be used to blow away dirt. Inspect cooling air slots and openings on generator. These openings must be kept clean and unobstructed.
NOTE: DO NOT use a garden hose to clean generator. Water can enter engine fuel system and cause problems. If water enters generator through cooling air slots, some water will be retained in voids and crevices of rotor and stator winding insulation. Water and dirt buildup on generator internal windings will decrease insulation resistance of windings.
Engine Maintenance
AWARNING
Accidental start-up. Disconnect spark plug wires when working on unit. Failure to do so could result in death or serious injury.
(000141)
Engine Oil Recommendations
To maintain the product warranty, the engine oil should be serviced in accordance with the recommendations of this manual. For your convenience, maintenance kits designed and intended for use on this product are available from the manufacturer that include engine oil, oil filter, air filter, spark plug(s), a shop towel and funnel. These kits can be obtained from an Independent Authorized Service Dealer (IASD).

000399
Inspect Engine Oil Level

AWARNING
Risk of burns. Allow engine to cool before draining oil or coolant. Failure to do so could result in death or serious injury.
(000139)
Inspect engine oil level prior to each use, or every 8 hours of operation.
- Place generator on a level surface.
- Clean area around oil fill.
- See Figure 4-1. Remove oil fill cap/dipstick and wipe dipstick clean.

Figure 4-1. Engine Oil Fill
000115
- Screw dipstick into filler neck. Oil level is checked with dipstick fully installed. Remove dipstick and verify oil level is within safe operating range. See Figure 4-2.

000116
Figure 4-2. Safe Operating Range
- Add recommended engine oil as necessary.
- Install oil fill cap/dipstick and hand-tighten.
NOTE: Some units have more than one oil fill location. It is only necessary to use one oil fill point.
Change Engine Oil
WARNING
Accidental start-up. Disconnect spark plug wires when working on unit. Failure to do so could result in death or serious injury.
(000141)
When using generator under extreme, dirty, dusty conditions, or in extremely hot weather, change oil more frequently.
NOTE: Don't pollute. Conserve resources. Return used oil to collection centers.
Change oil while engine is still warm from running, as follows:
- Place generator on a level surface.
- Disconnect the spark plug wire from the spark plug and place the wire where it cannot contact spark plug.
- Clean area around oil fill, and oil drain plug.
- Remove oil fill cap/dipstick.
- Remove oil drain plug and drain oil completely into a suitable container.
- Install oil drain plug and tighten securely.
- Add recommended engine oil as necessary. See Add Engine Oil.
- Install oil fill cap/dipstick and hand-tighten.
- Wipe up any spilled oil.
- Properly dispose of oil in accordance with all applicable regulations.
Air Filter
Engine will not run properly and may be damaged if run with a dirty air filter. Service air filter more frequently in dirty or dusty conditions. To service air filter:
- See Figure 4-3. Turn knob (A) and remove air filter cover.
- Wash in soapy water. Squeeze filter dry in clean cloth (DO NOT TWIST).
- Clean air filter cover before re-installing it. NOTE: To order a new air filter, contact the nearest authorized service center at 1-888-GENERAC (1-888-436-3722).

Figure 4-3. Air Filter Assembly
Service Spark Plug
To service spark plug:
- Clean area around spark plug.
- Remove and inspect spark plug.
- Inspect electrode gap with feeler gauge and reset spark plug gap to 0.028 - 0.031 in (0.70 - 0.80 mm). See Figure 4-4.

Figure 4-4. Spark Plug
NOTE: Replace spark plug if electrodes are pitted, burned or porcelain is cracked. Use ONLY recommended replacement plug. See Specifications.
4. Install spark plug finger tight, and tighten an additional 3/8 to 1/2 turn using spark plug wrench.
Battery Replacement (if applicable)
NOTE: The battery shipped with the generator has been fully charged. A battery may lose some charge when not in use for prolonged periods of time. If battery is unable to crank engine, plug in the 12V charger included in the accessory box (see the Charging a Battery section).
IMPORTANT NOTE: Running the generator does not charge battery.
AWARNING
Accidental Start-up. Disconnect the negative battery cable, then the positive battery cable when working on unit. Failure to do so could result in death or serious injury. (000130)
See Figure 4-5.
- Disconnect negative (-) battery terminal FIRST (black wire).
- Disconnect positive (+) battery terminal SECOND (red wire).

000224
Figure 4-5. Battery Connection
- Install new battery. Install hold down strap on both hooks.
- Connect positive (+) battery terminal (red wire) FIRST (red wire). Slide rubber boot over connection hardware.
- Connect negative (-) battery terminal (black wire) SECOND.
- Slide rubber boot over connection hardware.
WARNING
Environmental Hazard. Always recycle batteries at an official recycling center in accordance with all local laws and regulations. Failure to do so could result in environmental damage, death, or serious injury. (000228)
Inspect Muffler and Spark Arrester
NOTE: It is a violation of California Public Resource Code, Section 4442, to use or operate the engine on any forest-covered, brush-covered, or grass-covered land unless the exhaust system is equipped with a spark arrester, as defined in Section 4442, maintained in effective working order. Other states or federal jurisdictions may have similar laws.
Contact original equipment manufacturer, retailer, or dealer to obtain a spark arrester designed for exhaust system installed on this engine.
NOTE: Use ONLY original equipment replacement parts.
Inspect muffler for cracks, corrosion, or other damage. Remove spark arrester, if equipped, inspect for damage or carbon blockage. Replace parts as required.
Inspect Spark Arrester Screen

WARNING
Hot Surfaces. When operating machine, do not touch hot surfaces. Keep machine away from combustibles during use. Hot surfaces could result in severe burns or fire. (000108)
- Loosen clamp (A) and remove screw. See Figure 4-6.
- Inspect screen (B) and replace if torn, perforated or otherwise damaged. If screen is not damaged, clean with commercial solvent.
- Replace spark arrester cone (C) and screen (B). Secure with clamp and screw.

Figure 4-6. Spark Arrestor Screen
Valve Clearance
Important: Please contact an Independent Authorized Service Dealer for service assistance. Proper valve clearance is essential for prolonging the life of the engine.
Check valve clearance after the first fifty-hours of operation. Adjust as necessary.
- Intake — 0.15 ± 0.02mm (cold), (0.006" ± 0.001" inches)
- Exhaust — 0.20 ± 0.02mm (cold) (0.008" ± 0.001" inches)
Storage
General

DANGER
Explosion and Fire. Fuel and vapors are extremely flammable and explosive. Store fuel in a well ventilated area. Keep fire and spark away. Failure to do so will result in death or serious injury.
(000143)

WARNING
Risk of Fire. Verify machine has properly cooled before installing cover and storing machine. Hot surfaces could result in fire.
(000109)
It is recommended to start and run the generator for 30 minutes, every 30 days. If this is not possible, refer to the following list to prepare unit for storage.
- DO NOT place a storage cover on a hot generator. Allow unit to cool to room temperature before storage.
DO NOT store fuel from one season to another unless properly treated. - Replace fuel container if rust is present. Rust in fuel will cause fuel system problems.
- Cover unit with a suitable protective, moisture resistant cover.
- Store unit in a clean and dry area.
- Always store generator and fuel away from heat and ignition sources.
Prepare Fuel System for Storage
Fuel stored over 30 days can go bad and damage fuel system components. Keep fuel fresh, use fuel stabilizer.
If fuel stabilizer is added to fuel system, prepare and run engine for long term storage. Run engine for 10-15 minutes to circulate stabilizer throughout fuel system. Adequately prepared fuel can be stored up to 24 months.
NOTE: If fuel has not been treated with fuel stabilizer, it must be drained into an approved container. Run engine until it stops from lack of fuel. Use of fuel stabilizer in fuel storage container is recommended to keep fuel fresh.
- Change engine oil.
- Remove spark plug.
- Pour tablespoon (5-10cc) of clean engine oil or spray a suitable fogging agent into cylinder.

WARNING
Vision Loss. Eye protection is required to avoid spray from spark plug hole when cranking engine. Failure to do so could result in vision loss. (00)
(000181)
- Pull starter recoil several times to distribute oil in cylinder.
- Install spark plug.
- Pull recoil slowly until resistance is felt. This will close valves so moisture cannot enter engine cylinder. Gently release recoil.
Change Oil
Change engine oil before storage. See Change Engine Oil.
Troubleshooting
| PROBLEM CAUSE CORRECTION | ||
| Engine is running, but AC output is not available. | 1. Circuit breaker OPEN. 2. Poor connection or defective cord set. 3. Connected device is bad. 4. Fault in generator. 5. GFCI receptacle is OPEN (if equipped). | 1. Reset circuit breaker. 2. Check and repair. 3. Connect another device that is in good condition. 4. Contact IASD. 5. Correct ground fault and press reset button on GFCI receptacle (if equipped). |
| Engine runs well at no-load, but bogs when load is applied. | 1. Short circuit in a connected load. 2. Generator is overloaded. 3. Engine speed is too slow. 4. Shorted generator circuit. 5. Clogged spark arrester. | 1. Disconnect shorted electrical load. 2. Reduce load (see Know Generator Limits). 3. Contact IASD. 4. Contact IASD. 5. Clean spark arrester screen. |
| Engine will not start; or starts and runs rough. | 1. Fuel shut-off is OFF. 2. Dirty air filter. 3. Out of fuel. 4. Stale fuel. 5. Spark plug wire not connected to spark plug. 6. Bad spark plug. 7. Water in fuel. 8. Overchoking. 9. Low oil level. 10. Excessive rich fuel mixture. 11. Intake valve stuck open or closed. 12. Engine lost compression. | 1. Turn fuel shut-off ON. 2. Clean or replace air filter. 3. Fill fuel tank. 4. Drain fuel tank and fill with fresh fuel. 5. Connect wire to spark plug. 6. Replace spark plug. 7. Drain fuel tank and fill with fresh fuel. 8. Set choke to no choke position. 9. Fill crankcase to correct level. 10. Contact IASD. 11. Contact IASD. 12. Contact IASD. |
| Engine shuts down during operation. | 1. Out of fuel. 2. Low oil level. 3. Fault in engine. 4. COsense shut-off due to accumulating carbon monoxide if a red light blinks on the side panel badge. 5. COsense shut-off due to a system fault if a yellow light blinks on the side panel badge. | 1. Fill fuel tank. 2. Fill crankcase to correct level. 3. Contact IASD. 4. Follow all safety instructions and relocate generator to an open area outside, far away from windows, doors and vents. 5. Start to confirm yellow light blinks when/if generator shuts-off. If COsense continues to fault and shut-off, contact IASD. |
| Engine lacks power. 1. Generator is overloaded. 2. Dirty air filter. 3. Engine needs to be serviced. 4. Clogged spark arrester. | 1. Reduce load (see Know Generator Limits). 2. Clean or replace air filter. 3. Contact IASD. 4. Clean spark arrester screen. | |
| Engine surges or stumbles. | 1. Choke is opened too soon. 2. Carburetor is running too rich or too lean. | 1. Set choke to halfway position until engine runs smoothly. 2. Contact IASD. |
| Engine starts and shuts off right away. | 1. COsense shut-off due to accumulating carbon monoxide if a red light blinks on the side panel badge. 2. COsense shut-off due to a system fault if a yellow light blinks on the side panel badge. | 1. Follow all safety instructions and relocate generator to an open area outside, far away from windows, doors and vents. 2. Start to confirm yellow light blinks when/if generator shuts-off. If COsense continues to fault and shut-off, contact IASD. |
Wiring Diagram

010106
Notes
Part No. 10000029705 Rev. C 09/04/2020
©2020 Generac Power Systems, Inc.
All rights reserved
Specifications are subject to change without notice.
No reproduction allowed in any form without prior
written consent from Generac Power Systems, Inc.
GENERAC
Generac Power Systems, Inc.
S45 W29290 Hwy. 59
Waukesha, WI 53189
1-888-GENERAC (1-888-436-3722)
wwwgenerac.com
Generador portátil Serie GP
Manual del usuario

MODELO:
SERIE:
FECHA DE COMPRA:

ADVERTENCIA
©2020 Generac Power Systems, Inc.
Hearing protection recommended.
PRECAUCION
Protection auditive recommende.
000406
©2020 Generac Power Systems, Inc.
EasyManual