G0076750 - Générateur Generac - Notice d'utilisation et mode d'emploi gratuit
Retrouvez gratuitement la notice de l'appareil G0076750 Generac au format PDF.
| Caractéristiques techniques | Générateur portable, puissance de 7500 watts, moteur à essence, démarrage électrique, réservoir de 20 litres. |
|---|---|
| Utilisation | Idéal pour les chantiers, les événements extérieurs, et comme source d'alimentation de secours pour les maisons. |
| Maintenance et réparation | Vérifier l'huile régulièrement, nettoyer le filtre à air, et effectuer un entretien annuel recommandé. |
| Sécurité | Utiliser à l'extérieur pour éviter l'accumulation de monoxyde de carbone, ne pas surcharger le générateur. |
| Informations générales | Garantie limitée de 2 ans, poids de 90 kg, dimensions compactes pour un transport facile. |
FOIRE AUX QUESTIONS - G0076750 Generac
Questions des utilisateurs sur G0076750 Generac
0 question sur cet appareil. Repondez a celles que vous connaissez ou posez la votre.
Poser une nouvelle question sur cet appareil
Téléchargez la notice de votre Générateur au format PDF gratuitement ! Retrouvez votre notice G0076750 - Generac et reprennez votre appareil électronique en main. Sur cette page sont publiés tous les documents nécessaires à l'utilisation de votre appareil G0076750 de la marque Generac.
MODE D'EMPLOI G0076750 Generac
Utilisier un générate a l'interieur PEUT VOUS TIER EN QUELQUES MINUTES.
Les gaz d'échévement du générateur contienement du monoxide de carbone. C'est un gaz toxique invisible et inodore.
- NE JAMAIS utilisier à l'intérieur d'une maison ou d'un garage, MÉME SI les portes et les fenôtres sont ouvertes.
Utiliser UNIQUEMENT à l'EXTERIEUR et loin des fenêtes, portes et ventilations.
▲ PELIGRO
Générateur portatif GP
Manuel du propriété

MODELE:
N° DE SÉRIE :
DATE D'ACHAT:

AVERTISSEMENT
Danger de mort. Ce produit ne doit pas etre utilise dans une application critique de support de vie. Le non-respect de cet avertissement peut entrainer la mort ou des blessures graves.
(000209b)
Enregistrez votre produit Generac sur notre site Internet ou par téléphone :
WWW.GENERAC.COM
1-888-GENERAC
(1-888-436-3722)
BC
CONSERVER CE MANUEL POUR
RÉFÉRENCE ULTÉRIEURE
Section 1 Introduction et règles de sécurité 1
Introduction 1
Règles de sécurité 1
Signification des symboles de sécurité 1
Risques associés à l'échéppement et à l'emplacement 2
Risques electriques 3
Risques d'incendie 3
Index des normes 3
Remplacement desétiquettes de danger 4
Section 2 Informations generales et installation 5
Connaître son générateur 6
Emissions 6
Horometre 7
Fiches de raccordement 7
COsense® 8
Retrait des pieces du colis 9
Assemblage 10
Raccordement des cables de la batterie (démarrage électrique uniquement) 11
Ajout d'huile moteur 11
Carburant 11
Section 3 Fonctionnement 13
Questions relatives au fonctionnement 13
Avant de demarrer le moteur 13
Preparation du générateur à l'utilisation 13
Mise à la terre du générateur portatif 13
Connaître les limites de la généatrice 14
Transport/Inclinaison de l'appareil 15
Demarrage des moteurs à demarrage manuel 15
Demarrage des moteurs à demarrage électrique 16
Système d'arrêt en cas de faisible niveau d'huile 17
Chargement de la batterie (appareils à démarrage électrique uniquement) 17
Section 4 Maintenance et dépannage 18
Entretien 18
Calendrier de maintenance 18
Maintenance préventive 18
Maintenance du moteur 19
Remplacement de la batterie (le cas échéant) 20
Inspection du silencieux et du pare-étincelles 21
Jeudesoupapes 21
Entreposage 22
Dépannage 23
Scheme de câblage 25
AVERTISSEMENT
CANCER ET EFFET NOCIF SUR LA REPRODUCTION
www.P65Warnings.ca.gov. (000393a)
Section 1 Introduction et règles de sécurité
Introduction
Veiller à dire attentivement ce manuel

AVERTISSEMENT
Consultez le manuel. Lisez complètement le manuel et assurez-vous d'en comprendre le contentu avant d'utiliser l'appareil. Une mauvaise comprehension du manuel ou de l'appareil consigne pourrait entraîner la mort ou des blessures graves. (000100a)
Si une quelconque partie de ce manuel n'est pas comprise, adresser toute question ou préoccupation à l'IASD (Independent Authorized Service Dealer, fournisseur des services d'entretien/agree indépendant) le plus proche ou au Service après-venture Generac au 1-888-436-3722 (1-888-GENERAC) ou visiter wwwgenerac.com concernant les procédures de démarrage, d'exploitation et d'entretien. Le propre est responsable du bon entretien et de la sécurité d'utilisation de l'appareil.
CONSERVER CE MANUEL pour toute consultation ultérieure. Leprésent manuel contient des instructions importantes qui doivent être respectées durant le placement, le fonctionnement et l'entretien de l'appareil et de ses composants. Toujourns fournir ce manuel à toute personne devant utiliser cet apparéil et l'instruire sur la façon correcte de démarrer, faire fonctionner et arrêtier l' apparéil en cas d'urgence.
Les informations contenues dans ce manuel dérivent avec exactitude les produits fabriqués au moment de la publication du manuel. Le fabricant se reserve le droit de proceder à des mises à jour techniques, à des corrections et à des révisions des produits à tout moment et sans préavis.
Règles de sécurité
Le fabricant ne peut pas prévoir toutes les circonstances possibles susceptibles d'impliquer un danger. Les averissements fournis dans ce manuel, ainsi que sur les étiquettes et autocollants apposés sur l'appareil, ne sont pas exhaustifs. Si vous recourez à une Procedure, méthode de travail ou technique d'exploitation qui n'est pas spécifique recommendée par le fabricant, assurez-vous qu'elle est sure pour autrui et n'entrave pas la sécurité de fonctionnement du générateur.
Tout au long de ce manuel, ainsi que sur les étiquettes et autocollants apposés sur l'appareil, des encadrés DANGER, AVERTISSEMENT, MISE EN GARDE et REMARQUE sont utilisés pour alerter le personnel d'instructions d'utilisation spéciales
dont le non-respect peut s'avérer dangereux. Respectez scrupuleusement ces instructions. La signification des différentes mentions d'alerte est la suivante :
DANGER
Indique une situation dangereuse qui, si elle n'est pas évitee, entrainera la mort ou des blessures graves.
(000001)
A VERTISSEMENT
Indique une situation dangereuse qui, si elle n'est pas évitée, pourrait entrainer la mort ou des blessures graves.
(000002)
AMISE EN GARDE
Indique une situation dangereuse qui, si elle n'est pas évitée, pourrait entrainer des blessures légères ou moyennenement graves.
(000003)
REMARQUE: Les remarques fournissant des informations complémentaires importantes sur une opération ou une Procedure. Elles sont intégrées au texte ordinaire du manuel.
Ces alertes de sécurité ne sauraient à elles seules éliminer les dangers qu'elles signalent. Afin d'éviter les accidents, il est fondamental de faire preuve de bon sens et de respecter strictement les instructions spéciales dans le cadre de l'utilisation et de la maintenance de l'appareil.
Signification des symboles de sécurité

000657

DANGER
Asphyxie. Le moteur en marche produit du monoxyde de carbone, un gaz inodore, incolore et toxique. Le monoxyde de carbone, s'il n'est pas évité, entraînera la mort ou des blessures graves.
(000103)
- Si vous commencez à vous sentir mal, ou affaibli, ou à avoir des vertiges après avoir fait fonctionner le générateur, sortez IMMEDIATEMENT à l'air libre. Consultez un médecin, car il se peut que vous soyez victime d'une intoxication au monoxyde de carbone.

DANGER
Risques d'asphyxie. Le système d'échémpement doit être correctement entrenu. N'apportez aucune modification au système d'échémpement, vous risqueriez de la rendre dangereux ou non conforme aux codes et/ou normes applicables au niveau local. Le non-respect de cette consigne provoquerait des blessures graves, voiré mortelles. (000179b)

DANGER
Décharge électrique. Le contact de l'eau avec une source d'alimentation, s'il n'est pas évité, entrainera la mort ou des blessures graves.
(000104)

DANGER
Décharge électrique. Coupez l'alimentation du réseau public et du générateur avant de connecter les cables d'alimentation et les lignes de charge. Le non-respect de cette consigne entrainera la mort ou des blessures graves. (000)
AVERTISSEMENT
Dommages à l'équipement et aux biens. Ne modifies pas la construction ni l'installation du générateur et ne bloquez pas la ventilation. Le non-respect de cette consigne pourrait endommager le générateur ou le rendre dangereux.
(000146)

A VERTISSEMENT
Asphyxie. Toujours utiliser à l'intérieur une alarme à monoxyde de carbone fonctionnant sur pile, installée selon les instructions du fabricant. Sinon, cela pourrait entraîner la mort ou des blessures graves.
(000178a)

AVERTISSEMENT
Dommages à l'équipment et aux biens. Ne faites pas fonctionner l'apparil sur des surfaces inégales ou dans des zones où il serait exposé à une humidité excessive, à de la poussière ou à des vapeurs corrosives. Le non-respect de cette consigne pourrait entrainer la mort ou des blessures graves, ainsi que des dommages aux biens et à l'équipment.
(000250)

A VERTISSEMENT
Pièces mobiles. Gardez les vêtements, les cheveux et les accessoires loin des pièces mobiles. Le non-respect de cette consigne pourrait entrainer la mort ou des blessures graves.
(000111)

AVERTISSEMENT
Surfaces chaudes. Lorsque vous utilisez l'appareil, ne ouche pas aux surfaces chaudes. Gardez l'appareil oin des matieres aux combustibles lorsqu'il fonctionne. Le contact avec des surfaces chaudes pourrait entrainer des brûlures graves ou un incendie. (000108)
AVERTISSEMENT
Risques de blessure. Attention à ne jamais introduire d'objets via les fentes de refroidissement. Le générateur peut démarrer à tout moment, et ainsi provoquer des blessures sérieues, voiré mortelles, et endommager considérablement l'appareil. (000142a)
AVERTISSEMENT
Risque de blessures. Il faut être parfaitement vigilant pour utiliser ce apparéil et en faire l'entretien. Lafatigue peut nuiré à VOYRE CAPACITE à entrenir cet équipement et pourrait entraîner la mort ou des blessures graves.
(000215)
AVERTISSEMENT
Blessures et dommages à l'équipment. N'utilise pas le générateur en guise de marchepied. Cela peut entrainer une chute, des dommages de pieces, un fonctionnement non fiable du matériel et un danger de mort ou de blessures graves. (0002)
CAUTION
Pour des raisons de sécurité, il est recommandé de confier les opérations de maintenance de cet équipement à un IASD. Inspectez régulièrement le générateur, et si des pieces doivent être réparées ou remplacées, communiquez avec votre IASD le plus proche.
Risques associés à l'échéppement et à l'emplacement

DANGER
Asphyxie. Le moteur en marche produit du monoxyde de carbone, un gaz inodore, incolore et toxique. Le monoxyde de carbone, s'il n'est pas evite, entrainera la mort ou des blessures graves.
(000103)

DANGER
Risques d'asphyxie. Le système d'échémpement doit être correctement entretenu. N'apportez aucune modification au système d'échémpement, vous risqueriez de le rendre dangereux ou non conforme aux codes et/ou normes applicables au niveau local. Le non-respect de cette consigne provoquerait des blessures graves, voiré mortelles. (0001798)

AVERTISSEMENT
Asphyxie. Toujours utiliser à l'intérieur une alarmé à monoxyde de carbone fonctionnant sur pile, installée selon les instructions du fabricant. Sinon, cela pourrait entraîner la mort ou des blessures graves.
(000178a)
AVERTISSEMENT
Dommages à l'équipement et aux biens. Ne modifies pas la construction ni l'installation du générateur et ne bloquez pas la ventilation. Le non-respect de cette consigne pourrait endommager le générateur ou le rendre dangereux.
(000146)
- Si vous commencez à vous sentir mal, ou affaibli, ou à avoir des vertiges après avoir fait fonctionner le générateur, sortez IMMEDIATEMENT à l'air libre. Consultez un médecin, car il se peut que vous soyez victe d'une intoxication au monoxyde de carbone.
N'utilisez JAMAIS le générateur dans une piece partiellement fermée, comme les garages. - Les générateurs doivent être TOUJOURS utilisés en extérieur, à l'écart des fenêtres, portes, évents, vides sanitaires, et dans des zones suffisamment ventilées et ne représentant aucun risque d'accumulation de gaz d'échéppement mortels.
- Orientez le silencieux d'échévement à l'écart des personnes et des batiments occupés.
- L'utilisation d'un ventilateur ou l'ouverture des portes ne garantit pas une ventilation suffisante.
Risques electriques

DANGER
Décharge électric. Tout contact avec des fil nus, des bornes ou des branchements pendant que le générateur fonctionne causeira la mort ou des blessures graves. (00014)
(000144)

DANGER
Décharge électrique. Le contact de l'eau avec une source d'alimentation, s'il n'est pas évité, entraînera la mort ou des blessures graves.
(000104)
Le National Electric Code (NEC) des États-Unis exige que le chassis et toutes les pieces conducrices externes du générateur soient correctement raccordés à une prise de terre approuvée. Les codes électriques locaux peuvent également exiger une mise à la terre appropriée du générateur. Consultez unElectricien local pour connaître les exigences de mise à la terre propre à votre région.
- Si l'appareil est installé dans une zone humide ou à haute conductivité (terrasse en métal ou structures en acier), installez un disjoncteur différentiel de fuite à la terre (DDFT).

DANGER
Décharge électriche. En cas d'accident électriche, COUPEZ immeditément l'alimentation. Utilisez des outils non conducteurs pour libérer la victme du conducteur sous tension. Administrez-lui les premiers soins et allez chercher de l'aide醫療ale. Le non-respect de cette consigne entrainera la mort ou des blessures graves.
(000145)
- ÀpRES avoir démarre le générateur à l'extérieur du batiment, raccordez les charges électriques à la/aux rallonge(s) à l'intérieur du batiment.
Risques d'incendie

ADANGER
Explosion et incendie. Le carburant et ses vapeurs sont extrémement inflammables et exposifs. Ajoutez du carburant dans un endroit bien aéré. Gardez l'appareil loin du feu et des étincelles. Le non-respect de cette consigne entrainera la mort ou des blessures graves. (000105)
(000105)

DANGER
Risque d'explosion et d'incendie. Ne remplissez jamais le réservoir de carburant de façon excessive. Laissez un espace d'un demi-pouce par rapport au haut du réservoir pour assurer laonnexpansion du carburant. Tout remplissage excessif risque de provoquer des déversements de carburant, avec un risque de formation d'incendie ou d'explosion, et de blessesSERIEES,voire mortelles. (000166b)

DANGER
Risque d'incendie. Laissez les déversements d'essence sécher complètement avant de démarrer le moteur. Le non-respect de cette consigne entrainera la mort ou des blessures graves.
(000174)

AVENTISSEMENT
Risques de blessure. Attention à ne jamais introduire d'objets via les fentes de refroidissement. Le générateur peut démarrer à tout moment, et ainsi provoquer des blessures sérieues, voir mortelles, et endommager considérablement l'appareil. (000142a)
Veillez a respecter un dégagement d'au moins 5 pieds (1,5 m) de chaque cote du générateur lorsqu'il est en fonctionnement, afin d'eviter les risques de surchauffe et d'incendie.
- N'utilisez enaucun cas le générateur si vous observez une surchauffe des apparéils électriques qui y sont raccordés, une perte de la puissance électrique, l'apparition d'étinçelles au niveau du moteur ou du générateur, ou encore de flammes ou de fumée lorsque l'équipment est en fonctionnement.
- Conservez en permanence un extincteur à proximé du générateur.
Index des normes
- National Fire Protection Association (NFPA) 70 : NATIONAL ELECTRIC CODE (NEC) des Etats-Unis, consultable sur www.nfpa.org
- National Fire Protection Association (NFPA) 5000 : BUILDING CONSTRUCTION AND SAFETY CODE des États-Unis, consultable sur www.nfpa.org
- International Building Code, consultable sur www.iccsafe.org
- Agricultural Wiring Handbook, consultable sur www.ERC.org, ou auprès du Rural Electricity Resource Council, P.O. Box 309 Wilmington, OH 45177-0309 (Etats-Unis)
-
ASAE EP-364.2, Installation and Maintenance of Farm Standby Electric Power, consultable sur www.asabe.org, ou auprès de l'American Society of Agricultural & Biological Engineers, 2950 Niles Road, St. Joseph, MI 49085, Etats-Unis
-
CSA C22.2 100-14 - Installation et utilisation des moteurs et générateurs électriques, conformément aux dispositions du code canadien de l'électricité
- ANSI/PGMA G300 - Safety and Performance of Portable Generators (Sécurité et performances des générateurs portatifs) Portable Generator Manufacturer's Association, www.pgmaonline.com
REMARQUE IMPORTANTE: Cette liste n'est pas exhaustive. Pour connaître les codes et normes locaux applicables, renseignez-vous auprès des autorités compétentes.
Remplacement des étiquettes de danger
Si vous nevez remplacer les étiquettes de danger, Generac propose les étiquettes de rechange suivantes:
0 H 0 1 1 5 D



- 0H8251B (autocollant DANGER vertical)

- 0H4635C

10000033027 (étiquette d'action de l'utilisateur pour l'orientation de l'échévement)

Section 2 Informations generales et installation


Figure 2-1. Fonctions et commandes
Composants du générateur
1 Prise double 120 V c.a. 20 A, DDFT (NEMA 5-20R)
2 Prise verrouillable 120/240 VCA, 30 A Prise (type NEMA L14-30R)
3 Disjoncteurs (CA)
4 Vidange d'huile
5 Filtrà air
6 Bouton de l'etrangleur
7 Reservoir de carburant
8 Cosse de mise à la terre
9 Interrupteur Demarrage/Marche/Arret (le cas échéant)
10 Silencieux
11 Poignée
12 Bouchon d'essence
13 Jauge de carburant
14 Remplissage/Contrôle du niveau d'huile
15Lanceurà rappel
16 Robinet d'arrêt de carburant
17 Horometre
18 Raccordement du chargeur de batterie (le cas échéant)
19 Emplacement de la batterie (le cas échéant)
20 Pare-étincelles
21 Indicateur rouge COsense (danger) (le cas échéant)
22 Indicateur jaune COsense (panne) (le cas échéant)
23Commandede ralenti(le cas échéant)

Figure 2-2. Panneau de commande (démarrage électrique et commande de ralenti) (le cas échéant)

Figure 2-3. Étiquette d'identification du produit
006618
Connaître son générateur

AVERTISSEMENT
Consultez le manuel. Lisez complètement le manuel et assurez-vous d'en comprendre le contenu avant d'utiliser l'appareil. Une mauvaise comprhension du manuel ou de l'appareil consigne pourrait entrainer la mort ou des blessures graves. (000100a)
Vous pouvez vous procurer des exemplaires de remplacement du manuel du propriétaire sur wwwgenerac.com.
\section*{Caracteristiques techniques du produit}
| Caracteristique techniques du groupe electrogène | GP6500 / GP6500E GP8000E | |
| Puisance nominale avec un facteur de puissance de 1,0 | 6,5 kW** 8,0 kW** | |
| Montée en puissance 8,125 KVA 10,0 KVA | ||
| Tension CA nominale 120/240 | ||
| Charge c.a. nominale Intensité à 240 V**Intensité à 120 V** | 27,154,2 | 33,366,6 |
| Fréquence nominale | 60 Hz à 3 600 tr/min | |
| Phase Monophasé | ||
| Poids (à sec)Livres (lb)Kilogrammes (kg) | 174,8-18679,3-84,4 | 197,189,4 |
| ** Plage de températures de fonctionnement : 0 °F (-18 °C) à 104 °F (40 °C). Un fonctionnement à plus de 77 °F (25 °C) risquérait de réduire la puissance.** La puissance et l'intensité maximes dépendent de, et sont limitées par, des facteurs tels que la capacité en BTU, la température ambiente, l'altitude, l'état du moteur, etc. La puissance maximale diminue d'environ 3,5 % tous les 1 000 pieds (304,8 mètres) au-dessus du niveau de la mer, et diminue d'environ 1 % tous les 10 °F (6 °C) au-dessus de 60 °F (16 °C) de température ambiente. | ||
| Caracteristique techniques du moteur de 6,5kW | ||
| Cylindrée 389 cc | ||
| Réf. des bougies d'allumage 0J00620106 | ||
| Type de bougies d'allumage Bosch F7TC ou équivalent | ||
| Écartement des bougies d'allumage | 0,028-0,031 po (0,70-0,80 mm) | |
| Contenance en essence | 7,9 gal (29,9 L) | |
| Type d'huile | Voir le tableau situé à la section Ajout d'huile moteur | |
| Contenance en huile | 1,06 qt (1,0 L) | |
| Durée de fonctionnement à 50 % de charge | 11,5 heures | |
Émissions
L'United States Environmental Protection Agency (US EPA) (et le California Air Resource Board [CARB] pour le matériel certifié aux normes de Californie) exige que ce moteur/matériel soit conforme aux normes sur les émissions d'échéppement et par evaporation. Voir l'autocollant de conformité antipollution sur le moteur pour déterminer les normes applicables. Voir les informations de garantie sur le système antipollution dans la garantie sur les émissions jointe. Respecter les exigences d'entretien figurant dans ce manuel pour s'assurer que le moteur reste conforme aux normes sur les émissions en vigueur pendant la durée de service du produit.
\section*{Caracteristiques techniques du produit}
| Caracteristique techniques du moteur de 8,0kW | |
| Cylindrée 420 cc | |
| Réf. des bougies d'allumage 0J00620106 | |
| Type de bougies d'allumage Bosch F7TC ou équivalent | |
| Écartement des bougies d'allumage 0,028-0,031 po (0,70-0,80 mm) | |
| Contenance en essence 7,9 gal (29,9 L) | |
| Type d'huile | Voir le tableau situé à la section Ajout d'huile moteur |
| Contenance en huile 1,06 qt (1,0 L) | |
| Durée de fonctionnement à 50 % de charge 10 heures | |
| * Pour obtenir des pieces de rechange, rendez-vous sur wwwgenerac.com ou contactez un IASD. | |
Horomètre
L'horomètre comptabilise les heures de fonctionnement afin que l'opérateur sache quand effectuer les opérations de maintenance planifiée. Voir Figure 2-4.
- Le message CHG OIL s'allumera toutes les 100 heures. Le message clignotera une heures avant et une heures après chaque intervalle de 100 heures, laissant ainsi deux heures pour proceder à la maintenance.
- Le message SVC s'allumera toutes les 100 heures. Le message clignotera une heures avant et une heures après chaque intervalle de 200 heures, laissant ainsi deux heures pour proceder à la maintenance.
Lorsque l'horomètre clignote en mode d'alerte, le message relatif à la maintenance alterne avec la durée écoulée en heures et en dixiemes d'heure. Les heures clignotent quatre fois, puis le message relatif à la maintenance clignote quatre fois, et ce cycle se repetez jusqu'à la réinitialisation automatique de l'horomètre.
100 heures - CHG OIL — Intervalle de remplacement de l'huile (toutes les 100 heures)
- 200 heures - SVC — Entretien du filtré à air (toutes les 200 heures)
REMARQUE: L'icone représentant un sablier clignote lorsquè le moteur fonctionne. Cela signifie que l'horomètre enregistre les heures de fonctionnement.

Figure 2-4. Horometre
Fiches de raccordement
Prise double DDFT 120 V CA, 20 A
La prise 120 V est protégée contre les surcharges par un disjoncteur à réarmement par bouton-poussoir de 20 A. Voir Figure 2-5. Chaque prise alimentée des charges monophasées 120 V c.a., 60 Hz nécessitant une puissance maximale de 2400 W (2,4 kW) ou un courant de 20 A. Utilisez exclusivement des cordons à 3 fils de grande qualité, bien isolés, mis à la terre et d'une tension nominale de 125 V à 20 A. La protection est renforcée par un disjoncteur différentiel de fuite à la terre, et par un bouton TEST et RESET (RéINITIALISATION).
Figure 2-5. Prise double 120 VCA, 20 A, DDFT NEMA 5-20R

000203
Prise 120/240 V CA, 30 A
Utilisez une fiche NEMA L14-30 avec cette prise (tounez pour verrouiller/déverrouiller). Raccordez un cordon à 4 fils adapté mis à la terre à la fiche et à la charge souhaitation. Le cordon doit avoir une tension nominale de 250 VCA à 30 A (ou plus). Voir Figure 2-6. Utilisez cette prise pour alimenter des charges monophasées de 120 V CA, 60 Hz nécessitant une puissance maximale de 3 600 W (3,6 kW) à 30 A ou des charges monophasées de 240 V CA, 60 Hz nécessitant une puissance maximale de 7 200 W (7,2 kW) à 30 A. La prise est protégée un disjoncteur bipolaire de 30 A.

000204
Figure 2-6. Prise 120/240 VCA, 30 A NEMA L14-30R
COsense®
Système de détction de monoxyde de carbone (CO) et de mise à l'arrêt (sur certains modèles)
Le module COsense surveille l'accumulation de CO gazeux present dans l'échévement du moteur durant la marche de la généatrice. Si COsense detecte une augmentation des niveaux de CO gazeux, il coupe immédiatement le moteur. COsense fonctionne uniquement lorsque le moteur est en marche. Les génératrices sont destinées à être utilisées à l'extérieur, loin des batiments occupés et leur échéancement dirigé à l'écart des personnes et des batiments. Toutefois, en cas d'emploi détourné ou d'utilisation dans un endroit entrainant une accumulation de CO, comme à l'intérieur ou dans un espace partiellement fermé, COsense arrête le moteur, avertit l'utiliseur de la situation et invite celui-ci à dire l'étiquette d'action pour connaître les mesures à prendre. Voir Figure 2-7. COsense ne remplace pas une alarme à monoxyde de carbone interieure.
Voir Figure 2-8. Àpres un arrêt, un voyant ROUGE clignotant dans l'insigne COsenseitué sur le côte de la généatrice indique que la généatrice s'est arrêtée en raison d'une accumulation de CO. Levoyant ROUGE clignote pendant au moins cinq minutes après un arrêt causé par le CO. Déplacer la généatrice dans un endroit extérieur dégagé et diriger l'échéppement à l'écart des personnes et des batiments occupés. Une fois placée dans un endroit sécurité, la généatrice peut être redémarrée et les raccordements électriques nécessaires peuvent être effectuels pour fournir l'alimentation électrique. Levoyant ROUGE cette de clignoter automatiquement au redémarrage du moteur. Faire entre de l'air frais et aérer le local où la généatrice a subi l'arrêt automatique.
Voir Figure 2-8. Si le système COsense a subi une defaillance et n'assure plus de protection, la généatrice s'arrête automatiquement et un voyant JAUNE clignote pendant au moins cinq minutes dans l'insigne COsense pour informer l'utilisateur de la defaillance. Le module COsense ne peut être diagnostique et réparé que par un technicien compétent chez le revendeur. La généatrice peut être redémarrée mais continuera de s'arreter.
COsense détecte aussi l'accumulation de monoxyde de carbone issu d'autres sources de combustion de carburant telles que les outils à moteur thermique ou les apparèils de chauffage au propane situés dans la zone d'utilisation. Par exemple, si une autre généatrice est utilisée et que son échéappement est pointé vers une généatrice équipée de COsense, ce dernier peut provoquer un arrêt en raison de niveaux croissants de CO. Il ne s'agit pas d'une erreur. Du monoxyde de carbone dangereux a été détecté. L'utilisateur doit prendre les mesures nécessaires pour déplacer et rediriger ces apparèils de façon à mistrés dissiper le monoxyde de carbone et l'éloigner des personnes et des bâtiments occupés.

Figure 2-7. Étiquette d'action avec instructions

Figure 2-8. Écussion avec instructions
Retrait des pieces du colis
- Ouvrez complètement le carton en découpant chaque coin de haut en bas.
- Retirez les pieces du carton et inspectez-les avant de proceder à l'assemblage. Le colis doit containir les pieces suivantes:
Accessoires
| Article Qté | |
| Unité principale 1 | |
| Manuel du propriétaire 1 | |
| Huile SAE (litre) 30 1 | |
| Montage de la poignée (A) | 1 |
| Roue anti-degonflement (B) | 2 |
| Pieds du châssis (C) 2 | |
| Carte d'enregistrement du produit | 3 |
| Garantie relative à l'entretien | 1 |
| Garantie relative aux émissions | 1 |
| Cordon d'alimentation de 25 pieds (762 cm) (le cas échéant) | 1 |
| Chargeur de batterie (modèles à démarrage électrique) | 1 |
| Sachet de pieces de quincaillerie | Q'té ensemble A | Q'té ensemble B |
| Pieds en caoutchouc (D) | 20 | |
| Goupille d'essieu, 1/2 po (E) | 2 | 2 |
| Goupille fendue (F) 2 2 | ||
| Rondelle plate 1/2 po (G) | 2 | 2 |
| Écrou hexagonal à embase M6 (H) | 2 | 0 |
| Écrou hexagonal à embase M8 (H) | 6 | 6 |
| Boulon M8 (Long) (K) 6 6 | ||
| Boulon M6 (Long) (L) 2 0 | ||
| Rondelle plate en nylon M8 (M) | 4 | 4 |
REMARQUE: Le générateur est fourni avec un seul (1) sachet de pieces de quincaillerie : l'ensemble A ou B.
- Si certaines pieces sont absentes du colis, contactez le Service client de Generac au 1-888-GENERAC (1-888-436-3722) en vous munissant du nom du modele et du numero de série de l'appareil.
- Consignez le nom du modele, le numero de série et la date d'achat sur la page de garde de ce manuel.
Assemblage

AVERTISSEMENT
Consultez le manuel. Lisez complètement le manuel et assurez-vous d'en comprendre le contenu avant d'utiliser l'appareil. Une mauvaise comprhension du manuel ou de l'appareil consigne pourrait entrainer la mort ou des blessures graves. (000100a)
Si vous rencontres des problèmes lors de l'assemblage, contactez le Service client de Generac au 1-888-GENERAC (1-888-436-3722). Veiliez à vous munir du numéro du modèle et du numéro de série. Pour installer les accessoires, vous aurez besoin des outils suivants:
Pince à bec effilé
Clé à cliquet
Douille de 8 mm
Douille de 12 mm
Douille de 13 mm
Clé de 10 mm
Clé de 13 mm
Clé de 8 mm (2) (démarrage electriqu uniquely)
REMARQUE : Les roues ne sont pas destinées à un usage sur route.
Voir Figure 2-9.
Installes les roues comme suit :
- Faites coulisser la goupille d'essieu (E) dans la roue (B), dans le support de roues du chassis, et dans la rondelle plate de 1/2 po (G).
- Insérez la goupille fendue (F) à travers la goupille d'essieu (E). Pour bloquer les goupilles fendues en place, pliez leurs languettes vers l'extérieur.
Installez les pieds du chassin et les butées en caoutchouc comme suit :
- Faites coulissez les boulons à tête hexagonale (L) dans la butée en caoutchouc (D), puis dans le pied du chassin (C) (s'ils ne sont pas pré-assemblés).
- Faite coulissez les boulons à tête hexagonale (K) dans les trous du longeron du chàssis.
- Faites coulisser le pied du chassin (C) sur les boulons à tete hexagonale (K). Installez les écrous de blocage à embase (J).

Figure 2-9. Montage des roues et du chassin
Voir Figure 2-10.
Installez la poignee comme suit :
- Faites coulisser les boulons longs (K) dans le support de poignée et dans la poignée (A). Installez les écrous hexagonaux (J).

Figure 2-10. Montage de la poignée
Raccordement des cables de la batterie (démarrage électrique uniquement)
L'appareil est expédé avec les cables de batterie débranchés.
Pour les brancher, vous aurez besoin de deux clés polygonales de 8 mm. Voir Figure 4-5.
- Coupez les attaches retenant les cables de batterie et retirez le couvercle rouge des bornes de la batterie.
- Commencez par raccarder les cables rouges à la borne positive (+) de la batterie à l'aide du boulon et de l'écrou fournis.
- Assurez-vous que les raccords sont bien fixés et faites glisser la gaine en caoutchouc par-dessus la borne positive (+) de la batterie et les fixations.
- Raccordez ensuite les cables noirs à la borne négative (-) de la batterie à l'aide du boulon et de l'écrou fournis. Faites glissez la gaine en caoutchouc par-dessus la borne négative (-) de la batterie et les fixations.
- Assurez-vous que tous les raccords sont bien fixés.
REMARQUE: Si la batterie ne parvient pas à démarrer le moteur, chargez-la à l'aide du chargeur de 12 V fourni dans la boîte d'accessoires (voir la section Chargement de la batterie (appareils à démarrage électrique uniquement) pour plus de détails).
Ajout d'huile moteur

MISE EN GARDE
Dommages au moteur. Vérifiez que le type et la quantité de l'huile à moteur sont adéquats avant de démarrer le moteur. Le non-respect de cette consigne pourrait cause des dommages au moteur. (000135)
- Placez le générateur sur une surface de niveau.
- Verifiez que la zone de replissage d'huile est propre.
- Retirez le bouchon de replissage d'huile et essuyez la jauge. Voir Figure 2-11.

Figure 2-11. Retrait de la jauge
000115
- Ajoutez l'huile moteur recommandaee, comme indiquedans le tableau suivant.
REMARQUE : Utilisez de l'huile à base de petrole (fournie) pendant le rodage, puis de l'huile synthetique par la suite.

REMARQUE: Certains apparèils possèdent plusieurs orifices de replissage d'huile. Il n'est pas nécessaire d'utiliser plus d'un point de replissage.
- Vissez laJAuge dans le col de remplissage d'huile. Contrôlez le niveau d'huile une fois laJAuge bien en place au fond du réservoir.
- Voir Figure 2-12. Retirez la jauge et vérifie que le niveau d'huile se situe dans la plage de fonctionnement sur.

Figure 2-12. Plage de fonctionnement sur
000116
- Placez le bouchon de replissage d'huile / la jauge et serrez manuellement.
Carburant

ADANGER
Explosion et incendie. Le carburant et ses vapeurs sont extrémente inflammables et explosifs. Ajoutez du carburant dans un endroit bien aere. Gardez l'appareil loin du feu et des etincelles. Le non-respect de cette consigne entrainera la mort ou des blessures graves. (000105)

AVERTISSEMENT
Injection de liquide. Cette machine produit des flux de liquide a haute pression qui peuvent percer la peau. L'injection de liquide peut provoquer des blessures graves, voir mortelles.
(000106b)
Les specifications relatives au carburant sont les suivantes :
Essence propre sans plomb.
- Indice d'octane minimum de 87 / 87 AKI (91 RON).
Teneur en ethanol (essence-alcool) admissible jusqu'à 10% (lorsque possible, un carburant premium sans ethanol est recommandé).
N'TUTILISEZ PAS de carburant E85.
N'UTILISEZ PAS de mélange d'huile et d'essence.
- NE MODIFIEZ PAS le moteur pour le faire fonctionner avec d'autres carburants. Stabilisez le niveau de carburant avant d'entreposer le générateur.
1. Vérifiez que l'appareil est en position ARRET et laissez-le refroidir pendant au moins deux minutes avant de faire le plein de carburant.
2. Placez l'appareil de niveau dans une zone bien ventilée.
3. Nettoyez la zone environnant le bouchon du réservoir de carburant et retirez-le lentement.
4. Ajoutez lentement le carburant recommandé (A). Ne replisssez pas à ras bord (B). Voir Figure 2-13.
5. Remettez le bouchon du réservoir de carburant en place.
Figure 2-13. Ajout du carburant recommé

REMARQUE: Avant de démarrer l'appareil, laissez le carburant déversé hors du réservoir s'évaporer.
REMARQUE IMPORTANTE: Il est important d'empêcher la formation de dépôts degomme dans les pieces du circuit de carburant telles que le carburateur,le tuyau de carburant et le réservoir durant l'entreposage.Les carburants a base d'alcool (appelés essence-alcohol, ethanol ou methanol) peuvent attirer I'humidité,ce qui entraîne une séparation et la formation d'acides durant I'entreposage.Les gaz acides peuvent endommager le circuit de carburant d'un moteur entreprises.Afin d'eviter tout problème de moteur,le circuit de carburant doit être vidé avant tout entreposage de plus de 30 jours.Voir la section Entreposage.N'utilise jamais de produits nettoyants pour moteur ou carburateur dans le réservoir de carburant; cela risquerait de cause des dommages permanents.
Section 3 Fonctionnement
Questions relatives au fonctionnement
Si vous avez des questions concernant l'utilisation et l'entretien de l'équipement, contactez le Service client de Generac au 1-888-GENERAC (1-888-436-3722).
Avant de démarrer le moteur
- Vérifiez que le niveau d'huile moteur est correct.
- Verifiez que le niveau de carburant est correct.
- Verifiez que l'appareil est installé à niveau dans une zone bien ventilée, et que l'accès à l'appareil est correctement dégagé.
Préparation du générateur à l'utilisation

DANGER
Asphyxie. Le moteur en marche produit du monoxyde de carbone, un gaz inodore, incolore et toxique. Le monoxyde de carbone, s'il n'est pas évité, entraînera la mort ou des blessures graves. (000103)

A VERTISSEMENT
Asphyxie. Toujours utiliser à l'intérieur une alarme à monoxyde de carbone fonctionnant sur pile, instalée selon les instructions du fabricant. Sinon, cela pourrait entrainer la mort ou des blessures graves.
(000178a)

DANGER
Risques d'asphyxie. Le système d'échémpement doit être correctement entreten. N'apportez aucune modification au système d'échémpement, vous risqueriez de le rendre dangereux ou non conforme aux codes et/ou normes applicables au niveau local. Le non-respect de cette consigne provoquérait des blessures graves, voire mortelles. (000179)

A VERTISSEMENT
Risque d'incendie. N'utilise pas le générate sans le pare-etincelles. Le non-respect de cette consigne pourrait entraîner la mort ou des blessures graves.
(000118a)

A VERTISSEMENT
Risque d'incendie. Les surfaces chaudes peuvent enflammer des matériaux combustibles, ce qui pourrait causeur un incendie. Un incendie pourrait entrainer la mort ou des blessures graves. (000110)
AVERTISSEMENT

Surfaces chaudes. Lorsque vous utilisez l'appareil, ne touche pas aux surfaces chaudes. Gardez l'appareil loin des materiaux combustibles lorsqu'il fonctionne. Le contact avec des surfaces chaudes pourrait entrainer des brûlures graves ou un incendie. (000108)
AMISE EN GARDE
Dommages à l'équipement et aux biens. Débranchez les charges électriques avant de démarrer ou d'arrête l'appareil. Le non-respect de cette consigne pourrait causer des dommages à l'équipement et aux biens. (000136)
Mise à la terre du générateur portatif
Voir Figure 3-1. Le générateur portatif est équipé d'une borne permettant d'y raccarder un conducteur d'électrode de mise à la terre sur site, lorsqu'un système d'électrodes de mise à la terre est requis par l'article 250.34 (A) du NEC. Les bornes du conducteur de mise à la terre de l'équipement, sur les prises du générateur, sont connectées au chassin du générateur. Si le générateur alimente des équipements raccordés par cordon et fiche, par exemple des outils électriques, le NEC ne prévoit pas que le chassin du générateur soit nécessairement raccardé à une electrode de mise à la terre sur site. Le conducteur de neutre du générateur est connecté au chassin du générateur, conformément à l'article 250.34 (A) du NEC.
NEUTRE MIs A LA MASSE A LA CARCASSE DU MOTEUR
IL Y A UN CONDUCTEUR PERMANENT ENTRE LA GÉNÉRATRICE (ENROULEMENT DU STATOR) ET LE CADRE
Voir Figure 3-1. Lorsque le générateur est raccordé à un commutateur de transfert manuel, ce dernier doit également commuter le neutre en cas de transfert (commutateur tripolaire) afin d'être conforme au NEC. Afin de garantir la bonne mise à la terre du générateur, Il est nécessaire de brancher une électrode de mise à la terre au chassis du générateur. Le fil de terre branché depuis le chassis/la borne du générateur à une électrode de mise à la terre sur site doit être d'un courant permanent admissible égal ou supérieur à celui du conducteur le plus grand utilisé dans le générateur. Les commutateurs de transfert manuels et les kits Generac HomeLink respectent ce critère, leur utilisation est donc recommendée.

000227
Figure 3-1. Mise à la terre du générateur
Exigences speciales
Passez en revue toutes les reglementations de l'Occupational Safety and Health Administration (OSHA), ainsi que tous les codes et ordonnances applicables à l'utilisation prévu du générateur.
Consultez un électricien qualifié, un inspecteur en électricité ou l'organisme local compétent :
- Dans certaines régions, les générateurs doivent être enregistrés auprès des compagnies d'électricité locales.
- Si le générateur est utilisé sur un site de construction, des réglementations supplémentaires peuvent s'imposer.
Raccordement du générateur au reseau electrique d'un batiment
Il est recommandé d'utiliser un commutateur de transfert manuel pour le branchement direct à un circuit électrique du batiment afin d'empêcher tout retard dangereux et éviter les accidents de travail sur les lignes electrolyques.
Lors du raccordement d'un générateur portatif à un circuit électrique du batiment, il est nécessaire dinstaller un commutateur de transfert de façon à ce que l'énergie du générateur soit isolée en permanence de l'alimentation secteur. Le non-respect de cette consigne risque de provoquer une situation dangereuse. L'installation doit être réalisée dans le respect parfait de tous les codes et lois ELECTriques nationaux et locaux, et doit être confiée à un electricien qualifié.
Connaître les limites de la généatrice
La surcharge d'une généatrice peut endommager la généatrice et les appareils électriques raccordés. Pour éviter les surcharges, respecter ce qui suit :
- Additionner les puissances (en watts) de toutes les charges électriques à raccorder en même temps. Le total NE doit PAS être supérieur à la puissance nominale de la généatrice.
La puissance nominale des ampoules d'éclairage figure sur les ampoules. La
puissance des outils, appeareils et moteurs se trouve sur la plaque ou l'étiquette signalétique apposée sur ceux-ci.
- Si l'information de puissance n'est pas fournie, multiplier la tension par le courant nominal (volts x ampères = watts).
-
Certains moteurs électriques, comme les moteurs à induction, demandant environ trois fois plus de puissance au démarrage qu'en régime permanent. Cet appel de puissance ne dure que quelques secondes durant le démarrage de ces moteurs. Assurez-vous d'allouer une puissance de démarrage suffisante pour les apparciels à faire fonctionner sur la généatrice.
-
Calculer la puissance nécessaire pour faire demarrer le plus gros moteur.
- Ajouter cette valeur à la puissance de marche de toutes les autres charges raccordées.
Le Guide de referencia des puissances est fourni pour vous aider à déterminer le nombre d'appareils pouvant être alimentés en même temps par la généatrice.
REMARQUE : Toutes les données sont approximatives. Voir la puissance consommée sur l'étiquette signalétique des appareils.
Guide de referencia des puissances
| Appareil Puissance | de marche |
| *Conditionnéur d'air (12 000 BTU) 1700 | |
| *Conditionnéur d'air (24 000 BTU) 3800 | |
| *Conditionnéur d'air (40 000 BTU) 6000 | |
| Chargeur de batterie (20 A) 500 | |
| Ponceuse à couroie (3 po) 1000 | |
| Scie à chaîne 1200 | |
| Scie circulaire (7-1/4 po) 1250 à 1400 | |
| *Séchuse de linge (électrique) 5750 | |
| *Séchuse de linge (gaz) 700 | |
| *Laveuse de linge 1150 | |
| Cafetière électrique | 1750 |
| *Compresseur (1 HP) | 2000 |
| *Compresseur (3/4 HP) | 1800 |
| *Compresseur (1/2 HP) | 1400 |
| Fer à frisser | 700 |
| *Déshumidificateur | 650 |
| Ponceuse à disque (9 po) | 1200 |
| Coupe-bordure | 500 |
| Couverture électrique | 400 |
| Pistolet clouceur électrique | 1200 |
| Cuisinière électrique (par élément) | 1500 |
| Poèle électrique | 1250 |
| *Congélateur 700 | |
| *Ventilateur de chaudière (3/5 HP) 875 | |
| *Ouvre-porte de garage 500 à 750 | |
| Sèche-cheveux 1200 | |
| Perceuse à main 250 à 1100 | |
| Taille-haie 450 | |
| Clé à chocs 500 | |
| Fer à repasser 1200 | |
| *Pompe à jet | 800 |
| Tondeuse à gazon | 1200 |
| Ampoule d'éclairage | 100 |
| Four à micro-ondes | 700 à 1000 |
| *Refroidisseur de lait | 1100 |
| Brûleur à Mazout de chaudière | 300 |
| Radiateur autonome au Mazout (140 000 BTU) | 400 |
| Radiateur autonome au Mazout (85 000 BTU) | 225 |
| Radiateur autonome au Mazout (30 000 BTU) | 150 |
| *Pulvérisateur de peinture sans air (1/3 HP) | 600 |
| Pulvérisateur de peinture sans air (manuel) | 150 |
| Radio | 50 à 200 |
| *Réfrigérateur | 700 |
| Mijoteuse | 200 |
| *Pompe submersible (1-1/2 HP) | 2800 |
| *Pompe submersible (1 HP) | 2000 |
| *Pompe submersible (1/2 HP) | 1500 |
| *Pompe deuisard | 800 à 1050 |
| *Banc de scie (10 po) | 1750 à 2000 |
| Téléviseur | 200 à 500 |
| Grille-pain | 1000 à 1650 |
| Coupe-bordure | 500 |
| *Compter trois fois la puissance indiquée pour le démarrage de ces apparils. | |
Transport/Inclinaison de l'ordinateil
Ne faites pas fonctionner, n'entreposez pas et ne transportez pas l'appareil incliné à un angle de plus de 15^ .

Démarrage des moteurs à démarrage manuel


- Avant de démarrer le moteur, débranchez toutes les charges électriques des prises de l'appareil.
- Placez le générateur sur une surface de niveau.
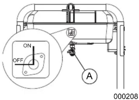
- Voir Figure 3-2. Ouvrez le robinet d'arrêt de carburant (A).

Figure 3-2. Robinet d'arrêt de carburant
- Réglez
Démarrage/Marche/arrêt du moteur sur Marche (démarrage manuel uniquement). Voir Figure 2-2. - Faites glisser le bouton de l'extrangleur (C) en position Etranglement max. (gauche). Voir Figure 3-3.

Figure 3-3. Position du bouton de I'etrangleur
- Saisissez fermement la poignee du lanceur a rappel et tirez lentement jusqu'à dessentir une résistance accrue. Tirez rapidement la poignee vers le haut à l'écart du lanceur.
- Lorsque le moteur démarre, placez le bouton de l'étrangleur en position 1/2 jusqu'à ce que le moteur tourne sans à-coups, puis en position Marche. Si le moteur hésite, replacez le bouton de l'étrangleur en position 1/2 jusqu'à ce que le moteur tourne sans à-coups, puis en position Marche.
REMARQUE: Si le moteur se lance, mais ne continue pas à tourner, placez le levier d'étrangleur en position Etranglement max., puis renouvelez la procédure de démarrage.
REMARQUE IMPORTANTE: Ne surchargez pas le générateur. Ne surchargez pas non plus les prises individuelles du panneau. Ces prises sont protégées contre les surcharges par des disjoncteurs à réarmement par bouton-poussoir. En cas de dépassement de l'intensité nominale de l'un des disjoncteurs, celui-ci s'ouvre pour couper l'alimentation électrique de la prise associée. Lisez attentivement la section Connaître les limites de la généatrice.
Démarrage des moteurs à démarrage électrique
AMISE EN GARDE
Dommages à l'équipement et aux biens. Débranchez les charges électriques avant de démarrer ou d'arrête l'appareil. Le non-respect de cette consigne pourrait causer des dommages à l'équipement et aux biens. (000136)
- Avant de démarrer le moteur, débranchez toutes les charges électriques des prises de l'appareil.
- Placez le générateur sur une surface de niveau.
- Ouvrez le robinet d'arrêt de carburant. Voir Figure 3-2.
-
Tirez le bouton de l'extrangleur vers l'extérieur jusqu'à la position Etranglement max. Voir Figure 3-3.
-
Reglez l'interrupteur MARCHE/ARRET/ DEMARRAGE en position DEMARRAGE. Au demarrage du moteur, relâchez l'interrupteur en position MARCHE.
- Lorsque le moteur démarre, placez le bouton de l'étrangleur en position 1/2 étranglement jusqu'à ce que le moteur tourne sans à-coups, puis en position MARCHE. Si le moteur hesite, replacez le bouton d'étrangleur en position 1/2 étranglement jusqu'à ce que le moteur tourne sans à-coups, puis en position MARCHE.
Demarrage manuel
Le générateur est équipé d'un lanceur à rappel manuel, qui permet de démarrer le moteur lorsque la batterie est déchargée.
REMARQUE: L'interrupteur doit se couver en position MARCHE. Utilisez l'une des prises du générateur avec le chargeur de batterie fourni pour charger la batterie pendant que le générateur fonctionne.
Pour effectuer un démarrage manuel :
- Saisissez fermement la poignee du lanceur a rappel et tirez lentement jusqu'à dessentir une résistance accrue.
- Tirez rapidement la poignee vers vous pour demarrer le moteur.
- Suivez la même procédure avec le bouton de l'étrangleur.
REMARQUE: Si le moteur se lance, mais ne continue pas à tourner, placez le levier d'étrangleur en position Etranglement max., puis renouvelez la procédure de démarrage.
REMARQUE IMPORTANTE: Ne surchargez pas le générateur ou les prises individuelles du panneau. Ces prises sont protégées contre les surcharges par des disjoncteurs à réarmement par bouton-poussoir. En cas de dépassement de l'intensité nominale de l'un des disjoncteurs, celui-ci s'ouvre pour couper l'alimentation électrique de la prise associée. Lisez attentivement la section Connaître les limites de la généatrice.
Arrêt du générateur
MISE EN GARDE
Dommages à l'équipement et aux biens. Débranchez les charges électriques avant de démarrer ou d'arrêté l'appareil. Le non-respect de cette consigne pourrait causer des dommages à l'équipement et aux biens.
(000136)
- Coupez toutes les charges et débranchezles des prises du panneau du générateur.
- Laissez le moteur tourné sans charges pendant quelques minutes pour stabiliser les températures internes du moteur et du générateur.
- Placez l'interrupteur Marche/Arrêt en position Arrêt.
- Fermez le robinet de carburant.
REMARQUE: En conditions normales, fermez le robinet de carburant et laissez le générateur faire tourner la cuve du carburateur sans carburant. En cas d'urgence, placez l'interrupteur sur en position Arrêt.
Système d'arrêt en cas de faible niveau d'huile
Le moteur est équipé d'un capteur de faisible niveau d'huile concu pour couper automatiquement le moteur lorsque le niveau d'huile chute en dessous d'un niveau spécifique. Tant que le réservoir d'huile ne sera pas rempli au niveau approprié, le moteur ne fonctionnera pas.
REMARQUE IMPORTANTE : Vérifiez les niveaux d'huile moteur et de carburant avant toute utilisation.
Chargement de la batterie (appareils à démarrage électrique uniquement)

AVERTISSEMENT
Risque d'explosion. Les batteries émettent des gaz explosifs pendants qu'elles se changent. Gardez-le loin du feu et des étincelles. Portez de l'équipment de protection quand vous travailliez avec des batteries. Le non-respect de cette consigne pourrait entrainer la mort ou des blessures graves.
(000137a)

AVERTISSEMENT
Risque de brûlures. Les batteries contiennent de l'acid sulfurique et peuvent causeer des brûlures chimiques sévres. Porter des équipements de protection pour travailler avec des batteries. Le non-respect de cette consigne pourrait entrainer la mort ou des blessures graves.
(000138a)
REMARQUE: L'appareil est expédé avec la batterie complètement chargée. Lorsqu'une batterie n'est pas utilisée pendant une période prolongée, elle peut se décharger partiellement. Si la batterie ne parvient pas à démarrer le moteur, branchez le chargeur de 12 V fourni dans la boîte d'accessoires. FAIRE FONCTIONNER LE GÉNÉRATEUR NE CHARGE PAS LA BATTERIE.
Utilisez la prise du chargeur de batterie pourmaintenir la batterie chargée et prete àl'emploi. Les batteries doivent toujoursetre recharges dans un endroit sec.
- Branchez le chargeur sur le connecteur d'entrée du chargeur de batterie, situé sur le panneau de commande. Voir Figure 3-4. Branchez l'autre extrémité de la prise du chargeur de batterie à une prise murale de 120 V CA.
- Si vous doivent utiliser le générateur, débranchez le chargeur de batterie de la prise murale et du connecteur du panneau de commande.
BATTERY

Figure 3-4. Connecteur d'entrée du chargeur de batterie
CHARGER INPUT
000423
A VERTISSEMENT
Risque environnemental. Recyclez toujours les batteries dans un centre de recyclage officiel, conformément aux lois et aux reglementations locales. Le non-respect de cette consigne pourrait cause des dommages à l'environnement, la mort ou des blessures graves. (p0)
Section 4 Maintenance et dépannage
Entretien
Un entretien régulier permet d'améliorer les performances et de prolonger la durée de vie du moteur/de l'équipement. Generac Power Systems, Inc. préconise que tous les travaux d'entretien soient menés par un IASD (Independent Authorized Service Dealer, fournisseur de services d'entretien/agréé indépendant). Pour l'entretien régulier, le remplacement ou la réparation des apparèils et des systèmes de contrôle des émissions, le propriétaire peut faire appel à la personne ou à l'atelier de réparation de son choix. Toutefois, pour obtenir un service de garantie relatif au contrôle des émissions sans frais, cette tâche doit être confiée à un IASD. Consultez la garantie en matière d'émissions.
REMARQUE: Pour toute question relative au remplacement des composants, contactez le Service client de Generac au 1-888-GENERAC (1-888-436-3722).
Calendrier de maintenance
Respectez les intervalles de maintenance, en tenant toujours compte de la première occurrence selon l'utilisation.
REMARQUE : Des conditions difficiles imposant des opérations de maintenance plus fréquentes.
REMARQUE: Pour obtenir des pieces de rechange, rendez-vous sur wwwgenerac.com ou contactez un IASD.
REMARQUE : Les différents régages et réparations requis doivent être effectués chaque saisson comme détaillé dans le tableau suivant.
| À chaque utilisation |
| Vérification du niveau d'huile moteur |
| Toutes les 100 heures ou chaque année* |
| Remplacement de l'huile ‡ |
| Inspection/Nettoyage du pare-étincelles |
| Chaque année |
| Remplacement de la bougie d'allumage |
| Vérification du jeu de soupapes*** |
| Toutes les 200 heures ou à chaque saison |
| Inspection/nettoyage du filtrre à air** |
| ‡ Changez l'huile au bout des 30 premières heures de fonctionnement, puis chaque saison par la suite.* Remplacez l'huile et le filtrre à huile chaque mois en cas de charge lourde ou de températures élevées. ** Nettoyez le filtré à air plus souvent en cas d'environnement sale ou poussièreux. Si les pièces du filtré à air ne peuvent pas être nettoyées correctement, remplacez-les. *** Contrôlez le jeu de soupapes et ajustez-le si nécessaire après les 50 premières heures de fonctionnement, puis toutes les 300 heures par la suite. |
Maintenance préventive
Des saletés ou des débris peuvent provoquer des dysfonctionnements et endommager l'équipement. Nettoyez le générateur quotidiennement ou avant chaque utilisation. Maintenez la zone environnant le silencieux libre de tout débris combustible. Inspectez toutes les fentes de refroidissement du générateur.
A VERTISSEMENT
Risques de blessure. Attention à ne jamais introduire d'objets via les fentes de refroidissement. Le générateur peut démarrer à tout moment, et ainsi provoquer des blessures sérieues, voir mortelles, et endommager considérablement l'appareil.
(000142a)
- Nettoyez les surfaces externes à l'aide d'un chiffon humide.
- Eliminez la crasse, les résidus d'huile, etc., à l'aide d'une brosse douce.
- Eliminez les saletés et les débris à l'aide d'un aspirateur.
- Vous pouvez utiliser de l'air à basse pression (25 psi max.) pour souffler les saletés. Inspectez toutes les fentes de refroidissement du générateur. Ces fentes doivent rester propres et dégagées.
REMARQUE: N'utilise JAMAIS un boyau d'arrosage pour nettoyer le générateur. De l'eau risquerait de pénétrer dans le circuit de carburant du moteur, provoquant ainsi des dysfonctionnements. En cas de pénétration d'eau dans le générateur par les fentes de refroidissement, une partie de cette eau se loge dans les creux et crevasses du rotor ainsi que dans l'isolement des enroulements du stator. L'accumulation d'eau et de saletés au niveau des enroulements internes du générateur peut réduire la résistance d'isolement des enroulements.
Maintenance du moteur
AVENTISSEMENT
Demarrage accidentel. Debranchez les cables de bougie lorsqu'you travailliez sur I'appareil. Le non-respect de cette consigne pourrait entrainer la mort ou des blessures graves.
(000141)
Recommendations relatives à l'huile moteur
Afin que la garantie du produit reste en vigueur, l'entretien de l'huile à moteur doit être fait conformément aux recommendations du present manuel. Pour un entretien facile, des trousse s'entretien conques pour cet apparéil sont offertes par le fabricant. Elles comprend ne d'huile à moteur, un filtre à huile, un filtre à air, des bougies d'allumage, un chiffon et un entonnoir. Ces trousse sont disponibles auprès d'un IASD.

000399
Inspection du niveau d'huile moteur

AVERTISSEMENT
Risque de brûlures. Laissez refroidir le moteur avant de vidanger l'huile ou le liquide de refroidissement. Le non-respect de cette consigne pourrait entrainer la mort ou des blessures graves.
(000139)
Inspectez le niveau d'huile moteur avant chaque utilisation ou toutes les 8 heures de fonctionnement.
- Placez le générateur sur une surface de niveau.
-
Nettoyez la zone de replissage d'huile.
-
Voir Figure 4-1. Retirez le bouchon de remplissage d'huile/la jauge et essuyez la jauge.

Figure 4-1. Plein d'huile moteur
- Vissez laJAuge dans le col de remplissage d'huile. Contrôlez le niveau d'huile une fois laJAuge bien en place au fond du réservoir. Retirez laJAuge et vérifie que le niveau d'huile se situe dans la plaque de fonctionnement sur.Voir Figure 4-2.

Figure 4-2. Plage de fonctionnement sur
000116
- Faites I'appoint en huile moteur en utilisant I'huile recommandée.
- Placez le bouchon de replissage d'huile / la jauge et serrez manuellement.
REMARQUE: Certains appareils possedent plusieurs orifices de replissage d'huile. Il n'est pas nécessaire d'utiliser plus d'un point de replissage.
Remplacement de l'huile moteur
AVERTISSEMENT
Demarrage accidentel. Debranchez les cables de bougie lorsque vous travailliez sur l'appareil. Le non-respect de cette consigne pourrait entraîner la mort ou des blessures graves.
(000141)
Si vous utilisez le générateur dans un environnement extrément contraignant, sale, poussiereux ou chaud, remplacez l'huile plus fréquemment.
REMARQUE: Évitez de polluer. Conservez les ressources. Jetez l'huile usagée dans un centre de collecte des déchets approprié.
Assurez-vous que le moteur est toujours chaud, puis changez l'huile selon la procédure suivante :
- Placez le générateur sur une surface de niveau.
- Debranche le fil de la bougie d'allumage et place-ile à l'ecart de cette-ci pour éviter tout contact.
- Nettoyez la zone de replissage d'huile et le bouchon de vidange d'huile.
- Retirez le bouchon de replissage d'huile / la jauge.
- Retirez le bouchon de vidange d'huile et purgeze la totalité de l'huile dans un bac adapté.
- Remettez le bouchon de vidange d'huile en place et serrez-le fermement.
- Faites l'appoint en huile moteur en utilisant l'huile recommandée. Voir Ajout d'huile moteur.
- Placez le bouchon de replissage d'huile / la jauge et serrez manuellement.
- Nettoyez toute trace d'huile deversée hors du réserveir.
- Mettez l'huile au rebut conformément à toutes les réglementations applicables.
Filtre à air
Si le filtré à air est sale, le moteur ne fonctionne pas correctement et risque d'être endommagé. Effectuez la maintenance du filtré à air plus souvent en cas d'environnement sale ou poussièux.
Pour proceder à la maintenance du filtré à air :
- Voir Figure 4-3. Tournez le bouton (A) et retirez le capot du filtre à air.
- Lavez le filtré à l'eau savonneuse. Essorez-le dans un chiffon propre, SANS LE TORDRE.
- Nettoyez le couvercle du filtre à air avant de le remetre en place.
REMARQUE: Pour commander un cadre à air neuf, communiquez avec l'IASD le plus proche en composant le 1-888-GENERAC (1-888-436-3722).

Figure 4-3. Filtre à air
000379
Entretien de la bougie d'allumage
Pour effectuer la maintenance de la bougie d'allumage :
- Nettoyez soigneusement la zone environnant la bougie d'allumage.
- Retirez et inspectez la bougie d'allumage.
- À l'aide d'une jauge d'épaisseurs, vérifie l'écartement des bougies d'allumage, et réajustez-le à une valeur de 0,028-0,031 po (0,7-0,8 mm). Voir Figure 4-4.

000211
Figure 4-4. Bougie
REMARQUE: Ne remplacez la bougie d'allumage que si les electrodes sont trouées ou brûlées, ou si la porcelainne est fissurée. Utilisez EXCLUSIVEMENT la bougie de rechange recommandaee. Voir les Caracteristiques techniques.
4. Serrez manuellement la bougie, puis serrez de 3/8 à 1/2 tour supplémentaire à l'aide d'une clé à bougies.
Remplacement de la batterie (le cas échéant)
REMARQUE: L'appareil est expédié avec la batterie complètement chargee. Si elle n'est pas utilisée pendant une période prolongée, une batterie peut se décharger partiellement. Si la batterie ne parvient pas à demarrer le moteur, branchez le chargeur de 12 V fourni dans la boîte d'accessoires (voir la section Charger une batterie).
REMARQUE IMPORTANTE : Faire fonctionner le générateur ne charge pas la batterie.

AVERTISSEMENT
Démarrage accidentel. Lorsque vous travailliez sur l'appareil, débranche le cable négatif de la batterie, puis le cable positif. Le non-respect de cette consigne pourrait entraîner la mort ou des blessures graves.
(000130)
Voir Figure 4-5.
- Debranchez D'ABORD la borne négative (-) (cable noir) de la batterie.
- Debranchez ENSUITE la borne positive (+) (cable rouge) de la batterie.

000224
Figure 4-5. Raccordement de la batterie
- Installez une batterie neue. Installez une sangle de maintainen sur les deux crochets.
- Raccordez D'ABORD la borne positive (+) (cable rouge) de la batterie. Faites glisser la gaine en caoutchouc par-dessus les fixations.
- Raccordez ENSUITE la borne négative (-) (cable noir) de la batterie.
- Faites glisser la gaine en caoutchouc pardessus les fixations.
AVERTISSEMENT
Risque environnemental. Recyclez toujours les batteries dans un centre de recyclage officiel, conformément aux lois et aux reglementations locales. Le non-respect de cette consigne pourrait cause des dommages à l'environnement, la mort ou des blessures graves. (00)
Inspection du silencieux et du pare-étincelles
REMARQUE: L'utilisation du moteur sur un terrain recouvert de ford, de broussailles ou d'herbe constitue une violation de l'article 4442 du California Public Resource Code, à moins que le système d'échéppement ne soit équipé d'un pare-étincelles entretenu en bon état de fonctionnement, comme définis dans leit article. Des lois similaires peuvent s'appliquer dans autres juridictions.
Pour vous procurer un pare-étincelles adapté au système d'évacuation de ce moteur, contactez le fabricant d'équipement d'origine, un revendeur ou un concessionnaire.
REMARQUE : Utilisez EXCLUSIVEMENT des pieces de rechange d'origine.
Inspectez le silencieux pour vérifier l'absence de fissures, de signes de corrosion ou d'autres dommages. Retirez le pare-etincelles (le cas échéant) et inspectez-le pour vérifier qu'il n'est pas endommage, ni obstrué par des dépôts de calamine. Remplacez les pieces endommagées.
Inspection de I'écran du pare-étincelles

Surfaces chaudes. Lorsque vous utilisez l'appareil, ne touche pas aux surfaces chaudes. Gardez l'appareil loin des materiaux combustibles lorsqu'il fonctionne. Le contact avec des surfaces chaudes pourrait entrainer des brûlures graves ou un incendie. (000108)
- Desserrez le collier de fixation (A) et retirez la vis. Voir Figure 4-6.
- Inspectez l'écran (B) et remplacez-le s'il est tordu, perforé ou endommagé. Si l'écran semble en bon état, nettoyez-le à l'aide d'un solvant disponible dans le commerce.
- Remettez le cone (C) et l'écran (B) du pare-étincelles en place. Fixez-les à l'aide de la vis et du collier de fixation.

Figure 4-6. Écran du pare-etincelles
Jeu de soupapes
IMPORTANT : Veuillez communiquer avec un fournisseur de services d'entretien agreé independant pour de l'assistance. Un jeu de soupape approprié est essentiel pour prolonger la durée de vie du moteur.
Contrôlez le jeu des soupapes après les 50 premières heures de fonctionnement. Ajustez-le si nécessaire.
- Admission — 0,006 po ±0,001 po (à froid), (0,15 ±0,02 mm)
- Echappement — 0,008 po ±0,001 po (à froid), (0,20 ±0,02 mm)
Entreposage
Généralités

DANGER
Explosion et incendie. Le carburant et ses vapeurs sont extrémement inflammables et exposifs. Entreposez le carburant dans un endroit bien aéré. Gardez-le loin du feu et des étil celles. Le non-respect de cette consigne entrainera la mort ou des blessures graves. (000)
(000143)

AVERTISSEMENT
Risque d'incendie. Vérifiez que l'apparéil a bien refroidi avant d'installer une protection de rangement et d'entreposer l'apparéil. Le contact avec des surfaces chaudes pourrait entraîner un incendie. (000109)
Il est recommendé de démarrer le générateur pour le faire tourner pendant 30 minutes tous les 30 jours. Si cela s'avere impossible, respectez les consignes suivantes pour préparer l'appareil à l'entreposage.
- Ne placez JAMAIS un couvercle d'entreposage sur un générateur chaud. Laissez l'appareil refroidir à température ambiente avant de l'entreposer.
- N'entreposez JAMAIS de carburant d'une saison à une autre à moins de l'avoir traité de façon appropriée.
- Remplacez le conteneur de carburant s'il presente des traces de rouille. La presence de rouille dans le carburant provoque des dysfonctionnements du circuit de carburant.
- Recouvrez l'appareil d'un couvercle de protection adapté résistant à l'humidité.
- Entreposez l'appareil dans un lieu propre et sec.
Veillez à tousjours entreposer le générateur et le carburant à l'ecart des sources de chaleurur et d'inflammation.
Préparation du circuit de carburant à l'entreposage
Tout carburant entreprisespendant plus de 30 jours risque de se dégrader et d'endommager les composants du circuit de carburant. Veiliez a ce que le carburant reste frais et utilisez un stabilisateur de carburant. Si un stabilisateur a ete ajoute au circuit de carburant, preparz le moteur pour un enteposage de longue durée.Faites tournier le moteur pendant 10a 15 minutes pour faire circuler le stabilisateur dans l'ensemble du circuit de carburant.Un carburant preparé de façon appropriee peut etre enteposependant un maximum de 24 mois.
REMARQUE: Si le carburant n'a pas eté traité avec un stabilisateur, il doit être purgé dans un contesseur adapté. Faites tournier le moteur jusqu'à ce qu'il s'arrête par manque de carburant. Il est recommendé d'utiliser un stabilisateur dans le contesseur d'entreposage afin de conserver le carburant frais.
- Vidangez l'huile moteur.
- Retirez la bougie d'allumage.
- Versez une cuillere à table (5-10 cm³) d'huile moteur propre ou vaporisez un agent anti-buée adapté dans le cylindre.

A VERTISSEMENT
Perte de la vision. Une protection oculaire est requise pour évier les projections provenant du trou de bougie d'allumage pendant le lancement du moteur. Ne pas porter de protection oculaire pourrait entraîner la perte de la vision. (00018)
(000181)
- Tirez plusieurs fois la poignée du lanceur à rappel pour distribuer l'huile dans le cylindre.
- Remettez la bougie d'allumage en place.
- Tirez lentement la poignée du lanceur à rappel jusqu'à dessentir une résistance. Cela a pour effet de fermer les soupapes afin d'empêcher la déténération d'humidité dans le cylindre. Relâchez délicatement la poignée du lanceur à rappel.
Remplacement de I'huile
Remplacez l'huile moteur avant d'entreposer le générateur. Voir Remplacement de l'huile moteur.
Dépannage
| DE BATTERIE RAISON CORRECTION | ||
| Le moteur tourne, mais aucune sortie CA n'est disponible. | 1. Disjoncteur OUVERT.2. Mauvais raccordement ou cordon défectueux.3. Apparil raccordé défectueux.4. Défaillance interne au générateur.5. Prise du DDFT OUVERTE (si présente). | 1. Réinitialisez le disjoncteur.2. Contrôlez et réperez.3. Raccordez un autre apparil qui est en bon état.4. Communiquez avec un IASD.5. Corrigez le défaut de mise à la terre et appuyez sur le bouton de réinitialisation sur la prise du DDFT (si présente). |
| Le moteur tourne bien sans charge, mais pas en présence d'une charge. | 1. Court-circuit dans une charge connectée.2. Générateur surcharge.3. Régime moteur trop lent.4. Court-circuit interne au générateur.5. Pare-étincelles bouché. | 1. Débranchez la charge électrique court-circuitée.2. Réduisez la charge (voir la section Connaître les limites de la généatrice).3. Communiquez avec un IASD.4. Communiquez avec un IASD.5. Nettoyez l'écran du pare-étincelles. |
| Le moteur ne démarre pas, ou démarre mais tourne de manière saccadée. | 1. Robinet d'arrêt de carburant en position OFF.2. Filtre à air sale.3. Panne de carburant.4. Carburant éventé.5. Fil de la bougie d'allumage non raccordé à celle-ci.6. Bougie d'allumage défectueuse.7. Préstance d'eau dans le carburant.8. Sur-étranglement.9. Niveau d'huile faible.10. Mélange de carburant excessivement riche.11. Soupape d'admission bloquée en position ouverte ou fermée.12. Perte de compression du moteur. | 1. Tournez le robinet d'arrêt de carburant en position ON.2. Nettoyez ou remplacez le filtre à air.3. Remplissez le réservoir de carburant.4. Purgez le réservoir de carburant et faites le plein de carburant frais.5. Raccordez le fil à la bougie d'allumage.6. Remplacez la bougie d'allumage.7. urges le réservoir de carburant et faites le plein de carburant frais.8. Placez le levier d'étrangleur en position ouverte (pas d'étranglement).9. Remplissez le carter au niveau approprié.10. Communiquez avec un IASD.11. Communiquez avec un IASD.12. Communiquez avec un IASD. |
| DE BATTERIE RAISON CORRECTION | ||
| Le moteur s'accêté en cours de fonctionnement. | 1. Panne de carburant. 2. Niveau d'huile faisible. 3. Défaillance interne au moteur. 4. Le module COsense s'accêté en raison de l'accumulation de monoxyde de carbone si une lumière rouge clignote au niveau de l'écusson du panneau latral. 5. Le module COsense s'accêté en raison d'une panne système si une lumière jaune clignote au niveau de l'écusson du panneau latral. | 1. Remplissez le réservoir de carburant. 2. Remplissez le carter au niveau approprié. 3. Communiquez avec un IASD. 4. Suivez toutes les instructions de sécurité et place le générateur à l'air libre, à l'écart des fenêtres, portes et aérations. 5. Démarrez pour confirmer l'indicateur jaune clignotant en cas d'accret du générateur. Si le problème persististe et que le module COsense s'éteint, contactez un IASD. |
| Le moteur manque de puissance. | 1. Générateur surcharge. 2. Filtre à air sale. 3. Maintenance du moteur requise. 4. Pare-étincelles bouché. | 1. Réduisez la charge (voir la section Connaître les limites de la génératrice). 2. Nettoyez ou remplacez le filtre à air. 3. Communiquez avec un IASD. 4. Nettoyez l'écran du pare-étincelles. |
| Le moteur rencontres des sautes de régime ou hésite. | 1. L'étranglement s'ouvre trop tôt. 2. Le carburateur fonctionne avec un mélange de carburant trop riche ou trop pauvre. | 1. Placez le levier d'étrangleur en position intermédiaire jusqu'à ce que le moteur tourne sans à-coup. 2. Communiquez avec un IASD. |
| Le moteur démarre, puis s'accêté aussi/tôt. | 1. Le module COsense s'accêté en raison de l'accumulation de monoxyde de carbone si une lumière rouge clignote au niveau de l'écusson du panneau latral. 2. Le module COsense s'accêté en raison d'une panne système si une lumière jaune clignote au niveau de l'écusson du panneau latral. | 1. Suivez toutes les instructions de sécurité et place le générateur à l'air libre, à l'écart des fenêtres, portes et aérations. 2. Démarrez pour confirmer l'indicateur jaune clignotant en cas d'accret du générateur. Si le problème persististe et que le module COsense s'éteint, contactez un IASD. |
Scheme de câblage

010106
Réf. 10000029705
Rev. C 04/09/2020
Tous droits réservés
Les specifications sont sujettes à modification sans préavis. Aucune forme de reproduction n'est autorisée sans le consentement écrit préalable de Generac Power Systems, Inc.
GENERAC
Generac Power Systems, Inc.
S45 W29290 Hwy. 59
Waukesha, WI 53189
1-888-GENERAC (1-888-436-3722)
wwwgenerac.com
Notice Facile