TCS115A - Scie Tacklife - Manual de uso y guía de instrucciones gratis
Encuentra gratis el manual del aparato TCS115A Tacklife en formato PDF.
| Características técnicas | Sierra circular de 1200W, diámetro de la hoja 115 mm, velocidad en vacío 3500 rpm |
|---|---|
| Profundidad de corte | Máx. 30 mm a 90°, 20 mm a 45° |
| Peso | 2,5 kg |
| Uso | Ideal para madera, plástico y materiales similares |
| Mantenimiento | Limpieza regular, afilado de la hoja, revisión de cables eléctricos |
| Seguridad | Protección contra sobrecargas, interruptor de seguridad, guía de corte incluida |
| Información general | Garantía de 24 meses, accesorios incluidos: hoja de sierra, llave de montaje, guía paralela |
Preguntas frecuentes - TCS115A Tacklife
Descarga las instrucciones para tu Scie en formato PDF gratis! Encuentra tus instrucciones TCS115A - Tacklife y toma tu dispositivo electrónico nuevamente en la mano. En esta página están publicados todos los documentos necesarios para el uso de su dispositivo. TCS115A de la marca Tacklife.
MANUAL DE USUARIO TCS115A Tacklife
| ESPECIFICACION DEL PRODUCTO | |
| Potencia nominal: | 220-240V 50Hz AC |
| Amperios: | 710W |
| Velocidad: | 3,500 RPM (noarga) |
| Hoja: | 4 1/2" (114,3 mm) 24TCT |
| Madera: | 3/8" (9,5 mm) |
| Profundidad del corte @ 90°: | 1 11/16" (42,9 mm) |
| Profundidad del corte @ 45°: | 1 1/8" (34,9mm) |
| Preguntas痫icas Suministrar piezas Piezas pierden del paquete | |
ADVERTECIAS GENERALES DE SEGURIDAD
ADVERTENCIA: Antes de usar esta herramIENTA o cualesera de sus accesorios, lea este manual y siga todas las Reglas de seguridad e instrucciones de operación. Las precauciones, salvaguardas e instrucciones importantes que aparecen en este manual no significan haber cubrido todas las situaciones posibles. Debería entendarse de que el sentido comun y la precaución son factores que no pueda integrarse en el producto.
Este manual de instrucciones incluye lo suiviente:
- Reglas de seguridad generales
- Reglas y SYMBOLOS DE SECURIDAD ESPECÍCOS
- Descripción funcional
Montaje - Operación
- Mantenimiento
- Accesorios
PROTECCION DE OJO, OIDO & PULMONAR

SIempre PONGASE LA PROTEccion DE OJOS QUE CONFORMA CON CSA REQUISITOS O NORMA DE SEGURIDAD ANSI Z87.1
ASTILLAS VOLADORES pourrait causar daño de ocular permanece. Las gafas recetados NO SON un reemplazo para la proteccion adeuada de los ojos.

ADVERTENCIA: Las gafas no confirmes poder caesar daños graves si se rompe durante el funcionaimiento de

ADVERTENCIA: Use la proteccion auditiva, particulamente durante periodos prolongados de operacion de la herramienta, o si la operation es ruidosa.
ADVERTECIAS GENERALES DE SEGURIDAD

USE UNA MÁSCARA DE POLVO QUE ESTÉ DISEÑADA PARA PONERSE CUANDO OPERA UNA HERRAMIENTA ELECTRICA EN UN ENTORNO DE POLVO.

ADVERTENCIA: El polvo que se create al lijar, aserrar, moler, taladrar y realizar otherasactividades de construccion que pueda contener sustancias quimicas que se sabe que causaran cancer, defectos de nacimiento u otheras anomalidades genéticas. Estos químicos incluyen:
Plomo de pinturas a base de plomo
Sílice cristalina de ladrillos, cemento yotiros productos de vampostería
Arsénico y cromo de la madera tratada químicamente
El nivel de riesgo de la exposión a这些东西 productos químicos varía según la Frequencia con la que se realiza este tipo de trabajo. Para reducir la exposión a这些东西 productos químicos, trabajo en un area bien ventilada y usequipimiento de seguridad aprobado, como una máscara contra el polvospecificamente disenada para filtrar partículas microscópicas.
SEGURIDAD ELECTRICA

ADVERTENCIA: Paraatar riesgoselectricos,riesgodes incendio o daños a la herramienta,use la proteccion adecuada del circuito.
Esta herramipta está cableada de fabrica para una operation de 120V de CA. Debe estar connectado a un circuito de 120V AC, 15 AMP que está protegado por un fusible con retardo de tiempo o un interruptor de circuito. Para evaporar desgarcas electricas o fuego, reemplace el cable de alimentacion inmediamente si está desgastado, cortado o dañado de algunaforma.
SEGURIDAD DE HERRAMIENTA ELECTRICA

ADVERTENCIA: Lea todas las advertencias e instrucciones de seguridad.
Incomplimir las advertencias e instrucciones puede occasionar descargas electricas, incendios y / o lesiones graves
Guardes todas las advertencias e instrucciones para referencia futura.
Área seguro de trabajo
- Mantenga el area de trabajo ser limpia y bien iluminada. Las areas desordenas u oscuras podra produir accidentes.
- No utilise hervimentas electricas en atmósferas explosivas, como en presencia de liquidos, gases o polvo inflamables. Las hervimentas electricas crean chispas que peuvent encender el polvo o los humos.
- Mantenga a los niños y除外 personas lejos cuando maneja una herramienta electrica. Las distracciónes peuvent hacer que pierdas el control.
Seguridad electrica
Los enchufes de la herramunta electrica deben coincidir con la toma de
corriente. Nunca modique el enchufe de ninguna manera. No use enchufes adaptadores con herramentas electricas connectadas a tierra. Los enchufes no modificados y las tomas de corriente correspondientes reducirán el riesgo de descarga electrica.
Evite el contacto del cuerpo con superficies connectadas a tierra como tuberías, radiadores, cocinas y refrigeradores. Existe un mayor riesgo de descarga electrica si su cuerpo está cerca de tierra.
No exponga las herramrientas electricas a la lluvia ni a las conditiones de humedad. El agua ingresada a una herramipta electrica aumento el riesgo de descarga electrica.
No abuse del cable. Nunca use el cable para transporte, tirar o desenchufar la herramipta electrica. Mantenga el cable lejos del calor, aceite, cordes aflados o partes moviles. Los cables dañados o enredadosurrent an el riesgo de descarga electrica.
Al operar una herramenta electrica en el exterior, use un cable de extension adequado para usar en exteriores. El uso de un cable adequado reduce el riesgo de descarga electrica.
Si es inevitable utilizing una herramienta electrica en un lugar humedo, utilise un suministro protegido de corrente residual (RCD). El uso de un interruptor de circuito fallado a tierra (GFCI) reduce el riesgo de descarga electrica.
Seguridad personal
Manténgase alerta, observe lo que está能做到 y use el sentido común cuando opere una herr模板ia electrica. No use una herr模板ia electrica,msteads estecansado o bajo la influencia de drogas, alcohol o medicamente. Un momento de falta de atencion,msteadas opera las herr模板ias,puede occasionar lesiones personales graves.
Use equipimiento de protección personal. Siempre use protección para los ojos. Los equipimientos de protección, como máscaras antipolvo, calzado de seguidad antideslizante, casco o protección para los oídos, realizados para las conditiones adecuadas reducirán las lesiones personales.
Prevenga el inizio involuntario. Asegúrese de que el interruptor está en la posición de apagado antes de conectarlo a la fuente de alimentación y / o al paquete de baterías, al levantar o Transportar la herramienta. Llevar herramentas electricas con el dedo en el interruptor o activar las herramentas
electricas que tienen el interruptor encendido paraURTa Causear los accidentes.
Retire该如何llave de ajuste o llave inglesia antes de encender la herramenta electrica. Una llave o llave inglesia está unida a una parte giratoria de la herrimenta electrica puede occasionar lesiones personales.
No te exceedas Mantenga la postura y el equilibrio en todo momento. Esto permite un mejor control de la herramienta electrica en situaciones inesperadas.
Vistete apropiadamente. No póngase ropa suelta o joyas. Mantenga el cabello, la ropa y los guantes lejos de las piezas móvil. La ropa suelta, joyas o elleo peuvent estar atrapados en las piezas móvil.
Si se proportionsan dispositivos para la conexión de las instalaciones de extracción y recolección de polvo, asegúrese de que estén connectados y Sean realizados adecuadamente. El uso de la recolección de polvo puede reducir los riesgos relacionados con el polvo.
SEGURIDAD DE HERRAMIENTA ELECTRICA
Uso y cuidado de herramienta electrica
No fuerce la herramienta electrica. Use la herramienta electrica correcta para su aplicacion. La herramienta electrica correcta hara el trabajo mejor y más seguro a la velocidad para la que fue disnado.
No use la herramipta eletrica si el interruptor no se enciende y apaga. Cualquier herramipta eletrica que no pueda controlarse con el interruptor es peligrosa y deben repararse.
Desconecte el enchufe de la fuente de alimentacion y / o del paquete de baterias de la herramienta electrica antes de realizar ajustes, cambiar accesorios o almacenar herramientos electricas. Dichas medidaspreventivas de seguridad reducen el riesgo de起初 la herramienta electrica accidentalmente.
Guarde las herramrientas electricas inactivas fuera del alcance de los niños y no permita que las personas que no estén familiarizadas con la herramipta electrica o estas instrucciones operen la herramipta electrica. Las herramrientas electricas son peligrosas en manos de usuario nocretados.
Mantenga herramientos electricas. Compruebe si hay desalineacion o atascambio de piezas moviles, roturas de piezas yequalquier other condidion que coulda afectar el functiOnamento de la herramenta electrica. Si está daado, haga reparar la herramenta electrica antes de usarla. Muchos accidentes son causados por herramientos electricas malmantidas.
Mantenga las herramrientas de corte aflidas y limpias. Las herramrientas de
corte correctamente mantenidas con cordes de corte aflados tienen menos的概率 de enlazarse y son más fácil de controlar.
Use la herramenta electrica, los accesorios y las brocas, etc. de acuerdo con estas instrucciones, teniendo en cuenta las conditiones de trabajo y el trabajo a realizar. El uso de la herramenta electrica para operaciones importantes a las previstas podra resultar una situacion peligrosa.
Use abrazaderas u另一边 forma practica para asegurar y sostener la pieza de trabajo a una plataforma estable. Sostener el trabajo a mano o contra su cuerpo lo deja inestable y pueda causar a la perdida de control.
Servizio
Haga reparar su herramienta electrica por un的技术o de reparacion calificado que use solo repuestos ideentes. Este asegurar a que mantenga la seguridad de la herramienta electrica.
GUARDE ESTAS INSTRUCCIONES PARA REFERENCIA
REGLAS DE SEGURIDAD ESPECÍFICAS
ADVERTENCIA: No conecte la herramipta a la fuente de alimentacion hasta que haya leido y entendido este Manual de instrucciones. Conozca las aplicaciones y limitaciones de la herramipta, asi como los riesgos poteciales efectivos relacionados con esta herramipta. Seguir this regla reducir a el riesgo de descarga electrica, incendio o lesiones graves.

Siempre use proteccion para los ojos. Cualquier herramienta electrica能把 arrojar objetos extraños a los ojos y Causear daño permanente a los ojos.
SIEMPRE use gafas de seguridad (no gafas generales) que cumplan con la norma de seguridad ANSI Z87.1.
Las gafas diarias solo tienen lentes resistentes a los impactos. NO SON gafas de seguridad.
ADVERTENCIA: Los anteojos o gafas que no cumplan con ANSI Z87.1 podrán causar lesiones graves cuando se rompan. Siempre mantenga las manos fuera del trayectoria de la hoja de sierra. Evite las posiciones incómodas de las manos donde un deslizamente repentino podrá hacer que su mano se pueda en la trayectoria de la hoja de la sierra.

PELIGRO: Mantenga las manos lejos del aire de corte y la hora. Mantenga su SECOND mano en la herramienta. Si ambas manos sostienen la sierra, no pueda ser cortadas por la hora.
No alcance bajo de la pieza. El protector no可以选择 protegerlo de la cucilla bajo de la pieza.
Ajuste la profundidad de corte al grosor de la pieza de trabajo. Menos de un dienteplete do los dientes de la hoja debe ser visible debajo de la pieza de trabajo.
Nunca sostenga la pieza cortada en sus manos o sobre sus piernas. Asegure la pieza en una plataforme estable. Es importante apoyar el trabajo adecuadamente para minimizar la exposión del cuerpo, el enlazo de la hoja o la perdida de control.
Sujete la herramenta electrica por las superficies de agarre aisladas cuando realiza una operation en la que la herramenta de corte pueda entrada en contacto con un cabledo oculto o con su propio cable. El contacto con un cable "en vivo" también haq que las partes metálicas expuestos de la herramenta electrica se "activen" yCHOque al operador.
Al extraer, use siempre la guía de corte o la regla de borde recto. Esto mejora la precision del corte y reduce la posibiliad de que la hoja se enganche.
Siempre use cucillas con el tameno y la forma correctos (diamante versus redondo) de los orificios del eje. Las hojas que no coinciden con el hardware de montaje de la sierra se executaran excentricamente, lo que provocar a una perdida de control.
Nunca use arandelas de hojas o pernos dañados o Incorrectos. Las arandelas de hojas y el perno de la cucilla fueon diseñados especialmente para su sierra, para un rendimiento optimo y seguridad de funcionaimiento.
Nunca use hojas abrasivas con esta sierra circular.
CAUSAS Y PREVENICION DEL OPREDOR DE CONTRAGOLPE
El contragolpe es una reccion repentina a una hoja de sierra pellizcada, unida o desalineada, occasionando que una sierra no controlada se levante y salga de la pieza hacía el operador;
Cuando la hora se pellizca o se atasca fuertamente por la cisión que se encierra la hora se para y la reccion del motor hace que la unidad retroceda rápidamente hacer el operador.
Si la hora se tuerce o se desalinea en el corte, los dientes en el borde posterior de la hora能把 penetrar en la superficie superior de la madera能做到 que la cucilla salga de la cisión y salute hacer el operador.
El contragolpe es el的结果を un mal uso de la sierra y / o de procedimientos o conditiones de operación incorrectos y se pueda estar tomando las precauaciones adequadas que se detallan a continuación:
REGLAS DE SEGURIDAD ESPECÍFICAS
CAUSAS Y PREVENICION DEL OPERADOR DE CONTRAGOLPE - continuación Mantenga un agarre firme de la sierra y colque los brazos para resistir las fuerzas de contragolpe. Mantenga su cuerpo en elazo izquierdo odeocho de la hora, pero no en linea con la cachilla. El contragolpe podra hacer que la sierra salte hacía extras, pero las fuerzas de contragolpe peuvent ser controladas por el operador, si se toman las precauiones adecuadas..
Cuando la hoja se está atascando, o al interruprir un corte por在哪ier motivo, suele el gatillo y mantenga la sierra inmovil en el material hasta que la hoja se detenga por completeo. Nunca intente quitar la sierra del trabajo o tire de la sierra hacerships,msteadasla hoja esta en movimiento o pueda producir un contragolpe.Investigue y tome medidas correctivas para eliminar la causa de la unión de la hoja.
Cuando reinicia una sierra en la pieza de trabajo, centre la hoja de la sierra en el corte y verifique que los dientes de la sierra no estén enganchados en el material. Si las hojas de la sierra se unen,可以更好 subir o retroceder desde la pieza de trabajo al volver a arrancar la sierra.
Admite paneles grandes para minimizar el riesgo depellizcarse y contragolpe. Los paneles grandes tienden a combarse por su propio peso. Los soportes deben colocarse bajo del panel enamins lados, circa de la linea de corte y circa del borde del panel.
No use hojas sin filo ni dañadas. Las hojas sin afilar o mal ajustadas producen una ranura angosta que causa fricción excessiva, atascimiento de la cucilla y contragolpe.
Las palancas de bloqueo de ajuste de bisel y profundidad de la hoja deben
estar apretadas y seguras antes de realizar el corte. Si el ajuste de la cucilla se desplaza durante el corte, pueda provocar atascimiento y contragolpe.
Tenga especial cuidado al hacer un "corte de penetracion completo" en paredes existentes u otheras areas ciegas. La cucilla que sobresale能把URTAR objetos que poder causar contragolpe.
REGLAS DE SEGURIDAD ESPECÍFICAS ADICIONALES
Verifique que el protector inferior está bien cerrado antes de cada uso. No opere la sierra si la proteccion inferior no se mueve libremente y se cierra al instante. Nunca sujete o ate el protector inferior en la posicion abierta. Si la sierra se cae accidentally, la proteccion inferioruede danarse. Levante la proteccion inferior con la manija retractedy aseguressede que se mueva libremente y no toque la hoja ni ninguna othera parte en todas las profundidades de los cortes.
Verifique el funciona del resorte del protector inferior. Si el protector y el reserte no funciona correctamente, se deben reparar antes de su uso. La proteccion inferior可以选择 funciona con lentitud bajo a piezas dañadas, depuestos gomosos o acumulacion de residuos.
La proteccion inferior debe retraerse manualmente solo para cortes especials tales como "cortes de penetracion" y "cortes compuestos". Levante la proteccion inferior retractando la manija y, tan pronto como la hoja entre al material, se debe liberar la proteccion inferior. Para todo除外, la proteccion inferior debe funciona automatamente.
Siempre observes que la proteccion inferior está cubriendo la cucilla antes de colocar la sierra sobre el banco o el piso. Una hoja sin proteccion haque que la sierra camine hacía atras, cortando lo que esté en su trayectoria. Tenga en cuenta el tiempo en que tratata la cucilla en detenerse afterwards de soltar el interruptor.
Nunca opere la sierra@m我以为 a otherubicacion. El protector de la cachilla,puede estar abierto y causar lesiones graves.
Si el interruptor no enciende o apaga la sierra correctamente, deja de usar lo inmediamente y haga reparar el interruptor de la sierra.
Siempre permitteda que la sierra alcance su velocidad Tmaxima antes de comenzar el corte.
REGLAS DE SEGURIDAD ESPECÍFICAS
CAUSAS Y PREVENICION DEL OPERADOR DE CONTRAGOLPE - continuacion
Nunca use elazo de la hoja para cortar. Al realizar cortes horizontales, asegúrese de que el peso de la herramienta no fuerte elazo de la cucilla para cortar. Esto reducirá el riesgo de contragolpe.
Asegúrese de que no haya clavos u objetos extraños en el area de la pieza que se va aURTAR.
Nunca coloque la pieza de trabajo en superficies duras como hormigón, piedra, etc. La hija que sobresale pueda hacer que la herramienta salte.
PELIGRO: Para evaporar lesiones por arranque accidental, siempre retire el enchufe de la fuente de alimentacion antes de hacerrialquier ajuste y antes de instalar o quitar una hoja de sierra.
Cuando reemplace la hoja, asegúrese de que la hoja de reemplazo tengau un diametro de 3% "y tenga una capacité nominal de al menos 3,500 RPM. ILa instalación de una hoja Incorrecta provocará posibles lesiones y unaacular de corte deficiente.
Después decaearuna cuchilla o hacerajustes,aseguede queel tornillo de la abrazadera de la cuchilla este bien atornillado.Las cuchillas flojas y los dispositivos de ajuste seran lanzados violently.
Nunca toque la cucilla durante o después del uso inmediamente. Después del uso, la hija está demasiado caliente para tocarla con las manos desnudas.
SEGURIDAD DEL CABLE DE EXTENSION
DVERTENCIA: Mantenga el cable de extension fuera del area de trabajo.
Cologne el cable de modo que no quede atrapado en la pieza de trabajo, herramentas u另一边 obstrucciones cuando trabajo con la herramienta electrica.
Asegúrese de que cadaquier cable de extension正常使用 con esta herramipta está en buena conditiones. Cuando utilizes un cable de extension, asegúrese de usar uno de calibre lo suficientemente pesado como para Transportar la corriente que dibujará la herramipta. Un cable de時間 insufiente provocará una caía en el voltaje de la linea, lo que resultará en perdida de potencia y sobrecalentimiento.
La tabla de la derecha muestra el時間 correcto para usar según la longitud
del cable y la capacité de amperaje de la plac de identificacion. En caso de duda, use el siguientes calibre más pesado. Cuanto menor sea el número de calibre, más pesado sera el cable.
Asegúrese de que su cable de extension está correctamente cableado y en buena conditiones. Siempre reemplace un cable de extension dañado o haga que un electricista calificado lo repare antes de usarlo. Proteja su cable de extension de objetos filosos, calor excessivo y Areas humidas o mojadas.
Use un circuito electrico分开 para sus herramrientas electricas. Este circuito no debe ser inferior a un cable de calibre 14 y debe protegerse con un fusible de 15 AMP con retardo de tiempo o un interruptor de circuito. Antes de connectar la herramienta electrica a la fuente de alimentacion, asegurese de que el interruptor esté en la posicion APAGAR y que la fuente de alimentacion sea la misma que se indica en la placac de identificacion. Funcionando a un voltaje mas bajo dañará el motor.
ADVERTENCIA: Repare o reemplace los cables de extension dañados o desgastados inmediamente.
Selección el calibre y la longitud del cable de extension apropriados usingo la tabla a continuación.
Selección el calibre y la longitud del cable de extension apropriados usingo la tabla a continuación. Estos cables están clasificados para el uso al aire libre y reducen el riesgo de descarga electrica.

ADVERTENCIA: Mantenga el cable de extension fuera del area de trabajo. Coloque el cable de modo que no quede atrapado en la pieza de trabajo, herramrientas u otheras obstrucciones cuando trabajo con la herramenta electrica.
| MEDIOR MINIMO (AWG) CABLES DE EXTENSION (uso solo de 120V) | |||||
| Clasificacion de amperaje | Longitud total | ||||
| Más que | No más que | 25' (7.5 m) | 50' (15 m) | 100' (30 m) | 150' (45 m) |
| 0 6 18 | 16 16 14 | ||||
| 6 10 18 | 16 14 12 | ||||
| 12 12 16 | 16 14 12 | ||||
| 12 16 14 | 12 No Aplicable | ||||
SÍMBOLOS
ADVERTENCIA: Algunos de los siguientesvinculos coulden aparecer en la sierra circular. Estudie这些东西vinculos y aprenda su significado. La interpretacion correcta de这些东西vinculos permitirá una operacion más eficiente y segura de esta herramienta.
| V Voltios | |
| A Amperios | |
| Hz Hervio | |
| W Vatio | |
| kW Kilovatio | |
| Miérofar radios | |
| L Litros | |
| kg Kilogramos | |
| H Horas | |
| N/cm2 | Newtons por centímetrov cuadrado |
| Pa Pascales | |
| OPM Osciluciones por minuto | |
| Min Minutos | |
| S Segundos | |
| or a.c. | Corriente alterna |
| Corriente alterna trifásica | |
| Corriente alterna trifásica neutra | |
| = = = | Corriente continua |
| n. | Sin velocidad dearga |
| √ | Corrente alterna o continua |
| □ | Construccion de类产品 II |
| Δ | Construccion a prueba de salpicaduras |
| ▲▲ | Construccion impermeable |
| ⊕ | Puesta a tierra de proteccion en el terminal de tierra, Herramentas de类产品 I |
| .../min | Revoluciones o reciprocaciones por minuto |
| ∅ | Diámetro |
| 0 | Posicion apagado |
| → | Flecha |
| △ | Simbolo de advertencia |
| 圆 | Póngase sus gafas de seguidad |
| △ | Póngase una;másara contra polvo |
| ◎ | Póngase proteccion auditiva |
CONOZCA SU SIERRA CIRCULAR


MONTAJE Y OPERATION
NOTA: A modo ilustrativo, algunos dibujos muestran el adaptorador de vacio instalado en la sierra. El adaptorador de vacio NODebe instalarse si no se utilizes una aspiradora.
DESMONTANDO E INSTALANDO UNA HOJA
AGVERTENCIA: Siempre quite el enchufe de la fuente de potencia antes de retiring la hoja o ajustar la sierra derialquier manera.
AGVERTENCIA: Tenga cuidado al manejar la hora. Es aguda y pueda cortarle la mano fácilmente.
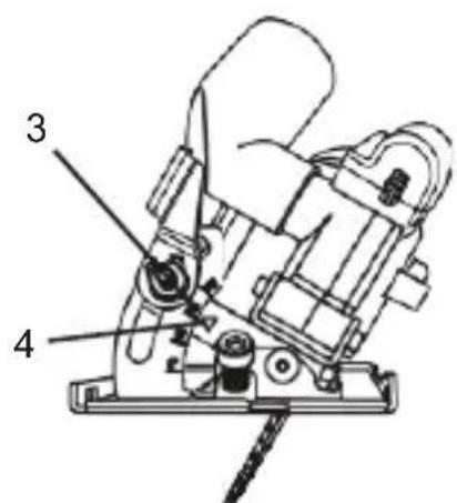
- 1.Presione hacia adentro el boton de cerradura del eje(1) (Fig. 1).
- Inserte la llave hexagonal de 5 mm (2) en el tornillo de la hoja (3). Mientras presiona hacía adentro el botón de cerradura del eje, gire la llave hexagonal en el sentido del reloj hasta que el botón de bloqueo del eje encaje con el eje de la hoja. Continué girando la llave hexagonal en el sentido del reloj y retire el tornillo de la hoja y la brida de la cucilla exterior (4).
NOTA: El tornillo de la hoja es ua rosca de la mano izquierda.
- Gire la balanca de proteccion de la hoja (5) en sentido contrario del reloj hasta siempre que ve.
- Si ya hay una hoja instalada en la sierra, levante la cucilla del eje (6) y deslicela hacía afuera a工程技术 de la ranura de la suela.

Fig. 1
- Para reinstalar una hoja, invierta el procedimiento anterior.
NOTAS:
a)Asegürese de que los dientes de hoja apuntan hacía adelante en la parte inferior de la hoja.
b) Al volver a instalar la tuerca de brida exterior, asegúrese de que las partes planas de la tuerca de brida monte sobre los planos del eje.
c)Gire el tornillo de la hora en sentido antihorario para atornillarlo en el eje. Asegúrese de que el tornillo noonga rosca cruzada.
6. Cuando la nuevo hoja, la brida exterior y el tornillo de la cucilla está en su lugar, presione el botón de cerradura del husillo y atornille por completeo el tornillo de la cucilla.
7. Cuando el tornillo de la cucilla está Completely apretado, gire con cuidado la cucilla para asegurar de que no se tambalee. Si se tambalea, retire y vuelva a instalar la cucilla, asegurándose de que está instaladacorrectamente.
ESTABLECER LA PROFUNDIDAD DE CORTE
La profundidad de corte de la hojaDebe ajustarse para adaptarse al grosor del material que se corte. La profundidad de corte debe ser de aproximadamente 1/8 (3 mm) mayor que el grosor del material que se corte.
-
Gire la palanca de bloqueo de la profundidad de corte (1) en el sentido contrario del reloj (Fig. 2).
-
Baje la plac de suea a la profundidad deseada.
NOTA: Alinee la profundidad deseada en la escala de control de profundidad (2) con lamarca de alineacion (3) en la carcasa de la sierra.

Fig. 2
MONTAJE Y OPERATION AJUSTE DEL ANGULO DE CORTE DE BISEL
La plac de la suea se peut configurar para realizar cortes en bisel hasta 45^
1.Gire la palanca de bloqueo del ángulo de bisel (1) en sentido antihorario (Fig. 3).
2.Gire la plac de la suela (2) al angulo deseado
NOTAS:
a) Alinee el ángulo deseado en la escalá de bisel(3) con lamarca de alineación (4) en la carcasa de la placá de la sueña.
b)Realice siempre un corte de prueba en una pieza de trabajo y verifique para asegurarse de que el corte en bisel sea el correcto.


Fig. 3
AJUSTE DEL ÁNGULO DE CINTA "CERO" PARA CORTAR CORRECTAMENTE 90°
Antes de realizarequalquiercorte,esimportanterealizaruncorte de prueba en una pieza de trabajo dedesecho yajustar el tope del angulo de bisel si esnecessary para garantizar que el ajuste de bisel "cero"proporcione cortes precisosde 90^
- Afloje la palanca de bloqueo de bisel (1) y gire la plac de la suea hacla la marca de 0^ tanto como sea posible y sujete la palanca de bloqueo del angulo de bisel (Fig. 4).
- Realice un corte de prueba en una pieza de trabajo y verifique el corte con el cuadrado de un carpintero para verificar que la sierra está cortando a 90^ .
- Si el corte de prueba no es de 90^ , gire la tuerca de seguridad de ajuste decero (2) en sentido antihorario aproximadamente 14 de vuelta con una llave de 7mm
- Utilice un destornillador n. ^ 2 para girar el tornillo de ajuste de bisel cero (3) hacía adentro o hacía afuera hasta que la sierra está cortando a 90^ cuando la sueña está en contacto con el tornillo de aiuste.
- Atornille la contratuerca@m间隙as ua el destornillador para evaporar que el tornofo de ajuste gire.
NOTA: Cuando se realiza el ajuste final y se aprieta la contratuerca, vuelva a verificar el ángulo de corte en una pieza de trabajo desechada.

Fig. 4
MONTAJE Y OPERATION INSTALLACION DE LA GUIA DE BORDES
La guía de borde se pueda usar para facilitar el corte preciso alURTAR piezas de hasta 5 "de ancho.
- Afloje el tornillo de bloqueo de la guía del borde (1) en sentido antihorario aproximamente 2 vueltas con la llave hexagonal de 5mm (Fig. 5).
- Deslice la varilla de montaje de la guía del borde (2) en las ranuras de montaje (3) en la placá de la sueña.
- Alinee el ancho de corte deseado en la báscula (3)(3) con lamarca de corte de 0^ (5) en la placá de la sueña.
- Atornille el tornillo de bloqueo de la guía de borde para bloquear la guía de borde en su posición.
NOTA: No apriete demasiado, ya que puedapelar los hilos.
5.Haga un corte de prueba en una pieza de trabajo de desecho para vericar la configuracion de la guia de borde. Ajuste segun sea necessario.
MONTAJE Y OPERATION
INSTALANDO LA GUIA DE BORDE - continuación

Fig. 5
INSTALLACION DEL ADAPTADOR DE VACIO
Se pueda conectar taller de vacío a la sierra circular para recoger gran parte del polvo créé por el corte.
(1) Coloque el extremo(PC) del adaptor de vacio (1) sobre el puerto de vacio (2) en la carcasa de la cucilla (Fig. 6).
NOTA: Gire el adaptor ligeramente cuando lo empuja hacía el puerto de vacío.
- Conecte un taller de vacio de estandar al extremo grande del adaptordor. NOTE: No todo el polvo de corte sera capturado por el vacio ya que algunos seran arrojados más alla del rango de vacio.

Fig. 6

WARNING:
Por razones de seguidad, el operador debe leer las secciones de este Manual del Propietario tituladas "ADVERTENCIAS GENERALES DE SEGURIDAD", "SEGUIDAD DE LA HERRAMIENTA ELECTRICA", "REGLAS DE SEGURIDAD ESPECIFICAS", "SEGURIDAD DEL CABLE DE EXTENSION" y
- La hora correcta está instalada para el material que se está cortando.
- Blade is in good condition and is properly installed.
- Hoja está en buena conditiones y está correctamente instalado.
- Las piezas estan asegurado correctamente.
- Se usesan gafas de seguridad, mascasas contra polvo y proteccion auditiva.
El incumplimiento de estas reglas de seguridad aumento significativamente el riesgo de lesiones.
MONTAJE Y OPERATION BOTON DE CERRADURA Y INTERRUPTOR DE GATILLO
El botón de cerradura (1) es un dispositivo de seguridad Diseño para reducir la posibiliidad de que la sierra se encienda accidentally (Fig. 7). Este botón debe presionarse antes de presionar el interruptor de gatillo (2).
- Para encender la sierra, presione el botón de bloqueo con el pulgar.
- Mientras mantenga el botón de cerradura en la posición presionada, apriete el interruptor de gatillo para encender la sierra.
- Una vez que se inicia la sierra, suele el botón de bloqueo. La sierra seguirá的功能ando hasta que se suele el interruptor de gatillo.
- Para apagar la sierra, suele el interruptor de gatillo.
NOTA: El botón de bloqueo debe presionarse nuevomente para reinecer la sierra.
MONTAJE Y OPERATION BOTON DE CERRADURA Y INTERRUPTOR DE GATILLO

Fig. 7
INTERRUPTOR DE ENCENDIDO / APAGADO DE LÁSER
Esta sierra está equipada con un sistema de guía de láser para un corte más(PC).
PELIGRO: Nunca permita que el rayo láser brille en los ojos de una persona. Se pueda produir daños oculares graves.
Para encender el láser, presione elazo izquierdo del interruptor de láser (1) (Fig. 8). Para APAGAR el láser, presione elazo derechocho del interruptor de láser.

Fig. 8
MATERIALS QUE PUEDE CORTAR
La sierra circular es una sierra universal que le permitted cortar muchos típos differs de materiales.
Algunos de los materiales incluyen:
- Productos de madera tales como madera, madera dura, madera contrachapada, tablero de composicion y paneles
- Masonita y plástico
CORTE GENERAL
- Realice los ajustes en la sierra antes de enchufarla a la fuente de alimentacion. Los ajustes incluyen profundidad de corte, angulo de corte de bisel y guia de borde (si está instalado).
- Marque claramente la pieza para localizar la posicion del corte.
- Mantenga una pieza de trabajo másPICA con una torno. Sujete una pieza de trabajo más grande a un banco o mesa de trabajo.

PELIGRO: Cualquier pieza que no esté adecuadamente sujetado o sportado en su lugar para el corte能把 soltarse o jambrarse, causando lesiones graves. Nunca sostenga la pieza en su mano.
- Asegúrese de que no haya clavos, tornillos, abrazaderas o materiales extraños en la trayectoria de la hoja de sierra.
5.ENCIENDA el láser
6.Coloque el borde delantero de la placac de la suea en la pieza de trabajo. - Mientras sujetafirmamente la sierra y con la cucilla NO en contacto con la superficie que se va aURTar, inie la sierra presionando el boton de bloqueo y bajo el interruptor de gatillo.
- Una vez que la sierra ha alcanzado su velocidad Tmaxima, colque gradualmente la hora móvil en la aplicacion de contacto con la pieza de trabajo en laubicacion adecuada.
NOTA: Hay variedos típos diferentes de hojas disponibles. En general, las hojas con dientes con punta de carburo se cortan mejor y permanecen afliladas por más tiempo.
El conteo y la configuración del diente también son importantes. Los recueros altos de dientes cortan más espacio y son más adecuados para hacer cortes suaves en materiales más delgados como paneles. Use la cucilla correcta para su
NOTA: Para alinear la hoja de sierra con lamarca de corte, use las MARCAS de guía en la parte delantera de la placá de suela (Fig. 9). Utilice la MARCA de corte de 0^ (1) y la linea de láser (2) para cortes en ángulo recto. Usea MARCA de 45^ (3) para cortes en bisel de 45^ . La MARCA de 45^ permitirá el material extra necessario para el corte en ángulo. Haga siempre un corte de prueba en una pieza de trabajo de desecho antes deURTAR el material nuevo.
MONTAJE Y OPERATION
CORTE GENERAL - continuación.
ADVERTENCIA: No fuece la sierra circular. Use solo la fuerza suficiente para mantener el corte de la hora a toda velocidad. Una presión excessiva sobre la hora hará que disminuya la velocidad y se sobrecaliente, lo que occasionará una mala calidad de corte y daños en el motor.
- Apaque el láser.

Fig. 9
CORTE DE PENETRACION

ADVERTENCIA: Paraatar la perdida de control, daño a la cucilla o daño a la pieza de trabajo, siempre tengá extrema precaución cuando haga cortes de penetración. No se recomiendaURTAR ningún material que no sea madera.
- Para sumergir el corte bajo de los bordes de una pieza de trabajo, marque claramente la linea de corte en la pieza de trabajo.
- Ajuste la profundidad (Fig. 2) y ajuste el ángulo del bisel a 0^ (Fig. 3).
- Coloque la sierra en la pieza de trabajo de modo que el borde delantero de la placá de suela (1) quede plano sobre la pieza de trabajo (Fig. 10).
- Abra la proteccion de la hoja girando la palanca de proteccion de la hoja (2) hacia adelante.
- Alinee la hora de la sierra con la linea de corte (3) usingla marca de corte de 0^ en la placadesuela y la linea del laser.
NOTA: Asegürese de que la hoja de sierra está dentro del área que se va aURTAR.

Fig. 10
- Arranque la sierra y bajo lentamente la hoja sobre la pieza de trabajo@m间隙as sujeta la palanca de proteccion de la hoja hacer adelante para permitir que la hoja corte en la pieza de trabajo.
- Continú bajo la hora en la pieza de trabajo hasta que se haya alcanzado la profundidad de corte completa. Continú cortando y complete el corte según seanecessaryo.
CORTE CON LA GUIA DE BORDES
Siempre que sea posible, instale la guía de borde en el lado izquierdo de la placá de suela (Fig. 11). Este colocará la mayor parte del peso de la herramienta en la parte más grande de la pieza de trabajo, lo que Facilita el control de la herramienta. Si esnecessary, la guía de borde pueda instalarse desde el lado opuesto, pero la varilla de montaje de la guía de borde DEBE acoplar ambas ranuras de guía de borde en la placá de base.

Fig. 11
MONTAJE Y OPERATION CAMIANDO LAS BATERIAS DE LÁSER
Las baterías que operan el láser tendrán que ser reemplazadas cuando de un uso considerable del láser.
- Apache el interruptor de láser.
- Retire el tornado de la cubierta del láser (1) con un 3 Destornillador # 2 (Fig. 12).

Fig. 12
-
Levante la cubierta del láser (2) de la parte superior del ensamblaje del láser Fig. 13).
-
Retire las dos baterías viejas (3).

PELIGRO: Nunca permita que el rayo de láser brille en los ojos de una persona. Se pueda producir daños oculares graves. Asegúrese de que el interruptor láser está APAGADO y que el láser NO está apuntando hacíausted cuando reemplaza las baterías del láser y cuando verifies la función del láser.
- Inserte dos baterias cuales.
NOTAS:
a)Use dos baterias de 1.5V LR 44
b)Instale las baterias con elazo "+" (4) de las baterias hacer la parte posterior de la herramienta.
- Vuelva a instalar la cubierta del láser y ajustela con el tornillo de la cubierta del láser.

Fig. 13
GENERAL
ADVERTENCIA: Al realizar el mantenimiento, use solo piezas de repuestos ideentes. El uso de cualquier other parte pueda correrse un peligro o causar daños al producto.
NO use solventes cuando limpia piezas de plástico. Los plásticos son susceptibles al dano de various temas de solventes commerciales y poder danarse por su uso. Use un paño limpio para eliminar la sociedad, el polvo, el aceite, la grasa, etc.
ADVERTENCIA: No permitted that the liquidations of frenes, la gasolina, los Productos derivados del petróleo, los aceites penetrantes, etc.thern en contacto con las piezas de plástico. Contienen productos químicos que pueda darar, debilitar o destruir el plástico.
NO abuse de las herramrientas electricas. Las practicas abusivas可以更好 darar la herramipta y la pieza de trabajo.
ADVERTENCIA:NO intente modifier herramientos o create accesorios. Cualquier alteracion o modificacion de este tipo es un uso indebido youlda dar lugar a una situacion peligrosa que coulda occasionar lesiones graves. Internacional anulara la garantia.
Se ha sentido que las herramrientas electricas estan susjetas a desgaste acelerado y possible falla prematura cuando se utilizes en embarcaciones de fibra de vidrio y automóviles deportivos, tableros de pared, compuestos de sellado o yeso. Las virutas y los moldes de"Theseestomaterialesson altamente abrasivos para las partes electricas de la herramipta como cojinetes, escobillas, conmutadores, etc. En consecuencia, no se recomienda que esta herramipta se utilize para problemas prolongados en ningún material de fibra de vidrio, paneles de yeso, compuestos de sellado o yeso.
Duranterialquieruso en这些东西 materiales,es extremadamenteimportanteque laherramenta se limpie con Frequencia soplandola con unchorro de aire.
ADVERTENCIA: Siemprepongase gafas de seguridad con protectores laterales durante todas las operaciones de corte. Es fundamental que también ponérselas y una máscara antipolvo cuando expulsa el polvo de la sierra circular con unchorro de aire.
Si no se toman estas precauaciones de seguridad, se pueda producir daños permanentes en los ojos o los pulmones.
LUBRICACION
Todoos cojinetes en esta herramienta se lubrican con unacantidad suficiente de lubricante de alta calidad durante la vidautilde la unidad en conditiones normales.
Por lo tanto, no se requires lubricacion adicular.
ManualFácil