EGG7353 - Bandeja para hornear AEG-ELECTROLUX - Manual de uso y guía de instrucciones gratis
Encuentra gratis el manual del aparato EGG7353 AEG-ELECTROLUX en formato PDF.
| Tipo de placa | Vitrocerámica |
| Número de zonas | 4 |
| Tipo de mandos | Mandos giratorios |
| Potencia total | No especificado |
| Dimensiones (An x P) | No especificado |
| Color | Negro |
| Material de la superficie | Vidrio |
| Seguridad | Apagado automático, indicador de calor residual |
| Tipo de instalación | Empotrable |
| Alimentación | Eléctrica |
| Funciones especiales | No especificado |
| Garantía | No especificado |
| Normas | Cumple con normas europeas |
| Peso | No especificado |
| Accesorios incluidos | No especificado |
Preguntas frecuentes - EGG7353 AEG-ELECTROLUX
Questions des utilisateurs sur EGG7353 AEG-ELECTROLUX
0 question sur cet appareil. Repondez a celles que vous connaissez ou posez la votre.
Poser une nouvelle question sur cet appareil
Descarga las instrucciones para tu Bandeja para hornear en formato PDF gratis! Encuentra tus instrucciones EGG7353 - AEG-ELECTROLUX y toma tu dispositivo electrónico nuevamente en la mano. En esta página están publicados todos los documentos necesarios para el uso de su dispositivo. EGG7353 de la marca AEG-ELECTROLUX.
MANUAL DE USUARIO EGG7353 AEG-ELECTROLUX
A) Odnimatelny panel
B) Prostor pro prípojky
Kuchynska skfinkas troubou
A) Krythoraka
B) Korunka horáka
C) Zapalovacia sviecka
D) Termoclánok

VAROVANIE
ASPECTOS MEDIOAMBIENTALES 62
PENSAMOS EN USTED
Gracias por adquirir un producto Electrolux. Ha escogido un producto que contiene décadas de experiencia e innovación profesionales. Ingenioso y Elegant, se ha disnéado pensando en usted. Así que, siempre que lo utilise pueda tener la calidad de que consiguié excelentes resultados.
Bienvenido a Electrolux.
Visite{nuestro sitio web para:

Obtener consejos, folletos, soluciones a problemas e informacion de service: www.electrolux.com

Registrar su producto para recibir un mejor servicios: www.electrolux.com/productregistration

Adquirir accesorios, articulos de consumo y recambios originales para su aparato: www.electrolux.com/shop
ATENCION Y SERVICIO AL CLIENTE
Le recomendamos que utilise recambios originales.
Al contactar con el Servicio, cerciórese de tener lasuma información a mano.
La información se pueda encontrar en la placá de característica. Modelo, PNC, Número de série.

Advertencia - Precaúnion-Información sobre seguidad.
Datas y recomendaciones generales
Información medioambiental
Salvomericanos.

INFORMACION SOBRE SEGURIDAD
Este aparato esADECADOParlos
siguientesmercados: CZ FR SK ES
Antes de instalar y utiliser el aparato, lea atentamente las instrucciones facilitadas. El fabricante no se hace responsable de los daños y lesiones causados por una instalación y uso Incorrectos. Guarde siempre las instrucciones jusqu'àl el aparato para futuras consultas.
SEGURIDAD DE NINOS Y PERSONAS VULNERABLES

ADVERTENCIA
Existe riesgo de sufrir asfixia, lesiones o incapacidad permanente.
- Este aparato no debe ser uso por niños, ni por personas con capacities fibras o mentalaes reduidas, ni por personas sin experiencia en el manejo del aparato, a menos que lo hagan bajo las instrucciones o la supervision de la persona responsable de su seguridad.
- Nocede que los niños juguen con el aparato.
- Mantenga los materiales de embalaje alejados de los niños.
- Mantenga a los niños y mascotas alejidos del aparato cuando está fácil configurado o enfiándose. Las piezas de fácil acces están calientes.
- Si el aparato dispone de dispositivo de seguridad para niños, se recomiendaactivarlo.
INSTALLACION

ADVERTENCIA
Sólo un的技术icoriallicadocould instalar el aparato.
- Retire todo el embalaje.
- No instale ni utilise un aparato dañado.
- Siga las instrucciones de instalacion sugministradas con el aparato.
-
Respete sempre la distancia minima entre el aparato y los demas electrodomesticos y mobiliario.
-
El aparato es pesado,onga cuidado siempre cuando lo mueva. Utilice siempre guantes de proteccion.
Proteja las superficies cortadas con un material sellante para evaporar que la humedad las hinche.
Proteja la parte inferior del aparato del vapor y la humedad. - No instale el aparato jusqu'à una puerta o bajo de una ventsa. De esta forma se evita que los recipientes calientes caigan del aparato cuando la puerta o la ventsa estén abiertas.
- Cuando instale el aparato encima de ca-jones, asegúrese de que hay suficiente espacio entre la parte inferior del aparato y el cajón superior para que circule el aire.
- La base del aparato se pueda calentar. Se recomienda colocar un panel deSeparatedación incombustible bajo el aparato para evaporar acceder a la base.
Conexión electrica

ADVERTENCIA
Riesgo de incendios y descargas electricas.
- Todas las conexiones electricas deben realizarse por electricistas提供优质.
- Antes de realizar cualquier cableado, asegúrese de que la regleta de connexion no Tiene tensión.
- Asegürese de que el aparato está instalado correctamente. Las conexiones de enchufe y tomas flojas e inadequadas peuvent sobrecalentar el borne.
- Asegürese de que hay instalada una proteccion contra descargas electricas.
- No permitted that the cables are used in the operation of the system.
- No permit to use the cables or cables that are not provided by the owner.
- No permit to use the cables or cables that are not provided by the owner.
- Coloque los cables electricos de forma que no se pueda enredar.
- Utilice una abrazadora para cable en el cable.
-
Utilice el cable de red adecuado.
-
Asegúrese de no provocar daños en el enchufe ni en el cable de red. Póngase en contacto con un electricista o con el servicios técnico para Cambiar un cable de red dañado.
- La instalación electrónica debe tener un dispositivo de aislamiento que permita desconectar el aparato de todos los po-los de la red. El dispositivo de aislamiento debe tener una aperture de contacto con una anchura minima de 3 mm.
- Use únicamente dispositivos de aislamento correctos: linea con protección ante cortocircuitos, fusibles (como tornillo que poderan retirarse del soporte), dispositivos de fuga a tierra y contactores.
Conexión del gas
- Todas las conexiones de gas deben realizarse por personalrialficado.
- Compruebe que el aire circula libremente alrededor del aparato.
- La plac de caracteristicas contiene informacion sobre el suministro de gas.
- Este aparato no está conectado a un dispositivo que evacúa los productos de combustión. Asegúrese de conectar el aparato según la normativa de instalación vigente. Preste atencion a los requisitos sobre ventilación adecuada.
USO

ADVERTENCIA
Riesgo de lesiones, quemaduras o descargas electricas.
- Utilice este aparato en entornos domésticos.
- No cambie las specifications de este aparato.
- No utilise un temporizador externo ni un sistema de mando a distancia分开o para utiliser el aparato.
- Nocede nunca el aparato desatendido,msteadasistencionamento.
- No utilise el aparato con las manos mo-jadas ni cuando entre en contacto con el agua.
- No coloque cubiertos ni tapaderas sobre la placá de cocción solida. Puede alcanzar temperatas elevadas.
-
Apague las zonas de coccción cuando secrete de cada uso.
-
No utilise el aparato como superficie de trabajo ni de almacenimiento.

ADVERTENCIA
Existe privilego de explosión o incenso.
- Las grasas o aceites calientes能把 tener evaporares inflamables. Mantenga las llamas u objetivos calientes alejados de grasas y aceites cuando cocine con ellos.
- Los vapiores que liberan los aceites muy calientesuenprovocarbustionesimprevistas.
- El aceite uso, que pueda contener restos de alimentos, puede provocar incendios a temperatas más bajas que el aceite que se utilizes por primera vez.
- No coloque productos inflamables ni objetivos mojados con productos inflamables dentro, cerca o encima del aparato.
- No intente apagar un fuego con agua. Desconecte el aparato y cubra la llama con una tapa o una manta ignifuga.

ADVERTENCIA
Podrida dāñar el aparato.
- No coloque ningún utensilio de cocina caliente en el panel de control.
- Nocede que el contenido de los utensilios de cocina hierva hasta evaporarse.
- Nocede enfiar los utensilios de cocina sobre la placacocciencia.
- No encienda las zonas de coccción sin utensilios de comida o con thesevacios.
- No coloque papel de aluminio sobre el aparato.
- No permitted that liquidos acidos, como por exemple vinagre, zumo de limón o desincrustantes de cal toquen la placadecocación. De lo contrario, podrián aparecer manchas opacas.
- Disponga de buena ventilación en la comida donde instale el aparato.
- Cerciórese de que los orificios de ventilación no están obstruidos.
-
Utilice únicamente recipientes estables con forma adecuada y diametro superior al taman de los quemadores. Existe riesgo de sobrecalentamento y rotura de la plac a vidrio (en su caso).
-
Asegürese de que la llama no se apaga cuando gire rápidamente el mando de la posición Tmaxima a la minima.
- Asegúrese de que los recipientes están centrados sobre los anillos y no sobresalen por los bordes de la superficie de cocción.
- Utilice únicamente los accesos suministrados con el aparato.
- No instale en el quemador un difusor de llamas.
MANTENIMIENTO Y LIMPIEZA

ADVERTENCIA
Podría dañar el aparato.
- Limpie periodicamente el aparato para evaporar el deterioro del material de la superficie.
- No utilise pulverizadores ni vapor de agua para limpar el aparato.
- Limpie el aparato con un paño suave humedecido. Utilice solo detergentes neutrros. No utilise products abrasivos, estropajos duros, disolventes ni objetivos de metal.
ELIMINACION

ADVERTENCIA
Existe riesgo de lesiones o asfixia.
- Póngase en contacto con las autoridades locales para saber como deearcharcorrectamente del aparato.
- Desconecte el aparato de la red.
- Corte el cable de conexión a la red y desechelo.
- Aplaste los tubos de gas externos.
DESCRIPCION DEL PRODUCTO
DISPOSICION DE LAS ZONAS DE COCCION

1 Quemador semi rápido
2 Quemador de triple corona
3 Quemadorrado
4 Quemador auxiliar
5 Mandos de control
MANDOS DE CONTROL
| Símbolo | Descripción |
| No se suministra gas / posición de apagado | |
| Posición de en-cendido / suminis-tro de gas maxi-mo | |
| Suministro de gas minimo |
USO DIARIO

ADVERTENCIA
Consulte el capitulo "Información sobre seguridad".
ENCENDIDO DEL QUEMADOR

ADVERTENCIA
Tenga mucho cuidado cuando utilise el fuego al maximo en el entorno de la comida. El fabricante declina toda responsabilidad en caso de uso indebido de la llama.

Encienda siempre el quemador antes de colocar las cacerolas o sartenes.
Para encender el quemador:
-
Gire el mando de control hacer la izquierda hasta la posicion Tmaxa ( ) y presionelo.
-
Manténgalo presionado durante aproximamente 5 segundos; de esta forma el termopar se calentará. De lo contrario, el suministro de gas se interrupirá.
-
Ajuste la llama cuando de que se normalice.

Si el quemador no se enciende tras variousintentos,compruebe que el anillo y la tapa del quemador está bien colocados.


A) Tapa del quemador
B) Corona del quemador
C) Bujía de encendido
D) Termopar

ADVERTENCIA
No mantenga presionado el mando durante más de 15segundos. Si el quemador no se enciende al cabo de 15segundos, suelte el mando de control, girelo hasta la posicion de apagado y espere al menos 1 minuto antes de volver a intentar encender el quemador.

Si no hay suministro electrico podra encender el quemador sin necessities del dispositivo electrico; en este caso arrime una llama al quemador, empuje el mando de control pertinente hacía abajo y girelo a izquierdas hasta la posicion de maximizinga calidad de gas.

Si el quemador se apaga accidentalmente, gire el mando de control hasta la posicion de apagado y espere al menos 1 minuto antes devoltar a intentar encenderlo.

Cuando se enciende la corriente,
tras la instalacion o después de un corte en el suministro electrico,
suele ser normal que el generator de las chispas se active automatically. Este es correcto.
APAGADO DEL QUEMADOR
Para apagar la llama, gire el mando hasta el síbolo

ADVERTENCIA
Recuerde que deben bajar o apagar la llama antes de retiring los reci-pientes de los quemadores.
CONSEJOS UTILES

ADVERTENCIA
Consulte el capitulo "Información sobre seguridad".
MENOS CONSUMO DE ENERGÍA
- En la medida de lo possible, cocine siempre con los recipientes tapados.
- Cuando el liquido comience a hervir, reduzca la llama de tal forma que el liquido siga cociendo.
Utilice utensilios de cocina con diámetros adequados para el時間 de los quemadores.
| Quemador | Diámetro de los utensilios de cocina |
| Triple corona | 180 - 260 mm |
| Rápido | 180 - 260 mm |
| Semirápido (trasero izquierdo) | 120 - 220 mm |
| Semirápido (delantero izquierdo) | 120 - 180 mm |
| Auxiliar | 80 - 180 mm |

ADVERTENCIA
Asegúrese de que las asas de los recipientes no sobresalen de los bordes delanteros de la placá y de que dichos recipientes están colocados en el centro de los anillos para reducir el consumo de gas.
No coloque recipientes inestables o deformados en los anillos para evapor salpicaduras y lesiones.
Información sobre acrilamidas
Importante Según los新模式 descubrimientos@científicos, el tostado intensivo de los alimentos,especially de los productos que contienen almidón, pueda ser un riesgo para la salute. Por estareason, se recomienda cocinar a bajas temperatas y no tostar excessivamente los alimentos.
MANTENIMIENTO Y LIMPIEZA

ADVERTENCIA
Consulte el capitulo "Información sobre seguridad".

ADVERTENCIA
Apague el aparato y déjelo enfiar antes de limpiarlo. Desconecte el aparato de la red electrónica antes de realizar cualquierarea del limpieza o mantenimiento.

Los arañazos o las marcas oscuras en la superficie no afectan al的功能amiento normal del aparato.
- Puede retirar las rejoillas para poderar la limpieza de la plac.
- Para limpiar las partes esmaltadas, la tapa y la corona, utilise agua jabonosa Templada y séquelas cuidadosamente antes de volver a colocarlas en su sitio.
- Lave las partes de acero inoxidable con agua y séquelas a fondo con un pañosuave.
Las rejillas no son aptas para lavar en el lavavajillas. Deben lavarse a mano. - Cuando lave las rejoillas a mano, tengacuidado al secarlas, ya que el esmaltadodefer en occasions aristas rugosas. Sifuera necessario, elimine las manchas dificiles con un limpiador en pasta.
- Una vez limpias, asegúrese de que las vuelva a colocar en su lugar.
- A fin de que los quemadores funciona en correctamente, asegúrese de que los brazos de las rejillas están en el centro del quemador.

- Tenga mucho cuidado cuando cabie las rejillas para evaporar la parte superior de la plac.
Despues de limpiarlo, seque el aparato con un paño suave.
Si el calor es demasiado intenso, el acero inoxidable se ennegrece. No debe cocinar con fuentes de barro cocido ni placas de hierro fundido. No proteja la placac de coc-. cion con papel de aluminio cuando la usa.
Eliminar la suciedad
-
- Elimine de inmediato: restosFundidos de plástico, papel de aluminio y alimentos que contengan azucar.
- Apague el aparato y déjelo en-friar antes de limpiar: restos de cal, marcas de agua, manchas de grasa y decoloraciones metálicas. Utilice un limpiador especial para placas o superficies.
- Limpie el aparato con un paño suave humedecido con agua y detergente.
- Al final seque el aparato con un pa- nio limpio.
LIMPIEZA DE LA BUJÍA DE ENCENDIDO
Esta funciona se obtiene a工程技术 de una bujía de encendido cerámica con un electrodo metalico. Mantenga tiempo limpiosesticos componentes para evaporar problemas deencendido y asegürese de que los orificiosde la corona del quemador no estén obstruidos.
MANTENIMIENTO PERIODICO
Haga revisar la instalación de gas y el ajustador de presión, si lo hubiera, regularamente y por el Centro de servicios专业技术o local.
SOLUTION DE PROBLEMAS
| Problema | Causa probable | Solutución |
| No se produce chisma al tratar de encender el gas | • No hay suministro elec-trico | • Asegúrese de que la unidad está enchufada y de que el interruptor electrico está encendi-do. • Compruebe los fusibles Si el Fuseible salta más de una vez, pángase en contacto con un electrónicariallicado. |
| • La taps y la corona del quemador no está bien colocadas. | • Compruebe que la corona y la tapa del quemador está bien colocadas. | |
| La llama se apaga justo afterwards de encenderse | • El termopar no está lo suficientemente caliente | • Después de encenderla llama, mantenga pulsado el mando durante uno 5segundos. |
| El circulo de gas no arde uniformmente | • La corona del quema-dor está bloqueada con restos de comida | • Asegúrese de que el in-yector principal no está bloqueado y de que el anillo del quemador es-té limpio. |
En caso de fallo, trate primero de SOLUTIONAR el problema por sus medios. Si no lo-gra subsanar el problema,pongase encontacto con el Centro de servicios专业技术ocal.

Si el aparato se ha utilisé de forma Incorrecta o si la instalación no ha sido realizada por un的技术ico homologado, se facturará la visita del先进技术 del service o del distribuidor, incluso en el caso de que aparato se encontrar aún en garantía.
ETIQUETAS INCLUIDAS EN LABOLSA DE ACCESORIOS
Pegue las etiquetas adhesivas como se muestra a continuación:

1 Péguela en la etiqueta de garantía y envíe esta parte
2 Péguela en la etiqueta de garantía y guarde esta parte
3 Péguela en el manual de instructcciones
Estos datos son necessarios para poder ayudarle de manière rápida y correcta. Estos datos están disponibles en la placá de caracteristicas suministrada.
- Descripción del modelo................................
- Nível de produits (PNC) ....
- Número de série (S.N.)
Utilice solo piezas de recambio originales.
Pueden Obtenerse del Centro de servicios专业技术 y en las tiendas de repuestos autorizadas.
INSTALLACION

ADVERTENCIA
Consulte el capitulo "Información sobre seguridad".

ADVERTENCIA
Las siguientes instrucciones de montaje, conexión y mantenimiento las deben poder a cabo personalrial可能导致 de acuerdo con la legislación y la normativa vigentes.
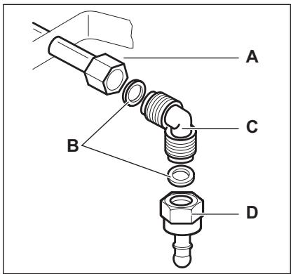
CONEXION DE GAS
Elija conexiones fjias o utilise un tubo flex-ble de acero inoxidable que cumpla la normativa vigente. Si utilizes tubos metálicosflexibles,onga cuidado de que no entrada encontacto con las partes mviles ni esténretorcidos.Preste también atencion cuandola placas se instale junto con unorno.

Asegúrese de que la presión del suministro de gas del aparato cumple los valores recomendados. La conexión ajustable se fija a la rampa por medio de una tuerca roscada G 1/2". Atornille las piezas sin fuerza, ajuste la conexión en la dirección adecuada y apriete todo.

A) Extremo del eje con tuerca
B) Arandela (la arandela adicional sólo es para Eslovenia y Turquía)
C) Codo
D) Soporte del tubo de goma para el gas liquido (solo para Eslovenia y Turquía)
Conexión con tubos flexibles no metálicos:
Si es posible controlar fácilmente la conexión en toda el área, pueda usar un tubo flexible. Sujetefirmamenteel tuboflexible con abrazaderas.
Gas liquido: utilise el soporte de tubos de goma. Acople siempre la junta. Continué con la connexion del gas. El tubo flexible se pueda aplicar cuando:
- la temperatura que alcance no supere la temperatura ambiente (más de 30^ );
- no teng a una longitud superior a 1.500 mm;
- no presente obturaciones;
- no está sometido a tracción o torsión;
- no entre en contacto con cordes o esquinas cortantes;
- se pueda revisar con fácilidad para comprobar su estado.
El control de la correcta conservacion del tubo flexible consiste en comprobar lo siguiente:
- no presente arañazos, cortes, MARCAS de quemaduras en ambos extremos y toda la longitud;
- el material no está end缬ecido, sino que presenta una elasticidad correcta;
- las abrazaderas de sujeción no está oxidadas;
- el plazo de caducidad no ha vencido.
Si observa uno o más defectos, no repare el tubo: cambiolo.

Cuando la instalacion este terminada, asegurese de que el sello de cada racor del tubo es correcto. Utilice una solución jabonosa, nunca una llama.
SUSTITUCION DE LOS INYECTORES
- Retire los soportes para sartenes.
- Retire las tapas y las coronas del que-mador.
-
Con una llave tubular del 7, desatornille y retire los inyectores y sustituyanos por los adecuados al tipo de gas que va a utiliser (consulte la tabla del capítulo "Información技术水平a").
-
Vuelva a montar las piezas siguiendo el procedimiento anterior enorden inverso.
- Sustituya la placía de característica (situada cerca del tubo de suministro de gas) por la placía correspondiente al nuevo tipo de suministro de gas. Encontrará esta placía en el embalaje del aparato.
Si la presión del suministro de gas se pue decaebranch o esdifferente de la necessities, debe instalar un regulator de presión adecuado en el tubo del suministro de gas.
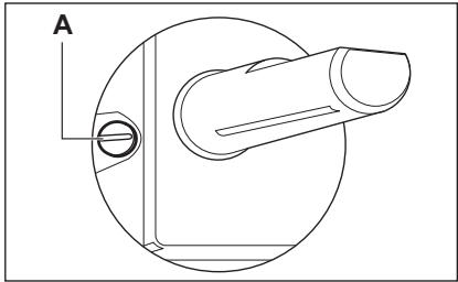
AJUSTE DEL NIVEL MINIMO
Paraaabstarenlinelminimo delsquemadores:
- Encienda el quemador.
- Gire el mando hasta la posicion minima.
- Retire el mando
- Con un destornillador plano, ajuste la posición del tornillo de derivación.

A) Tornillo de derivación
- Si cambía del gas natural G20 de 20 mbares al gas liquido, apriete totalmente el tornillo de derivación.
- Si cambia de gas liquido a gas natural G20 de 20 mbares, desatomille el tornillo de derivacion aproximadamente un cuarto de vuelta (media vuelta para el quemador de triple corona).

ADVERTENCIA
Asegürese de que la llama no se apaga cuando gire rápidamente el mando de la posición Tmaxima a la posición minima.
CONEXION ELECTRICA
-
Conecte el aparato a tierra conforme a las precauciones de seguridad.
-
Asegürese de que el voltaje nominal y el tipo de suministro que indica la placá de datos技术水平icos coinciden con los del lugardonde se va a instalar el aparato
- Este aparato se suministra con un cable de alimentacion. Debe estar equipado con un enchufe adecuado, capaz de soportar la energia indicada en la placac decharacteristicas. El enchufe se debe colocar en una toma de corriente adecuada.
- Cualquier sustitución de los componentes electricos debe dejarse en manos del personal del Centro de serviceo o de un profesionalriallicado y homologado.
- Utilice siempre una toma con aislamiento de connexion a tierra correctamente instalada.
- Asegürese de que se pueda acceder al enchufe del suministro de red una vez instalado el aparato.
- No desconecte el aparato tirando del cable de connexion a la red. Tire siempre del enchufe.
- El aparato no se debe conectar con un cable de prolongacion, adaptador o conexion multiple (riesgo de incendio). Asegürese de que la conexion a tierra cumple la legislacion y normas vigentes.
- El cable de alimentación se debe colocar de forma que no entre en contacto con ninguna pieza caliente.
- El aparatoDebe connectarse al suministro electrico con un dispositivo que permita disconnectar el aparato deicho suministro en todos los polos conSeparateda minima de 3 mm entre s; por exemple, disyuntores automaticos de proteccion en linea, fusibles o disyuntores de fuga a tierra.
- Ninguna parte del cable de connexion de be alcanzar una temperatura de 90^ . El cable neutro de color azul debeir conec-tado a la bona "N" de la regleta. El cable de fase de color marron (o negro) (conectado a la bona "L" de la regleta) de-be estar sempre connectado a la fase con corrente.
SUSTITUCION DEL CABLE DE CONEXION
Si desea cambiar el cable de connexion, utilise uniquamente cables del tipo H05V2V2-F T90 o su equivalente. Asegürese de que la
sección de cable sea adecuada para la tensión y la temperatura de functionamiento. El cable de puesta a tierra de coloramarillo/verde debe serunos 2 cm más largo que el cable de fase marrón (o negro).

ENCASTRADO


A) sello suministrado
B) abrazaderas suministradas
POSIBILIDADES DE INSERCION
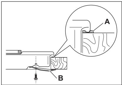
Unidad de cocina con puerta
El panel instalado bajo de la placar debe poder retirarse fácilmente y permitir el ac
ceso en caso de que seanecessaryrealizar una intervencion de assistencia的技术ica.

A) Panel extraible
B) Espacio para las conexiones
Unidad de comida con horno
Las dimensiones del hueco para la encimera deben Respectar lasindicaciones y elmueble de casa debeatar con ventilaciones que permitan un suministro continuo de aire. La connexion electrica de la encimera y el hora deestallarse por separado para garantizar la seguridad y poderrearir fácilmente el hora de la unidad.

INFORMACION TECNICA
Dimensiones de la encimera
| Anchura: | 744 mm |
| Longitud: | 510 mm |
Dimensiones del hueco para la encimera
| Anchura: | 560 mm |
| Longitud: | 480 mm |
Consumo calorifico
| Quemador de tri- ple corona: | 4,0 kW |
| Quemador rápido | 3,0 kW |
| Quemador semi rápido: | 2,0 kW |
| Quemador auxi- liar: | 1,0 kW |
| POTENCIA TO- TAL: | G20(2H) 20 mba- res = 12 kW G30 (3+) 28-30 mbares = 858 g/h G31 (3+) 37 mba- res = 843 g/h |
| Suministro electri-co: | 230 V ~ 50 Hz |
| Categoría: | II2H3+ |
| Conexión del gas: | G 1/2" |
| Suministro de gas: | G20 (2H) 20 mba-res |
| Clase de aparato: | 3 |
Diámetros de las derivaciones
| Quemador | Ø de la derivación en 1/100 mm. |
| Auxiliar | 28 |
| Semi=rápido | 32 |
| Rápido | 42 |
| Triple corona | 56 |
Quemadores de gas
| QUE-MA-DOR | POTEN-CIA NORMAL | PO-TENCIA REDU-CIDA | POTENCIA NORMAL | ||||
| GAS NATURAL G20 (2H) 20 mbares | GLP (Butano / Propano) G30/G31 (3+) 28-30/37 mbares | ||||||
| kW | kW | iny 1/100 mm | m³/h | iny 1/100 mm | G30 28-30 mbares | G31 37 mbares | |
| g/h | g/h | ||||||
| Auxiliar | 1.0 | 0.33 | 70 | 0.095 | 50 | 73 | 71 |
| Semirrá-pido | 2.0 | 0.45 | 96 | 0.190 | 71 | 145 | 143 |
| Rápido | 3.0 (gas natural) 3.2 (GLP) | 0.75 | 119 | 0.286 | 86 | 204 | 200 |
| Triple corona | 4.0 | 1.4 | 146 | 0.381 | 98 | 291 | 286 |
ASPECTOS MEDIOAMBIENTALES
Recicle los materiales con el símbolo Coloque el material de embalaje en los contenedoresADEUCADAPARO SU RECYCLAJE Ayude a proteger el medio ambiente y la salute publica, asi como a reciclar residuos de aparatos electricos y electrónicos. No
deseches los aparatos marcados con el symbolo junto con los residuos domesticos. Lleve el producto a su centro de reciclaje local opongase en contacto con su oficina municipal.
C E

ManualFácil