EHO8840FOG - Bandeja para hornear AEG-ELECTROLUX - Manual de uso y guía de instrucciones gratis
Encuentra gratis el manual del aparato EHO8840FOG AEG-ELECTROLUX en formato PDF.
| Tipo de producto | Placa de cocción por inducción |
| Número de zonas | 4 zonas de inducción |
| Dimensiones aproximadas | 81,5 x 51,5 cm |
| Peso | 11,5 kg |
| Alimentación eléctrica | 230 V / 400 V |
| Potencia total | 7400 W |
| Funciones principales | Boost, temporizador, detección de cacerola |
| Material de la superficie | Cerámica vitrocerámica |
| Mantenimiento y limpieza | Superficie lisa, fácil de limpiar con un paño húmedo |
| Piezas de repuesto y reparabilidad | Disponibilidad de piezas de repuesto según el modelo |
| Seguridad | Bloqueo para niños, apagado automático |
| Compatibilidades | Compatible con utensilios de cocina por inducción |
| Información general | Instalación empotrable, diseño moderno |
Preguntas frecuentes - EHO8840FOG AEG-ELECTROLUX
Questions des utilisateurs sur EHO8840FOG AEG-ELECTROLUX
0 question sur cet appareil. Repondez a celles que vous connaissez ou posez la votre.
Poser une nouvelle question sur cet appareil
Descarga las instrucciones para tu Bandeja para hornear en formato PDF gratis! Encuentra tus instrucciones EHO8840FOG - AEG-ELECTROLUX y toma tu dispositivo electrónico nuevamente en la mano. En esta página están publicados todos los documentos necesarios para el uso de su dispositivo. EHO8840FOG de la marca AEG-ELECTROLUX.
MANUAL DE USUARIO EHO8840FOG AEG-ELECTROLUX
Comece por definir o grau de cozedura para una das zonas de cozedura.
ParaactivaracConnectFunction,toque em .Paradefiniroualterarograudecozedura,toque num dos sensores decomando.
Para desactivar a Connect Function, toque en 3 . As zonas de cozedura funcionam de forma independente.
4.6 Aquecimiento Automático
Esta funciona evita o funciona bajo el medio do aparecido.
5.5 Öko Timer (temporizador Eco)

- INFORMACION SOBRE SEGURIDAD 58
- INSTRUCCIONES DE SEGURIDAD 59
- DESCRIPCION DEL PRODUCTO 61
4.USO DIARIO 63 - CONSEJOS UTILES 67
- MANTENIMIENTO Y LIMPIEZA 70
- SOLUCION DE PROBLEMAS 71
- INSTALLACION 73
- INFORMACION TECNICA 75
PENSAMOS EN USTED
Gracias por adquirir un produit Electrolux. Ha escogido un produit que contiene décadas de experiencia e innovación profesionales. Ingenioso y Elegant, se ha disnéado pensando en usted. Así que, siempre que lo utilise pueda tener la seguridad de que conseuigira excellentes resultados.
Bienvenido a Electrolux.
Visite{nuestro sitio web para:

Obtener consejos, folletos, soluciones a problemas e informacion de service: www.electrolux.com

Registrar su producto para recibir un mejor servicios: www.electrolux.com/productregistration

Adquirir accesos, articulos de consumo y recambios originales para su aparato: www.electrolux.com/shop
ATENCION Y SERVICIO AL CLIENTE
Le recomendamos que utilise recambios originales.
Al contactar con el Servicio, cerciorese de tener lasuma informacion a mano.
La información se pueda encontrar en la placá de característica. Modelo, PNC, Número de série.

Advertencia - Precaúnion-Información sobre seguidad.

Datas y recomendaciones generales

Información medioambiental
Salvo modificaciones.
1. INFORMACION SOBRE SEGURIDAD
Antes de instalar y utiliser el aparato, lea atentamente las instrucciones realizadas. El fabricante no se hace responsable de los días y lesiones causados por una instalación y uso Incorrectos. Guarde siempre las instrucciones jusqu'à con el aparato para futuras consultas.
1.1 Seguidad de niños y personas vulnerables

ADVERTENCIA
Existe riesgo de sufrir asfixia, lesiones o incapacidad permanente.
- Este aparato puede ser utilisé por niños de 8 años en adelante y por personas cuyas capacities físicas, sensoriales o mentalaes estén disminuidas o que carezcan de la experiencia y conocimientos suficientes para manejarlo, siempre que@cuenten con la supervisión de una persona que se responsabilece de su seguridad.
- No deje que los niños juguen con el aparato.
- Mantenga los materiales de embalaje alejados de los niños.
- Mantenga a los niños y mascotas alejados del aparato cuando está的功能ando o enfriándose. Las piezas de fácil acceso estar calientes.
- Si el aparato dispone de dispositivo de seguridad para niños, se recomienda activarlo.
- Evite que un niño lleve a cabo la limpieza y el mantenimiento de usuario sin la supervisión adecuada.
1.2 Seguridad general
- El aparato y las piezas accesibles se calientan mucho durante el funcionaimiento. No toque las resistencias.
-
No acontece el aparato con un temporizador externo ni con un sistema de mando a distancia independiente.
-
Cocinar con grasa o aceite sin estar presente pueda resultar peligrosso, ya que podra occasionarse un incenso.
- Nunca intente apagar un fuego con agua; apague el aparato y cubra la llama con una tapa o una manta ig-nífuga.
- No utilise las superficies de cocccion para almacenar alimentos.
- No utilise un limpiador a vape para limpiar el aparato.
- No deje objetos metálicos, como cuchillos, tenedores, cuccharas o tapas sobre la superficie de coccción para evaporar que se calienten.
- Si la superficie vitrocerámica está agrietada, apague el aparato para evaporar el riesgo de descarga electrica.
- Tras el uso, apague la zona de coccción con el mando y no preste atencion al detector de時間.
2. INSTRUCCIONES DE SEGURIDAD
2.1 Instalación

ADVERTENCIA
Solo una persona@cualificada pue de instalar el aparato.
- Retire todo el embalaje.
- No instale ni utilise un aparato dañado.
- Siga las instrucciones de instalación sugministradas con el aparato.
- Respete sempre la distancia minima entre el aparato y los demás electrodomésticos y mobiliario.
- El aparato es pesado, tengacuidado siempre cuando lo mueva. Utilice siempre guantes de proteccion.
Proteja las superficies cortadas con un material sellante para evaporar que la humedad las hinche.
Proteja la parte inferior del aparato del vapor y la humedad. - No instale el aparato jusqu'à una puerta o debajo de una ventsa. De esta for
ma se evita que los recipientes calientes caigan del aparato cuando la puerta o la ventana estén abiertas.
- Cuando instale el aparato encima de cajones, asegúrese de que hay suficiente espacio entre la parte inferior del aparato y el cajón superior para que circule el aire.
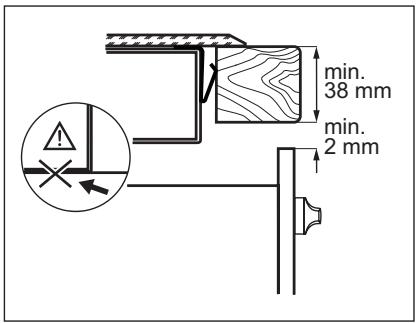
- Deje un espacio de ventilación de 2 mm entre la encimera y el frrente de launidad situada bajo ella. La garantía no cubre los dáños causados por la falta de una ventilación adecuada.
- La base del aparato se pueda calentar. Se recomienda colocar un panel deSeparated no combustible bajo el aparato para evaporar acceder a la base.
Conexión electrica

ADVERTENCIA
Riesgo de incendios y descargas electricas.
- Todas las conexiones electricas deben realizarlas electricistas@cualificados.
- El aparatoDebe quedar conectado a tierra.
- Antes de efectuarrialquier tipo de operation, compruebe que el aparato estedesenchufado de la corrente electrica.
- Utilice el cable de red electrica adeca-
do. - Coloque los cables electricos de forma que no se pueda enredar.
- Asegürese de que el cable o el enchufe (en su caso) no toquen el aparato caliente ni utensilios de comida calientes cuando conecte el aparato a las manos cercanas.
- Asegürese de que el aparato está instalado correctamente. Un cable de red o enchufe (en su caso) flojo o inadequado puede provocar que el terminal se caía en excesso.
- Asegürese de que hay instalada una proteccion contra descargas electricas.
- Establezca la descarga de tracción del cable.
- Asegúrese de no provocar danos en el enchufe (en su caso) ni en el cable de red. Póngase en contacto con un electricista o con el servicios técnico paraonian cable de red dañado.
- La instalación electrica debe tener un dispositivo de aislamiento que permita desconectar el aparato de todos los polos de la red. El dispositivo de aislamiento debe tener una aperture de contacto con una anchura minima de 3 mm.
- Use únicamente dispositivos de aislamento apropriados: linea con protección contra los cortocircuitos, fusibles (como tornillo que pueda detirarse del soporte), dispositivos de fuga a tierra y contactores.
2.2 Uso

ADVERTENCIA
Riesgo de lesiones, quemaduras o descargas electricas.
- Utilice este aparato en entornos domésticos.
-
No cambie las specifications de este aparato.
-
Nocede nunca el aparato desatendido,msteadasistencionamento.
- No utilise el aparato con las manos mojadas o cuando esté en contacto con el agua.
- No coloque cubiertos ni tapaderas sobre las zonas de cocción. Pueden alcanzar temperatasies elevadas.
- Apague las zonas de cocccion afterwards de cada uso. No preste atencion al detector de時間.
- No utilise el aparato como superficie de trabajo o almacenimiento.
- Si la superficie del aparato está agrieta, desconecte inmediamente el aparato de la fuente de alimentacion. De esta forma evitara descargas electricas.
- Los)."Los)."Los)"Los"les"los"los"los"los"los"los"los"los"los"los"los"los"los"los"los"los"los"los"los"los"los"los"los"los"los"los"los"los"los"los"los"los"los"los"los"los"los"los"los"los"los"los"los"los"los"los"los"los"los"los"
- Cuando se coloca comida en aceite caliente, este puede saltar.
!
ADVERTENCIA
Existe peligro de explosión o incendio.
- Las grasas o aceites calientes能把 genera vapores inflamables. Mantenga las llamas u objetos calientes alejados de grasas y aceites cuando cocine con ellos.
- Los vapeores que liberan los aceites muy calientes peuvent provocar combustiones imprevistas.
- El aceite uso, que pueda contener restos de alimentos, puede provocar incendios a temperatas más bajas que el aceite utilizado por primera vez.
- No Coloque produits inflamables ni objetivos mojados con produits inflamables, dentro, cerca o encima del aparato.
!
ADVERTENCIA
Podrdaanar el aparato.
- No coloque ningún utensilio de cocina caliente en el panel de control.
- Nocede que el contenido de los utensilios de cocina hierva hasta evaporarse.
-
Evite la caía de objetos o utensilios de cocina en el aparato. La superficie pueda dañarse.
-
No encienda las zonas de cocción sin utensilios de comida o con ellosvacios.
- No coloque papel de aluminio sobre el aparato.
- Los utensilios de cocina de hierro o alminio fundido, o que tengan la base dañada, pueda arañar la vitrocerámica. Levante siempre这些东西 objetivos cuando tengue que moverlos sobre la superficie de coccción.
2.3 Mantenimiento y limpieza

ADVERTENCIA
Podrda dañar el aparato.
- Limpie periodicamente el aparato para evaporar el deterioro del material de la superficie.
-
No utilise pulverizadores ni vapor de agua para limpar el aparato.
-
Limpie el aparato con un paño suave humedecido. Utilice solo detergentes neutros. No utilise products abrasivos, estropajos duros, disolventes ni objetivos de metal.
2.4 Desecho

ADVERTENCIA
Existe riesgo de lesiones o asfixia.
- Póngase en contacto con las autoridades locales para saber como desechar correctamente el aparato.
- Desconecte el aparato de la red.
- Corte el cable de connexion a la red y desechelo.
3. DESCRIPCION DEL PRODUCTO

- Zona de cocclusion por induccion
- Zona de coccción por induccion
- Zona de cocclusion por induccion
- Panel de control
- Zona de coccción por induccion
3.1 Disposition del panel de control

Utilice los sensores para hacer el aparato. Las pantallas,indicadores y señales acústicas indican quémericanos están en funcionaimiento.
| Sensor | Función | |
| 1 | ① | Para activar y desactivar el aparato. |
| 2 | ® | Para activar y desactivar el Bridge Func- tion. |
| 3 | STOP +GO | Para activar y desactivar la funciona STOP +GO. |
| 4 | ® | Para activar la funciona Cook Assist. |
| 5 | P | Para activar la funciona Power Boost. |
| 6 | Pantalla | Paraunar las functions que están operativas. |
| 7 | Barra de control | Permitteaabstar los niveles de calor. |
| 8 | ☑ | Paraaabstar el temporizador (Contador automático, Timer power-off y Avisador tiempo) y bloquear / desbloquear el pa- nel de control. |
| 9 | ∧/∨ | Sirve para programar un ajuste. |
| 10 | OK | Para confirmar los ajustes. |
3.2 Pantalla
Los mensajes de la pantalla y los sonidosDICen qué functions se han iniciado.

A) Las zonas de cocción
B) Timer power-off
C) Indicador del Avisador tiempo
D) Se usa la funciona de bloqueo de la puerta.
E) La función STOP go estáactivada.
| La zona de coccción enpellalla | Descripción |
| 12 15:23 | La zona de coccción está en funciona bajo: temporizador. |
| II | La función Mantener caliente / STOP+GO está activa. |
| P | Power Boost está activado. |
| POWER | Power Boost referencia. |
| 6 | Zona en ajuste. |
| ? | No hay ningún recipientete sobre la zona de coccción. |
| A | Se usa la funciona de calentimiento automatístico. |
| ○○○○ | OptiHeat Control. La zona de coccción está apagada. El時間 y el color indican el calor residual: • Rojo grande: cocinando • Naranja grande -mantener caliente • Amarillo(PC)queño -todavía caliente • Gris(PC)queño -la zona de coccción está fria |
3.3 Calor residual

ADVERTENCIA
Tras cocinar, la zona de coccción se mantiene caliente. Riesgo de quemaduras!
Las zonas de coccción por inducción generan y aplican directamente en la base del recipiente el calor necessario para cocinar, lo que hace que la superficie vitrocerámica se caliente por el calor residual del本身就是.
4. USO DIARIO

ADVERTENCIA
Consulte los capitulos sobre seguidad.
4.1 Activación y desactivación
Toque ① durante 1 segundo para encender o apagar el aparato.
4.2 Desconexión automática
La funciona desconecta automatistically el aparato siempre que:
- Todas las zonas de coccción está apagadas.
- no se ajusta un nivel de calor cuando de encender el aparato
- Se vierte algo o se coloca某个 dato sobre el panel de control durante más de 10segundos(un recipiente, un trapo,etc.).El aparato emite varias vezes una signa acustica y la placacapapa. Retire el dato o limpie el panel de control.
- El aparato está demasiado caliente (por exemple, el contenido de un recipienthe hervido hasta agotarse el liquido). Espere a que la zona de cocción se enfré antes de utiliser la placá de nuevo.
- Se utilizes un utensilio inadequado. Se illumina el símbolo? y la zona de coccción se apaga automatistically desdeclines de 2 horas.
- Noague una zona de coccción ni cambie la temperatura. Tras un momento, el aparato se apaga. Consulte la tabla.
-
La relacion entre el ajuste de temperatura y las horas de la función de Desconexión automatística:
-
1 - 3 - 6 horas
- 4 - 7 - 5 horas
- 8 — 9 — 4 horas
- 10 - 14 - 1,5 horas
4.3 SeLECTION DEIDIOMA
Paracaebar elidioma,encienda el aparato con ① y pulse OK.Ajuste el menu idioma con las flechas.Toque OK para confirmar.La pantalla muestra la lista de idiomas.Toque oVparaajustar elidioma.Toque OK para confirmar.
4.4 Ajuste de temperatura
Toque el nivel de calor en la barra de control. Mueva el dedo por la barra de control para携带ar el nivel. No suele la barra hasta que tengal el nivel de calor correcto.

Utilice Connect Function con el accesorio Infinite Plancha4).
Connect Function conecta dos zonas de cocccion delazo izquierdo bajo el accesorio y funciona como una sola.
Seleccione en primer lugar el nivel de calor de una de las zonas.
Para activar Connect Function, toque Si眼看 ajustar oCambiar el nivel de calor, pulse uno de los sensores.
Para desactivar Connect Function, toque. Las zonas de cocccion funcionan de manera independiente.
4.6 Calentimiento automatico
Puede ajustar el calor necessario de forma mas rápida si activa la funciona Calentimiento automatico.Esta funciona ajusta el calor más alto durante un tiempo (consulte el gráfico) y a continuación lo reduce hasta el ajuste adecuado.
Para起初 la función de Calentimiento automatico para una zona de coccción:
- Toque P (P'aparece en la pantaIIa).
- Toque inmediamente el ajuste de calor necessario. Transcurridos 3 segundos, [R] aparece en la pantalla.
4) El accesorio Infinite Plancha no se suministra con el aparato. Para Obtener más información, pángase en contacto con su distribuidor local.
Para detener la funciona cambie el ajuste de temperatura.

4.7 Power Boost
Power Boost suministra potencia adicional a las zonas de cocccion por induccion, Power Boost se pueda activar durante un periodo de tiempo limitado (consulte el capitulo sobre la Informacion技术水平ica). Transcurrido ese tiempo, la zona de cocacion adopts automatically el nivel de temperatura mas alto.
Para activar la funciona, toque P;P se enciende en el anillo. Conforme se calienta la zona, el color del anillo varia. Para apagar, cambie el ajuste de temperatura.
4.8 Administrador de energia
La funciona de gestión de la energia divide la potencia entre las dos zonas de coccción que forman un par (consulte la figura). Power Boost incrementa la potencia al máximo para una de las zonas de coccción del par. L apotencia disminuye automatistically en la segunda zona de coccción. La Pantalla de ajuste de calor para la zona reducida cambia entre dos niveles.

4.9 Temporizador
Hay 3funciones de temporizador: Contador automático,Timer power-off y Avisador tiempo. Para seleccionar la funciona del temporizador, pulse varias vezes hasta que se ilumine elindicador de la funciona necessitiesa.
念 Contador automatico
Utilice esta funciona para superviar el tiempo de funcionaimiento de la zona de coccción. Se inicia automatistically y aparece bajo el valor de calor de la zona de coccción.
- Para reinicier el Contador automatico, pulse 📁 hasta hacer a Contador automatico 📁. Después selección la zona de cocación de la lista con las flechas y pulse OK para confirmar.
Utilice el Timer power-off para regular el tiempo que deseee Maintener encendida una zona de cocción.
Pulse dos vezes para acceder al Timer power-off. Después selección la zona de coccción de la lista con las flechas y pulse OK para confirmar. Ajuste el tiempo con las flechas y pulse OK para confirmar. Cuando ha transcurrido el tiempo, se activa la señal acústica y parpadea.
- Para detener la postal acústica: to-que
Avisador tiempoo
Pulse [v] tres vezes para acceder al Avisador tiempo. Ajuste el tiempo con las flechas. Se enciende el indicator del Avisador tiempo. Cuando ha transcurrido el tiempo, se activa la seals acústica y parpadea.
- Para detener la postal acústica: to-que
4.10 STOP+GO
La funcionaajusta todas las zonas de coccion en configuracion al nivel de calor mas bajo (口)
Cuando _go^STOP está en configuracion, no se
puede cabiar el ajuste de temperatura. La referencia no detiene la referencia del
temporizador.
- Para activar esta funciona, toque STOP Se encenderá el símbolo (Ⅱ).
- Para desactivar esta funciona, toque STOP GO. Seactivara la temperatura que se haya seleccionado anteriorsmente.
4.11 Funcion Cook Assist
Esta funciona le permite selectionar uno de los tres niveles para freir, que define la temperatura de los utensilios de casa. El aparato mantiene automatamente la temperatura(PC:specifica al freir.Puede selectionar la referencia para la zona de cocccion delantera izquierda del aparato.
| Simbolo | Nivel para freir | Sugerencia de ali-mentos |
| Nivel bajo | Huevos | |
| Nivel me-dio | Tortitas | |
| Nivel alto | Bistecs |
Activación y desactivación de la funciona Cook Assist.
Paraactivar la funciona:
-
Coloque una sartén vacía en la zona de coccción delantera izquierda.
-
Pulse
- Utilice y para elegir un nivel pa-ra freir.Confirme su seleccion con OK
- Espere hasta que el aparato detecte los utensilios de cocina.
- Después de un tiempo能把 elegir con ∧ y ∨ si desea utilizar la función de placá de grill Plancha.
- Confirme su selección con OK.
- Espere hasta que los utensilios de cocina alcancen la temperatura del navel seleccionado para freir (la pantalla muestra la informacion).
- Coloque el alimento en la sartén.
Para desactivar la funciona:
- Toque 0 en la zona de cocción delantera izquierda.
- Utilice y para indicar que desea desactivar la funciona.
- Confirme su selección con OK.
Función de placá de grill Plancha
La funciona de placac de grill Plancha le permite utilizing la funciona Cook Assist con el accesorio Infinite Plancha de Electrolux o AEG.La funciona de placac de grill Plancha conecta dos zonas de coccion de la izquierda para la funciona Cook Assist de forma que functionen como si fueran una.
Ajuste de la temperatura para la función Cook Assist
Si los resultados no están a la alta de sus expectativas,可以更好star la temperatura para freir.
Para ajustar la temperatura toque para augmentarla o para reducirla.
- Cuandourrenta la temperatura se en

- Cuando reduce la temperatura se en

El aparato recuerda su ajuste de temperatura para la proxima vez que lo usa.

PRECAUCION
Utilice sartenes laminadas solo con niveles de cocción bajo y medio para evaporar daños y sobrecalentimiento de los utensilios de cucina.

No实用性 tapas con la direccion Cook Assist.
4.12 Bloquear
Con las zonas de coccción en configuración, se pueda bloquear el panel de control, pero no ① . Evita el cambio accidental del nivel de calor.
Activación del Bloqueo
- Ajuste el nivel de calor que desee.
- Toque y hasta que aparezca el sibbolo de la referencia Bloqueo.
- Confirme laactivacionde lafuncion conOK.Se encendera elsimpilo Eltemporizadorse mantiene activo.
Para desactivar esta funciona, toque
. Seactivar la temperatura que se haya的选择acionado anteriormente.

La funciona también se desactiva cuando se apaga el aparato.
4.13 Dispositivo de seguidad para niños
Estamericano.
Para activar el dispositivo de seguidad para niños:
-
Apanege el aparato con ①.
-
Cuando el aparato se está apagando, toque l . La pantalla indica con un mensaje que el dispositivo de seguidad está activo.
Para desactivar el dispositivo de seguidad para niños
- Encienda el aparato con ①.
Toque y afterwards OK.
Para anular el dispositivo deseguidad para niños una sola vez
- Encienda el aparato con ① . Toque ∧ y ∨ simultanamente.
- Ajuste la temperatura antes de que transcurran 10segundos. Ya pueda utiliser el aparato. El dispositivo de seguidad para niños seactivara de nuevo en cuando apague el aparato con ①
4.14 Desactivación y activación del sonido
Active el aparato. Toque OK y después ajuste el sonido con las flechas. Toque OK para confirmar. Ajuste la option con las flechas. Toque OK para confirmar. Cuando está activa esta funciona, solo se oye el sonido cuando:
- se toca ①
- el Avisador tiempo se apaga
- el Power-off timer se apaga
- se Coloque algo en el panel de control.
5. CONSEJOS UTILES

ZONAS DE COCCION POR INDUCTION
En las zonas de cocción por inducción, la presencia de un fuerte camino magnético calienta los recipientes muy rápidamente.
5.1 Recipientes para las zonas de coccción por inducción

Utilice las zonas de cocccion con los utensilios de comida adeca- dos.
Material de los recipientes
- correcto: hierro fundido, acero, acero esmaltado y acero inoxidable con ba-
ses formadas por varias capas (indicados por el fabricante como aptos para induccion).
- incorrecto: aluminio, cobre, latón, cristal, cerámica, porcelain.
El recipiente es indicado para cocinar por induccion si...
...coulde calendar en poco tiempo unacantidadklequea de agua con el nivelde calor maximo.
... el imán se adhiere a la base del recipiante.

Utilice recipientes con la base mas gruesa y plana possible.
5.2 Uso de las zonas de cocccion

IMPORTANT
Cologne el utensilio de cucina sobre la cruz que figura en la superficie sobre la que cucina. Cuba por completo la cruz. La parte magnética de la base del utensilio de cucina debe tener un minimum de 125~mm . Las zonas de cocción por inducción se adaptan automatistically al時間 de la base de los utensildos de cucina. Puede cocinar con utensildos de cucina de mayores dimensiones utilizing dos zonas de cocción al mesmo tiempo.
5.3 Ruidos durante la utilización
Es possible que escuche los ruidos seguides:
- cruzijo: el utensilio de cocina está fabricado con distinctos temas de materiales (construccion por capas).
- silbido: utilizar una o variedas zonas de coccción a temperatas muy altas y con utensilios de cocina cuya base está hecha de distinctos materiales (construccion por capas).
- zumbido: el nivel de calor正常使用 es alto.
- chasquido:发展机遇 en el suministro electrico.
- siseo, zumbido: el ventilador está en funciona.
Los ruidos descritos son normales y no indican fallo algo nelo del aparato.
5.4 Ahorro energetico

Cómo ahorrar energia
- En la medida de lo possible, cocine siempre con los recipientes tapados.
- Coloque el recipiente sobre una zona de cocccion antes de encenderla.
- Utilice el calor residual para Maintener calientes los alimentos o derretirlos.

Eficacia de la zona de cocción
La eficacia de la zona de cocccion está relacionada con el diametro del recipiente. Un recipiente con un diametro inferior al minimo solo recibe una parte de la potencia generada por la zona de cocccion. Consulte los diametros minimos en el capitulo sobre Informacion的技术ica.
5.5 Öko Timer (temporizadora ecologico)

Con el fin de ahora Energía, la resistencia de la zona de coccción se apaga antes de que suene la sealsl del temporizador de cuenta atrás. La diferencia en el tiempo de uso depellación depende de la temperaturea de calentimiento y de la duración de la coccción.
5.6 Ejentes de aplicaciones de coccción
La relacion entre el ajuste de calor y el consumo de potencia de la zona de cocciudad no es lineal.
Cuando se aumento el ajuste de calor, no es proportional al aumento del consumo de potencia de la zona de coccción.
Significa que la zona de cocccion con el ajuste de calor medio usa menos de la mitad de su potencia.

Los datos de la tabla son solo orientativos.
| Aju ste del ni-vel de ca-lor | Utilícelo para: | Tiempo | Sugerencias | Consumo de poten-cia nominal |
| 1 | Mantener calientes los alimentos cocinados | según sea necesario | Tapar los recipientes | 3 % |
| 1 - 3 | Salsa holandesa, de- rrettir: mantequilla, cho- colate, gelatina | 5 - 25 min | Remove periodica-mente | 3 - 8 % |
| 1 - 3 | Cuajar: tortilla, huevos revueltos | 10 - 40 min | Cocinar con tapa | 3 - 8 % |
| 3 - 5 | Arroces y platos coci- nados con leche, ca- lentar comida prepa- radas | 25 - 50 min | Añadir al menos el doble de liquido que de arroz; los platos lácteos deben remo- verse entremedias | 8 - 13 % |
| 5 - 7 | Cocinar al vapor verdu- ras, pescados o carnes | 20 - 45 min | Añadir varias cucha- radas de liquido | 13 - 18 % |
| 7 - 9 | Cocinar patatas al va- por | 20 - 60 min | Utilice como máximo ¼ I de agua para 750 g de patatas | 18 - 25 % |
| 7 - 9 | Cocinar grandes canti- dades de alimentos, estofados y sopas | 60 - 150 min | Hasta 3 I de liquido además de los ingre-dientes | 18 - 25 % |
| 9 - 12 | Freír ligeramente: esca- lopes, ternera "cordon bleu", chuletas, ham- burguesas, salchichas, hígado, filetes ruros, huevos, tortitas, ros- quillas | como esti- me necesa- rio | Dar la vuelta a media cocción | 25 - 45 % |
| 12 - 13 | Freír a temperatura fuerte, bolas de patata, filetes de lomo, filetes | 5 - 15 min | Dar la vuelta a media cocción | 45 - 64 % |
| 14 | Hervir agua, cocer pasta, dorar carne (gulash, asado), freír patatas | 100 % | ||
| P | Hervir grandes cantidades de agua. La funciona Power está activada. |
5.7 Consejos para la funciona Cook Assist
Para Obtener resultadosolestimos con la referencia Cook Assist:
- Inicie la funciona con el aparato frío (no esnecessary calentarmanualmente los utensilios de cocina).
- Utilice utensilios de cocina de acero inoxidable con fondo "sandwich".
- No utilise utensilios de cucina con el fondo repujado.
Ejmplos de aplicaciones de cocccion para la referencia Cook Assist
Los datos de la tabla muestran ejentes de alimentos para cada nivel de freir.La cantidad, el grosor, la calidad y la temperatura (es decide, si está congelados o no) de los alimentos influyen en el nivel adecuado para freirlos. Elija el ajuste y el nivel para freir adecuados a sus sartenes y habitos de cocina.
| Nivel de frutta | Sugerencia de alimen-tos | Usar para preparar |
| Huevos | Huevos fritos, tortillas, to-rijas, filetes de pescado, verduras | |
| Tortitas | Tortitas, palitos de pesca-do, alimentos congela-dos, alimentos empana-dos, filetes en su punto | |
| Bistecs | Filetes poco hechos |

Los differentes tamanos de las sartenes peuvent requisir differentes tiempos de calentimiento. Las sartenes pesadas guardan más calor que las ligeras, pero tardan más tiempo en calentarse.
6. MANTENIMIENTO Y LIMPIEZA
Limpie el aparato afterwards de cada uso. Utilice siempre recipientes cuya base esté limpia.

Los arañazos o las marcas oscu-ras de la superficie vitrocerámica no afectan al funcionaamento normal del aparato.
Para eliminar la sociedad:
-
- Elimine de inmediato: restos fundidos de plástico, recubrimientos de plástico y alimentos que contengan azúcar. De lo contrario lajecidad dañará el aparato.
-
Elimine cuando el aparato se ha-ya enfriado: restos de cal, MARCAS de agua, manchas de grasa y decooloraciones metálicas. Utilice un limpiador especial para vitrocerámicas.
-
La superficie de la placà tiene hendiduras horizontales. Limpie el aparato con un paño humedecido y detergente con un suave movimiento de izquierda a derecha.
- Terminate la limpieza secando a fondo el aparato con un paño limpio.
7. SOLUCION DE PROBLEMAS
| Problema | Possible causa | Soluciones |
| El aparato no se enciende o no funciona. | Vuelva a encender el aparato y ajuste el nivel de calor en menos de 10 segundos. | |
| Ha pulsado 2 o más sensores al mismo tiempo. | Toque solo un sensor. | |
| La función STOP+GO está activada. | Consulte el capítulo “Uso diario”. | |
| Hay agua o salpicaduras de grasa en el panel de control. | Limpie el panel de control. | |
| Se emite una Alertsa acústica y el aparato se apaga. | Hay uno o más sensores cubiertos. | Quite el的对象 que cubre los sensores. |
| Se emite una Alertsa acústica cuando el aparato se apaga. | ||
| El indicator de calor residual no cambia de color. | La zona de coccción no está caliente al no haber estado encendida el tiempo sufunciente. | Si la zona de coccción ha的功能ado el tiempo suficiente como para estar caliente, consulte al Cen-tro de servicios专业技术. |
| La función de calenta-miento automatístico no seactiva. | La zona de coccción está caliente. | Deje que la zona de coc-ción se infré lo sufICIENTe. |
| Se haJKLM el nivel de calor más alto. | El nivel de temperatura máximo tiene la misma potencia que la funciona de calentimiento automatístico. | |
| El valor de la temperatura varía entre dos ajustes. | La gestión de energia está activada. | Consulte “Gestión de energia”. |
| Los sensores se calien-tan. | El utensilio de comida esdemasiado grande o está colocado demasiado cer-ca de los mandos. | Coloque los utensilios de comida de gran tamaño en las zonas de coccióntraseras si Fuera necesa-rio. |
| No hayismicalguna al pulsar los sensores del panel. | Lasseyes están desac-tivadas. | Active lasseyes (consulte “Activación y desac-tivación de los sonidos”). |
| La retroiluminación está encendida pero el con-traste de噎alla es de-fectuoso. | Hay un utensilio de coci-na caliente en la噎alla. | Quite el objecto y dejo que el aparato se enfiñe lo su-fidente. Si el contraste no está claro, consulte al serviceo专业技术. |
| Problema | Possible causa | Solutación |
| Se enciende Il con texto. | La función de descone-xión automática está actu-vada. | Apague el aparato y vuel-va a encenderlo. |
| se enciende. | Están activados el blo-queo de seguridad para niños o la funciona de blo-queo. | Consulte el capítulo “Uso diario”. |
| Se enciende? | No hay ningún utensilio en la zona de coccción. | Ponga un utensilio de co-cina sobre la zona de coccción. |
| El utensilio de cucina no es adecuado. | Utilice el utensilio de coci-na adecuado. | |
| El diámetro de la base del utensilio de cucina es de-masiado(PCPO para la zona de coccción. | Utilice un utensilio de co-cina del tamanão adeca-do. | |
| El utensilio de cucina no cubre la cruz/el cuadra-do. | Cabra por Completely la cruz/el cuadrado. | |
| E y un número se encienden. | Se ha producido un error en el aparato. | Desenchufe el aparato del suministro(PCPO durante uno horas.Desconecte el fusible delsystema(PCPO. Vuelva a conectarlo. Si vuelve aparecer el símbolo E, pángase en contacto con el servicios técnico. |
| Se enciende E4. | Se ha producido un error en el aparato porque el utensilio de cucina ha hervido hasta consumirse todo el liquido. Se ha ac-tivado la protección contra sobrecalentamientos de las zonas de coccción y la desconexión automatiki-ca. | Apague el aparato.Retire el utensilio de cucina ca-liente. Espereunos 30segundos antes de en-cender de nuevo la zona de coccción. Si el utensilio de cucina era el problema, el mensaje de errordesaparece de la panta-lla, pero el indicator de calor residual permaneceactivado. Deje enfiar el utensilio de cucina lo suficiente y compruebe quees compatible con el apa-rato consultando“Utensi-los de cucina para la zo-na de coccción por induc%-cción”. |
cliente. Facilite la informacion de la placadecaracteristicas, el codigode tres digitos de la placatvitroceramica (se encuentra en la esquina de la superficie vitroceramica) y el mensaje de error que aparezca. Aseguese de que maneja el aparato adecuadamente. De lo contrario, el personaltechnico de service del cliente o del distri
buidor facturar la reparacion efectuada, incluso en el caso de que el aparato se工程技术 en periodo de garantia. Las instrucciones sobre service Tecnico y conditiones de garantia se工程技术 en el folto de garantia que se suministra con el aparato.
8. INSTALLACION

ADVERTENCIA
Consulte los capitulos sobre seguidad.

Antes de la instalación
Antes de instalar el aparato, anote esta informacion de la placde caracteristicas. La placacde caracteristicaseencuentra enel fondo del caja del aparato.
vez encastrados en los muebles adecuados y con las encimeras y superficies de trabajo apropriadas.
- El electrodométrico se suministra con el cable de connexion.
- Sustituya el cable de alimentación de red dañado por uno especial (como H05BB-F Tmax 90 °C o superior). Póngase en contacto con el service Tecnico local.
8.1 Aparatos integrados
- Los aparatos que han de ir integrados en la comida solo deben utilizar una
8.3 Montaje










Si utilizes una caja de protección (acessoorio adicondal), no son necessarios el es-pacio de ventilación frontal de 2 mm y el sueño protector situado directamente bajo del aparato.
No se pueda usar la caja de proteccion si se instalala el aparato encima de un horno.
1) El accesario de la caja de proteccion可以选择 no estar disponible en algunos países. Póngase en contacto con el proveedor local.
9. INFORMACION TECNICA
| Modell EHO8840FOG | Prod.Nr. 949 596 149 00 |
| Typ 58 GBD C3 AU | 220 - 240 V 50 - 60 Hz |
| Induction 7.4 kW | Made in Germany |
| Ser.Nr. ...... | 7.4 kW |
| ELECTROLUX | ( ) |
Potencia de las zonas de cocción
| Zona de coc- ción | Potencia no- minal (ajuste de calor má- ximo) [W] | Función Po- wer activada [W] | Duración maior de la funciona Po- wer [min] | Diámetro mi- nimo del re- cipiente [mm] |
| Posterior de-echa | 2300 W | 3200 W | 10 | 125 |
| Anterior dere- cha | 2300 W | 3200 W | 10 | 125 |
| Posterior iz- quierda | 2300 W | 3200 W | 10 | 125 |
| Anterior iz- quierda | 2300 W | 3200 W | 10 | 125 |
La potencia de las zonas de cocccion pue de variar ligeramente de los datos de la
tabla. Cambia con el material y las dimensiones del utensilio de comida.
10. ASPECTOS MEDIOAMBIENTALES
Recycle los materiales con el significo.
Coloque el material de embalaje en los contenedoresADECUADOS para su reciclaje.
Ayude a proteger el medio ambiente y la salute Pública, asi como a reciclcar
residuos de aparatos electricos y electrónicos. No deseche los aparatos marcados con el símbolo û jusqu to con los residuos domesticos. Lieve el producto a su centro de reciclaje local o pángase en contacto con su oficina municipal.
C E

ManualFácil