EGG7353 - Plaque de cuisson AEG-ELECTROLUX - Notice d'utilisation et mode d'emploi gratuit
Retrouvez gratuitement la notice de l'appareil EGG7353 AEG-ELECTROLUX au format PDF.
| Type de table | Vitrocéramique |
| Nombre de foyers | 4 |
| Type de commandes | Manettes rotatives |
| Puissance totale | Non précisé |
| Dimensions (L x P) | Non précisé |
| Couleur | Noir |
| Matériau de la surface | Verre |
| Sécurité | Arrêt automatique, témoin de chaleur résiduelle |
| Type d'installation | Encastrable |
| Alimentation | Électrique |
| Fonctions spéciales | Non précisé |
| Garantie | Non précisé |
| Normes | Conforme aux normes européennes |
| Poids | Non précisé |
| Accessoires inclus | Non précisé |
FOIRE AUX QUESTIONS - EGG7353 AEG-ELECTROLUX
Questions des utilisateurs sur EGG7353 AEG-ELECTROLUX
0 question sur cet appareil. Repondez a celles que vous connaissez ou posez la votre.
Poser une nouvelle question sur cet appareil
Téléchargez la notice de votre Plaque de cuisson au format PDF gratuitement ! Retrouvez votre notice EGG7353 - AEG-ELECTROLUX et reprennez votre appareil électronique en main. Sur cette page sont publiés tous les documents nécessaires à l'utilisation de votre appareil EGG7353 de la marque AEG-ELECTROLUX.
MODE D'EMPLOI EGG7353 AEG-ELECTROLUX
Merci d'avoir choisi ce produit Electrolux. Avec ce produit, vous bénéficiez de dizaines d'années d'expérience professionnelle et d'innovation. Ingénieux et élégant, il a été conçu sur mesure pour vous. Grâce à cet appareil, vous savez que chaque utilisation vous apportera satisfaction.
Bienvenue chez Electrolux.
Visitez notre site Internet pour :

Obtenir des conseils d'utilisation, des brochures, de l'aide, des informations : www.electrolux.com

Enregistrez votre produit pour obtenir un meilleur service : www.electrolux.com/productregistration

Acheter des accessoires, consommables et pièces de rechange d'origine pour votre appareil : www.electrolux.com/shop
Service après-vente
N'utilisez que des pièces de rechange d'origine.
Avant de contacter le service, assurez-vous de disposer des informations suivantes :
Vous trouverez ces informations sur la plaque signalétique : modèle, PNC, numéro de série.

AVERTISSEMENT / ATTENTION : CONSIGNES DE SÉCURITÉ.
Informations générales et conseils
Informations écologiques
Sous réserve de modifications.

Consignes de sécurité
Cet appareil est adapté aux marchés suivants : CZ FR SK ES
Avant d'installer et d'utiliser cet appareil, lisez soigneusement les instructions fournies. Le fabricant ne peut être tenu pour responsable des dommages et blessures liés à une mauvaise installation ou utilisation. Conservez toujours cette notice avec votre appareil pour vous y référer ultérieurement.

Avertissement
Risque d'asphyxie, de blessure ou d'invalidité permanente.
- Cet appareil n'est pas destiné à être utilisé par des enfants ou des personnes dont les capacités physiques, sensorielles ou mentales, ou le manque d'expérience et de connaissances les empêchent d'utiliser l'appareil sans risque, à moins qu'une personne responsable de leur sécurité ne les supervise ou ne leur donne des instructions sur la manière de l'utiliser.
- Ne laissez pas les enfants jouer avec l'appareil.
- Ne laissez pas les emballages à la portée des enfants. Tenez les enfants et les animaux éloignés de l'appareil lorsqu'il est en cours de fonctionnement ou lorsqu'il refroidit. Les parties accessibles sont chaudes.
- Si l'appareil est équipé d'un dispositif de sécurité enfants, nous vous recommandons de l'activer.

Avertissement
L'appareil doit être installé uniquement par un professionnel qualifié.
- Retirez l'intégralité de l'emballage.
- N'installez pas et ne branchez pas un appareil endommagé.
- Suivez scrupuleusement les instructions d'installation fournies avec l'appareil.
- Respectez l'espacement minimal requis par rapport aux autres appare
- Isolez les surfaces découpées à l'aide d'un matériau d'étanchéité pour éviter que la moisissure ne provoque de gonflements.
- Protégez la partie inférieure de l'appareil de la vapeur et de l'humidité.
- N'installez pas l'appareil près d'une porte ou sous une fenêtre. Les récipients chauds risqueraient de tomber de l'appareil lors de l'ouverture de celles-ci.
- Si l'appareil est installé au-dessus de tiroirs, assurez-vous qu'il y a suffisamment d'espace entre le fond de l'appareil et le tiroir supérieur pour que l'air puisse circuler.
- Le dessous de l'appareil peut devenir très chaud. Nous vous recommandons d'installer un panneau de séparation ignifuge sous l'appareil pour en bloquer l'accès.

Avertissement
Risque d'incendie ou d'électrocution.
L'ensemble des branchements électriques doit être effectué par un technicien qualifié. - Avant chaque raccordement, assurez-vous que la borne principale de l'appareil est hors tension. Assurez-vous que l'appareil est bien installé. Des connexions desserrées ou incorrectes peuvent être à l'origine d'une surchauffe des bornes. Assurez-vous qu'une protection antichocs est installée. - Contrôlez que les câbles d'alimentation n'entrent pas en contact avec les surfaces brûlantes de l'appareil ou les éléments brûlants lorsque vous branchez l'appareil électrique à des prises électriques situées à proximité. - Ne laissez pas les connexions s'emmêler.
Utilisez une pince pour détendre le câble. - Utilisez le câble d'alimentation approprié. - Veillez à ne pas endommager la fiche secteur ni le câble d'alimentation. Contactez le service après-vente ou un électricien pour remplacer le câble d'alimentation s'il est endommagé. - L'installation électrique doit être équipée d'un dispositif d'isolement à coupure omnipolaire. Le dispositif d'isolement doit présenter une distance d'ouverture des contacts d'au moins 3 mm. - N'utilisez que des systèmes d'isolement appropriés : des coupe-circuits, des fusibles (les fusibles à visser doivent être retirés du support), un disjoncteur différentiel et des contacteurs.
Raccordement au gaz
- Tous les raccordements au gaz doivent être effectués par une personne qualifiée. Assurez-vous que l'air circule autour de l'appareil.
- Les informations concernant l'alimentation en gaz se trouvent sur la plaque signalétique.
- Cet appareil n'est pas raccordé à un dispositif d'évacuation des produits de combustion. Assurez-vous de brancher l'appareil selon les réglementations d'installation en vigueur. Veillez à respecter les exigences en matière d'aération.

Avertissement
Risque de blessures, de brûlures ou d'électrocution.
Utilisez cet appareil dans un environnement domestique. - Ne modifiez pas les caractéristiques de cet appareil. - Ne faites pas fonctionner l'appareil avec un minuteur externe ou un système de commande à distance. - Ne laissez jamais l'appareil sans surveillance pendant son fonctionnement. - N'utilisez jamais cet appareil avec les mains mouillées ou lorsqu'il est en contact avec de l'eau.
- Ne posez pas de couverts ni de couvercles sur la table de cuisson à plaque électrique. Ils deviennent chauds.
- Éteignez les zones de cuisson après chaque utilisation. N'utilisez jamais l'appareil comme plan de travail ni comme plan de stockage.

Avertissement
Risque d'explosion ou d'incendie.
- Les graisses et l'huile chaudes peuvent dégager des vapeurs inflammables. Tenez les flammes ou les objets chauds éloignés des graisses et de l'huile lorsque vous vous en servez pour cuisiner.
- Les vapeurs dégagées par l'huile très chaude peuvent provoquer une combustion spontanée. L'huile qui a servi contient des restes d'aliments qui peuvent provoquer un incendie à une température plus faible que l'huile n'ayant jamais servi.
- Ne placez pas de produits inflammables ou d'éléments imbibés de produits inflammables à l'intérieur, à proximité ou sur l'appareil.
- Ne tentez pas d'éteindre un incendie avec de l'eau. Débranchez l'appareil et couvrez les flammes à l'aide d'un couvercle ou d'une couverture à incendie.

Avertissement
Risque d'endommagement de l'appareil.
- Ne laissez pas de récipients chauds sur le bandeau de commande.
- Ne laissez pas le contenu des récipients de cuisson s'évaporer.
- Ne laissez pas de récipients chauds refroidir sur la plaque.
- Ne faites jamais fonctionner les zones de cuisson avec des récipients de cuisson vides ou sans aucun récipient de cuisson.
- Ne placez jamais de papier aluminium sur l'appareil.
- Ne laissez pas de liquides acides, tels que du vinaigre, du jus de citron ou du produit détartrant, entrer en contact avec la table de cuisson. Cela peut provoquer l'apparition de taches mates. Veillez à ce que la pièce où est installé l'appareil soit bien aérée.
Assurez-vous que les orifices de ventilation ne sont pas bouchés. Utilisez uniquement des récipients stables avec une forme adaptée et un plus grand diamètre que les dimensions des brûleurs. Risque de surchauffe et de rupture de la plaque en verre (si votre appareil en est équipé) ! Assurez-vous que la flamme ne s'éteint pas lorsque vous tournez rapidement la manette de la position maximale à la position minimale. Veillez à ce que les récipients se trouvent bien au centre des cercles et qu'ils ne dépassent pas des rebords de la table de cuisson. N'utilisez que les accessoires fournis avec l'appareil. N'installez pas de diffuseur de flamme sur le brûleur.

Avertissement
Risque d'endommagement de l'appareil.
Nettoyez régulièrement l'appareil afin de maintenir le revêtement en bon état. Ne pulvérisez pas d'eau ni de vapeur pour nettoyer l'appareil. Nettoyez l'appareil avec un chiffon doux humide. Utilisez uniquement des produits de lavage neutres. N'utilisez pas de produits abrasifs, de tampons à récurer, de solvants ou d'objets métalliques.

Avertissement
Risque de blessure ou d'asphyxie.
- Contactez votre service municipal pour obtenir des informations sur la marche à suivre pour mettre l'appareil au rebut conformément à la réglementation.
- Débranchez l'appareil de l'alimentation électrique.
- Coupez le câble d'alimentation au ras de l'appareil et mettez-le au rebut.
- Aplatissez les tuyaux de gaz externes.
Plan de cuisson

1. Brûleur semi-rapide 2. Brûleur à triple couronne 3. Brûleur rapide 4. Brûleur auxiliaire 5. Manettes de commande
Manettes de commande
| Symbole | Description |
| ● | pas d'alimentation en gaz / position arrêt |
| ▲ | position d'alluma-ge / alimentation en gaz maximum |
| ◇ | alimentation en gaz minimum |

Avertissement
Reportez-vous au chapitre « Consignes de sécurité ».

Avertissement
Faites très attention lorsque vous utilisez une flamme nue dans une cuisine. Le fabricant décline toute responsabilité en cas de mauvais usage de la flamme.

Allumez le brûleur avant de poser les plats.
Pour allumer le brûleur :
- Tournez le sélecteur dans le sens inverse des aiguilles d'une montre jusqu'à sa position maximale, puis appuyez dessus pour l'enfoncer.
- Maintenez la commande appuyée pendant environ 5 secondes, cela permet au thermocouple de se réchauffer. Sinon, l'alimentation en gaz sera interrompue.
- Une fois que la flamme brûle régulièrement, réglez son débit.

Si, après plusieurs tentatives, le brûleur ne s'allume pas, vérifiez que la couronne et son chapeau sont correctement placés.


A) Chapeau du brûleur B) Couronne du brûleur C) Bougie d'allumage D) Thermocouple

Avertissement
Ne maintenez pas la manette de commande appuyée plus de 15 secondes. Si le brûleur ne s'allume pas au bout de 15 secondes, relâchez la manette et positionnez-la sur Arrêt. Attendez au moins 1 minute avant d'essayer une nouvelle fois d'allumer le brûleur.

En cas de coupure d'électricité, vous pouvez utiliser votre table de cuisson sans avoir recours au système automatique. Dans ce cas, approchez une flamme du brûleur, enfoncez la manette correspondante et tournez-la dans le sens inverse des aiguilles d'une montre jusqu'à la position de libération maximum du gaz.

Si le brûleur s'éteint accidentellement, tournez la manette de commande sur la position Arrêt et attendez au moins 1 minute avant d'essayer une nouvelle fois d'allumer le brûleur.

Le générateur d'étincelles se déclenche automatiquement à la mise sous tension de l'appareil, après l'installation ou une coupure d'électricité. Ce phénomène est normal.
Pour éteindre les brûleurs
Tournez la manette jusqu'au symbole ●.

Avertissement
Abaissez ou coupez toujours la flamme avant de retirer les récipients du brûleur.

Avertissement
Reportez-vous au chapitre « Consignes de sécurité ».
Économies d'énergie
- Si possible, couvrez les casseroles.
- Lorsque le liquide commence à bouillir, baissez le feu pour laisser légèrement frémir le liquide.
Utilisez uniquement des récipients dont le diamètre correspond aux dimensions des brûleurs.
| Brûleur | Diamètres des réci-pients |
| Triple cou-ronne | 180 - 260 mm |
| Rapide | 180 - 260 mm |
| Semi-rapide(arrière gau-che) | 120 - 220 mm |
| Semi-rapide(avant gau-che) | 120 - 180 mm |
| Auxiliaire | 80 - 180 mm |

Avertissement
Ne placez pas le même récipient sur deux zones de cuisson.


Avertissement
Assurez-vous que les casseroles ne dépassent pas des bords de la table de cuisson et qu'elles sont bien centrée , pour une stabilité optimale et une économie de la consommation de gaz.
Ne placez pas de récipients instables ou déformé afin d'éviter les débordements et les blessures.

Avertissement
Reportez-vous au chapitre « Consignes de sécurité ».

Avertissement
Éteignez l'appareil et laissez-le refroidir avant de le nettoyer. Avant toute opération de nettoyage ou intervention technique, assurez-vous que l'appareil est débranché de la prise électrique.

Les rayures ou les taches sombres sur la surface n'ont aucune incidence sur le fonctionnement de l'appareil.
- Vous pouvez retirer les supports de casserole pour nettoyer facilement la table de cuisson.
- Nettoyez les éléments en émail, le chapeau et la couronne avec de l'eau chaude et du savon, puis séchez-les soigneusement avant de les remettre en place.
- Lavez les éléments en acier inoxydable à l'eau, puis séchez-les à l'aide d'un chiffon doux.
- Les supports de casserole ne doivent pas être placés dans le lave-vaisselle. Ils doivent être lavés à la main.
- Lorsque vous lavez les supports à la main, faites bien attention lorsque vous les essuyez, car le processus d'émailage laisse parfois des arêtes risquant de vous blesser. Si nécessaire, retirez les taches tenaces à l'aide d'une pâte nettoyante.
- Après avoir lavé s, veillez à les remettre correctement en place. Pour que les brûleurs fonctionnent correctement, assurez-vous que les bras des supports de casseroles sont au milieu du brûleur.


- Replacez les supports de casserole avec soin afin de ne pas endommager le dessus de la table de cuisson.
Après le nettoyage, séchez l'appareil à l'aide d'un chiffon doux.
L'acier inoxydable peut ternir s'il est trop chauffé. Gardez à l'esprit que vous ne devez pas cuisiner avec des plats en terre cuite ou en fonte. N'utilisez pas de papier aluminium pour ne pas endommager la partie supérieure durant le fonctionnement.
Enlevez les salissures :
- Enlevez immédiatement : plastique fondu, feuilles plastique et les aliments contenant du sucre.
- Mettez l'appareil à l'arrêt et laissez-le refroidir avant de procéder au nettoyage des cernes de calcaire, traces d'eau, projections de graisse ou décolorations métalliques. Utilisez un nettoyant spécifique pour la surface de la table de cuisson.
- Netto humide et d'un peu de détergent.
- Pour finir, essu propre.
Nettoyage du générateur d'étincelles
Cette fonction emploie une bougie d'allumage en céramique et une électrode métallique. Maintenez ces éléments propres pour prévenir un allumage difficile et vérifiez que les trous de la couronne du brûleur ne sont pas obstrués.
Entretien périodique
Demandez régulièrement à votre service après-vente local de vérifier l'état du tuyau d'arrivée de gaz et du régulateur de pression, si l'appareil en est équipé.
En cas d'anomalie de fonctionnement
| Anomalie | Cause possible | Solution |
| Aucune étincelle ne se produit à l'allumage. | Il n'y a pas d'alimentation électrique. | Vérifiez si l'appareil est bien branché et allumé; Contrôlez le fusible. Si le fusible est dégagé plusieurs fois, contactez un électricien qualifié. |
| Le couvercle et la couronne du brûleur sont mal positionnés. | Assurez-vous que le couvercle et la couronne du brûleur sont bien positionnés. | |
| La flamme s'éteint immédiatement après l'allumage. | Le thermocouple n'est pas suffisamment chauffé. | Après avoir allumé la flamme, continuez à ap-puyez sur le bouton pendant environ 5 secondes. |
| Les flammes sont irrégulées. | La couronne du brûleur doit être encrassés avec des restes d'aliments. | vérifiez si l'injecteur n'est pas bouché et s'il n'y pas de particules alimentaires dans la cou-ronne. |
Certaines anomalies de fonctionnement peuvent dépendre d'opérations d'entretien incorrectes ou d'oublis et peuvent être résolues à l'aide des indications fournies dans le tableau, sans faire appel à un service après-vente. Si l'anomalie persiste, contactez votre magasin vendeur ou votre service après-vente.

Si un problème résulte d'une mauvaise utilisation ou si l'installation de l'appareil n'a pas été réalisée par un professionnel qualifié, le déplacement du technicien du service après-vente ou du revendeur peut être facturé, même en cours de garantie.
Collez les étiquettes adhésives comme indiqué ci-dessous :

1. Collez-la sur la carte de garantie et envoyez cette partie. 2. Collez-la sur la carte de garantie et conservez cette partie. 3. Collez-la sur la notice d'utilisation. Ces informations sont nécessaires pour pouvoir vous offrir une aide rapide et adaptée. Ces données figurent sur la plaque signalétique fournie.
Description du modèle - Référence produit (PNC) - Numéro de série (S.N.). Utilisez exclusivement des pièces d'origine certifiées constructeur. Elles sont disponibles auprès de votre service après-vente.

Avertissement
Reportez-vous au chapitre « Consignes de sécurité ».

Avertissement
Les instructions suivantes concernant l'installation, le raccordement et la maintenance de l'appareil doivent être effectuées par un professionnel qualifié selon les normes et règlements en vigueur.
Raccordement au gaz
Effectuez un raccordement fixe (« rigide ») ou utilisez un tuyau flexible en acier inoxydable selon les normes en vigueur. Si vous utilisez des tuyaux flexibles métalliques, ils ne doivent pas entrer en contact avec des parties mobiles ni être serrés. Soyez également vigilant lorsque la table est installée avec un four.

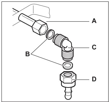
Assurez-vous que la pression d'alimentation en gaz de l'appareil correspond aux valeurs recommandées. Le raccordement réglable est relié à la rampe complète par un écrou fileté G 1/2 po. Vissez les pièces sans forcer, réglez le raccordement dans le sens nécessaire et serrez le tout.

A) Bout du tuyau avec écrou. B) Rondelle (la rondelle supplémentaire ne concerne que la Slovénie et la Turquie). C) Coude. D) Porte-tuyau en caoutchouc pour gaz liquide (uniquement pour la Slovénie et la Turquie).
Raccordement rigide :
Effectuez le raccordement en utilisant des tuyaux métalliques rigides (en cuivre avec embout mécanique).
Raccordement flexible avec embout mécanique
Gaz naturel : le raccordement s'effectue avec un tuyau flexible à embout mécanique qui se visse directement sur le coude terminant la rampe de l'appareil. Butane / Propane : Un tube souple, équipé de ses colliers, peut être utilisé s'il est visible sur toute sa longueur et si l'appareil ne fonctionne qu'au butane. Si l'appareil fonctionne au propane, il faut utiliser un tuyau flexible à embout métallique approprié.
Raccordement de tuyaux flexibles non métalliques :
S'il est visible sur toute sa longueur, vous pouvez utiliser un tuyau flexible. Fixez fermement le tuyau flexible à l'aide de colliers.
Gaz liquide : utilisez le tuyau flexible en caoutchouc. Intercalez toujours le joint.
Continuez alors le raccordement au gaz. Le tuyau flexible s'applique lorsque :
- il ne doit pas devenir plus chaud que la température ambiante, à savoir plus de 30 °C ;
- il ne doit pas être plus long que 1,50 m ;
- il ne présente aucun étranglement ;
- il n'est soumis à aucune traction ni à aucune torsion;
- il n'entre pas en contact avec le conduit ou les coins tranchants;
- il est visible sur toute sa longueur afin de vérifier son état.
Vérifiez les points suivants pour contrôler le bon état du tuyau flexible :
- il ne présente aucune fente, coupure ou marque de brûlure sur ses deux extrémités et sur toute sa longueur ;
- le matériel n'est pas durci, mais présente une élasticité correcte ;
- Les colliers de serrage ne sont pas rouillés.
- la date d'expiration n'est pas passée.
Si vous constatez au moins un de ces défauts, ne réparez pas le tuyau, mais remplacez-le.

Quand l'installation est terminée, assurez-vous que chaque raccord est étanche en utilisant une solution savonneuse, et non une flamme !
Remplacement des injecteurs
- Démontez les supports des cassetôles.
- Démontez les chapeaux et les couronnes du brûleur.
- À l'aide d'une clé de 7, démontez les injecteurs et remplacez-les par ceux qui sont nécessaires pour le type de gaz que vous utilisez (voir le tableau dans le chapitre « Caractéristiques techniques »).
- Assemblez les pièces et suivez la même procédure dans l'ordre inverse.
- Remplacez la plaque signalétique (qui se trouve près du tuyau d'arrivée de gaz) par celle correspondant au nouveau type d'alimentation en gaz. Vous trouverez cette plaque dans le sachet fourni avec l'appareil.
Si la pression de l'alimentation en gaz peut être modifiée ou est différente de la pression nécessaire, vous devez monter un système de réglage de la pression sur le tuyau d'arrivée de gaz.
Réglage du niveau minimal
Pour régler le niveau minimal des brûleurs :
- Allumez le brûleur.
- Tournez la manette en position minimale.
- Retirez la manette.
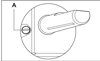
- À l'aide d'un tournevis fin, ajustez la position de la vis de réglage.

A) Vis de réglage
- Si vous passez d au gaz liquéfié, serrez au maximum la vis de réglage.
- Si vous passez du gaz liquéfié a 1/4 de tour (1/2 tour pour un brûleur à triple couronne).
- Si vous passez du gaz naturel G20/G25 20/25 mbar au gaz de ville G130 8
- Si vous passez d au gaz naturel G20/G25 20/25 mbar, leur à triple couronne).
- Si vous passez du gaz liquéfié au gaz de ville G130 8 mbar, dévissez la vis de réglage d'environ 1 tour (1/2

Avertissement
Assurez-vous que la flamme ne s'éteint pas lorsque vous tournez rapidement la manette de la position maximale à la position minimale.
Branchement électrique
L'appareil doit être relié à la terre en respectant les précautions de sécurité. - Vérifiez que la tension nominale et le type d'alimentation figurant sur la plaque signalétique correspondent aux valeurs d'alimentation locales. - Cet appareil est alimenté à l'aide d'un câble principal. Une fiche appropriée doit être adaptée au cordon d'alimentation (reportez-vous à la charge électrique spécifique sur la plaque signalétique). La fiche doit être insérée dans une prise murale appropriée. - Pour toute intervention sur votre appareil, faites appel au service après-vente de votre magasin vendeur. - Utilisez toujours une prise antichoc correctement installée. Assurez-vous que la prise principale est accessible après installation. - Ne tirez jamais sur le câble d'alimentation électrique pour débrancher l'appareil. Tirez toujours sur la prise de courant. - L'appareil ne doit pas être raccordé à l'aide d'un prolongateur, d'un raccordement multiple ou d'une prise multiple (risque d'incendie). Vérifiez que la prise de terre est conforme aux règlements en vigueur. - Le câble d'alimentation doit être placé de manière à ce qu'il n'entre pas en contact avec une surface chaude. - Raccordez l'appareil au secteur à l'aide d'un système permettant le débranchement de l'appareil à tous les pôles, avec une largeur d'ouverture de contact d'au moins 3 mm, par exemple, un disjoncteur automatique de protection, des déclencheurs de perte à la terre ou un fusible. - Aucune partie du cordon d'alimentation ne doit afficher une température supérieure à 90 °C. Le câble neutre bleu doit être raccordé à la borne « N » de la plaque à bornes. Le câble de phase marron (ou noir) partant de la borne « L » de la plaque à bornes doit toujours être relié à la phase sous tension.
Remplacement du câble d'alimentation
Ne remplacez le câble de raccordement qu'avec un câble de type H05V2V2-F T90. Assurez-vous que la section du câble convient à la tension et à la température de fonctionnement. Le câble de terre jaune/vert doit être plus long d'environ 2 cm que le câble de phase marron (ou noir).
Encastrement



A) joint fourni B) équerres fournies
Élément de cuisine avec porte
Le panneau installé sous la table de cuisson doit être facilement amovible et facile
d'accès au cas où une intervention technique serait nécessaire.

A) Panneau amovible. B) Espace pour les branchements.
L'élément de cuisine doit être équipé d'aérations pour assurer un apport d'air continu. Les branchements électriques de la table de cuisson et du four doivent être installés séparément pour des raisons de sécurité et pour permettre un retrait facile du four de l'ensemble.

Élément de cuisine avec four
Les dimensions de la niche d'encastrement doivent être conformes aux indications et aux schémas fournis.
Caractéristiques techniques
Dimensions de la table de cuisson
| Largeur : | 744 mm |
| Longueur : | 510 mm |
Dimensions de la niche d'encastrement de la table de cuisson
| Largeur : | 560 mm |
| Longueur : | 480 mm |
Puissance
| Brûleur à triple couronne : | 4,0 kW |
| Brûleur rapide : | 3,0 kW |
| Brûleur semi-rapi-de : | 2,0 kW |
| Brûleur auxiliaire : | 1 kW |
| PUISSANCE TO-TALE : | G20/G25 (2E+)20/25 mbar = 12kWG30 (3+) 28-30mbar = 858 g/hG31 (3+) 37 mbar= 843 g/h |
| Alimentation élec-trique: | 230 V ~ 50 Hz |
| Catégorie: | III1c2E+3+ |
| Raccordement au gaz: | G 1/2 " |
| Alimentation en gaz: | G20/G25 (2E+)20/25 mbar |
| Classe de l'appa-reil : | 3 |
Diamètres de by-pass
| Brûleur | Ø by-pass en 1/100 mm |
| Auxiliaire | 28 |
| Semi-rapide | 32 |
| Rapide | 42 |
| Triple couronne | 56 |
Brûleurs à gaz
| BRÜ LEU R | PUIS SAN-CE NOR MA-LE | PUIS SAN-CE RÉ-DUI-TE | PUISSANCE NORMALE | |||||||
| GAZ NATUREL G20/G25 (2E+) 20/25 mbar | LPG (Butane/Propane) G30/G31 (3+) 28-30/37 mbar | LPG (Gaz de vil-le) G130 (1c) 8 mbar | ||||||||
| inj. 1/10 0 mm | G20 20 mbar | G25 25 mbar | inj. 1/10 0 mm | G30 28-3 0 mbar | G31 37 mbar | inj. 1/10 0 mm | m3/h | |||
| kW | kW | m3/h | m3/h | g/h | g/h | |||||
| Auxi- liaire | 1.0 | 0.33 | 70 | 0.095 | 0.111 | 50 | 73 | 71 | 127 | 0.140 |
| Semi- rapi- de | 2.0 | 0.45 | 96 | 0.190 | 0.221 | 71 | 145 | 143 | 195 | 0.279 |
| Rapi- de | 3.0 (gaz natu- rel) 2.8 (LPG) | 0.75 | 119 | 0.285 | 0.332 | 86 | 204 | 200 | 240 | 0.420 |
| Triple cou- Ronne | 4.0 | 1.4 | 146 | 0.381 | 0.443 | 98 | 291 | 286 | 348 | 0.559 |
En matière de protection de l'environnement
Recyclez les matériaux portant le symbole
Déposez les emballages dans les
conteneurs prévus à cet effet.
Contribuez à la protection de
l'environnement et à votre sécurité,
Recyclez vos produits électriques et
électroniques. Ne jetez pas les appareils
portant le symbole avec les ordures
ménagères. Emmenez un tel produit dans
votre centre local de recyclage ou
Contactez vos services municipaux.
DESCRIPTION DU PRODUIT 37
KAZDO-DENNÉ POUŽÍVANIE
UTILES CONSEILS ET ASTUCES 39
ENTRETIEN ET NETTOYAGE 40
Consultez la notice d'utilisation.
Notice Facile