EGG7353 - Varná deska AEG-ELECTROLUX - Bezplatný návod k obsluze
Najděte návod k zařízení zdarma EGG7353 AEG-ELECTROLUX ve formátu PDF.
Questions des utilisateurs sur EGG7353 AEG-ELECTROLUX
0 question sur cet appareil. Repondez a celles que vous connaissez ou posez la votre.
Poser une nouvelle question sur cet appareil
Stáhněte si návod pro váš Varná deska ve formátu PDF zdarma! Najděte svůj návod EGG7353 - AEG-ELECTROLUX a vezměte svůj elektronický přístroj zpět do rukou. Na této stránce jsou zveřejněny všechny dokumenty potřebné k používání vašeho zařízení. EGG7353 značky AEG-ELECTROLUX.
NÁVOD K OBSLUZE EGG7353 AEG-ELECTROLUX
Dekujeme, ze jste si zakoupili spotbreic značky Electrolux. Vybrali jste si produkt, se kterym jsou spjaty desitky let professionlänich zkušenosti a inovaci. Tento dumyslný a stylový spotbreic byl navrzen s ohledem na jeho uživatele. Kdykoliv jej tak použivate, muzete se spelehnout, ze pokaždé dosáhnete skvělych vysledkú.
Vita Vás Electrolux.
Navstivtnase stranky ohledne:

Rady ohledné používání, brožury, poradce pri potížích, servisních informáci: www.electrolux.com

Registracevašeho spotbrebiče, kterou ziskáte lepsí servis: www.electrolux.com/productregistration

Nákupu príslušenství, spotřebního materiálu a originálnich náhradnich dìlù pro vás spotřebič: www.electrolux.com/shop
PÉČE O ZÁKAZNIÍKY A SERVIS
Při kontaktu se servisin strediskem se ujistěte, ze mate k dispozici následujícú udaje.
Tyto informace jsou uvedeny na typovém stitku. Model, vyrobní cislo (PNC), sériove cislo.

Upozornéni / Duležite bezpečnostní informace.

Vseobecné informace a rady

Upozornéni k ochraněživotniho prostředí
Zmény vyhrazeny.

BEZPEČNOSTNI INFORMACE
Tento spotbrebic je vchodný pro následujici trhy: CZ FR SK ES
Tento námov si pečíve préčěte jestě pred instalaci spotřebiece a jeho prvním použitim. Výrobcne nezodpovída za škody a zraněné zpúsobena neśprávnou instalaci ā chybným použivám. Námov k použiti vždy uchovávejte spolu se spotřebiecem pro jeho budouci použítí.
BEZPECNOST DÉTÍ A POSTIŽENHYC OSOB

UPOZORNÉNI
Hrozi nebezpeci udušeni, urazu nebo jin'ych trvalych nasledku.
- Nedovolte, aby spotbrebic pouzivaly osoby, včetné děti, se zhoršenými fyzickými a smyslovými schopnostmi, snizenymi mentalníními funkcemì nebo nedostatkem zkušenosti aznalostí. Takové osoby mohou spotbrebic použivat jen pod dozorem nebo vedením osob odpovedních za jejich bezpečnost.
- Neneche tdet hrat si se spotrebicem.
Vsechny obaly uschovejte z dosahu deti. - Je-li spotbrebič v provozu neboPokud chladne, nedovolte détem a domácim zviratum, aby se k němu príblžovaly. Prístupné cásti jsou horé.
- Pokud je spotbreic vybaven dětskou bezpečnostní pojistkou, doporučuje se ji aktivovat.
INSTALLACE

UPOZORNÉNI
Tento spotbrebi smi instalovat jen kuali-fikovaná osoba.
- Odstraţe vešekrý obalový material.
- Poškozený spotřebič neinstalujte ani nepoužívejte.
- Rid'te se pouny k instalaci dodanymi spolu s tímto spotbrebičem.
Dodržujte minimálny vzdálenosti od ostatních spotřebieču a nábytku.
Při premistovani spotbrebiče budte vždy opatrni, protoze je těžký. Vždy nods ochranné rukavice. - Utesnete vyez v povrchu pomoci tsezniva, abyste zabrani bobtnani z duvodu vlhkosti.
-
Chrañte dno spotbrebié préd párou a vhlkosti.
-
Spotbrebic neinstalujte vedde dveiri ci pod oknem. Zabranine tak prevrzeni horkeho nado bi ze spotbrebic pri otevirani dveiri ci okna.
- Pokud je spotbrebic instalován nad zásuvkami, ujistete se,Že prostor mezi dnem spotbrebic a horní zásuvkou zajistuje dostatečnou cirkulaci vzduchu.
- Spodek spotbrebcie se muze silne zahrát. Doporučujeme proto instalovat nehořlavý samostatnépól pod spotbrebcim, který bude zakrývat spodek spotbrebcie.
Připojení k elektrické sítí

UPOZORNENI
Hrozi nebezeci pozaru nebo urazu elektrickym proudem.
- Veškeré elektrická pripojení musí být provedená kvalifikovaným elektrárěm.
- Pred jakymkoliv zapojovámimej ustěte, zeneni hlavní svorka pod proudem.
Ujistete se, ze je spotbrebić nainstalován správně. Volné a nesprávné spojení zăstrécky se zásuvkou můze mit za následek prěhráti svorky. - Ujistete se, ze je nainstalována ochrana préd urazem elektrickým proudem.
Dbejte na to, aby se elektrické privodni kabely nedotykaly spotbrebične nebo horkého nádobí, když spotbrebič pripoujete do blízké zásuvky. - Elektrické kabely nesmi byt zamotané.
K odlehčeni siloveho pnuti v kabelu použijte odlehčovaci sponu. - Použijte správný typ napajecího kabelu.
Dbejte na to, abyste nepoškodili napáćí kabel a sítovou zástrčku. Pro vymenu napáćího kabelu se obrat'te na servnis středisko nebo elektrikáre. - Je nutné instalovat vhdný vypínač nebo izolačné zařizení k rádému odpojení všech napájecích vodičù spotěbreče. Toto izolačné zařizení musi mit mezeru mezi kontakty aleśspón 3 mm širokou.
- Používejte pouze správná izolačné zařizení: ochranné vypínače vedení, pojistky (pojistky šroubověho typu se musí odstranit z držáků), ochranné zemnicí jistiće a stykače.
Připojení plynu
- Veskera plynová pripojeni by mela byt provedena kvalifikovanou osobou.
Zkontrolujte, zda kolem spotbrebiče muže ob-ihat chladné vzduch. - Informace ohledne privodu plynu naleznete na typovém štītu.
Tento spotbrebi neni pripojen k zaifizeni na odvod spalin. Ujistete se, ze je spotbrebi pripojen dre aktuallnich instalacnich vyhlasek. Dbeje na pozadavky tykajici se dostatecné ventilace.
POUZITI SPOTREBICE

UPOZORNÉNI
Hrozi nebezpeci zraneni, popaleni ci urazu elektrickym proudem.
Tento spotbrebič používejte vyhradně v domac-nosti.
- Neměnte technické parametry tohoto spotřebiče.
- Spotřebic nepoužívejte spolu s externím casováčem nebo samostatným dálkovým ovládáním.
Zapnuty spotbreic nenecháveje bez dozoru.
- Nepracujte se spotbrebicem, kdyz mate vlhkere ruce nebo kdyz je vkontaktu s vodou.
- Na pevnou plotynku nepokládejte príbory neboPokličy. Byly by horké.
- Po použiti nastavte varnou zónu do polohy „vypnuto".
Nepouživejte spotřebič jako pracovní nebo odkládaci plochu.

UPOZORNÉNİ
Hrozi nebezpeci pozaru nebo vybuchu.
Tuky a oleje mohou pri zahrati uolnovat hořlavé páry. Když vařite s tuky a oleji, držte plameny a ohráte predměty mimo jejich došah.
Páry uvolnované velmi horkymi oleji se mohou samovolné vznítit.
Pouzity olej, ktery obsahuje zbytky potravin, muze zpusobit pozar pri niizsich teplotach nez olej, ktery se pouziva popvre.
- Do spotřebič, do jeho blízkosti nebo na spotřebič neuistůte hořavě predměty nebo predměty obshujíci hořavé látky.
Nepokouseje se hasit ohen vodou. Odpojte spotfebiče a plameny prikryjte vikem nebo HASIC rouskou.

UPOZORNÉNİ
Hrozi nebezpeci poškozeni spotřebie.
Nepokladeje horké nádoby na ovladaci panel.
NenecheVyvaitr vodu v nadobach.
Nenechte nádoby chladnout na plotýnce.
- Nezapinejte varne zony s prazdnymi nadobami nebo zcela bez nadob.
- Na spotřebič nepokládeje hliníkovou fólii.
Varná deska nesmí prijit do styku s kyselými tekutinami jako je ocet, citrónová šťava nebo s prostředky na odstražováni vodniho kamene. Mohou totíz zanechat matné skvrný.
V misté instalace spotbrebié zaïd'te dobrou ventilaci.
Ujistete se, ze nejsou ventilacni otvory zakry- te.
- Používejte pouze nádobí se správným tvarem a prúměrem dna větím než jsou rozměry hóráku. Hroží nebezpečí prehřátá prasknutí skleněné desky (je-li součástí spotřebiečice).
Zkontrolujte, zda plamen nezhasne, otočite-li ovladacem rychle z maximálni do minimálni polohy.
- Ujistete se, ze jsou nádoby umistěny na středu plotýnék a nepřčnivaji prěs okrajevárne desky.
Používejte pouze príslušenstv dodávané se spotřebičem.
- Na hořáky neinstalujte rozptylovac plamene.
CISTENIA UDRZBA

UPOZORNÉNI
- Spotrebic cistěte pravidelné, abyste zabrânili poskození materiaú jeho povrchu.
K Čištění spotřebiče nepoužívejte proudly vody nebo páru.
Vycistete spotfebi vhlkym mekkym hadrem. Pouziveje pouze neutralni myci prostredky. Nepouziveje prostredky s drsnymi casticemi, dratenky, Rozpousteda nebo kovové prdmety.
LIKVIDACE

UPOZORNÉNI
Hrozi nebezpeci urazu ci uduseni.
Pro informace ohledne spravné likvidace spotěbreče se obrat'te na mistné urady.
- Odpojte spotřebie od elektrické sítě.
- Odrizněte a vyhodte sitový kabel.
Vnejsi plynove potrubislusije.
POPIS SPOTČEBIČ

USPOÁRÁDÁNÍ VARNÉ DESKY

OVLADACE
Viz kapitola „Bezpečnostní informace".
ZAPÁLENÍ HORÁKU

UPOZORNÉNİ
Pri použivani otevřeño ohne v kuchyni bud'te velmi opatrní. Vyrobce odmitá jakoukoli odpovednost za chybné použitiplamene.

Horak vždy zapalte préd tim, než na něj postavite nádobu.
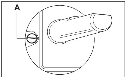
Zapalení hořaku:
-
Otočte ovladacem doleva do mezní polohy ( ) a stisknéte jej.
-
Drzte ovladac zatlačený asi 5 sekund, aby se termoclánek zahrál. V opačné mřípadě bude prívod plynu prěrušen.
-
Kdyz se plamen ustali, nastavte jeho intenzitu.

Jestlize se horak ani po nekolika pooksech nezapalí, zkontrolujte, zda je rozdlovač plamene a和他的 vočko ve spravné poloze.


A) Vicko hoaraku
B) Korunka hoáraku
C) Zapalovací svicka
D) Termoclanek

UPOZORNÉNI
Ovladač stisknéte na maximálné 15 vterín.
Jestlize se hořák nezapáli ani po 15 vterinách, uvolněte ovladač, otočte ho do polohy vypnuto a po 1 minute ho zkuste znovu zapálit.

Při přerušné dodávky elektrického pro
udu muzete hořák zapálit bez elektrick
kého zařizení. V takovém pripadě
prižte k horaku plamen, zatlacke na
príslusný ovladač a otočte jim proti
směru hodinovych ručíek na maximálni
pozici pustěného plynu.

Jestlize plamen z nejakého duvodu
zhasne, otočte ovladacem do polohy
vypnuto a po nejmné 1 minutě se pokuste hořák znovu zapálit.

Generátor jisker se muze spustit automaticy pri zapnuti elektrické sítě, po instalaci nebo výpadku proudu. Je to normální jev.
ZAVRENI HORAKU
Chcete-li plamen zavrjt, otocte ovladaem na symbol

UPOZORNENI
Prid sejmútim nádBó z hořáku vždy nejdríve ztlumte nebo zhasnéte plamen.
UZITEČNÉ RADY A TIPY

UPOZORNÉNI
Viz kapitola „Bezpečnostní informace".
nejnižsich teplotách a nenechávat jidlo prilis zhnednout.
USPORA ENERGIE
- Je-li to moźne, vźdy zakrzyvejte nádobyPoklic-kami.
- Jakmile se jidlo začne vařit, stáhněte plamen, aby se Jen dusilo.
Pouzivejte nádoby na vařeni s průměrem vchodnám pro rozměry hořák.
| Hořák | Prüměry námobí |
| Trojitá korunka | 180 - 260 mm |
| Rychlý | 180 - 260 mm |
| Středné ry-chlý (levý za-dni) | 120 - 220 mm |
| Středné ry-chlý (levý předni) | 120 - 180 mm |
| Pomocný | 80 - 180 mm |

UPOZORNÉNI
Nedávejte stejnou pánev na dva hořaky.


UPOZORNÉNİ
K dosaženi co největši stability a nizsí spotřeby plynu postavte hrnce vždy tak, aby držadla nepřecnivala prěs okrajevarné desky a hrnce byly umistěné na středu hořák.
Abyste zabrani便利it a priapnému poranéni, nepokladejte na hořaky nestabilné nebo deformované hrnce.
Varováni ohledně akrylamidú
Dulezite Podle nejnovéjsch vědeckych poznatků mohou akrylamid yzmnikajíci pri smaženi jidel dohnéda (zejmána u škrobnatych potravin) poškozovat zdraví. Doporučujeme proto vařit pri
CISTENIA UDRZBA

UPOZORNÉNİ
Viz kapitola „Bezpečnostní informace".

UPOZORNÉNI
Prid cishtinim spotbreic vypnete a nche ho vychladnout. Prid kazdou udrzbou nebo cishtinim odpoje spotbreic od zdroje elektrického napajeni.

Skrábance nebo tmavé skrvny na povrchu nemají vliv na funkci spotřebače.
Mrizky pod nadoby lze pro pohodnnejci cisteni vyjmot.
Smaltované casti, kryt a korunku hořaku umyjte vlažnouvodou se saponatem a préd jejichvlozenim zpět je rădné osuste.
- Časti z nerezové oceli omyte vodou a pak osuste měkkým hadrem.
- Mřížky pod nádoby nejsou vchodné pro myti v myčce námobí. Musí se myt ručné.
- Pri rucnim myti mfrizek pod nadoby budte opatrní pri jejich osuování, protoze smaltóváni někdy zanecháva drsne hrany. V pripadé potřeby odstraťe odolné skrvny pomoci stavóho cisticího prostředku.
- Po vycisteni mrižky pod nádoby správně umístěte.
Majil-horaky spravne fungovat, musi byt rama nema mrižek pod nadoby ve stroduhořaku.


Pfi smi nmi mizek pod nadoby budte velmi opatmi, aby nedoslo k poskozeni varne desky.
Po yciasteni spotbrebič osuste měkkým hadrem.
Priy vysokém zahrátů nerezová ocel ztratit lesk. Z tohoto duvodu nesmite vařit v nadobach z mastku, v kameninovych pánvich nebo na litinovych platech. Povrch varné desky nachraťe pri použivány hliníkovou fólii.
Odstranéni nečistot:
-
- Okamžite odstrahte: roztaveny plast, plastovou folii nebo jidlo obsahujici cukr.
-
Spotrebic vypněte a nechte jej vychladnout préd Čištěném: skvrn od vodniho kamene, vodovych kroužkú, tukovych skvrn nebo kovove lesklého zbarvení. Použijte specialní Čistici prostředek vhodné na počrch varné desky.
-
Vycistete spotbrebi vlhym hadrem s malym mnozstvim cisticico prostedku.
- Nakonec spotbrebič vytřete Čistým hadrem do sucha.
CISTENI ZAPALOVACI SVICKY
Elektrické zapalovani se provádi pomoci keramické zapalovaci svícky s kovovou elektrédou. Udžuţe tyto současti Čisté, aby hořáky dobre zapalovaly, a kontrlujte pruchodnost otvoru v koruně hořáku.
PRAVIDELNÁ UDRŽBA
Pravidelné s v servisinm stredisku objednávejte kontrlu stavu privodni plynové trubky a nastavovace tlaku, je-li instalován.
ODSTRANOVI ZAVAD
| Problém | Možná příčina | Rešení |
| Při zapaloványí plynu nevzníká jiskra. | Je přerušena dodávka elektrického proudu. | Zkontrolujte, zda je spotřebič pripojen a zda je zapnut zdroj elektrického proudu.Zkontrolujte pojistku. Jestli-že pojistka vypadne vice-krát, obrat'te se na kvali-kovaného elektrikáře. |
| Víčko hořáku a rozdělovač plamene jsou nasazeny nesymetricky. | Zkontrolujte, zda jsou víčko hořáku a rozdělovač pla-mene správně nasazeny. | |
| Plamen zhasíná ihned po za-pálení. | Termočlánek není zahrátý na dostatečnou teplotu. | Po zapálení plamene pod-rzte ovladač stisknutý jestě asi 5 sekund. |
| Plynový kroužek hoří nerov-noměrně. | Rozdělovač plamene je ucraný zbytky jidla. | Zkontrolujte, zda není hlav-ní tryska zanesená a zda na rozdělovači plamene nejsou zbytky jidel. |
Pokud dojde k poruse,Pokuste se nejprove zavadu odstranit sami. Pokud problem nemuzetevyresit sami,obre'te prosim na sveho prodejece nebo misti n servisn stredisko.
STITKY DODAVANÉ V SACKU S PRISLUSENSTVÍM
Nalepte samolepici stitky následujicim zpusobem:

V pripadé chyby v obsluze spotbrebičnebo v pripadé,Že instalaci nopovedl autorizovaný technik, budete muset návstěvu servisiho technika nebo prodejce zaplatit, i když je spotbrebić jestě v záruche.


Nalepte jej na záručni list a odeslete tutocást
2 Naleptejej na záruční list a uschovejte si tu to Část
3 Nalepte jej na návod k použití
Kryché a ucinne pomoci jsou nezbytné tyto udaje. Tyto udaje jsou k dispoczina typovem stifiku.
Oznaceni modelu
Vyrobnicislo (PNC)
- Sereiove cislo (S.N.)
Pouziveje pouze origináni nahrdní díly. Mûzete je zakoupit pouze v našem servism středisku a autorizovaných obchodech s nahrdními díly.
INSTALLACE

UPOZORNÉNİ
Viz kapitola „Bezpečnostní informace".

UPOZORNÉNI
Následujíci poukny k instalaci a udžbě smí provadět pouze kvalifikovani praccovnínci v souladu s platnými predpisy.
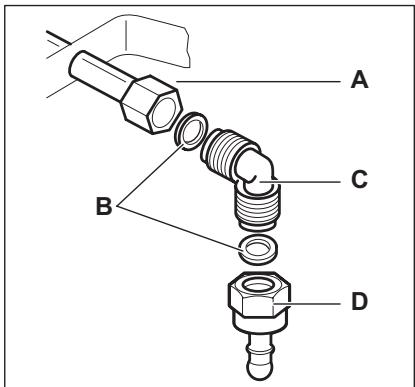
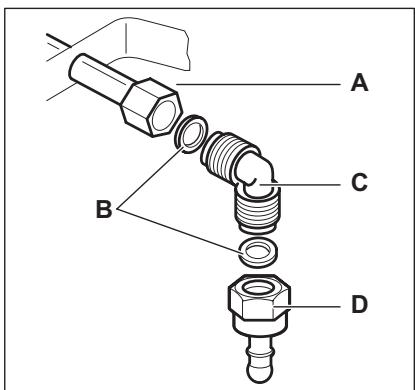
PRIPOJENI PLYNU
Zvolte pevné pripojky nebo pouzijte ohebnou hadici z nerezové oceli v souladu s platnymi predpisy. Pokud pouzijete ohebné kovové hadice, dbeje na to, aby se nikde nedotykaly pohyblivych casti, ani nebly nikde priskripnuté. Tako daneje t pozor, kdyz je varna deska nainstovalaná spo-lecně s troubou.

Zajistete, aby tlak privodu plynu do zaifzeni odpovidal doporučeným hodnotám. Nastavitelná prípojka je pripevněkú upné rampé pomoci matice se závitem G 1/2". Volné našroubujte současti, nastavte priopojen do požadovaného sméru a vě utáhněte.

A) Konec hrideles matici
B) Podložka (dodatková podložka pouze pro Slovinsko a Turecko)
C) Potrubni koleno
D) Gumový držák na potrubi pro kapalné plyn (pouze pro Slovinsko a Turecko)
Zkapalény plyn: poujite drzak gumové hadice.
Vždy poujite těsnéni. PakPokračujte s pripojením plynu. Pružnou hadici lze použít za těchto podminek:
- nesmí se zahrát na vyší než pokojovou teplo-tu, vyší než 30 °C;
-
nesmí být delsí než 1500 mm;
-
nesmi byt priiskrcena;
- nesmi byt vystavena tahu nebo zkrouceni;
- nesmi byt v kontaktu s ostrymi krajni nebo rohy;
- musí být snadno pristupné, aby mohl být kon-trolován její stav.
Př kontrôle stavu pruzné hadice se zjišťuje, zda:
- nemá po cele délce ani na koncích thrhiny,
zárezy nebo známky ohořeni; - materiai neni zvtrdly, ale ma svou normalini pruznost;
- spojovaci svorky nejsou rezavé;
-doba jei ziivotosti neni proslá.
Zjistite-li jakoukoli zu vedenych zavad, hadici neopravujte, ale vymene ji.

Po dokčeni instalace se ujistěte,Že jsou těsněni u všech spojk v pořádku. Použijte mydlový roztok, nikoliv plamen!
VYMENA TRYSEK
- Sundeje tme mrizy urcenep od nadoby.
- Odstrahte vička a korunky hořáku.
- Pomoci nastrocného kliče 7 odśroubujte vstrikovaci trysky a nahradťe je tryskami potřebnými pro použivaný druh plynu (viz tabulka v kapitole „Technické informace”).
- Stejným postupem v opačné mporadí zase jednotlivé Časti smontujte.
- Vyměnte typový stîtek (nacházi se v blízkosti privodniho plynového potrubi) za takový, který odpovédá novemu druhu dodávaného plynu. Tento stîtek mžete najit v ba-ličku dodávaném se spotřebičem.
Pokud je tlak plynu pri napajeni jinj nebo nestaly v porovnani s pozadovanym tlakem, je nutne instalovat na privodni plynové potrubi nastavovač tlaku.
NASTAVENI MINIMÁLNÍ UROVNI
Postup nastavení minimálny urovné hořáku:
- Zapalte hořák.
- Otočte ovladac do minimálné polohy.
- Odstraţe ovlăč.
- Uzkym sroubovakem nastavte polohu obtokového sroubu.

A) Señizováci sroub pro minimálny uroven
- Gestlize prejdete ze zemniho plynu G20 20 mbar (nebo na zemni plyn G20 13 mbar ^1) ) na zkapalény plyn obtokov'sroub zcela zaroubujte a utahnete.
Pri preechodu ze zkapalneho plynu na zemni plyn G20 20 mbar uvolnete obtokovy sroub asi o 1/4 otacky (1/2 otacky v pripadé hořáku s trojitou korunkou). - Při přechodu ze zemniho plynu G20 20 mbar na zemni plyn 13 mbar1) uvolněte obtokový šroub asi o 1/4 otáčky (1/2 otáčky v pripadě hořák u trojitou korunkou).
- Pri přechodu ze zkapalného plynu na zemni plyn G20 13 mbar1) povolte obtokový šroub asi o 1/2 otáčky (o celou otáčku v pripadě hořáku s trojitou korunkou).
- Při přechodu ze zemniho plynu G20 13 mbar1) na zemni plyn G20 20 mbar utáhněte obtokový sroub asi o 1/4 otáčky (1/2 otáčky v pripadé hořák u s trojitou korunkou).

UPOZORNÉNİ
Zkontrolujte, zda plamen nezhasne, ot- očite-li ovladacem rychle z maximálni do minimálni polohy.
PRIPOJENI K ELEKTRICKE SITI
- Uzměněte spotřebič v souladu s bezpečnost-nimi pokyny.
- Presvedcte se, ze jmenovite napeti a typ napajeni na typovem stitku opodvidaji napeti a vykonu mistniho zdroje napajeni.
- Spotbrebić se dodáva s napajecim kabelem. Ten musi byt vybaven správnou zăstrčkou vchodnou pro danou zátež vyznacenou na typovém stitku. Zăstrčka musi bytzasunuta do správné zásuvky.
- Jakoukoliv elektrickou součast smi nainstalovat Či vyměnit pouze technik servisiho střediska nebo jiný kvalifikovaný servisi pracovnik.
Vždy používejte správně instalovanou sítovou zásuvku s ochranou proti urazu elektrkým proudem.
- Po instalaci musi zustat si'tová zastrčka nadále dostupné.
- Neodpojute spotbrebi ze zásuvky tohem za kabel. Vždy tahejte za zástróku.
- Spotrebic nesmi byt priopojen pomoci prodlu-zovacijo kabelu, rozdvojki ani vicenasobného priopojeni (nebezpeci pozaru). Zkontrolujte, zda uzeměni splnju platné normy a naženi.
- Napajeci kabel musi byt veden tak, aby se nedotykal horkyh chasti.
- Pripojte spotbrebič k siti pomoci zařizení, které umozhnuje odpojení vsech polu spotbrebič od zdroje napajeni's mezerou mezi kontakty nejměne 3 mm, tj. např. ochranné vypínače vedení, spoustěče uzemnéni nebo povistky.
- Zădna z crusti pripojovaciho kabelu nesmi mit teplotu vyši než 90 °C. Modrý nulový vodič musí byt prijojen do svorkovnice označené pismenem „N". Hnéde (nebo Černě) zabarveny fázový vodič (prijojený ve svorkovnici ke kontaktu označenému pismenem „L“) musí byt vždy prijojen k fázi (živý).
VYMENA PRIPOJOVACHO KABELU
Pripojovaci kabel vyměnte pouze za kabel H05V2V2-F T90 nebo ekvivalentní typ. Ujistěte se,Že prúžez kabelu odpováda napétí a provozní teplotě. Zemnicí vodič zbarvený Žlutozeleně musí být približné o 2 cm delší než hnédy (nebo Černý) fázový vodič.

VESTAVBA


A) dodávané těsnivo
B) dodávané konzole
MOZNOSTI ZAPUŠTěNI
Kuchynska skrffka s dvifky
Panel instalovaný pod varnou deskou musí byt snadno odnimatelný a umožnovat snadný pristup v pripadé, ze je nutné technický zasah.
TECHNICKE INFORMACE
Rozměry varné desky
| Šīfka: | 744 mm |
| Délka: | 510 mm |
Rozměry vyřezu pro varnou desku
| Šīrka: | 560 mm |
| Délka: | 480 mm |
Tepelny vykon
| Hořák s trojitou ko-runkou: | 4,0 kW |
| Rychlý hořák: | 3,0 kW |
| Středné rychlý hořák: | 2,0 kW |

Rozmery výřezu pro varnou desku musi odpovidat uvedenyím hodnotám a kuchynská linka musí být vybavena otvory pro trvaly prívod vzduchu. Elektrické pripojeni varné desky a trouby musí být z bezpečnostrnich dūvodú instalováno oddělené a umozhovat snadné vyjmutí trouby z linky.

| Pomocný hořák: | 1,0 kW |
| CELKOVÁ VYKON: | G20 (2H) 20 mbar = 12 kW G30/G31 (3B/P) 30/30 mbar = 887 g/h |
| Elektrické napájení: | 230 V ~ 50 Hz |
| Kategorie: | II2H3B/P |
| Připojení plynu: | G 1/2" |
| Přívod plynu: | G20 (2H) 20 mbar |
| Třída spotřebiče: | 3 |
Prüméry ventilú
| Hořák | Ø trysek v 1/100 mm |
| Pomocný | 28 |
| Středné rychlí | 32 |
| Hořák | Ø trysek v 1/100 mm |
| Rychlíy | 42 |
| Trojítá korunka | 56 |
Plynové hořáky
| HORÁK | NORMÁLNI VÍKON | SNIŽENÍ VÍKON | NORMÁLNI VÍKON | |||
| ZEMNI PLYN G20 (2H) 20 mbar | LPG (Propan-butan) G30/G31 (3B/P) 30/30 mbar | |||||
| kW | kW | vstřikoványí 1/100 mm | m³/h | vstřikoványí 1/100 mm | g/h | |
| Pomocný | 1.0 | 0.33 | 70 | 0.095 | 50 | 73 |
| Středné ry- chlý | 2.0 | 0.45 | 96 | 0.190 | 71 | 145 |
| Rychlý | 3.0 (zemni plyn) 3.2 (LPG) | 0.75 | 119 | 0.286 | 88 | 233 |
| Trojitá ko- runka | 4.0 | 1.4 | 146 | 0.381 | 98 | 291 |
Plynové hořáky G20 13 mbar - jen Rusko
| HORÁK | NORMÁLNI VÍKON | SNÍZENY VÍKON | NORMÁLNI VÍKON | |
| ZEMNÍ PLYN G20 (2H) 13 mbar | ||||
| kW | kW | vstřikovány 1/100 mm | m³/h | |
| Pomocný | 1.0 | 0.33 | 82 | 0.106 |
| Středné rychlý | 2.0 | 0.45 | 111 | 0.212 |
| Rychlý | 3.0 | 0.75 | 149 | 0.318 |
| Trojtá korunka | 4.0 | 1.4 | 174 | 0.424 |
POZNÁMKY K OCHRANE ZIVOTNIHO PROSTREDI
Obaly vyhodte do prisluznych opadnich kontejneru k recyklaci.
Pomáhejte chraniţživotni prostreţă i lidské zdravī a recykovat elektrické a elektronické
spotbrebié urcén klikvidaci. Spotfebié označené príslušnám symbolem nelikvidujte spolu s domovnim opadem. Spotfebić odevzdejte v mistrém sběrném dvoře nebo kontaktujiće mistrni Úrad.
SOMMAIRE
CONSIGNES DE SECURITE 17
DESCRIPTION DE L'APPAREIL 20
UTILISATION QUOTIDIENNE 21
CONSEILS UTILES 23
ENTRETIEN ET NETTOYAGE 24
EN CAS D'ANOMALIE DE FONCTIONNEMENT 26
INSTALLATION 28
CHARACTERISTIQUES TECHNIQUES 31
EN MATIÈRE DE PROTECTION DE L'ENVIRONNEMENT 32
NOUS PENSES À VOUS
Vseobecné informáce a típy

Environmental informácia
Vyhradzujeme si pravo na zmeny bez predchadzajuceho upozornenia.

BEZPEČNOSTNÉ POKNY
Elektrické zapojenie

VAROVANIE
- Informação o správnéj likvidácii spotrebiča vám poskytne vás miestny urad.
- Spotrebic odpoje od elektrickej siete.
- Odrežte elektricky napájaci kabel a zlikvidujte ho.
Zarovnajte vonkaisie plynové trabice.
ROZLOZENIE VARNEHO POVRCHU

1 Stredne rychly horák
2 Trojity horák
3 Rychly horak
4 Pomocny horak
5 Otočné ovládačé
OVLADACIE GOMBI KY
Pred polożením kuchynského riadu horák vždy zapáte.
Zapalenie horáka:
Ak horák náhodou zhasne, otočte ovlá-dací gombik do polohy vypnutia, počkajte aspon 1 minútu a skúste znovu zapálit horák.

Po instalacii alebo zapnuti napajania po vypadku sa moze genarator iskier aktivovat' automaticicky. Je to normalne.
VYPNUTIE HORAKA
Aby ste zhasli palmen, otocte gombik na symbol


VAROVANIE
Použivajte kuchynský riad s priemerom zodpovedajucim veilkosti horakov.
| Horák | Priemery kuchynského ria-du |
| Trojity | 180 - 260 mm |
| Rychly | 180 - 260 mm |
| Stredne rychy (lavý za-dný) | 120 - 220 mm |
| Stredne rychy ly (lavý pred-ný) | 120 - 180 mm |
| Pomocné | 80 - 180 mm |

VAROVANIE
Jednu varnu nádobu nikdy nedávajte na dva horaky.


VAROVANIE
V záujme jegnoduchsieho cistenia varnéhopanela je mozné podstavce na hrnce odstránit.
- Necistoty zo smaltovanych dielov, viečok a koruniek odstránte teplou mydlovou vodou a pred opatovným nasadením ich dōkladne osušte.
Diely z nehrdzavejucej oele umye vodou a utrite ich dosucha makkou handrou.
- Podstavce na varne nádoby nie su urcené na umyvanie v umyvačke riadu. Musite ich umyvat nučne.
Pri ručnom umýváná sušení podstavcov na varné nádoby postupujte opatrne, pretože proces smaltovania niededy zanecháva ostré hrany. V pripadé potreby odstránte odolné škrnny použitím Čistacej pasty.
- Po cisteni skontrolujte, cisu podstavce umiestnene spravne.
- Skonrolujte, cisu ramenapodstavcov na hrnce umiestnene v strede horaka,aby horaky správné fungovali.

Použivajte iba originé nahradné diely. Získate ich v autorizovanom servisnom stredisku alebo v autorizovaných predajnach s nahradnymi dieimi.
INSTALÁCIA

VAROVANIE
Ubezpečte sa, ze tlak privodu plynu do spotrebica zodpovedá odporúčaným hodnotám. Nastavitelná pripojka je upevně k ustrednej pripojke plynu pomocou matice so závitom G 1/2". Dielce zaskrutkujte bez použitá sily, pripojku nastavte do požadovaného smeru a všetko dotiahnite.

| Trojity horák: | 4,0 kW |
| Rychly horák: | 3,0 kW |
| Stredne rychly ho-rák: | 2,0 kW |

A) Vyberateǐn'y panel
B) Priestor pre prípojky
| Horák | Ø privodu v 1/100 mm |
| Pomocný | 28 |
| Stredne rychly | 32 |
| Horák | Ø privvodu v 1/100 mm |
| Rychly | 42 |
| Trojitý | 56 |
Plynové horaky
| HORÁK | NORMÁLNY VYKON | ZNIŽENÍV YKON | NORMÁLNY VYKON | |||
| ZEMNÍ PLYNG20 (2H) 20 mbar | LPG (Bután/propán)G30/G31 (3B/P) 30/30mbar | |||||
| kW | kW | tryska1/100 mm | m3/h | tryska1/100 mm | g/h | |
| Pomocný | 1.0 | 0.33 | 70 | 0.095 | 50 | 73 |
| Stredne rychly | 2.0 | 0.45 | 96 | 0.190 | 71 | 145 |
| Rychly | 3.0 (zemný plyn)3.2 (propán-bután) | 0.75 | 119 | 0.286 | 88 | 233 |
| Trojtý | 4.0 | 1.4 | 146 | 0.381 | 98 | 291 |
SnadnýManuál