EGT6343LOK - Varná deska AEG-ELECTROLUX - Bezplatný návod k obsluze
Najděte návod k zařízení zdarma EGT6343LOK AEG-ELECTROLUX ve formátu PDF.
Questions des utilisateurs sur EGT6343LOK AEG-ELECTROLUX
0 question sur cet appareil. Repondez a celles que vous connaissez ou posez la votre.
Poser une nouvelle question sur cet appareil
Stáhněte si návod pro váš Varná deska ve formátu PDF zdarma! Najděte svůj návod EGT6343LOK - AEG-ELECTROLUX a vezměte svůj elektronický přístroj zpět do rukou. Na této stránce jsou zveřejněny všechny dokumenty potřebné k používání vašeho zařízení. EGT6343LOK značky AEG-ELECTROLUX.
NÁVOD K OBSLUZE EGT6343LOK AEG-ELECTROLUX
Dekujeme, ze jste si zakoupili spotbreic znacky Electrolux. Vybrali jste si produkt, se kterym jsou spjaty desitky let professionlncich zkuenosti a inovaci. Tento dumyslny a stylovy spotbreic bynvrzen s ohledem na jeho uzivatele. Kdykoliv jej tak pouzivate, muzete se spolehnout, ze pokaźde dosahnete skvělchy vysledku.
Vita Vás Electrolux.
Navstivne naše stranky ohledné:

Rady ohledné používání, brožury, poradce pri potížích, servisnich informác: www.electrolux.com

Registracevašeho spotřebiče, kterou získáte lepí servis: www.electrolux.com/productregistration

Nákupu príslušenství, spotřebního materialu a originálnich náhradnílù pro vás spotřebič: www.electrolux.com/shop
PÉČE O ZÁKAZNIÍKY A SERVIS
Při kontaktu se servisin strediskem se ujistěte, ze mate k dispozici následujícú udaje.
Tyto informace jsou uvedeny na typovém štítku. Model, vyrobní cislo (PNC), sériove cislo.

Upozornéni / Dulezite bezpečnostné informace.

Vseobecné informace a rady

Upozornéni k ochraněživotniho prostfédi
Změny vyhrazeny.
1. BEZPEČNOSTNI INFORMACE
Tento spotbrebič je vchodné pro následujíci trhy: BG CZ FR SK
Tento námod si pečíve préčěte jestě pred instalaci spotřebiece a jeho prvním použitim. Vyrobce nezodpovídá za škody a zraněni zpúsobena nasprávnou instalaci ā chybným použivaním. Námod k použiti vždy uchovávejte spolu se spotřebiecem pro jeho budouci použítí.
1.1 Bezpečnost děti a postiženych osob

UPOZORNÉNI
Hrozi nebezpeci udušeni, urazu nebo jin'ych trvalych nasledku.
- Nedovolte, aby spotbrebic pouzivaly osoby, včetné děti, se zhorsenymi fyzickými a smyslovými schopnostmi, snizenymi mentalníními funkcemì nebo nedostatkem zkušenosti aznalostí. Takové osoby mohou spotbrebic použivat jen pod dozorem nebo vedením osob odpovedních za jejich bezpečnost.
- Neneche tdet hrat si se spotrebicem.
Vsechny obaly uschovejte z dosahu deti. - Je-li spotbrebič v provozu neboPokud chladne, nedovolte dětem a domácim zviřatum, aby se k němu príblížovaly. Přistupné cásti jsou horé.
- Pokud je spotbreic vybaven dětskou bezpečnostní pojistkou, doporučuje se ji aktivovat.
1.2 Instalace

UPOZORNÉNI
Tento spotbrebi smi instalovat jen kvalifikovaná osoba.
- Odstraţe vešekrý obalový material.
- Poškozený spotřebic neinstalujte ani nepoužívejte.
- Rid'te se pouny k instalaci dodanymi spolu s tímtó spotbrebičem.
Dodržujte minimálny vzdálenosti od ostatních spotřebicu a nábytku.
Při premistovani spotbrebiče budte vždy opatrni, protoze je těžký. Vždy nods ochranné rukavice. - Utesnete vyez v povrchu pomoci tesigniva, abyste zabrani bil boptnani z duvodu vlhkosti.
-
Chrañte dno spotrebicé préd párou a vlhkesti.
-
Spotěbrečneinstalujte vedle dveři Č pod oknem. Zabránite tak štržení horkého nádobí ze spotěbrečne pri otevirány dveři Č okna.
- Pokud je spotbrebic instalován nad zásuvkami, ujistete se,Že prostor mezi dneim spotbrebic a horní zásuvkou zajistuje dostatečnou cirkulaci vzduchu.
- Spodek spotbrebcie se muze silne zahrát. Doporučujeme proto instalovat nehořlavý samostatnépáol pod spotbrebcim, který bude zakrývat spodek spotbrebcie.
Pripojení k elektrické siti

UPOZORNÉNI
Hrozi nebezeci pozaru nebo urazu elektrickym proudem.
- Veškerá elektrická pripojení musi byt provedená kvalifikovaným elektrárěm.
- Před jakýmkoliv zapojovámimej ujistěte, ze neni hlavní svorka pod proudem.
Ujistete se, ze je spotbrebič nainstalován správně. Volné a nesprávné spojení zástrčky se zásuvkou můze mít za následek prěhráti svorky. - Ujistete se, ze je nainstalována ochraṇa préd urazem elektrickým proudem.
Dbejteta to,aby se elektrické privodni kabely nedotykaly spotbrebiče nebo horkého nádobí, když spotbrebič pripojujete do blízké zásuvky. - Elektrické kabely nesmi byt zamotané.
K odlehčeni siloveho pnuti v kabelu použijte odlehčovaci sponu. - Použijte správný typ napajecího kabelu.
Dbejte na to, abyste nepoškodili napáćí kabel a sit'ovou zástrčku. Pro vymenu napáćího kabelu se obrat'te na servnis strédisko ne-bo elektrikáře. - Je nutné instalovat vhdóny vypínač nebo izolačné zařizení k rádému odpojení všech napájecích vodičů spotěbeče. Toto izolačné zařizení musi mit mezeru mezi kontakty aleśspón 3 mm širokou.
- Používejte pouze správná izolačné zařizení: ochranné vypínače vedení, pojistky (pojistky šroubověho typu se musí odstranit z držák), ochranné zemplnici jističe a stykače.
Pripojen plynu
- Veskera plynová pripojeni by mela byt provedena kvalifikovanou osobou.
Zkontrolujte, zda kolem spotbrebiče muže ob-ihat chladné vzduch. - Informace ohledne privodu plynu naleznete na typovém štītu.
Tento spotbrebi neni pripojen k zaifeni na odvod spalin. Ujistete se, ze je spotbrebi pripojen dre aktualln ich instalacnich vyhlasek. Dbeje na pozadavky tykajici se dostatecné ventilace.
1.3 Použití spotbreicine

UPOZORNÉNİ
Hrozi nebezpeci zraneni, popaleni ci urazu elektrickym proudem.
Tento spotbrebič používejte vyhradně v domac-nosti.
- Neměnte technické parametry tohoto spotřebiče.
- Spotěbric nepoužívejte spolu s externím Ācasováčem nebo samostatnám dálkovým ovládáním.
Zapnuty spotbreic nenecháveje bez dozoru.
- Nepracujte se spotbrebičem, když mate vlhék ruce nebo když je v kontaktu s vodou.
- Na varne zony nepokladeje príbory nebo po-klicky. Byly by horké.
- Po použiti nastavte varnou zónu do polohy „vypnuto".
Nepouživejte spotřebič jako pracovní nebo odkládaci plochu.
- Pokud je povrch spotbrebiče praskly, okamžite jej odpojte ze sítě. Zabránité tak urazu elektrickým proudem.

UPOZORNÉNI
Hrozi nebezpeci pozaru nebo vybuchu.
Tuky a oleje mohou pri zahrati uvolnovat hoilavé páry. Když vařite s tuky a oleji, držte plameny a ohráte predměty mimo jejich do-sah.
Páry uvolnované velmi horkymi oleji se mohou samovolné vznítit.
Použitý olej, který obsahuje zbytky potravin, muže zpúsobit požár pri nižsich teplotách než olej, který se používa poprvé.
- Do spotřebiče, do jeho blízkosti nebo na spotřebičneumistujte hořavé predměty nebo predměty obsahujíci hořavé látky.
Nepokouseje to hasit ohen vodou. Odpojte spotbreiace a plameny prikryjte vikem nebo hasici rouskou.

UPOZORNÉNI
Hrozi nebezpeci poškozeni spotřebače.
Nepokladeje horké nádoby na ovladaci panel.
Nenechte vyvaitr vodu v nadobach.
Dbejt na to, aby na spotbrebic nespadly varné nádoby ājiné prédméty. Mohl by se poškodit jeho povrch.
- Nezapínejte varné zony s prázdnými nádobami nebo zcela bez námob.
- Na spotrebic nepokladeje hlinikovou folii.
Nádoby vyrobené z litiny ā hliniku nebo nádoby s poskozený dnem mohou zpúsobit poškrábaní sklokeramíky. Tyto prědměty prižresouványá na varné desce vždy zdvihnéte.
V misté instalace spotbrebié zaïd'te dobrou ventilaci.
Ujistete se, ze nejsou ventilacni otvory zakry- te.
- Používejte pouze nádobi sé správným tvarem a prüměrem dna větím než jsou rozměry hóráku. Hroží nebezpečí prehrátá prasknutí skleněné desky (je-li součástí spotřebie).
Zkontrolujte, zda plamen nezhasne, otočite-li ovladacem rychle z maximálni do minimálni polohy.
- Ujistete se, ze jsou nádoby umistěny na středu plotýnék a nepřčnivaji prěs okrajevárne desky.
Používejte pouze príslušenstvì dodávané se spotřebičem.
- Na hořáky neinstalujte rozptylovac plamene.
1.4 Cisteni a udrzba

UPOZORNÉNI
Hrozi nebezpeci poškozeni spotřebie.
- Spotbrebic cistete pravidelné, abyste zabranychi poskozeni materiaú jeho povrchu.
K Čišění spotřebiče nepoužívejte proudly vody nebo páru.
Vycistete spotfebi vhlkym mekkym hadrem. Pouziveje pouze neutralni myci prostfedy. Nepouziveje prostfedy s drsnymi casticemi, dratenky, Rozpousteda nebo kovove predmety.
1.5 Likvidace

UPOZORNENI Hrozi nebezpeci urazu ci udušeni.
-
Pro informace ohledne správné likvidace spotěbíče se obrat'te na mistné uřady.
-
Odpojte spotřebič od elektrické sítě.
- Odrizněte a vyhodte sitový kabel.
Vnejsi plynové potrubi slusijte.
2. POPIS SPOTČBICE
2.1 Usporadani varne desky

1 Stfedně rychly hořák
2 Horak s trojitou korunkou
3 Pomocny hořák
4 Ovladače
2.2 Ovladače
Viz kapitola „Bezpečnostní informace".
3.1 Zapaleni hořáku

UPOZORNÉNİ
Pri použivani otevřeño ohne v kuchyni bud'te velmi opatrní. Vyrobce odmitá jakoukoli opodovednost za chybné použitiplamene.

Horak vždy zapalte préd tim, než na něj postavite nádobu.
Zapäleni hořaku:
- Otočte ovladacěm doleva do mezni polohy ( ) a stisknéte jej.
- Drzte ovladac zatlaceny asi 5 sekund, aby se termoclanek zahrál. V opacné mřipadě bude prívod plynu prerušen.
- Kdyz se plamen ustali, nastavte jeho intenzitu.

Jestlize se hořák ani po několíka poku-sech nezapálí, zkontrolujte, zda je roždělovač plamene a和他的 včko ve správné poloze.

A) Vičko a korunka hořáku
B) Termoclanek
C) Zapalovací svčka

A) Vicko hoaraku
B) Korunka hořáku
C) Zapalovac svička
D) Termoclanek
4. UZITEČNÉ RADY A TIPY

UPOZORNÉNI
Viz kapitola „Bezpečnostní informace".
4.1 Uspora energia
- Je-li to moźne, vźdy zakryvejte nádobyPoklic-kami.
- Jakmile se jidlo začne vařit, stáhněte plamen, aby se jen dusilo.
UPOZORNÉNÍ
Ovladač stisknéte na maximálne 15 větin.
Jestlize se hořák nezapálí ani po 15 vterinách, uvolněte ovladač, otočte ho do polohy vypnuto a po 1 minute ho zkuste znovu zapálit.

Při přerušné dodávky elektrického pro
udu muzete hořák zapálit bez elektrického zařizení. V takovém pripadě
prilozte k horaku plamen, zatlacte na
prišlustróv ovladáč a otočte jim proti
směru hodinovych ručíek na maximálí
pozici pužěného plynu.

Jestlize plamen z nejakého duvodu
zhasne, otočte ovladacem do polohy
vypnuto a po nejmné 1 minutě se po
kuste hořák znovu zapálit.

Generátor jisker se muze spustit automaticky pri zapnuti elektrické sítě, po instalaci nebo výpadku proudu. Je to normální jev.
3.2 Zavřeni hořák
Chcete-li plamen zavrjt, otocte ovladaem na symbol

UPOZORNENI
Prid sejmūm nádobí z hořáku vždy nejdríve ztlumte nebo zhasněte plamen.
Pouzivejte nádoby na vaění s prüměrem vchodnám pro rozměry hořák.
| Hořák | Prüměry nádobí |
| S trojitou ko-runkou (pra-vý) | 220 - 260 mm |
| Středné ry-chlý (levý) | 220 - 260 mm |
| Středné ry-chlý (zadní) | 140 - 180 mm |
| Pomocný (přední) | 140 - 180 mm |

UPOZORNÉNİ
Na plynovych horacich nepouziveje tlinové, mastkové, grilovaci nebo opekaci platy.

UPOZORNÉNÍ
Nedávejte stejnou pánev na dva hořaky.


UPOZORNÉNİ
K dosaženi co největši stability a nizsí spotřeby plynu postavte hrnce vždy tak, aby držadla nepřecnivala prěs okrajevarné desky a hrnce byly umistěné na středu hořák.
5. CISTENI A UDRZBA

UPOZORNÉNI
Viz kapitola „Bezpečnostní informace".

UPOZORNÉNİ
Před Čistěním spotbrebi vypněte a nčchte ho vychladnout. Před každou udržbou nebo Čistěním odpoje spotbrebi od zdroje elektrického napájení.

UPOZORNÉNI
Z bezpečnostnich dūvodu nečistěte spotřebic parními nebo vysoketlakymi Čistici pristroji.

UPOZORNÉNI
Nepoužívejte drátěnky, kyseliny nebo abrazivné materialy. Spotřebrí by se mohl poškodit.

Skrábance nebo tmavé skrvny na povrchu nemají vliv na funkci spotěbreče.
Abyste zabrani rozliti a pripadnemu poraneni, nepokladeje na hoRARY nestabilni nebo deformované hrnce.

UPOZORNÉNI
Tekutiny Rozlité během vařeni mohou zpúsobit prasknutí skla.
Varováni ohledně akrylamidú
Dulezite Podle nejnovéjsich vědeckych poznatků mohou akrylamidy vznikajici pri smaženi jidel dohnéda (zejmána u škrobnatych potravin) poskozovat zdraví. Doporučujeme proto vařit pri nejnižsich teplotách a nenechávat jidlo prilis zhnednout.
Mrizky pod nadoby lze pro pohodnji sci ciesteni vyjmout.
Smaltované casti, kryt a korunku hořáku umyite vlažnouvodou se saponátemapréd jejich vlozením zpět je rădné osuste.
- Časti z nerezavějici oceli omyjte vodou a pak osuste měkkým hadrem.
Mrizky pod nadoby nejsou vhodné pro mytiv mycce.Musi byt mytrucné.
- Pri rucnim myti mřízek pod nádoby budte opatrni pri jejich osušovani, protoze smaltováni někdy zanecháva drsné hrany. V pripadé potřeby odstraće odolné skrvny pomoci stavóho cisticího prostředku.
- Po vycisteni mrižky pod nádoby správně umi-stete.
Maji-li hořaky správně fungovat, musí být ramena mřížek pod nádoby ve středu hořák.
Pfn snimani mfiizek pod nadoby budte velmi opatmi, aby nedoslo k poskozeni varne desky.
Po ycišění spotřebrić osušte měkkým hadrem.
Odstræné necistot:
-
- Okamžite odstrante: roztaveny plast, plastovou folii nebo jidlo obsahujíc Slovak.
- Spotrebic vypněte a nechte jej vychladnout préd Čištěním: skvr od vodniho kamene, vodovych kroužkú, tukovych skvr nebo kovově lesklého zbarvení. Použijte specialní Čistíci prostředek vhodné na povrch varné desky.
- Vycistete spotrebic vlhkym hadrem s malym mnozstvim cisticico hro prostedku.
- Nakonec spotbrebič vytfete Čistým hadrem do sucha.

UPOZORNÉNI
K Čišěné povrchu skla nebo prostoru mezi okrajem hořáků a rámem (je-li současti spotřebie) nepoužívejte noze, škrabky Č podobné nastroje.

UPOZORNÉNI
Nadobí neposouveje po ske, protoze by mohl dojt k poškrábani povrchu. Také dbeje na to, aby na sklo nebo na okraje varné desky nespady tvrdé ci ostre prédméty.
5.1 Čišěnéz zapalovací svicky
Elektrické zapalovani se provádi pomoci keramické zapalovaci svícky s kovovou elektrodou. Udžuţe tyto současti Čisté, aby hořaky dobre zapalovaly, a kontrolujte pruchodnost otvoru v koruně hořák.
5.2 Pravidná udrzba
Pravidelné s v servisinm stredisku objednávejte kontrlu stavu privodni plynové trabky a nastavovace tlaku, je-li instalován.
6. ODSTRUANOVÁNÍ ZÁVAD
| Problém | Možná príčina | Rešení |
| Při zapalovány plnu nevzníká jiskra. | Je přerušena dodávka elektrického proudu. | Zkontrolujte, zda je spotřebič pripojen a zda je zapnut zdroj elektrického proudu.Zkontrolujte pojistku. jestli-že pojistka vypadneVICE-krát, obrat'te se na kvali-kovaného elektrikáře. |
| Víčko hořák a Rozdělovač plamene jsou nasazeny nesymetrický. | Zkontrolujte, zda jsou včko hořák a Rozdělovač pla-mene správně nasazeny. | |
| Plamen zhasíná ihned po za-pálení. | Termočlánek není zahrátý na dostatečnou teplotu. | Po zapáléní plamene pod-ržte ovladač stisknutý jestě asi 5 sekund. |
| Plynový kroužek hoří nerov-noměrně. | Rozdělovač plamene je ucpaný zbytky jidla. | Zkontrolujte, zda není hlav-ní tryska zanesença a zda na Rozdělovači plamene nejsou zbytky jidel. |
Pokud dojde k poruse,Pokuste se nejprze zavadu odstranit sami. Pokud problem nemuzete vyresit sami, obratte se prosim na svheho prodeje ce nebo misti n servisni stredisko.
V pripadé chyby v oblsuze spotřebicne nebo v pripadé, ze instalaci nopproved autorizovaný technik, budete muset návstěvu servisniho technika nebo prodejece zaplatit, i když je spotřebic jeste v záruce.
K rychlé a učinné pomoci jsou nezbytné tyto udaje. Tyto udaje jsou k dispozici na typovém štiku.
Oznaceni modelu
Vyrobni cislo (PNC)
Seriove csislo (S.N.)
Používejte pouze originál náhradni díly. Múžete je zakoupit pouze v našem servisin mstredisku a autorizovaných obchodech s náhradnimi díly.
6.1 Šitky dodávané v sáčku s príslušenstvím
Nalepte samolepici stitky následujicim zpúsobem:

1 Nalepte jej na záručné list a odešlete tutocást
2 Nalepte jej na záručné list a uschoveje si tu to Část
Viz kapitola „Bezpečnostní informace".

UPOZORNÉNÍ
Následujíci poukny k instalaci a udžbě smí provadět pouze kvalifikovani praccovnínci v souladu s platnými predpisy.

Zajistete, aby tlak privodu plynu do zaifizeni odpovidal doporučeným hodnotám. Nastavitelná prípojka je pripevněkú upné rampé pomoci matice se závitem G 1/2". Volné našroubujte současti, nastavte prípojení do požadovaného sméru a věs utáhněte.
7.1 Pripojeni plynu
Zvolte pevné pripojky nebo pouzijte ohebnou hadici z nerezové oceli v souladu s platnymi predpisy. Pokud pouzijete ohebné kovové hadice, dbeje na to, aby se nikde nedotykaly pohyblivych cástí, ani nebyly nikde priskriputé. Taki davejte pozor, když je varna deska nainstalovaná spo-lecně s troubou.

A) Konech hrideles matici
B) Podložka (dodatková podložka pouze pro Slovinsko a Turecko)
C) Potrubni koleno
D) Gumový držák na potrubi pro kapalné plyn (pouze pro Slovinsko a Turecko)
Zkapalény plyn: poujite drzak gumové hadice. Vždy poujite těsnéni. PakPokračujte s pripojením plynu. Pružnou hadici lze použít za těchto podminek:
- nesmí se zahrát na vyšínež pokojovou teplo-tu, vyšínež 30 °C;
- nesmi byt dels i nez 1500 mm;
- nesmi byt priiskrcena;
- nesmi byt vystavena tahu nebo zkrouceni;
- nesmi byt v kontaktu s ostrymi kraji nebo rohy;
- musi byt snadno pristupná, aby mohl byt kontrlován její stav.
Pri kontrrole stavu pruzné hadice se zjišťuje, zda:
- nemá po cele délce ani na koncích thrliny, zárezy nebo známky ohořeni;
- materiai neni ztvrdly, ale ma svou normalini pruznost;
- spojovaci svorky nejsou rezavé;
-doba jei zivotosti neni prošla.
Zjisté-li jakoukoli z uvedenych zavad, hadici neopravujte, ale vyměnte ji.

Po dokčeni instalace se ujistěte,Že jsou těsněni u všech spojk v pořádku. Použijte mydlový roztok, nikoliv plamen!
7.2 Vymena trysek
- Sundeje tme mizky urcenep od nadoby.
- Odstrahte vička a korunky hořáku.
- Pomoci nastrochévo klice 7 odrsoubujte vstrikovaci trysky a nahradte je tryskami
2) pouze pro Rusko
potrebnymi pro použivaný druh plynu (viz tabulka v kapitole „Technické informace").
- Stejným postupem v opacné mpoárdí zase jednotlivé cásti smontujte.
- Vyměnte typový stítek (nacházi se v blízkosti prívodniho plynového potrubi) za takový, který odpovída novemu druhu dodávaného plynu. Tento stítek muzete najít v ba-ličku dodávaném se spotřebičem.
Pokud je tlak plynu pri napajeni jinj nebo nestaly v porovnani s požadovanym tlakem, je nutné instalovat na privodni plynové potrubí nastavovač tlaku.
Postup nastavení minimálné urovné hořáku:
- Zapalte hořák.
- Otočte ovladac do minimálné polohy.
- Odmontujte regulačni kohout.
- Uzkym sroubovakem nastavte polohu obtokového sroubu.

A)Obtokov'sroub
- Gestlize prejdete ze zemniho plynu G20 20 mbar (nebo na zemni plyn G20 13 mbar) na zkapalény plyn obtokový sroub zcela zašrou-bujte a utáhněte.
- Pri prechodu ze zkapalněloho plynu na zemni plyn G20 20 mbar povolte obtokový šroub asi o 1/4 otáčky.
- Při přechodu ze zemniho plynu G20 20 mbar na zemni plyn G20 13 mbar ^2) povolte obtokový šroub asi o 1/4 otáčky.
- Při přechodu ze zkapnalého plynu na zemni plyn G20 13 mbar²) povolte obtokový šroub asi o 1/2 otáčky.
- Při přechodu ze zemniho plynu G20 13 mbar ^2) na zemni plyn G20 20 mbar utáhněte obtokový sroub asi o 1/4 otáčky.

UPOZORNÉNI
Zkontrolujte, zda plamen nezhasne, otocite-li ovladaem rychle z maximalin do minimalin polohy.
7.4 Připojeni k elektrické siti
Uzmnefte spotbreic v souladus bezpecnost-nimi poukny.
- Presvedcte se, ze jmenovite napeti a typ napajeni na typovem stitku opodvidaji napeti a vykonu mistrinoho zdroje napajeni.
- Spotbrebić se dodáva s napajecim kabelem. Ten musi byt vybaven správnou zăstrčkou vchodnou pro danou zátež vyznacenou na typovém stitku. Zăstrčka musi bytzasunuta do správné zăsuvky.
- Jakoukoliv elektrickou součast smi nainstalovat Č vyměnit pouze technik servisniho střediska nebo jiný kvalifikovaný servisi pracovnik.
Vždy používejte správně instalovanou sítovou zásuvku s ochranou proti urazu elektrickým proudem.
- Po instalaci musi zustat sit'ová zastroka nadále dostupné.
- Neodpojute spotbrebi ze zásuvky tohem za kabel. Vždy tahejte za zástróku.
- Spotrebic nesmi byt priopojen pomoci prodlu-zovacijo kabelu, rozdvojki ani vizenásobného priopojeni (nebezpeci pozaru). Zkontrolujte, zda uzeměni splnju platné normy a naízeni.
- Napajćí kabel musi byt veden tak, aby se nedotýkal horkyh chasti.
- Pripojte spotfěbič k siti pomoci zařizení, které umozhůje odojení všech polu spotfěbiče od zdroje napájení s mezerou mezi kontakty nejměne 3 mm, tj. např. ochranné vypínače vedení, spoustěče uzemnéni nebo pojstky.
- Zádná z cásti prípojovacího kabelu nesmí mít teplotu vyší než 90 °C. Modrý nułový vodič musí byt prípojen do svorkovnice označnépismenem „N". Hnéde (nebo Černě) zabarveny fázový vodič (prípojený ve svorkovnici ke kontaktu označnému písmenem „L“) musí byt vždy prípojen k fázi (živý).
7.5 Vyměna prípojovacího kabelu
Pripojovaci kabel vyměnte pouze za kabel H05V2V2-F T90 nebo ekvivalentné typ. Ujistěte se, ze prúžez kabelu odpovída napétí a provozníteplotě. Zemnicí vodíč zbarvený Žlutozeleně musí být približné o 2 cm delší než hnédý (nebo Černý) fázový vodíč.
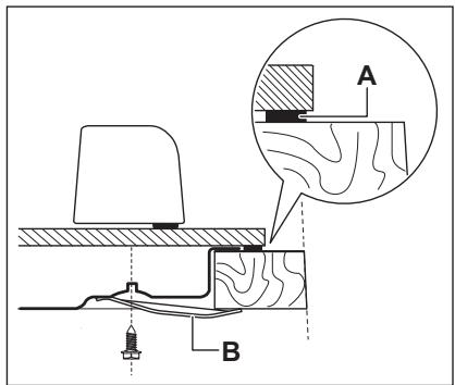
7.6 Vestavba



A) dodávané těsnivo
B) dodávané konzole
7.7 Možnosti zapustěné
Kuchynska skrinfka s dvifky
Panel instalovaný pod varnou deskou musí být snadno odnimatelný a umožnovat snadný pristup v pripadé, ze je nutné technický zásh.

A) Odnimatelny panel
B) Prostor pro pripojky
Kuchynska skriinka s troubou
Rozměry vyřezu pro varnou desku musi opoví-dat uvedeným hodnotám a kuchyńska linka musi
být vybavena otvory pro trvaly privod vzduchu.
Elektrické priopojeni varne desky a trouby musi
být z bezpečnostnich dūvodu instalovano oddělené a umoznovat snadné vyjmutí trouby z linky.

8. TECHNICKE INFORMACE
Rozměry varné desksy
| Šīfka: | 590 mm |
| Délka: | 520 mm |
Rozměry vyřezu pro varnou desku
| Šīrka: | 560 mm |
| Délka: | 480 mm |
Tepelny vykon
| Hořák s trojitou ko-runkou: | 3,8 kW |
| Středné rychláhořák: | 1,9 kW |
| Pomocný hořák: | 1,0 kW |
| CELKOVÍ VYKON: | G20 (2H) 20 mbar = 8,6 kW G30/G31 (3B/P) 30/30 mbar = 625 g/h |
| Elektrické napájení: | 230 V ~ 50 Hz |
| Kategorie: | II2H3B/P |
| Připojení plynu: | G 1/2" |
| Přívod plynu: | G20 (2H) 20 mbar |
| Třída spotřebiče: | 3 |
Prümény trysek
| Hořák | Ø trysek v 1/100 mm |
| Pomocný | 28 |
| Středné rychlý | 32 |
| Trojità korunka | 56 |
Plynové hořáky
| HORÁK | NORMÁLNI VYKON | SNIŽENÍ VYKON | NORMÁLNI VYKON | |||
| ZEMNI PLYN G20 (2H) 20 mbar | LPG (Propan-butan) G30/ G31 (3B/P) 30/30 mbar | |||||
| kW | kW | vstřikoványí 1/100 mm | m³/h | vstřikoványí 1/100 mm | g/h | |
| Pomocný | 1.0 | 0.33 | 70 | 0.095 | 50 | 73 |
| Středné ry- chlý | 1.9 | 0.45 | 96 | 0.181 | 71 | 138 |
| Trojtá ko- runka | 3.8 | 1.4 | 146 | 0.362 | 98 | 276 |
Plynové hořáky G20 13 mbar - jen Rusko
| HORÁK | NORMÁLNI VÍKON | SNÍZENÍ VÍKON | NORMÁLNI VÍKON | |
| ZEMNÍ PLYN G20 (2H) 13 mbar | ||||
| kW | kW | vstřikovány 1/100 mm | m³/h | |
| Pomocný | 1.0 | 0.33 | 82 | 0.106 |
| Středné rychlý | 2.0 | 0.45 | 111 | 0.212 |
| Trojtá korunka | 4.0 | 1.4 | 174 | 0.424 |
9. POZNÁMKY K OCHRANE ZIVOTNIHO PROSTREDÍ
Recyklujte materiały oznaçné symbole
Obaly vyhod'te do prisluśnych opadnićkontejneru k recyklaci.
Pomáhejte chránit zhivotni prostředí a lidské zdraví a recykovat elektrické a elektronické
spotbrebié urcéné klikvidaci. Spotfebié oznaçéné písluśnám symbole nelikvidujte spolu s domovním opadem. Spotfebié odevzdeje v mistrém sberném dvoře nebo kontaktujite mistrní urad.
SOMMAIRE
- CONSIGNES DE SECURITE 28
2.DESCRIPTION DE L'APPAREIL 30 - UTILISATION QUOTIDIENNE 31
- CONSEILS UTILES 32
- ENTRETIEN ET NETTOYAGE 33
- EN CAS D'ANOMALIE DE FONCTIONNEMENT 34
- INSTALLATION 35
8.CARACTERISTIQUES TECHNIQUES 39 - EN MATIÈRE DE PROTECTION DE L'ENVIRONNEMENT 40
NOUS PENSES À VOUS
Vseobecné informáce a típy

Environmental informácia
Vyhradzujeme si pravo na zmeny bez predchadzajuceho upozornenia.
1. BEZPEÇNOSTNÉ POKNY
1.1 Bezpečnost detí a zranitelnéch osôb

VAROVANIE
Elektrické zapojenie

VAROVANIE
Tento spotrebič použivajte v domácom prostredi.
- Nemeinte technické charakteristiky tohto spo-trbica.
- Na oblsuhu spotrebiča nepoužívajte externy chasovac ani samostatné dialkové ovládanie.
- Pocas cinnosti nenechavajte spotrebič bez dozoru.
- Spotrebic nepouživajte, ked'mate mokré ruky ani ked je v kontakte s vodou.
- Na varné zony nekladte príbor aniPokrievky. Móžu sa zohriat'.
- Po použítí varnú zónu vypnite.
- Spotrebic nepoužívajte ako pracovný ani od-kladací povrch.
- Ak je povrch spotrebica popraskány, ihned odpojte spotrebic z elektrickej siete. Predidete tak zásahu elektrickým prudom.

VAROVANIE
-
Informação o správné likvidáciu spotrebiča vám poskytne vás miestny urad.
-
Spotrebic odpoje od elektrickej siete.
- Odrežte elektrický napájací kabel a zlikvidujte ho.
Zarovnajte vonkajsie plynové trabice.
2. POPIS VYROBKU
Pred polożením kuchynského riadu horák vždy zapálte.
Zapalenie horáka:
- Otočte otočným ovládačom proti smeru hodinovych ručiciek do maximálnej polohy (♂) a zatlačte ho nadol.
- Nechajte otočné ovládač stlačéný na priblžne 5 sekünd, cím sa zahrje termočánok. Ak tak neurobite, privod plynu sa preruši.
- Ked' bude plamen pravidelny, upravte ho.

Ak horák náhodou zhasne, otočte ovlá-dací gombík do polohy vypnutia, počkajte aspon 1 minútu a skúste znovu zapálit' horák.

Po instalacii alebo zapnuti napajania po vypadku sa moze genarator iskier aktivovat' automaticicky. Je to normalne.
3.2 Vypnutie horáka
Aby ste zhasli palmen, otočte gombík na symbol

VAROVANIE
Použivajte kuchynský riad s priemerom zodpovedajucim veilkosti horákov.
| Horák | Priemery kuchynského ria-du |
| Trojít(y (pravý) | 220 - 260 mm |
| Stredne rychy (lavý) | 220 - 260 mm |
| Stredne rychy (zadný) | 140 - 180 mm |
| Pomocný (predný) | 140 - 180 mm |

VAROVANIE
Na plynovych horákoch nepoužívajte liatinové panvice, keramické hrnce, grilovacie ani hriankovacie platne.

VAROVANIE
Jednu varnú nádobu nikdy nedávajte na dva horáky.


VAROVANIE
Dóležite upozomenie Podla najnovsich
vedeckych poznatkov mozu akrylamidy
vznikajuce pri zapekaní Jedla (predovsetkým u
jedál s obahom škrobu) predstavovat'
nebezpečenstvo pre zdravie. Preto vám
odporucame pripravovat jejá pri co najnizsich
teplotách a prilíš jejá nezapkat'.
5. OŠETROVANIE AČISTENIE

VAROVANIE
Neodporúçame vám používat abrazivne Čistiance prostriedky, drōtěny ani kyseliny. Spôsobilo by to poškodenie spoTrebiča.

Po cistení utrite spotrebic makkou handrickou.
Odstrante necistoy:
| Problém | Možná prížina | Riešenie |
| Pri zapařovani plynu chýba iskra | • Nie je k disposićii elektrické napătie | • Skontrolujte, Či je spotrebć Zapojený a Či je zapnuté elektrické napájanie. • Skontrolujte poistku. Ak sa poistka vypálì viackráť, opravu zverte kvalifiková-nému elektrikárovi. |
| • Kryt a korunka horákna nie sú v správnéj polohe | • Skontrolujte, Či su kryt a korunka horákna v správnéj polohe. | |
| Plamež hzasíná ihnéť po za-pálení | • Termočlánok nie je dosta-točne zohriaty | • Po zapálení plameña držte ovládač stláčený príblížné 5 sekünd. |
| Plamež horákna je nerovno-merný | • Korunka horákna je upcha-na zvyškami potravin | • Skontrolujte, Či ne je up-chaná dýza a Či korunka horákna ne je znečistená zvyškami potravin. |
Pri vskyte problema sa njapr pv pokuste vyriesit ho si. Ak problem nedokazete odstranit' si, zavolajte predajcu alebo serviste stredisko.
i Ak ste spotrebic nepouzivali spravne alebo instalaciu nevykonal autorizovany technik, moze sa stat, ze za navstevu pracovnika servisného strendiska alebo predajcu budete musiet zapatit', aj ked' k poruche dojde poças zarunej doby.
Ak spozorujete jegnu alebo viac chyb, hadicu neopravujte, ale ju vymene.

spotrebičov. Nelikvidujte spotrebiče označené symbolom spolu s odpadom z domácnosti.
SnadnýManuál