EGT6343LOK - готварска плоча AEG-ELECTROLUX - Безплатно ръководство за потребителя
Намерете безплатно ръководството на устройството EGT6343LOK AEG-ELECTROLUX в PDF формат.
Questions des utilisateurs sur EGT6343LOK AEG-ELECTROLUX
0 question sur cet appareil. Repondez a celles que vous connaissez ou posez la votre.
Poser une nouvelle question sur cet appareil
Изтеглете инструкциите за вашия готварска плоча в PDF формат безплатно! Намерете ръководството си EGT6343LOK - AEG-ELECTROLUX и вземете отново електронното си устройство в ръце. На тази страница са публикувани всички документи, необходими за използването на вашето устройство. EGT6343LOK на марката AEG-ELECTROLUX.
РЪКОВОДСТВО ЗА ПОТРЕБИТЕЛЯ EGT6343LOK AEG-ELECTROLUX
Инфорmaцята можete за наимерite на tabека сдан. Моden, PNC (HOMEP Ha npodykt), Серень homep.

5.1Почистване на с蜱ципеша 3а 3аразлванe
Ta3nФyHKuIe Ce nOlyuYaBvAчE3 KepaMnUHa 3a- naHTeJHa CBeUc MMetaIe HEn EneKToPd. IOnDbpKaJte Te3N KOMNoHEnTn Do6pe NOpHCTeH, 3a Da n36BerHeTe TpyHocTn Pn3 aNaIbAHeTO, INpoBepaBaIte DaJIH He ca 3aNyWeHn OTBOPHTe Ha KOpOHTe Ha rOpEKNITE.
5.2 PernoDnUHa noDpBxKka
IpeinouHcOceobkaTBe Hn-6bn3kn cepBn3eH cHTbp da npOBepBa CbCToHneTo Ha ra3ocHa6DntenHata Tpb6a nHa peryIaTopa Ha hanaHETo, aKo TaKbE nOCTaBen.
6. OTCTPAHЯBAHE HA HEN3ПРABHOCTN
| ПюбLEM | Възможнaja р孥ниа | Отстраявае |
| При заливанeto ha ra3ta -he ce поярава уckра | • Наяма[elektro3axpanbahe] | • Уberete ce, che уретьт e сързан и che[elektro3ax- pańbaHETo e BклочeNo. • ПюberetePreednaizteЯ. АкоPreednaizteЯт ce n3- Клочи nobeche OT edin пьт, ce obşprHete KBM KBa- лфицран[elektroTeex- нИК. |
| • КалачkaTa и корohata ha rogenkata ca heparbHI | • Уberete ce, che kanaizkata и корohata Ha ropelkata ca prabnilho NOLOJXeHne. | |
| Пламькт ИЗгасва нено- средстveHo с蜱д заливае | • ТерmoДвоькATA He ce e побгеля дoctaTbUHO | • С蜱д заливаеHa пл- мьka 3адрьжte konчeto натисанTO okOLO 5cekyH- дИ. |
| Прьстены, образуван ot ra3ta, гори hegвомерно | • Корohata ha ropelkata e запшени c octaTbUTo OT храHA | • Пюbereteданюзата He e 3apuшиа иданIo kopohata ha ropelkata на- Ma ochatbuni OT xphaHa. |
Ako Ima Heu3npaBHOCT, NpBPo OINtaiTe Da HamePte peueHne Ha npOBeMa camn. Ako He MoKeTe Da HamePte peueHne Ha npOBeMa camn, O6bPheTe Ce KbM npOdaBaVa uIIN KbM Na-6bn3kn CepBn3eH ueTbp.

Ako cte 60paBnIN C ypea no HnnpaBnEN hauHn IN nHCTanIPAheTo He eN3BpIeHO OT npabocnocobEn TexHnK,POceueHneTo Ha texHnKa oT CepBn3a3a NOdpJbXka INn HA nDCTpniyTopoMOKe da He 6bJe 6e3PiatHO, dopn IOBpeMe h rapaHnIOHHn CpOK.
3a da noluyinte 6bpr3a n aedeKBaTHa NOMOu, ca Heo6xODMMn CLEDNHTe DAHN. Te3n DaHHN ce Hamipat Ha TaBeKkata C DaHHN.
- OncaHne Ha moDena
HomepHa npOyKta(PNC)
- CepenH Homep (S.N.)
I3noJI3BaI Te cAmO opINHnHn pe3epBnHaCTn. Te Ce IpeIaRaT B cepBn3nra CEHTbp nOTOpN3npaHnTe Maar3nHn 3a pe3epBn HaCTn.
6.1 PpeoocTaBeHn eTnkeTn C yaHTaTc npHaadJeXHOCTN
Пикpenete 3аленbaцпе etikketи, КakTo e yka-3aHO no-dony:

3aIenete ro Bbpxy rapaHcnoHHata KapTa n 3npate Ta3n Yact
3aIenete ro Bbpxy rapaHcnoHHata kaPta n 3ana3eTe Ta3n Yact.
3 3aneneTe ro Bbpxy KnHexKaTa C nHCTpyK- LInTE
7.ИHCTAJINPAHE

IPEyIPEKDEHNEI
BnKTe rIaBa "HΦopMaζη 3a 6e3o- nachOCT".

IPEUYIPEKXDEHNE!
CleHnHe HNCTpyKcHm 3a HnCTaHnpa-He, Cb3BaHe NIOpIpbKka Tpr6Ba Da 6bDat N3BbPseHn OT KBaINΦuHpa nepcoHAn, B CbOTBeTcBne C DeiCTBa- uata HopMaTbHb YpeD6a N CTanDaTp- TN.

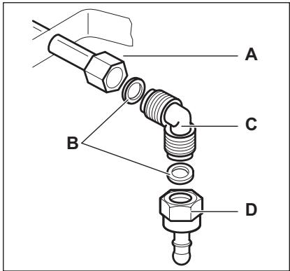
YBepTe Ce,Ye HauRaHeTo Ha NOpBaHeto Ha ra3 KbM ypeJa OTRObApHa npenopbUHTENHTE CTOHIO. PdBHXHOTc CBp3BaHe e pKNCpuHO KbMa 6ouTa paMa nOcePCTBOM pe36BaHa raKa G 1/2". 3aBnHTe Yactnte, 6be4 Ta HacnBate, HarnaceTe CBp3BaHETO B CbOTBeTHa TocOKa N 3aTeHHe BCNUKn YactN.
7.1 Cbbp3BaHe KbM ra3
I36epete TBbpDn Bp3Kn IIN IIN 3N0N3BaTne TbB Kaba Tpb6a C NOKPITNe OT HpJXdaEMa CTOMHa B CbOTBETCTBNE C DeiCtBAUaTa HOpMaTHBHa ype6a.AKO IN3N0N3BaTe TbbkABm MetaJIHn Tpb6n, BHIMABAte Da He Ce DoINipat Do DInxueu Ce Yactn n da He 6bDat ycKaHN. BHIMABAte CbIo Taka, KORATO NIOyata ce Noctabra 3aeHNO c Fypha.

A) Kpaia Hbala craika
B) Ⅲa6a (DOnbIInTeHnHaTa Ⅲa6a ce OTHacr cmo 3a CNoBEnHn U TypuN)
C) KojnaHO
D) Kayyukov ьрkaча 3a Tpb6a 3a BteuheH ra3 (camo 3a CnoBHeHn TypuHa)
Bteuhen ra3: n3no13BaIte KauyKOBnI dIbpxaJ 3a Tpb6a. BInHar n3no13BaIte yIINbTHnTeJIa.
CneTobA npOdbnKeTe CbBp3BaHeTo Cra3.
| ШирINA: | 590 MM |
| Дължина: | 520 MM |
| ШирINA: | 560 MM |
| Дължина: | 480 MM |
Mouchoct Ha Haprbahe
| Горелka с trойna Корona: | 3,8 kW |
| Среedingаразваца горелka: | 1,9 kW |
| Стомагателna ro- релka: | 1.0 kW |
| ОblUID MOULTHOCT: | G20 (2H) 20 мбар = 8,6 kW G30/G31 (3B/P) 30/30 млелба = 625 г/ч. |
| Еlektrохразва-he: | 230 V ~ 50 Hz |
| Кaterория: | II2H3B/P |
| Свързвае Към ИЗ-точник на ra3: | G 1/2" |
| Поваване на ra3: | G20 (2H) 20 мбар |
| Клас на урEDA: | 3 |
DnAmETpnHa npenBae
| Горелka | Ø П既是ивае в 1/100 MM |
| Сnomа ratelna | 28 |
| Средионаграваца | 32 |
| Ттойна корona | 56 |
ГаЗОВи Горелки
| ГОРЕЛКА | HOPMAЛHA MOДHOCT | HAMAJELA MOДHOCT | HOPMAЛHA MOДHOCT | |||
| ПИРОДEN ГАЗ G20 (2H) 20 мбap | Втуунов газ поган (Поган/бутан) G30/ G31 (3В/P) 30/30 мбap | |||||
| kW | kW | Дюза 1/100 mm | Куб.M/ч | Дюза 1/100 mm | r/ч | |
| Слomага- телна | 1.0 | 0.33 | 70 | 0.095 | 50 | 73 |
| Сре'dона- граваца | 1.9 | 0.45 | 96 | 0.181 | 71 | 138 |
| Тroyа ко- рona | 3.8 | 1.4 | 146 | 0.362 | 98 | 276 |
Tazobn ropekn G20 13 m6ap - camo 3a Pycna
| ГОЕЛКА | HOPMAЛHA MOДHOCT | HAMAJIEH MOДHOCT | HOPMAЛHA MOДHOCT | |
| ПИРОДEH Г3 G20 (2H) 13 мбap | ||||
| kW | kW | дюза 1/100 mm | к汞.м/ч | |
| Слomагателna | 1.0 | 0.33 | 82 | 0.106 |
| Сре'dонаграды- ца | 2.0 | 0.45 | 111 | 0.212 |
| Тroyна корona | 4.0 | 1.4 | 174 | 0.424 |
9.ОПАЗBAHEHAOKOLHATA CPEДA
PeuKnnpaIte MATEpnaINTe CbC Cmmbona .
IOCTabYIte ONAKOBkTe B CbOTBeTHNTE
KOHTeHHePn 3a peuKnnpaHETO IM.
POMOrHete 3a ona3BaHTo Ha OKoJIHaTa CpeDa IV
OBEwKtO 3dPaBe, KaKTo n 3a peuKnnpaHTo
HaOTnabtuOt eNeKtpuYeCKN eNeKtpoHHnypei.He n3xBpIyTe ypeIte,03NaeHcBcCmBOLA 3aedHO c6bTOBaTa CMeT. BbpHeTeyeDaBMecTHNpyHKT3a peuKNpaHe nnCe 06bpHe T KbMaBaaTa o6uHNcKa cnjx6a.
OBSAH
- BEZPEÇNOSTNI INFORMACE 16
- POPIS SPOTREBICE 18
- DENNIPOUZIVANI 18
- UZITECNÉ RADY A TIPY 19
- CISTENI A UDRZBA 20
- ODSTRANOVI ZAVAD 21
- INSTALACE 22
- TECHNICKÉ INFORMACE 25
- POZNÁMKY K OCHRANE ZIVOTNIHO PROSTREDI 26
ЛеснаИнструкция