EGT6343LOK - Varná doska AEG-ELECTROLUX - Bezplatný návod na obsluhu
Nájdite návod k zariadeniu zdarma EGT6343LOK AEG-ELECTROLUX vo formáte PDF.
Questions des utilisateurs sur EGT6343LOK AEG-ELECTROLUX
0 question sur cet appareil. Repondez a celles que vous connaissez ou posez la votre.
Poser une nouvelle question sur cet appareil
Stiahnite si návod pre váš Varná doska vo formáte PDF zadarmo! Nájdite svoj návod EGT6343LOK - AEG-ELECTROLUX a vezmite svoje elektronické zariadenie späť do rúk. Na tejto stránke sú zverejnené všetky dokumenty potrebné na používanie vášho zariadenia. EGT6343LOK značky AEG-ELECTROLUX.
NÁVOD NA OBSLUHU EGT6343LOK AEG-ELECTROLUX
| Symbol | Popis |
| ● | bez prívodu plynu / poloha vypnuto |
| ▲ | poloha pro zapálení / maximálné prívod plynu |
| Symbol | Popis |
| a | minínlí prívod ply-nu |
3. DENNÍ POUŽÍVÁNÍ

UPOZORNENI
3 Nalepte jej na námov k použiti
7. INSTALACE

UPOZORNÉNI
7.3 Nastavení minimálny urovné
Dakujeme vam, ze ste si kupili spotrebič Electrolux. Vybrali ste si vyrobok, ktorý v sebe skryva desa tročia odbornych skúsenosti a inováci. Pri vyvoji tohto dōmyselného a styloveho spotrebiča sme mysleli na vás. Preto si pri každom použiti mözte byt istí, ze dosiahnete vynikajúce vysledky.
Vitajte vo svete Electrolux.
Navstivte našu stranku, kde najdete:

Tipy na používanie, brožúry, riešenie problémov a informácie o udžržbe: www.electrolux.com

Zaregistrujte si produit a využite tak este lepši servis: www.electrolux.com/productregistration

Do spotrebica si możete zakúpit príslušenstvo, spotrebný material a originálne nahradné diely: www.electrolux.com/shop
STAROSTLIVOST A SLUŽBY ZAKAZNIKOM
Odporucame,aby ste pouzivali originale nahradne diely.
Ked budete kontaktovat' servis, nezabudnite si pripravit nasledujuce udaje.
Tieto informacia najdete na vyrobnom stitku.Model,cislo vyrobku,seriove cislo.

Varovanie/upozornenie - BezpečnostnéPokyny.

Tento spotrebie je vchodny pre nasledovné trhy: BG CZ FR SK
Pred instalaciou a pouzivanim spotrebia ci pozorne precitajte prilozheny nadv ou pouzivanie. Vyrobca nie je zodpovedny za skody a zranenia sposobene nespravnou instalaciou a pouzivanim.Nadv na pouzivanie uchovávjte vždy v blizkosti spotrebia,aby ste don mohl v buduc-nosti nahliadnut'.
Nebezpečenstvo udusenia, poranenia alebo trvalého postihnutia.
Tento spotrebic nesmú používat' osoby (vrata- ne deti) so zniženou fyzickou, zmslovou alebo mentalnou spôsobilost'ou ani osby s nedostatočnými skúsenost'amie alebo znalost'ami. Tieto osby musia byt' pod dohladom osoby zodpovednej za ich bezpečnost', alebo ich táto osoba musí poučit' o správnom použivaní spotrebica.
- Nedovolte, aby sa deti hrali so spotrebicom.
Vsetky obaly uschovajte mimo dosahu deti.
- Nedovolte det'om ani domacim zvieratam prblizit sa k spotrebiču, kad je v cinnosti alebo kad'sa chladí. Pristupné Časti su horuce.
- Ak má spotrebič detskú poistku, odporúčame ju zapnút'.
1.2 Instalácia

VAROVANIE
Tento spotrebič smie nainstalovat' iba kvalifikovaná osoba.
- Odstrante vsetok obalovy material.
- Poškodený spotrebic neinstalujte ani nepouží-vaje.
-
Dodržiavajte pouky pre instaláciu dodané so spotrebicom.
Dodržiavajte minimánu vzdialenost' od in'ych spotrebicov a nábytku.
Pri premiesthovani spotrebica budte vzdy opatrní, pretoze je t'azký. Vzdy použivajte bezpečnostné rukavice.
Plochy v'rezu utesnite tesniacim materi'alom, aby ste predisli vydutiu sposobenemu vlhostou. -
Spodnú Čast' spotrebiča chrănte pred parou a vlhkost'ou.
- Spotrebic neinstalujte vedla dveri ani pod okno. Predidete tak pádu kuchynského riadu zo spotrebica pri olvorení dverí alebo okna.
- Ak je spotrebic nainstalovaný nad zásuvkami, uistite sa,Že je miesto medzi spodnou Čast'ou spotrebica a hornou zásuvkou postacujúce na cirkuláciu vzduchu.
- Spodná āst' spotrebiča sa mõze zohriat'. Pod spotrebič odporúčame nainšalovat nehorlavú deliacu priečku, ktorá zabrani pristupu k和他的 spodnej ācasti.
Nebezpečenstvo požiaru a zásahu elektrickým prudom.
Vsetky prace suvisiace s elektrickym zapojenim musi vykonat' kvalifikovan'y elektrikar.
Pred pracami s kabelazou sa uistite, ze je hlavná svorka spotrebica bez napatia.
- Skontrolujte, Č je spotrebič správně nainstalovány. Volné a neodborne zhotovené zásuvky alebo zástréky možu spósobit prehriatie svorky.
- Skontrlujte, Či je nainstalovaná ochrana protí zásahu elektrickým prúdom.
Pri zapajani spotrebiča do zásuviek nablizku dávajte pozor, aby sa elektrické napajacie káble nedotýkali spotrebiča ani horúceho kuchynského riadu.
- Elektrické napajacie kable sa nesmú zamotat'.
- Na ohilahčenie t'ahu kábla použite vhdnú káblovú svorku.
- Pouzite vchodny privodny elektricky kabel.
- Uistite sa, ze zástrčka a privodný elektrický kábel nie su poškodené. Ak chcete vymenit' privodný elektrický kábel, kontaktujte servis alebo elektrikárá.
- Elektrická siet' v domacnosti musi mat izolačné zariadenie, ktoré umožní odojenie spotrebica od elektrickej siete na věstkých poloch. Vzdialnost' kontaktov izolačného zariadenia musí byt' minimálne 3 mm.
- Použite iba správyne izolačné zariadenia: ochranné istic, poistky (skrutkovacie poistky treba vybrat' z držiaka).
Privod plynu
Vsetky prace suvisiace s priopojenim na privod plynu musi vykonat' kvalifikovana osoba.
Zabezpeche prudenie vzduchu v okoli spotrebica.
- Informáce o privève plynu najdete na typo-vom štiku.
Tento spotrebic nie je zapojeny k zariadeniu, ktoro odvadza spaliny. Dbajte na to, aby ste spotrebic zapojili podla aktualignych instalačnych predpisov. Venujte pozornost' poziadavkám týkajucim sa primeranému vetraniu.
1.3 Pouzitie

VAROVANIE
Nebezpečenstvo zranenia, popálenin alebo zásahu elektrickým prudom.
Hrozi nebezpecenstvo poziaru alebo vybuchu.
Z horucich olejov a tutkov sa mozu uvolnovat horlavé vypary. Pri pripravePokrmov musia byt' plumene alebo horuce predmety v dostatočnej vzdialenosti od tutkov a olejov.
Vypary uvolnovan veimi horucim olejom mo- zu sposobit spontanne vznietenie.
Použitý olej, ktorý moze obsahovat zvyšky po-krmov, moze spósobit požiar pri nižsej teplo-te, než je totu pri novom oleji.
- Horavé produkty alebo predmety, ktoré obsa-hujú horavé látky, nevkladajte do spotrebica, do jeho blízkosti ani nañ.
- Poziar sa nepokúsajte hast'vodou. Spotrebic odpojte od elektrickej siete a plameñ zakryte vekom alebo hasiacou prikrývkou.

VAROVANIE
Horuci kuchynsky riad nenechavajte na ovladacom paneli.
- Obsah kuchynského riadu nenechajte vyvriet.
Davajte pozor, aby na spotrebič nespadli predmety alebo kuchynský riad. Mohlo by dōjst' k poskodeniu povrchu spotrebiča.
Varné zony nikdy nepouživajte s prázdnym kuchynský riadom ani bez riadu.
- Nekladte na spotrebic alobal.
- Riad vyrobeny z liatiny, hlinika alebo s poskodenym dnom moze sposobit' poskrabanie sklokeramiky. Pri premiestnovani tychto predmetov po varnom povrchu ich vzdny nadvihnite.
Zabezpěčte dobré vetranie v mistristosti, kde je spotrebič nainstalovaný.
Zabezpěcte, aby boli vetracie otvý voíné.
- Používajte len stabilné kuchynský riad so správnym tvarom a priemerom vácším ako rozmery horákov. Hroží nebezpečenstvo prehriatia a prasknutia skleného panela (ak je k dispozicij).
- Nakoniec skontrolujte, Či plamen nezhasne pri rychlom otočeni ovládača z maximálnej do minimálnej polohy.
- Dbajte na to, aby sa hrnce nachádzali v strede varn'ych zón a nepresahovali cz okraje varného povrchu.
- Používajte iba príslušenstvo dodané so spo-trbičom.
- Na horák neinstalujte Rozptylovač plameña.
1.4 Osetrovanie a cistenie

VAROVANIE
Hrozi nebezpečenstvo poskodenia spoTrebia.
- Spotrebic pravidelne Čistite, aby ste predišli znehodnoteniu povrchového materialiu.
- Na cistenie spotrebica nepoužívajte prud vody ani paru.
- Spotrebic yvčistte vlhkou mäkkou handričkou. Používajte iba neutralne saponáty. Nepouží-vajte abrazivne prostriedky, drótenky, Rozpúšťadlá ani kovové predmety.
1.5 Likvidácia

VAROVANIE
Nebezpečentvo poranenia alebo udu-senia.
2 Trojity horák
3 Pomocny horak
4 Otočné ovládače
2.2 Ovladacie gombíky
| Symbol | Popis |
| ● | plyn sa neprivídza / poloha vypnutia |
| ▲ | zapălovacia poloha/ maximálny prívod plynu |
| Symbol | Popis |
| a | minimálny privod plynu |
3. KAŽDODENNE POUŽIVANIE

VAROVANIE
Pozrite s'cast, Bezpecnostne pouny.
3.1 Zapálenie horáka

VAROVANIE
Budte opatrní, ked používate olvorený ohen v kuchyni. Vyrobca odmieta akúkolevak zodpovednost' za nevhodné zaobchádzanie s plameñom.

Ak sa horák po opakovanychPokusoch správné nezapáliskontrolujte,ci je v správnéj polohe korunka a kryt horáka.

Pozrite s'cast, Bezpecnostne pouny.

VAROVANIE
Nedržte ovladaci gombík stlačený dlhšie ako 15 sekünd.
Ak sa horák po 15 sekundách nezapálí, pust'te ovladaci gombík, otoče ho do polohy vypnutia, počajte aspon 1 minútu a znovu skúste zapál'thorák.

Ak nemáte k dispozicii elektrinu, horák możete zapalit' aj bez elektrického za-pałovača. V toto pripade sa približte k horák u s plameñom, stlačte prisluśné otočné yóvládáč a otočte ho proti smeru hodinovych ručiciek do maximálnej po-lohy.

Pred odstrańovanim hrcov z horáka
vždy znizte plameš na minimum alebo
ho vypnite.
4.1 Uspora energia
- Ak je to moźne, vźdy námody prikrývajte po-krievkami.
- Po zovreti kvapaliny znižte plamen, aby kvapalina iba mierne vrela.
Dbajte nato, aby rukoväte hrncov nevyčnievali czé predný okraj varného pa-nela a aby boli varné nádoby umiestné v strede varnych zón, Čim sa zabezpečí stabilita riadu a spotreba plynu sa znizni na nižsiu uroven.
Na varné zony nekad'te nestabilné alebo deform-mované nádoby, aby nedoslo k vyliatiuPokrmu a zraneniu.

VAROVANIE
Tekutiny Rozliate pochas varenia by mohli sposobit' poškodenie skla
Informácie o akrylamidoch
Pozritei castBezpecnostne pouny

VAROVANIE
Pred Čistenim spotrebic vypnite a nechajte vychladnút. Pred akymikolvek Čistaciimi prácami alebo udžbou odpojte spotrebic od elektricej napájacej siete.

VAROVANIE
Z bezpečnostnych dovodov spotrebic nečistite parnými ani vysokotlakovým Či-stími.

VAROVANIE
Škrabance a tmavé škrvny na povrchu neovplyvnujú funkčnost spotrebica.
Za učelom jegnoduchsieho Čistenia varného panela je možné podstavce na hrnce odstrá–nit.
- Nečistoty zo smaltovaných dielov, viečok a koruniek odstránte teplou mydlovou vodou a pred opatovným nasadením ich dōkladne osušte.
Diely z nehrdzavejucej ocele umyevodou a utrite ich dosucha makkou handrou.
- Podstavce na hrncs a nesmú umyvat' v umyvačke riadu. Musite ich umyvat' ručne.
Pri rucnom umyvani podstavcov na hrnce postupujte opatrne, pretoze smaltovaci proces niekedy zanechava ostre hrany. V pripe doTreby odstrante odolné škrvny pouzitim cistia-cej pasty.
- Po cisteni skontrolujte, cis u podstavce umiestnene správné.
- Aby horaky správné fungovali, skontrolujte, cisú podstavce na hrnce umiestné v strede horáka.
- Pri umiesthovani podstavcov postupujte opatrne, aby ste zabrani poškodeniu hornej Časti varného panela.
-
- Okamžite odstrănte: taviaci sa plast, plastovú foliu a potraviny s obshom cukru.
- Spotrebic vypnite a nechajte ho vychladnút', až potom vyčistete: usadeniny vodného kameña, škrvny od vody, mastné škrvny, lesklé farebné škrvny na kove. Použivalje specialny cistic urcený na povrch varného panela.
- Spotrebič vyčistè vlhkou handričkou a malým množstvom Čiustaceho prostriedku.
- Nakoniec utrite spotrebič dosucha Čistou handričkou.

VAROVANIE
Na cistenie skleného povrchu alebo povrchu medzi okrajimi horákov a rámom (ak je použitý) nepouživajte noze, Škrabky ani iné podobné nastroje.

VAROVANIE
Kuchynsky riad neśUCHajte po sklenom povrchu, mohli by ste tym poskriabat povrch. Zabrante tiez tomu, aby na skleny povrch alebo okraj varnéhopanela spadli tvrdé alebo ostre predmety.
Tieto udaje su potrebne na rychle a správné poskytnutie pomoci. Tieto udaje najdete na dodanom typovom štiku.
- Popis modelu
Vyronbé cislo (PNC)
Seriove cislo (S.N.)
Použivajte iba originé náhradné diely. Získate ich v autorizovanom servisnom stredisku alebo v autorizovaných predajnach s náhradnymi dielmi.
6.1 Šitíky dodané vo vrecku s príslušenstvom
Samolepiace stítky nalepte podla nižsie uveden'ychPokynov:

1 Nalepte ho na zárucny list a tuto cast' poslite.
2 Nalepte ho na záručný list a tuto Čast's odložte.
3 Nalepte hona návod na použivanie.
7. INŠTALÁCIA

VAROVANIE
Pozrite s'cast',Bezpecnostnepokynya.

VAROVANIE
Ukony podla nasledujucich Pokynov na instalaciu, pripojenie a udrzbu moze vykonat'vyhradne vyskoleny pracovnik v sulade s platnymi normami a miestnymi predpismi.
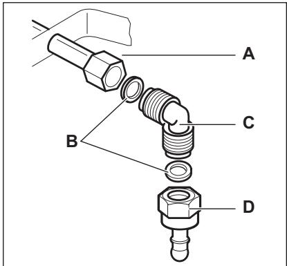
7.1 Privod plynu
Zvolte si pevné pripojenie alebo pouzite ohybnú rurku z nehrdzavejucej ocele v sulade s platnymi predpismi. Ak pouzijete ohybné kovove rurky, davajte pozor, aby sa nedotykali pohyblivych ca
sti alebo aby neboliPokruitené a stlaçene.Dávaj- te pozor aj pri kombinovani varného panela a rúry.

Ubezpečte sa,Že tlak privodu plynu do spotrebica zodpovedá odporúcaným hodnotám. Nastavitelná pripojka je upevná k ustrednej pripojke plynu pomocou matice so závitom G 1/2". Dielce zaskrutkujte bez použitia sily, pripojku nastavte do požadovaného smeru a všetko dotiahnite.

A) Koncovka nástavca smaticou
B) Podložka (doplnková podložka je určená len pre Slovinsko a Turecko)
C) Ohyb
D) Drziak gumenej hadiicky pre propan-bután (len pre Slovinsko a Turecko)
Skvapalneny plyn: pouzite drziak na gumenu hadicu. Vždy pouzite tesnenie. Potom tripojte spo-trebic na privod plynu. Ohybnú hadicu je mozné pouzit vtedy, ked:
- sa nemoze zahriat' na vyssiu ako izbov'teplo-tu, teda na viac ako 30^
-niejedlhshiaako1500mm,
-nieje priskrtena,
-nie je napnutá ani stocéná, - sa nikde nedotyka ostrych hrán alebo rohov predmetov,
- mozno lahko skontrolovat' jej stav.
Kontrola stavu ohybnej hadice pozostava z kontroly, ci:
- na nej nie su praskliny, zárezy, znaky obhore-nia na koncoch, ale aj po celej dlžke,
- materiai nestvrdoa cje stale spravne ohybny,
- upevnovacia svorka nezhrdzavela,
- neuplynula doba zivotosti.
Po dokončeni instalácie sa uistite, ze každý spoj správné tesni. Na kontrlu použte mydlový roztok, nie plameš!
7.2 Vymena dyz
- Odstrante podstavce na varné nádoby.
- Odstrante kryty a korunky z horaka.
3) iba pre Rusko
- Năstrónym klučom 7 odstránte dýzy a nahradte ich dýzami potrebnymi pre druh plynu, ktory používate (pozrite si tabulku v Časti „Technické udaje").
- Namontujte vsetky diely na miesto, pri instalacii zvolte opacn'y postup.
- Typov Šṭitok (nachadza sa v blízkosti rúrky privodu plynu) ymeñte za šṭitok pre nový druh privádaného plynu. Tento šṭitok naj-dete vo vrecku pribalenom k spotrebicu.
Ak je tlak privodu plynu premenlvé alebo sa liši od požadovaného tlaku, musite na privodnu plynovú rúrku namontovat vchodné adapté tlaku.
7.3 Nastavenie minimálnej urovne
Uprava minimalnej urovne horakov:
- Zapalte horak.
- Otočte ovládač do minimálnej polohy.
- Vyberte ovladač.
- Pomocou skrutkovača nastavte polohu obtokovej skrutky.

A)Obtoková skrutka
- Pri prechode zo zemného plynu G20 20 mbar (alebo zemného plynu G20 13 mbar) na skvapalnený plyn uplne dotiahnite obtokovú skrutku.
Pri prechode zo skvapalneného plynu na zemny plyn G20 20 mbar odskrutkuje obtokovúskrutku o priblizne 1/4 otáčky. - Pri prechode zo zemného plynu G20 20 mbar na zemný plyn G20 13 mbar ^3) odskrutkujte obtokové skrutku o priblizne 1/4 otáčky.
- Pri prechode zo skvapalneného plynu na zemný plyn G20 13 mbar3) odskrutkujte obtokovskrutku o priblíne 1/2 otáčky.
Pri prechode zo zemného plynu G20 13 mbar3) na zemný plyn G20 20 mbar do-tiahnite obtokovú skrutku o približne 1/4 otáč-ky.

VAROVANIE
Nakioniec skontrolujte, cí plameñ nezhasne pri rychlom otočeni ovládača zmaximalnej do minimálnej polohy.
7.4 Zapojenie do elektrickej siete
- Spotrebic uzemnite v sulade s bezpečnostný-mi predpismi.
- Skontrolujte, Č nomináne napătie, typ prúdu a príkon uvedené na štītku spotrebica zodpovedaj parametrom elektrickej siete.
- Spotrebic sa dodáva s privodnám elektrickým káblom. Ku káblu treba pripojit' vchodné zăstrčku, ktorá zodpovedá za'taženiu uvedenému na typovom štǐtu. Zăstrčku treba zapojit' do vchodnej zásuvky.
- Akykolvek elektrický component smie vymenit' iba technik autorizovaného servisného stredi-ska alebo kualifikovány servisné pracovnik.
Vždy používajte správně nainstalovanú uzem-nenu zásvku. - Uistite sa,Že je napájaci elektrický kabel po instaláci pristupné.
Pri odpájani spotrebiča od elektrickej siete ne-tahajte za napájaci kábel. Vždy tahajte za zá-strčku napájaceho kábla. - Spotrebic sa nesmie pripajat pomocou predlžovacieho kábla, adaptéra alebo rozdvojky (hrozi riziko požiaru). Skontrolujte, Č je uzemenie v súlade s prislušnou normou a predismismi.
- Napajací kábel nesmie byt' umiestný tak,
aby sa dotýkal horúcich Častí.
Pri zapojení spotrebiača do elektrickej siete musite použit' elektrické odpojovacie zariadenie, ktoré umožné odpojenie spotrebiača od elektrickej siete na vsetkych poloch a ktoré má vzdialenost' medzi kontaktmi aspon 3 mm, napr. automatický istic alebo poistku.
Ziadna 'cast' napajacieho kábla nesmie byt' yvstavená teplate vyšsej ako 90^ . Modrý nulový vodič musi byt' pripojený k svorce oznacenej „N" na svorkovnici. Hnedý (alebo cierny) fázový vodič (pripojený k svorce oznacenej „L" na svorkovnici) sa vždy musi pripojit k fázovému (živemu) kontaktu.
7.5 Vymena napajacieho kábla
Ak chcete napajaci kabel vymenit, pouzite iba H05V2V2-F T90 alebo ekvivalentny typ. Skontroljte, cztvoleny kabel vyhovuje danemu napatiu a pracovnej teplete. Zlto/zeleny uzemnovaci vo
dič musí byt'o priblžne 2 cm dlhši ako hnedý (alebo cierny) fázový vodič.
7.6 Zabudovanie



Rozmery priestoru pre varn'y panel musia zodpovedat' prisluśnym udajom a kuchynska Jednotka
musí mat' otvory na nepretržitý privod vzduchu.
Elektrická pripojka varného panela a rúry sa musí z bezpečnostnych dôvodov inšalovat' samostatne aj preto, aby sa dala rúra z jegnotky jeg-noducho vybrat'.

8. TEHNICNE INFORMACije
Rozmery varného panela
| Širka: | 590 mm |
| Dížka: | 520 mm |
Rozmery priestoru pre varny panel
| Širka: | 560 mm |
| Dížka: | 480 mm |
Tepelny vykon
| Trojity horák: | 3,8 kW |
| Stredne rychly ho-rák: | 1,9 kW |
| Pomocný horák: | 1,0 kW |
| CELKOVÍ VYKON: | G20 (2H) 20 mbar = 8,6 kW G30/G31 (3B/P) 30/30 mbar = 625 g/h |
| Elektrické napájanie: | 230 V ~ 50 Hz |
| Kategorie: | II2H3B/P |
| Pripojenie plynu: | G 1/2" |
| Prívod plynu: | G20 (2H) 20 mbar |
| Trieda spotrebica: | 3 |
Priemery prfvodov
| Horák | Ø privodu v 1/100 mm |
| Pomocný | 28 |
| Stredne rychly | 32 |
| Trojity | 56 |
Plynové horaky
| HORÁK | NORMÁLNY VYKON | ZNÍZENÍVYKON | NORMÁLNY VYKON | |||
| ZEMNÍ PLYNG20 (2H) 20 mbar | Propán-bután(bután/propán) G30/G31 (3B/P) 30/30 mbar | |||||
| kW | kW | tryska1/100 mm | m3/h | tryska1/100 mm | g/h | |
| Pomocný | 1.0 | 0.33 | 70 | 0.095 | 50 | 73 |
| Stredné rychly | 1.9 | 0.45 | 96 | 0.181 | 71 | 138 |
| Trojitý | 3.8 | 1.4 | 146 | 0.362 | 98 | 276 |
Plynové horáky G20 13 mbar - iba pre Rusko
| HORÁK | NORMÁLNY VýKON | ZNÍZENY VýKON | NORMÁLNY VýKON | |
| ZEMNÁ PLYN G20 (2H) 13 mbar | ||||
| kW | kW | tryska 1/100 mm | m³/h | |
| Pomocný | 1.0 | 0.33 | 82 | 0.106 |
| Stredne rychly | 2.0 | 0.45 | 111 | 0.212 |
| Trojtý | 4.0 | 1.4 | 174 | 0.424 |
9. OCHRANA ZIVOTnéHO PROSTREDA
Materialy oznaçene symbolom odovzdajte
Vyrobok odovzdajte v miestnom recyklacnom zariadeni alebo sa obrat'te na obecn'y alebo mestsky urad.

JednoduchýManuál