TC78074 - Calefacción Toolland - Manual de uso y guía de instrucciones gratis
Encuentra gratis el manual del aparato TC78074 Toolland en formato PDF.
Preguntas frecuentes - TC78074 Toolland
Preguntas de los usuarios sobre TC78074 Toolland
0 pregunta sobre este aparato. Responde a las que conoces o haz la tuya.
Hacer una nueva pregunta sobre este aparato
Descarga las instrucciones para tu Calefacción en formato PDF gratis! Encuentra tus instrucciones TC78074 - Toolland y toma tu dispositivo electrónico nuevamente en la mano. En esta página están publicados todos los documentos necesarios para el uso de su dispositivo. TC78074 de la marca Toolland.
MANUAL DE USUARIO TC78074 Toolland
A los ciudadanos de la Unión Europea
Importantas informaciones sobre el medio ambiente concerniente a este producto

Este sibolo en este aparato o el embalaje indica que, si tira las muestras inservibles, podrnan daar el medio ambiente. No tire este aparato (ni las pilas, si las hubiera) en la basura domestica; debe ir a una Empresa especializada en reciclaje. Devuelva este aparato a su distribuidor o a la unidad de reciclaje local. Respete las leyes locales en relation con el medio ambiente.
Si tiene dudas, contacte con las autoridades locales para residuos.
Gracias por elegir Toolland. Lea atentamente las instrucciones del manual antes de usar el aparato. Si ha sufrido algo daño en el transporte no lo instale ypongase en contacto con su distribuidor.
2. Instrucciones de seguridad
- Para registrar un sobrecalentamento, nunca cubra el aparato durante el uso.
- Siga siempre las instrucciones de seguridad al utiliser un aparato electrico.
- El aparato no es apto para un uso en exteriores y eviterialquier contacto con la humedad (p.ej. cuarto de bano).
- El aparato se calienta mucho durante el uso. Nunca instale el aparato cerca de objetivos inflamables (p.ej. cortinas, muebles, etc.).
- Nunca instale el aparato inmediamente bajo de una toma electrica.
Si el cable de alimentacion está daado, debe ser reemplazado por el fabricante, su serviceo专业技术 o other persona qualificada. - Este aparato no es apto para personas (niños incl.) con capacities físicas, sensoriales o mentales reducidas ni personas con una falta de experiencia y conocimientos del producto, salvo si está bajo la vigilancia de una persona que pueda garantizar la seguridad.
No utilise el aparato con un temporizador u autre aparato que pueda encender el aparato automatisticamente. - Nunca instale ni almacene el aparato en lugares con liquidos inflamables o gases.
- No utilise el aparato cerca de un bajo, una ducha o una piscina.
- Mantenga a los niños y los animales alejados del aparato y nunca los deje solos con el aparato sin supervisión.
- Nunca doit functionando el aparato sin vigilancia.
- Desenchufe siempre el aparato si no va a utiliser.
No exponga el aparato a agua. Nunca toque el aparato con las manos humedes. - Nunca use el aparato cerca de materiales inflamables o explosivos o gases.
3. Normas generales
Véase la Garantía de servicios y calidad Velleman® al final de este manual del usuario.
4. Caracteristicas
- 3领先地位 de calentamente.
-funcion ventilador - termostato regulable
- proteccion de sobrecalentamento
protección anti-vuelco
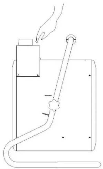
5. Descripción
Véase las figuras en la página 2 de este manual del usuario.
| 1 | asa |
| 2 | interruptor |
| 3 | termostato |
| 4 | tapa frontal |
| 5 | soporte de acero |
| 6 | bloqueo |
| 7 | botón de ajuste |
| 8 | tapa trasera |
| 9 | motor |
6. Funcionamento
- Instale el aparato en una superficie estable.
- Antes de enchufar el aparato, asegúrese de que está desactivado.
- Enchufe el aparato.
6.1 El termostato


- El aparato empieza a functionar al utiliser una de las posiciones Mentionadas arriba.
- El aparato está equipado con un termostato. El termostato desactivaré el elemento calentador automatistically en cuando la habitación alcance la temperatura deseada. En cuando la temperatura sea inferior a la temperatura selecciónada, el termostato volverá a activar el elemento calentador.
ADVERTENCIA: Después de que se haya desactivado el elemento calentador, el ventilador seguirá soplando hasta que el aparato se haya enfiado. Esto significica que sacará el aire caliente y que tendrá la sensación que la habitación se enfría. Para evitar this, desactive el aparato.
Si el aparato está desactivado (pero enchufado), el ventilador seguirá SOPlando hasta que el aparato se haya enfiado.
Desenchufe el aparato si no va a utiliser.
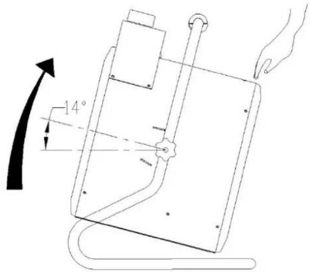
6.2 Ajustar el ángulo


- Suelte ligeramente también botones de ajuste cuando sujeta el aparato con la另一边 mano.
- Incline el aparato hasta que obtenga el ángulo deseado y vuelva a fjar los botones de ajuste.
6.3 Proteccion de sobrecalentamento
Este aparato está equipado con una proteccion de sobrecalentamento.Esta functiOn desactivar el aparato automatically si no funciona correctamente. Si fuera el caso, desactive y desenchufe el aparato. Despues de algo tiempo de enfiambre, el aparato estara de nuevo lista para su uso.
Contacte con su distribuidor si eso ocurre con Frequencia.
7. Limpieza y mantenimiento
- Antes de limpiar el aparato, desenchufelo y deben que se enfié. La carcase se ensucía fácilmente. Limpiela regularmente con una esponja. Utilice una esponja con agua y detergente suave. Luego,.SEque la carcasa con un paño limpio.
Sea cuidadoso y no deje que agua entre en el aparato. No sumerja el aparato en un liquido. Nunca utilise disolventes (p.ej. gasolina, alcohol, acetato, tolueno, etc.) para limiar el aparato. - Limpie el cable de alimentacion y el enchufe. Ponga el aparato en una bolsa de plastic y almacenelo en un lugar seco y bien ventilado.
8. Especillasiones
| alimentación | 230 VAC, 50 Hz | |
| grado de protección IP | IPX4 | |
| consumo | 3000 W | |
| positiones de calentimiento | 0 | desactivado |
| × | ventilador | |
| ×□ | 2000 W | |
| ×■ | 3000 W | |
Utilice este aparato solo con los accesos originales. Velleman NV no sera responsable de danios ni lesiones causados por un uso (indebido) de este aparato. Para mas informacion sobre este producto y la version másrecente de este manual del usuario, visite notrestra pagea www.toolland.eu. Se pueda modifier las specifications y el contenido de este manual sin previo aviso.
DERECHOS DE AUTOR
Velleman NV dispone de los derechos de autor para este manual del usuario. Todos los derechos mundiales reservados. Está estRICTamente prohibido reproducir, traducir, copiar, editar y guardar estemanual del usuario o partes de elso sin el consentimiento previo por escrito del propietario del copyright.
6.2 Ajustar o Angulo


Garantía de servicios y calidad Velleman®
Desse su fondacion en 1972 Velleman® ha adquirido una amplia experiencia como distribuidor en el sector de la electrònica en mas de 85 páises. Todos nuestros productos responden a normas de calidad rigurosas y dispositionsiones legales vigentes en la UE. Para garantizar la calidad, sometemos nuestros productos regularamente a controlles de calidad adiconda, tanto a工程技术 del nombre propietario servicios de calidad como de un service de calidad externo. En el caso
improbable de que surgieran problemas a pesar de todas las precauciones, es possible recurrir a nuestra garantia (vease las conditiones de garantía).
Conducciones generales referentes a la garantía sobre 商品 de venta al publico (para la Unión Europea):
-
Todos los produits de vente al(publico tienen un periodo de garantía de 24 sesmes contra errors de producción oerrors en materiales desde la adquisión original:
-
Si la queja está fundada y si la reparación o sustitución de un articulo no es posible, o si los gastos son desproporcionados, Velleman® autoriza reemplazar el articulo por un articulo equivalente o reembolsar la totalidad o una parte del preco de compra. En este caso, usted recibirá un articulo de recambio o el reembolso completodel preco de compra si encuesta algo fallo hasta un año antes de la compra y entrega, o un articulo de recambio al 50% del precode compra o el reembolso del 50% del preco de compra si encuentraun fallo afterwards de 1 ano y hasta los 2 aanos afterwards de la comprayentrega.
Por consiguiente, está excluidos entre除外as cosas:
-
todos los días causados directo o indirectamente al aparato (p.ej. por oxidación, Choques, caía,...) y a su contenido (p.ej. perdida de datos) après de la entrega y causados por el aparato, yrialquier indemnización por possible perdida de ganancias;
-
partes o accesorios, que estén expuestos al desgaste causado por un uso normal, como por exemple baterías (tanto recargables como no recargables, incorpordas o reemplazables), bombillas, partes de goma, etc. ( lista ilimitada);
-
defectos causados por un incidro, daños causados por el agua, rayos, accidentes, catástros naturales, etc.;
-
defectos causados a conciencia, descuido o por malos tratos, un mantenimiento inaproviado o un uso anormal del aparato contrario a las instrucciones del fabricante;
-
daños causados por un uso comercial, profesónal o colectivo del aparato (el periodo de garantía se reducirá a 6mos con uso professionnel);
-
daños causados por un uso incorrecto o un uso ajeno al que está previsto el producto inicialmente como está descririto en el manual del usuario;
-
daños causados por una protección insufiente al Transportar el aparato.
-
daños causados por reparaciones o modificaciones efectuadas por
una tercera persona sin la autorizacion explicita de Velleman- se calcula gastos de transporte de y a Velleman si el aparato ya no esta cubierto por la garantia.
-
Cualquier articulo queonga que ser reparado sondern que ser devuelto a su distribuidor Velleman®. Devuelva el aparato con la factura de compra original y transporte del en un embalaje solido (preferentemente el embalaje original). Incluya también una buena descripción del fallo;
-
Consejo: Lea el manual del usuario y controle los cables, las pilas, etc. antes de devolver el aparato. Si no se encontrar un defecto en el articulo los gustos podrian correr a cargo del cliente;
-
Los gastos de transporte correrán a energia del cliente para una
reparacion efectuada fuera del periodo de garantia.
Cualquier gesto commercia no disminuye这些东西.
La lista previamente Mentionada peut ser adaptada según el tipo de articulo (vease el manual del usuario del articulo en cuestion).
ManualFácil