WKL 1503 - Calefacción AEG - Manual de uso y guía de instrucciones gratis
Encuentra gratis el manual del aparato WKL 1503 AEG en formato PDF.
Descarga las instrucciones para tu Calefacción en formato PDF gratis! Encuentra tus instrucciones WKL 1503 - AEG y toma tu dispositivo electrónico nuevamente en la mano. En esta página están publicados todos los documentos necesarios para el uso de su dispositivo. WKL 1503 de la marca AEG.
MANUAL DE USUARIO WKL 1503 AEG
Instrucciones de utilización y montaje
Nástěnný konvektor
Česky
Español Páginas 28 - 33
- Instrucciones de uso 28 - 30
1.1 Descripción del aparato
1.2 Manejo
1.3 Indicaciones de seguridad
1.4 Cuidados y mantenimiento ¿Qué hacer cuando ...? 30 - Instrucciones de montaje31 - 32
2.1 Componentes del aparato Datos técnicos 31
2.2 Reglamentos e instrucciones
2.3 Montaje
2.4 Conexionado eléctrico
2.5 Entrega Garantía 32 Medio ambiente y reciclaje 32
Русский 46 - 50
1. Instrucciones de uso

text_image
Elementos básicos 1 Interruptor CON/DESC 2 Botón de ajuste de temperatura 3 Pasadores de enclavamiento C26_07_31_0037Por principio, todo aparato eléctrico debe manejarse con la debida precaución, para así descartar un riesgo potencial por incendio, descarga eléctrica o lesión. Por esta razón se deberá utilizar el aparato siempre de la forma descrita en estas instrucciones. Todo uso que pase por alto las recomendaciones del fabricante puede conllevar daños o lesiones.
Respetar una correcta correspondencia entre la demanda calorífica de la estancia a caldear y la potencia de caldeo del aparato.
Antes de utilizar el aparato leer las presentes instrucciones en su totalidad y seguir las indicaciones que se dan con relación al uso correcto del aparato. Conservar cuidadosamente las presentes instrucciones. Entregárselas a un eventual nuevo propietario. En caso de realizarse trabajos de reparación, facilitárselas al instalador para su consulta.
1.1 Descripción del aparato
El modelo WKL es un aparato eléctrico de calefacción directa, previsto exclusivamente para su montaje mural. Es adecuado, por ejemplo, como calefacción única en el baño o como calefacción para las estaciones de transición y de refuerzo en habitaciones de pequeña superficie, tales como cuartos para actividades recreativas y de invitados.
Serie de modelos WKL-S
El aparato es operativo una vez fijado a la pared y efectuado su connexionado eléctrico mediante la clavi- ja de red.
Gama de modelos WKL-U
El aparato es operativo una vez fijado a la pared y efectuado su conexiónado eléctrico mediante una conexión fija utilizando una caja de conexiones (jobervar la reglamentación aplicable!).
Funcionamiento del aparato
El aire que recorre el convector es calentado por una resistencia y emitido a través de la rejilla de salida de aire (4) por efecto de la convección. La reposición con aire frío se produce a través de las aberturas situadas en la parte inferior del aparato.
Dispositivo de seguridad
Este convector incorpora un regulador térmico de seguridad, que desconecta el aparato en caso de sobrecalentamiento. Una vez eliminada la causa (p.ej. cobertura de las rejillas de salida o de admisión de aire), el aparato entra nuevamente en funcionamiento transcurrido un periodo de enfriamiento de unos pocos minutos.
1.2 Manejo
El convector se conecta y desconecta mediante el interruptor (1) situado en el lateral derecho del aparato. La temperatura ambiente deseada se puede ajustar sin solución de continuidad entre aprox. +6 °C y aprox. +30 °C por medio del botón de ajuste de temperatura (2). Tan pronto se alcanza la temperatura ambiente ajustada, se mantiene ésta constante mediante un caldeo intermitente (para ello, la potencia de caldeo ajustada en el aparato debe cubrir, como mínimo, la demanda calorífica de la estancia).
Cuando se coloquen varios convectores en una misma habitación, el ajuste de temperatura podrá ser distinto en cada uno de ellos. Con el fin de prevenir un consumo eléctrico excesivo cuando se tengan abiertas ventanas, desconectar el aparato con el interruptor (1) mientras se ventila la habitación.
Protección antihielo
Si se va a destinar el aparato a prevenir la formación de hielo en una estancia, llevar el botón de ajuste de temperatura (2) a la posición derecha (*). En dicha posición, el regulador de temperatura conecta automáticamente la resistencia cuando la temperatura ambiente desciende por debajo de aprox. +6° C.
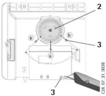
Limitación del regulador de temperatura
Con los dos pasadores (3) ubicados en la cara trasera de la carcasa que aloja el interruptor y el botón de ajuste de temperatura se puede bloquear la temperatura ajustada en un valor determinado o limitarse el rango de temperaturas graduables.
Para fijar una temperatura determinada insertar un pasador a en el orificio exactamente enfrentado al valor de temperatura.
Para limitar el rango de temperaturas, ajustar los valores mínimo y máximo en el botón de ajuste, marcando estas posiciones mediante la inserción de sendos pasadores b en un orificio algo desplazado con respecto al orificio exactamente enfrentado a la temperatura límite respectiva.

text_image
2 b b a 3 3 C26 07 31 00381.2.1 Termostato externo
En caso necesario se puede controlar el aparato con un termostato externo de tipo comercial.
Para ello hay que girar el botón de ajuste de temperatura (2) hasta su tope derecho (MAX).
El termostato deberá estar montado a la mayor distancia posible del aparato y a una altura mínima de 1,5 m con respecto al suelo.
1.2.2 Apagado
Para apagar el aparato llevar el interruptor a la posición de Desconectado y desenchufar la clavija de red (no desenchufar tirando del cable de red).
1.3 Indicaciones de seguridad

No utilizar el aparato
- en estancias en las que exista riesgo de incendio o explosión por la presencia de productos químicos, polvo, gases o vapores;
- junto a conducciones o contenedores por las que fluyan o que contengan sustancias inflamables o deflagrantes;
-
cuando se incumplan las distancias mínimas con respecto a las superficies de objetos contiguos.
-
Confiar siempre el montaje (instalación eléctrica) y la primera puesta en marcha, así como el mantenimiento, de este aparato a un instalador autorizado, que deberá seguir para ello las presentes instrucciones.
- No utilizar bajo ningún concepto el aparato mientras se realizan en la misma estancia trabajos como el solado, lijado o sellado, la limpieza con gasolina y protección (con spray o cera para suelos) de suelos y trabajos similares.
- Durante el funcionamiento, las superficies del aparato y el aire expulsado alcanzan una temperatura elevada (superior a 80 °C).
¡Existe riesgo de quemaduras!
¡Mantener sin falta alejados a los niños pequeños del aparato!
- No depositar objetos sobre el aparato, ni apoyarlos contra el mismo o introducirlos entre el mismo y la pared (p.ej. para secar ropa).
No situar objetos combustibles, inflamables o termoaislantes, así como tampoco elementos como ropa, mantas, revistas, envases de cera para suelos o bidones de gasolina, sprays y similares cerca del aparato. Peligro de incendio!

No cubrir el convector, para prevenir un sobrecalentamiento del aparato.
- A Respetar las siguientes distancias mínimas del aparato con respecto a objetos de todo tipo, p.ej. muebles, cortinas, visillos y materiales textiles, así como otros materiales inflamables y no inflamables:
| a rejilla de salida de aire | 500 mm |
| a los laterales del aparato | 100 mm |
| a la cara superior del aparato | 150 mm |
| a la cara inferior del aparato | 100 mm |
| a la pared trasera del aparato | 26 mm |
¡El aire caliente debe poder escapar sin obstáculos del aparato!
- ¡No utilizar el aparato como soporte!
- ¡No pisar sobre el aparato!
- No realizar modificaciones de ningún tipo en el aparato.
- No dejar nunca funcionando el aparato en ausencia de personas.
- Proceder con particular cuidado cuando se utilice el aparato en presencia de niños, personas delicadas o animales. ¡Riesgo de lesión!
- No poner en funcionamiento el aparato si ha resultado dañado un componente del mismo, se ha caído el mismo o se había producido ya anteriormente una incidencia durante su funcionamiento.
- Si el cable de red del aparato sufre desperfectos, deberá ser sustituido por el fabricante, su servicio técnico o un instalador cualificado, con el fin de prevenir riesgos
1.4 Cuidados y mantenimiento
Si aparecen decoloraciones ligeramente marrones en la carcasa del aparato, limpiarlas - a ser posible - inmediatamente con un paño húmedo y agua jabonosa muy caliente. Limpiar el aparato, siempre frío, con los productos de limpieza corrientes para estos usos. No emplear productos de limpieza abrasivos o cáusticos. Prevenir la entrada de humedad en el aparato. No rociar spray limpiador en el interior de las ranuras de admisión o salida de aire. Durante los mantenimientos de rutina recomendamos hacer revisar también los elementos de mando y regulación. Transcurrido un periodo máximo de 10 años encargar al Servicio Técnico la revisión de los elementos de seguridad, mando y regulación.
¿Qué hacer cuando ...?
| • el aparato no se calienta? | Compruebe si ...... el interruptor CON/DESC está encendido.... está conectado el interruptor automático correspondiente o ha saltado el diferencial en el cuadro eléctrico de su vivienda.¡Corregir la causa del problema!Si tras comprobar y corregir estos puntos siguiera sin calentarse el aparato, ¡llame a su instalador! |
| • el aparato se desconecta automáticamente? | Compruebe si el aparato está cubierto, lo cual podría provocar su sobrecalentamiento (p.ej. rejillas de admisión o de salida de aire cubiertas).¡Corregir la causa del problema!Si transcurrido un tiempo de enfriamiento de unos minutos siguiera sin calentarse el aparato, ¡llame a su instalador! |
| • vaya a llamar al Servicio Técnico? | Lea el modelo (Typ) y el número (Nr.) de serie de la plaquita de características (8) del aparato y comuníqueselos al Servicio Técnico.AEGTyp: WKL ....E-Nr.: ...... F-Nr.: ...... |
2. Instrucciones de montaje
El montaje y el conexionado eléctrico deben ser realizados por un instalador conforme a las presentes instrucciones de montaje. No extraer el aparato y los accesorios de sus embalajes hasta que se encuentren en el lugar de montaje. ¡Prestar atención al paquete de componentes suplementarios! Durante el desembalaje procurar no dejarse accesorios olvidados entre los materiales de embalaje.
2.1 Componentes del aparato
4 Rejilla de salida del aire caliente
5 Soporte mural
6 Perno de cierre
7 Cable de red
8 Plaquita de características
Datos técnicos
| Modelo | WKL 503 SWKL 503 U | WKL 753 SWKL 753 U | WKL 1003SWKL 1003 U | WKL 1503SWKL 1503 U | WKL 2003SWKL 2003 U | WKL 2503SWKL 2503 U | WKL 3003SWKL 3003 U | |
| Altura mm 450 | ||||||||
| Anchura mm 370 445 | 445 5 | 90 740 890 1 | 040 | |||||
| Profundidadcon soporte mural | mm | 78100 | ||||||
| Medida A mm 121 195 | 195 | 343 491 639 | 787 | |||||
| Peso kg 4,0 4,6 4,6 6,0 | 7,2 8 | 4 9,9 | ||||||
| Tensión de red 1/N ~ 2 | 30 V | |||||||
| Potencia | kW | 0,5 | 0,75 | 1,0 | 1,5 | 2,0 | 2,5 | 3,0 |
| Rango de ajuste detemperaturas | °C | aprox. 6 hasta 30 | ||||||
| Protección antihielo | °C | aprox. 6 | ||||||
| Clase de protección | II | |||||||
| Grado de protección | IP 24, protegido contra agua proyectada | |||||||
| Homologaciones | véase plaquita de características del aparato | |||||||
2.2 Reglamentos e instrucciones

No utilizar el aparato
- en estancias en las que exista riesgo de incendio o explosión por la presencia de productos químicos, polvo, gases o vapores;
- junto a conducciones o contenedores por las que fluyan o que contengan sustancias inflamables o deflagrantes;
- cuando se incumplan las distancias mínimas con respecto a las superficies de objetos contiguos.
En talleres u otros locales en los que se emiten gases de escape, se producen olores a aceite y gasolina, etc. o se trabaja con disolventes y productos químicos, pueden producirse olores molestos persistentes y, dado el caso, manchas sobre las superficies.
- Montar siempre el aparato en una pared vertical, con un paramento que soporte temperaturas de min. 80 °C.
- Respetar las distancias mínimas con respecto a las superficies de objetos contiguos.
- Todos los trabajos de connexionado e instalación deben realizarse en conformidad con el RBT, las normas de la compañía eléctrica suministradora, así como de la normativa nacional y local aplicable.
-
No montar el aparato directamente debajo de una base de enchufe de pared.
-
Para conectar el aparato de forma fija a la instalación de corriente alterna (mediante una caja de conexiones), deberá intercalarse un mecanismo seccionador omnipolar con un tramo de seccionado mín. de 3 mm. Pueden emplearse con este fin contactores, interruptores automáticos, fusibles, etc. No está permitido realizar una instalación del aparato con un cable de red fijo.
- ¡Tener en cuenta los datos de la plaquita de características! La tensión de red allí especificada debe coincidir con la tensión de red de la instalación.
- Cuando se vaya a montar el aparato en locales con bañera o ducha, deberán respetarse los volúmenes de protección especificados en la instrucción técnica correspondiente, tomando como referencia los datos de la plaquita de características del aparato.
- Ubicar el aparato de forma que los elementos de mando y regulación no puedan ser tocados por una persona que se encuentre en la bañera o bajo la ducha.
- La sustitución del cable de red deberá confiarse a un profesional, que utilizará siempre repuestos originales.
2.3 Montaje
2.3.1 Montaje del soporte mural B
Utilizar también el soporte mural como plantilla para la fijación, puesto que así se garantiza la obtención de la separación requerida con respecto al suelo.
Para fijar el aparato proceder como sigue:
- Apoyar el soporte mural orientado hacia el centro (5) en posición horizontal sobre el suelo y marcar los taladros identificados como a y d en la pared de montaje;
- II subir el soporte mural de forma que los taladros b del soporte coincidan con las marcas recién realizadas en la pared;
- marcar los taladros c y d del soporte mural en la pared de montaje;
- taladrar en las 4 marcas y fijar el soporte mural con los elementos (tornillos, tacos) adecuados para el tipo de pared en cuestión. Los orificios oblongos verticales permiten compensar las eventuales desviaciones de los taladros de fijación.
2.3.2 Montaje del aparato c
Suspender el convector encajando simultáneamente las 4 pestañas del soporte mural en las ranuras receptoras del panel trasero y presionarlo a continuación hasta su enclavamiento. A continuación girar el perno de bloqueo (6) del soporte mural hasta el tope derecho, con lo cual se enclavará el bloqueo. Para desmontar el convector retirar el perno de bloqueo, levantar ligeramente el aparato y, a continuación, separarlo del soporte mural tirando del mismo hacia delante.
2.4 Conexionado eléctrico
El conexionado eléctrico se debe realizar exclusivamente a instalaciones de 230 V \~.
Para la conexión a red montar una base de enchufe Schuko a un lado del aparato, a una distancia de mín. 10 cm. Para realizar una instalación fija utilizar una caja de conexiones.
2.5 Entrega
Explíquele al usuario las funciones del aparato. Llámele la atención en particular sobre las indicaciones de seguridad.
Entréguele al usuario estas instrucciones de uso y montaje.
3. Garantía
La garantía es la ofrecida de acuerdo con las Condiciones de suministro y pago válidas en cada país. Diríjase a la filial o representación de AEG para más detalles.

El montaje, la instalación eléctrica, el mantenimiento y la primera puesta en marcha deben ser realizados siempre por un instalador autorizado.
El fabricante no asume ninguna responsabilidad sobre los aparatos/piezas suministradas que no hayan sido instaladas con arreglo a las presentes Instrucciones de uso y montaje.
3.1 Medio ambiente y reciclaje
Eliminación de aparatos viejos

No tirar los aparatos que lleven esta identificación junto con la basura no clasificada. Se deben recoger y eliminar de forma especial.
La eliminación de aparatos viejos se debe realizar de forma adecuada y competente, de acuerdo con las normas y leyes locales vigentes.
1. Návod k použití

ManualFácil