WKL 1503 - Отопление AEG - Бесплатное руководство пользователя
Найдите руководство к устройству бесплатно WKL 1503 AEG в формате PDF.
Скачайте инструкцию для вашего Отопление в формате PDF бесплатно! Найдите своё руководство WKL 1503 - AEG и возьмите своё электронное устройство обратно в руки. На этой странице опубликованы все документы, необходимые для использования вашего устройства. WKL 1503 бренда AEG.
РУКОВОДСТВО ПОЛЬЗОВАТЕЛЯ WKL 1503 AEG
Инструкция по монтажу и эксплуатации

ME95
Inhaltsverzeichnis
Deutsch Seite 4 - 9
- Инструкция по эксплуатации 46 - 48
1.1 Описание прибора 46
1.2 Обслуживание 46
1.3 Указания по безопасности 47
1.4 Уход и техническое обслуживание Что делать, если - Инструкция по монтажу 49 - 50
2.1 Составляющие прибора 49 Технические характеристики 49
2.2 Указания по безопасности 49
2.3 Монтаж 50
2.4 Электрическое подключение 50
2.5 Сдача в эксплуатацию 50 Гарантия 50
Table des matières
Français page 16 - 21
1.0 Инструкция по эксплуатации
Коротко о главном

text_image
1 2 3 C05-07_31_00371 Кнопка ВКЛ/ВЫКЛ
2 Ручка выбора температуры
3 Фиксирующие штифты
Во избежание риска, связанного с воспламенением, ударом тока или других возможных травм, пользоваться электрическими приборами следует с предельной осторожностью. Поэтому использовать прибор необходимо только согласно инструкции. Любое другое применение прибора может привести к повреждениям и травмам.
Мощность конвектора должна соответствовать теплопотерям помещения.
Перед эксплуатацией прибора для его правильного применения необходимо полностью прочитать инструкцию и все указания к ней.
Инструкцию следует сохранить и передать в случае смены владельца её новому собственнику или специалисту, проводящему техническое обслуживание.
1.1 Описание прибора
WKL – электрический прибор прямого нагрева, для настенного монтажа. Используется для полного отопления ванной комнаты или дополнительного отопления гостиной и других небольших помещений.
Типовой ряд WKL-S
После настенного монтажа и подключения подсоединительного провода прибора к электророзетке, прибор готов к эксплуатации.
Типовой ряд WKL-U
После настенного монтажа и подключения подсоединительного провода прибора к распредель-тельной коробке, прибор готов к эксплуатации.
Функция прибора
Воздух поступает к нагревательному элементу снизу, нагревается там и благодаря естественной конвекции поднимается наверх через воздушную решетку (4).
Предохранительное устройство
Конвектор имеет защитное температурное реле (STR), которое отключает отопление при возникновении опасности перегрева. После устранения причины перегрева (например, закрыто отверстие выхода воздуха) прибор через несколько минут охлаждения снова начинает функционировать.
1.2 Обслуживание
Конвектор включается/выключается с помощью кнопки (1), расположенной на правой стороне прибора. Желаемая температура помещения может быть выставлена бесступенчато в диапазоне от 6 °C примерно до 30 °C с помощью ручки выбора температуры (2). Регулятор температуры отключает нагрев при достижении заданной температуры, которая затем поддерживается константно за счёт периодического включения прибора. (Следует учитывать правильное соотношение теплопотребления в помещении и отопительной мощностью прибора!).
Если в помещении имеется несколько нагревательных приборов, то установка ручки регулятора температуры каждого прибора может быть различной.
Во избежание повышенного потребления электроэнергии при открытых окнах следует отключить прибор с помощью кнопки ВКЛ/ВЫКЛ (1).
Режим защиты от замерзания

Если в приборе используется датчик защиты от замерзания, ручка выбора температуры (2) устанавливается на *Термостат автоматически включает нагрев в случае, если температура в помещении опускается до +6 °C и ниже.
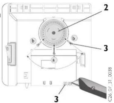
Ограничение регулятора температуры
Для того, чтобы зафиксировать ручку выбора температуры на определенной настройке, на задней стенке прибора откручиваются два штифта (3) и устанавливаются по обе стороны желаемого значения.
Для фиксации желаемой температуры штифт а следует вставить точно в напротив расположенное отверстие.
При ограничении устанавливаемого диапазона температуры следует установить минимальное и максимальное значение на ручке выбора и соответственно также зафиксировать штифть в другом несколько смещённом, расположенном напротив отверстии.

text_image
2 b b a 3 3 CZ6 07 31_00381.2.1 Внешний регулятор температуры
В случае надобности прибор может приводиться в действие обычным внешним регулятором температуры. При этом ручка выбора температуры (2) поворачивается вправо до упора (MAX). Регулятор температуры следует устанавливать по возможности на большом расстоянии от прибора и на высоте минимум 1,5 м.
1.2.2 Отключение конвектора
Чтобы отключить прибор, нужно поставить его в позицию AUS (Выкл.) и выдернуть вилку из розетки, но не тянуть за электрический кабель.
1.3 Указания по безопасности

Запрещается использовать прибор:
– в помещениях, которые могут быть взрыво- и пожароопасными вследствие наличия химикатов, пыли, газов или паров;
– в непосредственной близости от трубопроводов или резервуаров, содержащих или проводящих горючие и взрываопасные вещества.
– нельзя превышать минимальные безопасные расстояния от объектов при установке прибора.
- Установка, также как и ввод в эксплуатацию, и техническое обслуживание проводятся только специалистом согласно инструкции.
- Ни в коем случае нельзя пользоваться прибором, если в помещении проводятся такие работы, как укладка или заделка швов паркета, чистка с использованием воска-спрея для полировки паркета, бензина или подобных веществ.
- Огнеопасно! При работе прибора поверхность корпуса и выходящий воздух могут нагреваться до 80 С и выше.
Устанавливать в недоступном для маленьких детей месте!
- Запрещается прислонять к прибору предметы, либо ставить их между прибором и стеной.
- Вблизи отопительного прибора не должны находиться легковоспламеняющиеся предметы из дерева, бумаги, текстиля и т.д., а также пожароопасные материалы, например, ветошь, бензин, распылительные баллоны и т.д.
Опасность возгорания!

Во избежание перегрева конвектора ни в коем случае ничем не накрывать прибор.
- Рис. А Для предметов любого типа, таких как мебель, гардины, занавески и текстиль или другие воспламеняющиеся и невоспламеняющиеся материалы, должны соблюдаться следующие минимальные расстояния:
до воздушной решетки 500 мм
до боковых стенок прибора 100 мм
до верхней стенки прибора 150 мм
до нижней стенки прибора 100 мм
до задней стенки прибора 26 мм
Тёплый воздух должен выходить беспрепятственно!
- Прибор для настенного монтажа, не предназначен для напольного монтажа
- Не допускается внесение каких-либо изменений
- Не наступать на прибор!
- Не оставлять работающий прибор без присмотра
- Особенно осторожно использовать в присутствии детей, пожилых людей и животных. Опасность травмирования!
- В случае повреждения или обнаружения сбоев в работе ни в коем случае не эксплуатировать прибор
1.4 Уход и техническое обслуживание
Загрязнения на корпусе прибора необходимо по возможности сразу обработать влажной салфеткой и горячей мыльной водой. В неработающем состоянии прибор можно протирать обычным средством для ухода. Избегать абразивных или растворяющих чистящих средств.
Избегайте попадания влаги в прибор, а также моющих средств в вентиляционную решетку. При регулярном техническом обслуживании мы рекомендуем проверять механизмы контроля и регулирования. По истечении 10 лет эксплуатационного срока специалист должен проверить устройство безопасности, контроля и регулирования.
В случае, если подсоединение электропитания повреждено, оно должно быть заменено производителем, сервисным центром производителя или авторизованным и квалифицированным лицом. Обязательно для предотвращения опасности.
Что делать, если ... ?
- Прибор не нагревается
Проверьте, включена ли ...
... кнопка EIN=Bкл./AUS=Выкл.
проверьте электрические выключатели и предохранители в щитке.
Устраните причину!
Если после этого прибор не нагревается, позвоните специалисту!
- Прибор отключается автоматически
Проверьте, не накрыт ли прибор чем-либо, что может привести к его перегреву (например, закрытое отверстие доступа воздуха).
Устраните причину!
Если после нескольких минут охлаждения прибор не нагревается, позвоните специалисту!
• Звонок в сервисную службу
Сообщить в сервисную службу тип и номер конвектора(8), посмотрев на этикетку производителя!
AEG
Typ: WKL ....
2. Инструкция по монтажу
Монтаж и подключение должны производиться специалистом, согласно требованиям данной инструкции по монтажу и эксплуатации.
Распаковывать прибор и его комплектующие следует на месте установки! При этом не оставляйте ничего в упаковочном материале.
2.1 Составляющие прибора
4 вентиляционная решётка
5 настенный кронштейн
6 замок фиксации
7 электрический кабель
8 шильда прибора
Технические характеристики
| Тип | WKL 503 SWKL 503 U | WKL 753 SWKL 753 U | WKL 1003 SWKL 1003 U | WKL 1503 SWKL 1503 U | WKL 2003 SWKL 2003 U | WKL 2503 SWKL 2503 U | WKL 3003 SWKL 3003 U | |
| Ширина | 450 | |||||||
| Высота | 370 445 | 445 590 740 8 | 90 1040 | |||||
| Глубина с настенным кронштейнома | 78100 | |||||||
| Размер А | 121 195 | 195 343 491 6 | 39 787 | |||||
| Вес кг | 4,0 4,6 4 | 6 6,0 7,2 8,4 9 | 9 | |||||
| Подключение 1/мощность 230 V ~ | ||||||||
| Мощность кВт | 0,5 0,75 | 1,0 1,5 2,0 2,5 | 3,0 | |||||
| Интервал установки температуры | °C | от 6 до 30 | ||||||
| Защита от замерзания | °C | около 6 | ||||||
| Класс защиты | II | |||||||
| Тип защиты | IP 24 защита от брызг воды | |||||||
| Проверено допущено | смотри на шильду прибора | |||||||
2.2 Указания по безопасности
Запрещается использовать прибор:
- в помещениях, которые могут быть пожаро- и взрывоопасными вследствие наличия химикатов, пыли, газов или паров;
– в непосредственной близости от трубопроводов или резервуаров, содержащих или проводящих горючие и взрывоопасные вещества. - нельзя превышать минимальные безопасные расстояния от объектов при установке прибора.
В мастерских или прочих помещениях, в которых присутствуют выхлопные газы, запах масла или бензина и т.д., или проводятся работы с огнегасящими средствами и химикатами, возможно возникновение устойчивого неприятного запаха и при определенных условиях – загрязнения.
- Прибор устанавливается только на вертикальной стене, выдерживающей температуру до 80°C.
- Следует соблюдать минимальные расстояния до ограничивающей площади объекта
-
Соблюдайте предписания Союза немецких электротехников 0100, указания Вашего электроснабжающего предприятия и сведения на табличке с номинальными данными прибора
-
Прибор нельзя устанавливать непосредственно под электророзеткой.
- При подключении прибора к сети переменного тока разделяющий участок к сети должен быть минимум 3 мм на всех участках цепи. Здесь могут применяться контакторы, силовые выключатели, предохранители и т.д. Установка с фиксировано проложенным кабельным соединением не допустима.
- Обратить внимание на шильду прибора. Указанное напряжение должно совпадать с напряжением в сети.
- При установке нагревательного прибора в помещениях с ванной и/или душем, следует соблюдать соответствие типу защиты, указанному на шильде.
- Прибор устанавливать так, чтобы избежать соприкосновения выключателя и регулирующего устройства с человеком, находящимся в ванной или под душем.
- В случае замены каких-либо частей прибора, подключение должно осуществляться только специалистом.
2.3 Монтаж
2.3.1 Монтаж настенного кронштейна Рис. В
Настенный кронштейн использовать в качестве шаблона для фиксации, который обеспечивает при этом необходимое расстояние от пола. Для фиксации прибора сделать следующее:
- 1 ориентированный на центр стены кронштейн (5) поставить на пол в горизонтальном положении и обозначить отверстия а и д на стене монтажа;
- II кронштейн приподнять так, чтобы отверстие в кронштейне совпадало с обозначениями на стене монтажа;
- Отверстия с и д кронштейна обозначить на стене монтажа;
- Во всех четырёх обозначениях просверлить отверстия и закрепить кронштейн инструментом в соответствии с видом стены. С помощью удлинённых отверстий можно выравнить прибор для фиксации.
Конвектор навешивается пазами одновременно на 4 петли, расположенные на настенном кронштейне, и прижимается вниз для фиксации. Затем фиксирующий замок (6) настенного кронштейна поворачивается по часовой стрелке до упора и, таким образом, фиксирует крепление.
Для демонтажа конвектора фиксирующий замок следует повернуть, прибор слегка приподнять и снять с кронштейна.
2.4 Электрическое подключение
Для подключения необходимо напряжение 230 V \~.
Распределительную коробку следует монтировать на расстоянии не менее 10 см сбоку от прибора.
2.5 Сдача в эксплуатацию
Объясните пользователю функции прибора. Следует обратить особое внимание покупателя на указания по безопасности. Не забыть передать пользователю инструкцию по эксплуатации и монтажу.
3. Гарантия

Условия и порядок гарантийного обслуживания определяются отдельно для каждой страны. За информацией о гарантии и гарантийном обслуживании обратитесь пожалуйста в представительство Stiebel Eltron в Вашей стране.
3.1 Утилизация

По истечении срока службы водонагреватель должен подвергатья утилизации в соответствии с нормами, правилами и способами, действующими в месте утилизации.
ПростаяИнструкция