WKL 1503 - Vytápění AEG - Bezplatný návod k obsluze
Najděte návod k zařízení zdarma WKL 1503 AEG ve formátu PDF.
Stáhněte si návod pro váš Vytápění ve formátu PDF zdarma! Najděte svůj návod WKL 1503 - AEG a vezměte svůj elektronický přístroj zpět do rukou. Na této stránce jsou zveřejněny všechny dokumenty potřebné k používání vašeho zařízení. WKL 1503 značky AEG.
NÁVOD K OBSLUZE WKL 1503 AEG
Návod k použití a montáži
Konwektory
Polski
- Návod k použití 34 - 36
1.1 Popis prístroje
1.2 Obsluha
1.3 Bezpečnostní pokyny
1.4 Ošetřovaní a údržba Co dělat, když ... ? - Instrukce k montáži 37 - 38
2.1 Konstrukce prístroje Technická data 37
2.2 Předpisy a ustanovení
2.3 Montáž
2.4 Elektrická přípojka
2.5 Předání přístroje Ekologie a recyclace 39 Záruční podmínky 39

C26_07_31_0033
A

text_image
≥ 100 mm ≥ 150 mm ≥ 500 mm ≥ 100 mm AEG ≥ 100 mmC26_07_31_0034
B

text_image
c a d 5 b b 1
text_image
261 mm a c d 163 mm b A b IIC

text_image
Elektrické prístrois je runno zásadně po Nejdulezitejsi informace ve zkratce 3 2 1 C26_07_31_0037 spínač pro zapínání a vypínání knoflík pro volbu teploty aretační kolíkyužívat s požadovanou
opatrností, aby se vyloučilo potenciální riziko vlivem požáru, nebezpečí zasažení elektrickým proudem nebo zranění. Proto se smí přístroj používat pouze tím způsobem, který je popsán v tomto návodu. Jakékoliv užití, které neodpovídá doporučení výrobce, může mít za následek poškození přístroje nebo poranění obsluhujícího. Je nutno zajistit správné přizpůsobení mezi potřebou tepla místnosti a topným výkonem přístroje.
Před použitím přístroje je třeba si pečlivě pročíst celý návod a je nutno dodržet pokyny, které jsou uvedeny pro správnou manipulaci s přístrojem.
Tyto pokyny pečlivě uschovejte, předejte je v případě změny majitele dalšímu uživateli.
Budou-li zapotřebí případné opravy, přenechte pokyny k nahlédnutí odborníkovi.
1.1 Popis prístroje
WKL je elektrickým přímotopným přístrojem, určeným výhradně k montáži na stěnu. Přístroj je vhodný např. jako hlavní nebo jako přechodné popř. doplňkové vytápění.
Typová řada WKL-S
Po upevnění na stěnu a elektrickém připojení prostřednictvím síťové zástrčky je přístroj připraven k provozu.
Typová řada WKL-U
Po upevnění na stěnu a elektrickém připojení pomocí pevné přípojky s použitím přístrojové přípojné krabice (je třeba respektovat příslušné místní předpisy a normy!) je přístroj připraven k provozu.
Funkce prístroje
Vzduch v konvektoru se ohřivá topným tělesem a vystupuje přirozenou konvekcí nahoru výstupní vzduchovou mřížkou (4). Otvory, které jsou umístěny v dolní straně přístroje, proudí do konvektoru chladný vzduch z místnosti.
Zabezpečovací zařízení
Konvektor je vybaven ochrannou tepelnou pojistkou (STR), která při přehřátí přístroj vypne. Po odstranění příčiny (např. zakryté otvory pro výstup nebo vstup vzduchu) se uvede přístroj po ochlazovací době, která trvá několik minut, opět do provozu.
1.2 Obsluha
Pomocí spínače (1) na pravé straně přístroje se konvektor zapíná, resp. vypíná.
Požadovaná teplota místnosti je plynule nastavitelná knoflíkem pro volbu teploty (2) v rozmezí mezi cca + 6 °C a + 30 °C. Jakmile je dosaženo nastavené teploty místnosti, udržuje se tato teplota přerušovaným ohřevem konstantně na nastavené hodnotě (topný výkon přístroje musí přitom odpovídat nejméně nutné potřebě tepla místnosti).
Pokud existuje v místnosti více topných přístrojů, může být nastavení volícího knoflíku pro teplotu na každém přístroji různé.
Aby se zamezilo při otevřených oknech v místnosti příliš velké spotřebě elektrické energie, měl by se přístroj během větrání spínačem (1) vypnout.
Jestliže se má použit přístroj jako protizámrazová ochrana, nastaví se knoflík pro volbu teploty (2) k pravému dorazu (♦). V této poloze zapne regulátor vytápění přístroj automaticky, jakmile klesne teplota místnosti na hodnotu cca + 6 °C.
Omezení regulátoru teploty
S oběma kolíky (3), které jsou umístěny na zadní straně spínací skříňky, je možno regulátor teploty fixovat na určité nastavení nebo omezit rozsah nastavení teploty.
Pro fixování na požadovanou teplotu se musí zasunout kolík a do přesně protilehlého otvoru.
Při omezení rozsahu nastavení teploty se nastaví na knoflíku pro volbu minimální a maximální hodnota a označí se vždy zasunutím kolíku b do trochu přesazeně usazeného protilehlého otvoru.

text_image
2 3 a b b 3 C26 07 31 00381.2.1 Externí regulátor teploty místnosti
Přístroj je možno používat v případě potřeby s externím regulátorem teploty místnosti, který lze běžně zakoupit v odborných obchodech.
Přitom se musí natočit volící knoflík teploty (2) k pravému dorazu (MAX).
Regulátor teploty místnosti by se měl umístit v co největší vzdálenosti od přístroje a ve výšce nejméně 1,5 m.
1.2.2 Odstavení konvektoru k provozu
Pro odstavení přístroje z provozu se musí nastavit spínač do poloze VYP a vytáhnout sítová zástrčka z nástěnné zásuvky (nevytahujte zástrčku ze zásuvky uchopením připojovacího vodiče).
1.3 Bezpečnostní pokyny
- v místnostech, které jsou ohroženy chemikáliemi, prachem, plyny nebo parami s nebezpečím požáru nebo výbuchu;
- v bezprostřední blízkosti potrubí nebo zásobníků, které vedou nebo obsahují hořlavé nebo výbuchem ohrožující látky;
- tehdy, když není možno dodržet minimální vzdálenosti k plochám okolních předmětů.
- Montáž (elektrickou instalaci), a rovněž první uvedení do provozu a údržbu tohoto přístroje smí provádět pouze oprávněný odborník na podkladě tohoto návodu.
- V žádném případě se přístroj nesmí používat tehdy, když se provádějí v místnosti jeho instalace práce jako pokládání, broušením, ošetřováním voskem, čištění benzinem a další ošetřování (spreje, pasty na parkety) podlah nebo podobné činnosti.
- Povrch skříně přístroje a vystupující vzduch se během provozu velmi zahřívají (teplota přes 80 °C). Hrozí nebezpečí popálením! Zásadně nedovolujte malým dětem, aby se k přístroji přibližovaly.
- Na přístroj se nesmějí pokládat žádné předměty, o přístroj se nesmí nikdo opírat nebo zasahovat mezi topný přístroj a stěnu (např. pro sušení prádla). Rovněž se nesmějí pokládat v bezprostřední blízkosti přístroji žádné hořlavé, zápalné nebo tepelně izolační předměty nebo materiály, jako prádlo, přikrývky, časopisy, nádoby s voskem na parkety nebo benzinem, sprejové nádobky a podobně.

Hrozí nebezpečí vzplanutí!
Aby se zabránilo přehřátí topného přístroje, nesmí se zařízení zakrývat.
- A Pro předměty jakéhokoliv druhu, jako nábytek, záclony, závěsy a textilie nebo ostatní hořlavé nebo nehořlavé materiálu musejí být dodrženy k přístroji následující minimálně odstupy: k výstupní mřížce vzduchu ⇒ 500 mm k bočním částem přístroje ⇒ 100 mm k horní straně přístroje ⇒ 150 mm k dolní straně přístroje ⇒ 100 mm k zadní stěně přístroje ⇒ 26 mm
Teplý vzduch musí mít možnost bez omezení z přístroje vystupovat!
- Přístroj se nesmí použít jako volně stojící zařízení.
- Na přístroj nevstupujte!
- Na přístroji se nesmí provádět žádné změny.
- Přístroj nenechávejte nikdy v provozu bez dozoru.
- Zvláštní pozornost je vyžadována tehdy, když se přístroj používá v přítomnosti dětí, nemocných osob nebo zvířat. Hrozí nebezpečí poranění!
- Jestliže je některá část přístroje poškozená, přístroj spadl nebo již na něm existovala závada, nesmí se uvést do provozu.
- Při poškození přívodního kabelu tohoto spotřebiče musí být tento kabel vyměněn bud přímo výrobcem nebo jeho autorizovaným servisem nebo jinou osobou s elektrotechnickou kvalifikací, aby nevznikl nebezpečný stav.
1.4 Ošetřování a údržba
Pokud by se projevilo na výstupní mřížce vzduchu a na skříni přístroje lehké zbarvení, pak je nutno tyto části co možno ihned otrít vlhkým hadrem a horkou vodou. Ve studeném stavu se přístroj čistí obvyklými čisticími prostředky. Při těchto pracích je třeba se vyvarovat používání abrazivních a žíravých čisticích prostředků. Do přístroje nesmí vniknout vlhkost. Do vzduchových drážek nestříkejte čistící sprej. Doporučujeme, abyste nechávali při pravidelné údržbě přezkoušet také kontrolní a regulační prvky přístroje. Nejpozději 10 roků po prvním uvedení přístroje do provozu by měl příslušný odborník zkontrolovat bezpečnostní, kontrolní a regulační prvky.
Co dělat, když ...?
- se prístroj neohřivá?
Zkontrolujte, zda ...
... není zapnuto tlačítko ZAP / VYP.
... se neporušila ve vaší pojistkové skříňce příslušná pojistka nebo se nevypnul jistič.
Odstraňte příčinu!
Pokud by se potom stále ještě topný přístroj neohříval, zavolejte servisní službu!
Zkontrolujte, zda není přístroj zakryt, także mohlo dojít k jeho přehřátí (např. zakrytý otvor pro vstup a výstup vzduchu).
Odstraňte příčinu!
Pokud by se po několika minutách vychladnutí přístroj stále ještě neohříval, zavolejte servisní službu!
- zavoláte servisní službu?
Zjistěte z typového štítku (8) na přístroji typ a
číslo (Nr.) přístroje a sdělte tyto údaje servisní službě!
AEG
Typ: WKL ....
2. Instrukce k montáži
Instalaci a elektrickou přípojku přístroje musí provést odborník s přihlédnutím k těmto instrukcím k montáži. Obal přístroj a příslušenství odstraňte teprve na místě jeho instalace, přitom dejte pozor na přibalený sáček! Při vybalování dbejte na to, aby nezůstaly v obalovém materiálu žádné části příslušenství přístroje.
4 mřížka pro výstup teplého vzduchu
5 držák na stěnu
6 uzavírací kolík
7 vedení k připojení na elektrickou sít
8 typový štítek
Technická data
| typ | WKL 503 SWKL 503 U | WKL 753 SWKL 753 U | WKL 1003 SWKL 1003 U | WKL 1503 SWKL 1503 U | WKL 2003 SWKL 2003 U | WKL 2503 SWKL 2503 U | WKL 3003 SWKL 3003 U | |
| výška mm 450 | ||||||||
| šířka mm 370 445 445 | 590 740 | 890 1040 | ||||||
| hloubka s nástěnným držákem | mm | 78100 | ||||||
| rozměr A mm 121 195 | 195 343 | 491 639 787 | ||||||
| hmotnost | kg | 4,0 | 4,6 | 4,6 | 6,0 | 7,2 | 8,4 | 9,9 |
| el. připojení | 1/N ~ 230 V | |||||||
| příkon | kW | 0,5 | 0,75 | 1,0 | 1,5 | 2,0 | 2,5 | 3,0 |
| rozsah nastavitelné teploty | °C | cca 6 až 30 | ||||||
| protizámrazová ochrana | °C | cca 6 | ||||||
| třída ochrany | II | |||||||
| stupeň elektrického krytí | IP 24, chráněn proti stříkající vodě | |||||||
| schválení | viz typový štítek přístroje | |||||||
2.2 Předpisy a ustanovení

Přístroj se nesmí
- používat v místnostech, které jsou ohroženy chemikáliemi, prachem, plyny nebo parami s nebezpečím požáru nebo výbuchu;
- používat v bezprostřední blízkosti potrubí nebo zásobníků, které vedou nebo obsahují hořlavé nebo výbuchem ohrožující látky;
- používat tehdy, když není možno dodržet minimální vzdálenosti k plochám okolních předmětů.
V dílnách nebo jiných místnostech, v nichž vznikají odpadní plyny, pach z oleje a benzinu atd. nebo se pracuje s rozpouštědly a chemikáliemi, může dojít k déle trvajícímu obtěžování pachem a případně ke znečištění.
- Přístroj se smí instalovat pouze na svislých stěnách, jež jsou odolné proti teplotě nejméně 80 °C.
- Při montáži je nutno dodržet minimální odstup k plochám vedlejších objektů.
- Všechny elektrické práce při připojování a instalaci je nutno provést podle příslušných platných národních a regionálních norem a předpisů a v souladu s ustanoveními příslušného elektrorozvodného závodu.
- Přístroj se nesmí instalovat bezprostředně pod nástěnnou zásuvku. - Pokud se má přístroj pevně připojit na rozvodnou sít střídavého proudu (přípojnou krabici), musí jej být možno oddělit od sítě všemi póly zařízením s mezerou mezi kontakty velikosti nejméně 3 mm. K tomu lze použít stykačů, vypínačů LS, pojistek atd. Instalace s pevně uloženým připojovacím vedením není přípustná.
- Je třeba respektovat údaje na typovém štítku přístroje! Uvedené napětí musí souhlasit se síťovým napětím na místě instalace přístroje.
- Při instalaci vytápěcího přístroje v místnostech s koupací vanou a / nebo sprchou je nutno mít na zřeteli ochrannou oblast podle příslušné platné normy v souhlasu s údaji, uvedenými na typovém štítku přístroje.
- Přístroj se musí umístit tak, aby se nemohli spínacích a regulačních zařízení dotknout osoby, jež se nacházejí v koupací vaně nebo pod sprchou.
- Vedení pro připojení k elektrické síti smí při případné výměně nahradit pouze odborník s použitím originálních.
2.3 Montáž
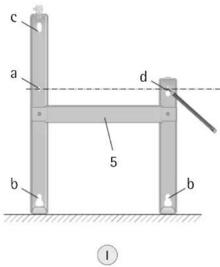
2.3.1 Montáž nástěnného držáku B
Nástěnný držák se použije rovněž jako šablona pro upevnění, a zajišťuje přitom potřebnou vzdálenost od podlahy.
Pro upevnění přístroj se postupuje následujícím způsobem:
- 1 ve středu orientovaný nástěnný držák (5) postavte vodorovně na podlahu, a vyznačte na montážní stěně otvory, označené písmeny a a d;
- II zvedněte nástěnný držák tak, aby se kryly otvory b v nástěnném držáku s právě umístěnými značkami na montážní stěně;
- označte otvory c a d nástěnného držáku na montážní stěně;
- vyvrtejte na všech 4 značkách otvory a upevněte nástěnný držák s použitím vhodných upevňovacích materiálů (šrouby, hmoždinky) vždy podle druhu stěny. Vyrovnání při případném posunutí upevňovacích otvorů je možné pomocí vertikálních podélných otvorů.
2.3.2 Montáž přístroje C
Zavěste konvektor jeho úchytnými výřezy v zadní straně přístroje současně na 4 lišty nástěnného držáku a přitlačte jej, abyste přístroj aretovali. Potom otočte uzavírací kolík (6) nástěnného držáku ve směru hodinových ručiček až k dorazu a tím upevnění zajistíte.
Při demontáži konvektoru se musí po uvolnění uzavíracího kolíku přístroj lehce nadzvednout a potom sejmout směrem dopředu z držáku.
2.4 Elektrická přípojka
Konvektor se smí připojit výhradně na přípojku střídavého proudu s napětím 230 V.
Pro připojení se musí instalovat ve vzdálenosti nejméně 10 cm stranou od topného přístroje zásuvka s ochranným kontaktem nebo přípojná krabice pro pevné připojení.
2.5 Předání přístroje
Vysvětlete uživateli funkce přístroje. Upozorněte jej zvláště na bezpečnostní pokyny.
Předejte uživateli instrukce k používání a montáži přístroje.
3. Záruční podmínky
Uplatňování nároku na poskytnutí záruky je možné pouze v zemi, kde byl přístroj zakoupen. Obrat'te se prosím na příslušné zastoupení firmy AEG nebo na dovozce.

Montáž, elektroinstalaci, údržbu a první uvedení do provozu smí provádět pouze kvalifikovaný odborník.
Výrobce neručí za přístroje poškozené vlivem nedodržení pokynů pro montáž a provoz uvedených v příslušném montážním a provozním návodu.
3.1 Ekologie a recyklace
Zpracování odpadů ze starých přístrojů

Přístroje s tímto označením nepatří do popelnice a je nutno je odděleně sbírat a likvidovat.
Zpracování odpadů ze starých přístrojů má odborný a věcný základ v místně platných předpisech a zákonech.
Uplatňování nároku na poskytnutí záruky je možné pouze v zemi, kde byl přístroj zakoupen.
Obrat'te se prosím na příslušné zastoupení firmy AEG nebo na dovozce.

Montáž, elektroinstalaci, údržbu a první uvedení do provozu smí provádět pouze kvalifikovaný odborník.
Výrobce neručí za přístroje poškozené vlivem nedodržení pokynů pro montáž a provoz uvedených v příslušném montážním a provozním návodu.
3.1 Ekologie a recyklace
Zpracování odpadů ze starých přístrojů

Přístroje s tímto označením nepatří do popelnice a je nutno je odděleně sbírat a likvidovat.
Zpracování odpadů ze starých přístrojů má odborný a věcný základ v místně platných předpisech a zákonech.
15500 Praha 5 - Stodulky
Tel. 02 - 51 11 61 52
Fax 02 - 51 11 61 53
Magyarorszák
Stiebel Eltron KFT
Pacsirtamező u. 41
1036 Budapest
Tel. 01 - 250 60 55
Fax 01 - 368 80 97
SnadnýManuál