OFFICE X12 CD - Trituradora de documentos GEHA - Manual de uso y guía de instrucciones gratis
Encuentra gratis el manual del aparato OFFICE X12 CD GEHA en formato PDF.
| Título | Descripción |
|---|---|
| Tipo de producto | Destructora de documentos |
| Capacidad de destrucción | Hasta 12 hojas A4 en una sola pasada |
| Tipo de corte | Corte cruzado |
| Dimensiones aproximadas | 350 x 220 x 400 mm |
| Peso | 5,5 kg |
| Alimentación eléctrica | 230 V, 50 Hz |
| Potencia | 300 W |
| Funciones principales | Destrucción de papel, tarjetas de crédito, grapas |
| Nivel de seguridad | DIN P-4 (alta confidencialidad) |
| Mantenimiento y limpieza | Limpieza regular de las cuchillas recomendada, aceite para destructoras a utilizar |
| Piezas de repuesto y reparabilidad | Disponibilidad de piezas de repuesto, facilidad de reparación |
| Garantía | 2 años |
| Compatibilidades | Compatible con documentos A4, tarjetas de crédito estándar |
| Características de seguridad | Sistema de protección contra sobrecalentamiento, apagado automático |
Preguntas frecuentes - OFFICE X12 CD GEHA
Preguntas de los usuarios sobre OFFICE X12 CD GEHA
0 pregunta sobre este aparato. Responde a las que conoces o haz la tuya.
Hacer una nueva pregunta sobre este aparato
Descarga las instrucciones para tu Trituradora de documentos en formato PDF gratis! Encuentra tus instrucciones OFFICE X12 CD - GEHA y toma tu dispositivo electrónico nuevamente en la mano. En esta página están publicados todos los documentos necesarios para el uso de su dispositivo. OFFICE X12 CD de la marca GEHA.
MANUAL DE USUARIO OFFICE X12 CD GEHA
Gracias por adquirir este produit de calidad Geha. Por favor, lea detenidamente estemanual de instrucciones antes de comenzar a utiliser la destructora. Tenga en cuentaespecially las advertencias de seguridad, ya que de lo contrario existe riesgo de sufirlesiones.
SÍMBOLOS DE SEGURIDAD
Los@simbolos de seguidad que aparecen tanto en este manual como en la destructora le ayudan a evacar peligros y a utiliser el aparato correctamente.

La destructora no pueda ser realizada por niños.

No acerque las manos a las cucillas de corte.

Mantenga la ropa alejada de la entrada de papel.

Mantenga el Cableo alejado de la entrada de papel.

No pulverice gases o liquidos inflamables sobre la destructora.

Retire todos los clips y grapas.
ADVERTENCIAS IMPORTANTES DE SEGURIDAD
Antes de comenzar a utiliser la destructora, lea las instrucciones de uso.
Al utilizes aparatos electricos, se deben seguir siempre una série de medidas de precaución báicas para evaporar riesgos de lesiones. Por tanto, cumpla estRICTamente estas reglas báicas:
-Esta destructora ha sido disenada especificamente para triturar papel y CD.No la utilizes paraothers fines.
- No introduzca transparencias, etiquetas, ropa o plasticos en la destructora.
- Retire todos los clips y grapas antes de introducir el papel en la destructora.
- No le está permitido modificar, alterar o reparar la destructora.
- No coloque ningún objeto sobre la destructora ni lo apoye contra ella.
- No roce la destructora con agua.
- Desenchufe el cable de alimentacion de la toma de corriente antes de vaciar la papelera, si no va a utiliser la destructora o si va a cambiarla de lugar.
- Para desenchufar la destructora de la red electrica, tire de la clavija, nunca del cable.
- Asegürese de queemploi el voltaje correcto.
- No实用性 cables alargadores.
- Si la deestructora no funciona con normalidad (por exemple, si despide olores extraños o humol), apáguela de inmediato y desconectela de la red electrica.
INSTALLACION DE LA DESTRUCTORA
- El centro de gravedad de la destructora se encuentra en la parte superior. Colóquela sobre una superficie lisa para evaporar que pueda volcarse.
- No utilise la destructora cerca de fuentes de calor o frío, ni en ambientes con calor excessivo, humedad o polvo.
- Sitúe la deestructora cerca de la toma de corriente y no coloque ningún objeto cercà de esta, de forma que se pueda desenchubar el cable de alimentación con fácilidad.
- A continuación, Coloque el recipiente recogedor interior (para CD/DVD) en el recipiente de papel (ver figura 1).
- Asegürese de que el recipiente de papel está introducido hasta el tope en la destructora.
- Enchufe la clavija del cable de alimentacion a una toma de corriente alterna estandar de 220-240 V.

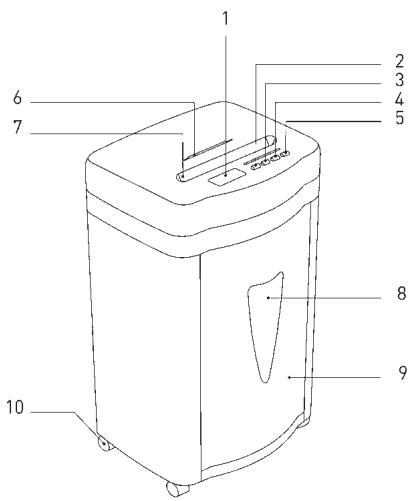
Figure 1
1 Pantalla LCD
2 Tecla de marcha adelante/ tiempo + (FWD)
3 Tecla de marcha atrás/ tiempo - (REV)
4 Tecla de ajuste de la hora
5 Interruptor encendido/apagado
6 Entrada de CD/ tarjetas de��o/disquetes (FD)
7 Entrada de papel
8 Ventanilla
9 Papelera
10 Ruedas

PUESTA EN MARCHA DE LA DESTRUCTORA
A. Introduccion de papel
La destructora可以选择 triturar un máximo de 12 hojas simultaneamente (DIN A4, 70 g/m²). Encienda la destructora mediante el interruptor ON/ OFF. El LED verde "Power" se illumina y la pantalla LCD muestra el estado de funcionaimiento (Ready) y la hora. (Consulte como ajus-
tar la hora en elApartado C).
La destructora reconoce automatistically la presencia de papel en la entrada y se pone en marcha. La pantalla LCD muestra el estado de configuracion (In use) y la hora. Una vez se ha triturado el papel y no hay más en la Boca de entrada, la destructora se detiene automatistically (Modo Standby).
La funciona de marcha atrás y parada automática evita los atascos cuando se produce una sobrecarga de papel. En este caso, retire el papel de la entrada y espere hasta que laestructora recluya el proceso de limpieza automática y se detenga. Introduzca un máximo de 12 hojas DIN A4 70~g / m^2 en la entrada de papel.
"FWD" Si se introduce una hoja estrecha < 10 cm por un lateral de la entrada de papel, puede occurrir que la barrera optica no la detecte y la destructora no seonga en marcha. En ese caso, pulse la tecla "FWD" hasta que el papel se haya introducido por completeness.
"REV" La tecla "REV" permite a las cucillas de corte dar "marcha atrás" en caso de que se produjera un inusual ataso de papel.
Si el sensor detecta que la papelera está llena, la destructora se detiene automatistically, el LED rojo "Bin full" se illumina y en la pantalla LCD se muestra "Basket full". Retire el papel de la Boca de entrada y a continuación vacie la papelera. Tenga en cuenta las advertencias que figuran en elApartado "Mantenimiento".
B. Introduccion de CD/DVD y tarjetas decreto
Este aparato dispone de cuchillas de corte adiconiales para CD/ DVD, tarjetas decreto y disquetes. Para utiliser esta funciona, siga these pasos:
- Encienda la destructora mediante el interruptor ON/ OFF. El LED verde "Power" se ilumina y la pantalla LCD muestra el estado de funcionaimiento (Ready) y la hora. (Consulte comoaabustarla hora enelapartadoC).
- La destructora reconoce automatistically la presencia de CD/ DVD, tarjetas decreto y disquetes en la entrada de CD y se pone en marcha. La pantalla LCD muestra el estado de funciona "In use".
Los CD/ DVD, tarjetas de��o y disquetes son triturados en tiras de 10 mm de anchura. Con este tipo de materiales, siempre existe el riesgo de que salgan despedidas esquirlas. Porarlo, mantenga la cara a suficiente distancia de la Boca de entrada cuando introduce los CD/DVD.
Los residuos se almacenan en un recipiente separado, lo que faculta su eliminacion de forma respetuosa con el medio ambiente.
C. Ajuste de la hora
Presione una vez la tecla "Setup". La tecla "FWD" permite avanzar las horas, la tecla "REV" permite retrocederlas.
Presione dos vezes la tecla "Setup". La tecla "FWD" permite averanzar los Minutes, la tecla "REV" permite retrocederlos.
Aviso importante:
La destructora se apaga automatistically cuando la temperatura del motor es demasiado elevada. El LED rojo "Overheat" se ilumina ySEA que se ha activado la proteccion contra el sobrecalentamento del aparato; en la pantalla LCD se muestra "please wait". En是如何, la destructora no reacciona al presionar las teclas "REV" o "FWD". En cuando la temperatura del motor descende, el aparato vuela a functionar con normalidad.
D. Funciones de la pantalla LCD
| Aviso | Estado | Descripción |
| 89:30 Ready... | La deestructora está lista para ser usada. | Puedeponerse en marcha la deestructora. |
| 89:42 In Use... | La deestructora está en funciona bajo. | ---- |
| 89:34 Manual Forward | Marcha adelante manual. | Se ha presionado la tecla FWD. |
| 89:33 Manual Reverse | Marcha atrásmanual. | Se ha presionado la tecla REV. |
| 89:37 Basket full | La papelera está llena. | Vacía la papelera. |
| 89:48 Overload! | Se han introducido demasiadas hojas. | Retire el papel! |
| 89:48 Paper Jan | Se ha producido un atasco de papel. | Retire el papel! |
| 89:28 Self Cleaning | Las cucillas de corte se están el limpiando. | Espere hasta que aparezca avisoo "Ready". |
| 89:28 Please Wait | El motor se ha sobrecalentado. | Espere 20关键时刻. Vuelva a poder en marcha la deestructora cuando aparezca el aviso "Ready" |
MANTENIMIENTO
Importante:
Antes deVELAR a cabo qualquier labor de mantenimiento,desenchufe el cable de alimentacion de la toma de corriente.
Cuando la papelera está llena, existe el riesgo de que los residuos(LLguen a las cucillas de corte por la parte inferior. Por tanto, vacie la papelera antes de que se llene.
Limpie el exterior de la destructora con un paño humedo. Vigile que el paño no se introduce en la entrada de papel. Este pasosoleysaldo para las piezas externas del aparato.
El exterior de laestructora es de plástico, por lo que no pueda emplearse disolventes como bencina o benzol, ni tampoco disolventes orgánicos como diluyentes. No limpie el aparato con un quitamanchas, para evaporar la decoloración, rotura, descomposión o rayado de laestructora.
Atencion:
Asegúrese de que no se introduce agua en la destructora durante la limpieza de la parte externa.
DATOS TECNICOS
Modelo:
Tipode corte:
Tamañode corte:
Capacidad de corte:
Velocidad de corte:
Anchura de entrada:
Voltaje de entrada:
Potencia absorbida:
Dimensiones:
Nivel deruido:
Capacidad de la papelera:
Ciclo de trabajo:
Peso neto:
Shredder Office X12 CD
Partículas [papel]; tiras [CD y tarjetas decretido]
2 × 15 ~mm (papel),
tiras de 10 mm (CD y tarjetas decreto)
12 hojas [DIN A4, 70 g/m²],
1 CDó 1 tarjeta de��o
3 m/min
220 mm para papel/ 122 mm para CD
220-240 V AC/50-60 Hz; 2.1A/420W
320W
391 × 325 × 675 mm
aprox. 58 dB
24 L
10 min encendid/ 45 min apagado
18,5 kg
| Problema | Causa | Soluciones |
| La deestructora no se pone en marcha tras introducir el papel. | 1. El cable de alimentación no está enchufado correctamente en la toma de corriente. 2. El papel es demasiado delgado. 3. Atasco de papel. | 1. Vuelva a enchufar el cable de alimentación en la toma de corriente. 2. Doble el papel y vuelva a introducirlo en la destructora. 3. Presione la tecla “REV” y extraiga el papel atascado. |
| La deestructora no se apaga tras triturar el papel. | El sensor de la Boca de en-trada está cubierto por polvo o papel. | Limpie el polvo o retire el papel. |
| La deestructora haceblemado ruido. | La deestructora no está colocada sobre una superficie lisa y estable. | Coloque la deestructora sobre una superficie lisa y estable. |
| La deestructora no funciona. | 1. La cantidad de papel supera la capacité de la destructora. 2. El時間 del papel supera la anchura de la boca de entrada. 3. El papel no se ha introducido verticalmente. | 1. Asegúrese de que la cantidad de papel no supera la capacité de la destructora. 2. Extraiga el papel; si es necesario, presione la tecla “REV”. Doble el papel y vuelva a introducirlo. 3. Introduzca el papel en vertical. |
Si la deestructora sigue sin funciona tras haber puesto en practica las soluciones Mentionadas, desenchufe el cable de alimentacion de la toma de corriente ypongase en contacto con su distribuidor.
ELIMINACION DE RESIDUOS
El símbolo del contentedor de basura tachado indica que los aparatos electricos no se pueda(deschar jusqu con los residuos domesticos. Por favor, lleve esta deestructora a un Punto Limpio donde pueda ser reciclada.

GARANTÍA
El periodo de garantía de este aparato es de 24 mezes.
Es indispensable conservar el justificante de compray y el embalaje original.
Si tiene algo n problema con la destructora, dirjase a su distribuidor.
ManualFácil