OFFICE X12 CD - Distruggi documenti GEHA - Manuale utente e istruzioni gratuiti
Trova gratuitamente il manuale del dispositivo OFFICE X12 CD GEHA in formato PDF.
Domande degli utenti su OFFICE X12 CD GEHA
0 domanda su questo apparecchio. Rispondi a quelle che conosci o fai la tua.
Fai una nuova domanda su questo apparecchio
Scarica le istruzioni per il tuo Distruggi documenti in formato PDF gratuitamente! Trova il tuo manuale OFFICE X12 CD - GEHA e riprendi in mano il tuo dispositivo elettronico. In questa pagina sono pubblicati tutti i documenti necessari per l'utilizzo del tuo dispositivo. OFFICE X12 CD del marchio GEHA.
MANUALE UTENTE OFFICE X12 CD GEHA
Vi ringraziamo per aver acquistato il nostro prodotto di qualità Geha. Vi preghiamo di leggere attendamente queste istruzioni prima della messa in servizio. è necessario, in particolare, osservare soprattutto leindicazioni di sicurezza, in quanto la non osservanza comporta pericolodi ferite!
SIMBOLI DI AVVERTENZA
I simboli di avertenza nel manuale d'istruzioni e sull'apparecchio devono aiutare ad evitare pericoli ed utilizzato correttamente l'apparecchio.

L'apparecchio non deve essere utilizzato da bambini!

Non insertire le mani all'interno delsystema di taglio!

Fare attenzione a che non si impigli l'abbagliamento indossato nella porta d'ingresso della carta!

Fare attentiona che non si impiglino i capelli nella porta d'ingresso della carta!

Non spruzzare alcun gas o liquido sull'apparecchio!

Rimuovere tutte le graffiti!
IMPORTANT INDICAZIONI DI SICUREZZA
Prima diMETTARE in funzione il distruggi documenti, vi preghiamo di leggere leindicazioni di sicurezza. Seutilizzateapparecchi elettrici,è necessario prendereparticolari precauzioni per evitare di incorrere nel rischio di quale ferita. Vi preghiamo di osservare pertanto le seguenti regole fondamentali:
- Questo distruggi documenti è particolarementeindicato per distruggere carta e CD. è necessario che venga utilizzato unicamente per tali scopi.
- Non inserire nel distruggi documenti nè pellicole, carta per etichette, capi d'abbigliamento, né elementi in plastica.
- Eliminate toutes le graffiti prima di insere i fogli.
- Non bisogna modificare, trasfomare o riparare in alcun modo l'apparecchio.
- Non appoggiate alcun oggetto sull'apparecchio o contro diesso.
- Non spruzzate acqua sull'apparecchio.
- Staccate la spina dalla presa di corrente prima di svuotare il cestino o quando non dovete piùutilizzare l'apparecchio o avete necessità di spostarlo.
- Per specnere l'apparecchio staccare la spina, non tirare il cavo.
- Assicuratevi che venga utilizzata la tensione corretta.
Nonutilizzate molte prolonghe.
- In caso di condizioni anomale dell'apparecchio (ad esempio rumori o odori strani) è necessario interrompere immediatamente l'uso dell'apparecchio o staccare il cavo della corrente alla presa.
MONTARE IL DISTRUGGI DOCUMENTI
- Il punto forte si trovava sulla parte superiore dell'apparecchio. Poggiatelo su una superficie pianaa in modo da evitare che si possa ribaltare.
- Non utiliser l'apparecchio nelle vicinanze di fonti d'acqua o di freddo, né in ambienti troppo caldi, umidi o polverosi.
- Posizione r'apparecchio nelle vicinanze di una presa e non ponete alcun oggettoto vicino a但这a, in modo che il cavo possa essere tirato fuori alla presaenza problemi.
- Inserire quindi il recipiente di raccolta (per CD/DVD) all'interno del contentitore per carta (vedi figura 1).
- Fare attenzione a che il contentatore per carta sia bene inserito all'interno dell'apparecchio.
- Collegare alla corrente con un trasformatore 220-240 V.

Figura 1
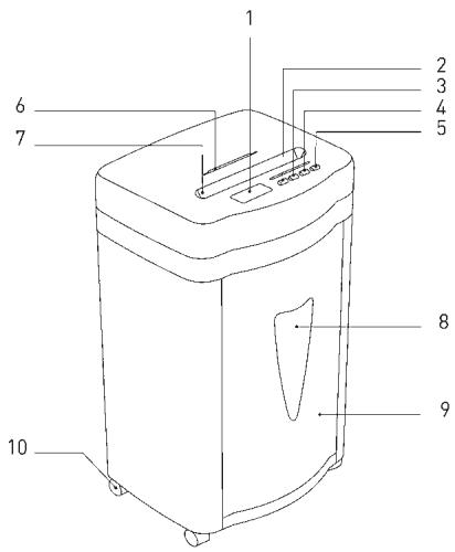
COMPOSIZIONE E FUNZIONAMENTO
1 Display LCD
2 Tasto per rotazione in senso di taglio/tempo + (FWD)
3 Tasto per inversionione del senso di taglio/ tempo - (REV)
4 Tasto per impostazione orario
5 Interruttore accensione/spegnimento
6 Ingresso per CD/Carte di credito/Dischetti (FD)
7 Ingresso per carta
8Oblò
9 Cestino per la carta
10 Rotelle

METTERE IN FUNZIONE IL DISTRUGGI DOCUMENTI
A. Inserimento di carta
L'apparecchio può distruggere al max. 12 fogli (DIN A4, 70g / m^2 ) alla volta. Accendere l'apparecchio con l'interruttore ON/OFF. Si illumina il LED verde di "Power" e sul display LCD ven-gono migliorati stato di funzionamento (Ready) e orario (per impostazione orario, vedi punto C). I fogli nelle'ingresso per carta vengono automaticamente riconosciuti e l'apparecchio si avvia,
sul display LCD appaiano lo stato di funzionamento (In use) e l'orario. Se il documento inserto è stato distrutto e non c'è nessun altro documento da inserire, l'apparecchio si ferma automaticamente (Standby Mode).
Una funzione di arresto e inversionione rotazione si attiva automaticamente in caso di sovracca- ricolo di carta, in modo da evitare ingorghi. In quello caso togliere i fogli dall'ingresso, attendere che l'apparecchio termini il processo di pulizia automatico e si arresti. Inserire max. 12 fogli A4 70~g / m^2 nell'ingresso carta.
“FWD” Quando si insertisceono piccoli fogli (<10 cm) nell'ingresso per carta, è possibile che il sensore ottico non li riconosca e l'apparecchio. Premere, in quello, il tasto “FWD” fino a che la carta non sia stata completenesse distrutta.
"REV" Con il tastingo "REV" è possibile avviare un"inversione" die rulli, nel caso in cui vi sia un incappamento della carta.
Quando il sensore riconosce che il cestino è piano, arresta automaticamente l'apprecchio e si illumina il LED rosso "Bin full" e sul display LCD appeare l'indicazione "Basket full". Rimuovere la carta dall'ingresso e svuotare il cestino.Seguire leindicazioni presenti al punto "Manutenzione"
B. Inserimento di CD/DVD, carte di credito e floppy
Queso appearechio è dotato di un sistema di taglio autonomo per CD/DVD, carte di credito e dischetti. Qualora vogliate metterlo in funzione in quello senso, procedere come segue:
- Accendere l'apparecchio con l'interruttore. Si illumina il LED verde di "Power" e sul display LCD vengono migliorati stato di funzionamento (Ready) e orario (per impostazione orario, vedi punto C).
- CD/DVD, carte di credito e dischetti presenti nell'ingresso CD vengono automaticamente riconosciuti, l'apparecchio si avvia e viene migliorato lo stato di funzionamento "In use" sul display LCD.
CD/DVD, carte di credito e dischetti vengono tagliuzzati in striscette da 10 mm d'ampiezza. Dato che si tratta sempre di materiali che comportano pericolò di schegge, si prega di tenere il volto a debita distanza dopo aver inserito il materiale nell'apparecchio!
Il materiale di risulta viene raccolto in un contentatore separato e lo smaltimento rifiuti viene in quale modo alleggerito.
C. Impostazione dell'ora
Premere una volta sul tasting "Setup". Con il tasting "FWD" è possibile augmentare ora e con il tasting "REV" diminuirla.
Premere due volte il tasto "Setup". Con il tasto "FWD" è possibile augmentare i minuti e con il testo "REV" è possibile diminuire i minuti.
Nota importante:
L'apparecchio si arresta automaticamente quando la temperatura del motore diventa troppo alta. Si illumina il LED rosso per "Overheat" che indica che si è attivata la protezione contro surriscaldamento; sul display LCD viene molto prostrato il messaggio "please wait". In quello caso l'apparecchio non reagisce in alcun modo quando si premono i tasti "Rev" o "Fwd". Non appena la temperatura si sera raffreddata, l'apparecchio torna nuovamente al normale funzionamento.
D. Funzioni mostrate sul display LCD
| Indicazione | Stato | Comando |
| 09:30 Ready... | L'apparecchio è primo all'uso. | L'apparecchio può essere nella funzione. |
| 09:42 In Use... | L'apparecchio è in funzione. | ----- |
| 09:34 Manual Forward | Rotazione manuale nel senso del taglio. | Il tasto FWD è arrivato. |
| 09:33 Manual Reverse | Inversione manuale nel senso del taglio. | Il tasto REV è arrivato. |
| 09:37 Basket full | Il cestino è pieno. | Si prega di svuotare il cestino. |
| 09:48 Overload! | E' stato insertito un volume di fogli troppo grande. | Rimuovere dei fogli! |
| 09:48 Paper Jam | Si è verificato un incappamento di carta. | Rimuovere dei fogli! |
| 09:28 Self Cleaning | Il dispositivo di taglio si pulisce. | Attendere sono a che non compare la scritta "Ready". |
| 09:28 Please Wait | Il motore è surriscaldato. | Attendere almeno 20 minuti. Rimettere in attività quando compare l'indicazione "Ready". |
MANUTENZIONE
Important:
Prima di effettuare la manutenzione, è necessario staccare la spina alla presa!
Quando il cestino è pieno, vi è il pericolò che alcuni pezioni tagliati vengano fuori dal distruggi documenti. Svuotare il cestino prima che si riempia del tutto.
Pulire la parte esterna con un panno umido. Fare attenzione a che il panno non si incastri nella fessura per la carta. Questo tipo di attività va condotta solo per la parte esterna dell'aparecchio.
La parte esterna dell'apparecchio è in plastica. Pertanto non bisogna utilizzare alcuna sostanza come alcool o benzina, o sostanza organica, come diluenti. Non pulire l'apparecchio con uno smacchiatore per evitare abrasioni, rotture, graffiti o scioglimenti.
Attenzione:
Fare attenzione a che durante la pulizia non entri dell'acqua quello strumento.
DATI TECNICI
| Descrizione modello: | Shredder Office X12 CD |
| Tipodi di taglio: | Pezzettini (carta); strisciette (CD o carte di credito) |
| Dimensione taglio: | 2 x 15 mm (carta), striscietta 10 mm (CD o carte di credito) |
| Capacità di taglio: | 12 fogli (DIN A4, 70 g/m2), 1 CD o 1 carta di credito |
| Velocità di taglio: | 3 m/min |
| Ampiezza fessura: | 220 mm per carta/122 mm per CD |
| Alimentazione elettrica: | 220-240 V AC/50-60 Hz; 2.1A/420W |
| Massima prestazione: | 320 W |
| Dimensioni: | 391 x 325 x 675 mm |
| Sonorità: | ca. 58 dB |
| Volume cestino carta: | 24 L |
| Clicchio di funzionamento: | 10 min. acceso/45 Min. spento |
| Peso netto: | 18,5 kg |
| Problema | Causa | Risoluzione |
| L'apparecchio non parteanche dopo che è statainserita la carta. | 1. Non è stata posizionatabene la spina all'interno della presa di corrente.2. La carta è troppo sottile.3. Inceppamento carta. | 1. Attaccate nuovamente laspina alla presadi corrente.2. Piegare la carta einseritela nuovamente neldistruggi documenti.3. Utilizzare la funzione"Rev" e tirate fuori la cartainceppata. |
| L'apparecchio non si spegne quando ha finito la distribuzione dei documents. | Il sensore d'ingresso èricoperto di polvere o carta. | Pulire alla polvere erimuovere la carta. |
| L'apparecchio è moltorumoroso. | L'apparecchio non si trovaben fisso su una superficie piana. | Posizonare l'apparecchio suuna superficie fissa e piana. |
| L'apparecchio non funziona. | 1. La quantità di cartaoltrepassa la capacité deldistruggi documenti.2. La grandezza della cartasupera l'ampiezza dellafessura d'ingresso.3. La carta non è statainserita correttamente. | 1. Assicuratévi che la quantità di carta non superi lacapacità del distruggidocumenti.2. Tirare fuori la carta;eventualm. usare lafunizione "Rev". Piegare lacarta e inserinirlanouvamente.3. Inserire la carta corretta-mente. |
Se l'apparecchio continua a non funzionare dopo aver seguito le precedentiindicazioni, staccare l'alimentazione alla presa e portarlo dal proprio rivenditore di fiducia.
SMALTIMENTO
Il simbolo con il cassetto sbarrato indica che gli apparecchi elettrici non devono essere smaltiti nei normali rifiuti domestici. Si prega di portare quello apparecchio presso un centro di smaltimento autorizzato.

GARANZIA
La durata della garanzia di quello apparecchio è valida 24 mesi.
Si prega di conservare assolutamente la fattura di acquisso e l'imballo originale.
In caso di qualsiasi problema all'apparecchio, rivolgersi al proprio commerciante di fiducia.
ManualeFacile