OFFICE X12 CD - 碎纸机 GEHA - 免费用户手册
免费查找设备手册 OFFICE X12 CD GEHA PDF格式.
用户关于以下问题的提问 OFFICE X12 CD GEHA
0 问题 关于此设备。回答您知道的问题或提出自己的问题。
提出关于此设备的新问题
下载您的设备说明 碎纸机 免费PDF格式!查找您的手册 OFFICE X12 CD - GEHA 并重新掌握您的电子设备。本页发布了使用您的设备所需的所有文档。 OFFICE X12 CD 品牌 GEHA.
用户手册 OFFICE X12 CD GEHA
优质产品。请您在使用之前细心通读此说明。请您务必注意特殊的安全指示,若不注意,则会引发受伤危险!
警告标志
此说明中的和该机器上的警告标志会帮助您,避免危险,并正确使用该机器。

儿童不允许操作该机器!

不要用手抓摸切割刀!

请注意不要让衣服卷入进纸口!

请注意不要让头发进入进纸口!

不要往机器内喷洒易燃气体或液体!

请除去所有回形针!
重要安全指示
在您启动碎纸机之前,请阅读使用说明书。
当您使用电器时,您应该总是考虑执行基本的注意事项,来避免受伤的危险。请您务必注意以下基本规则。
- 这个碎纸机是特别用来碎纸和光盘的。请您不要把它用于其他用途。
- 不要把薄膜,标签纸,衣服或塑料放入该碎纸机内。
- 在碎纸前,请除去所有回形针。
- 您不能改变,改造或修理该机器。
- 不要把异物放在该机器上或把异物靠着该机器。
- 不要用水喷洒该机器。
- 在您清空废纸箩前,或不再使用该机器了,或要搬移它时,请务必把电源插头从插座中拔出。
- 给该机器拔电源插头时一定要拔插头,不要拉扯电缆。
- 确保使用正确电压。
- 不要使用多段加长电缆。
- 当机器出现不寻常状态时(比如奇怪的气味或烟雾),则马上停止使用,并将电源插头从插座中拔出。
设置碎纸机
- 该机器的重心位于上部。把机器放置在一个平整的水平面上,以至于它不会倾倒。
- 既不要在发热或发冷源的附近,也不要在过热的,潮湿或多灰的环境中使用该机器。
- 把该机器放在电源插座附近,并不要在插座附近放置物品,这样电源插头就可以毫无阻碍地被拔出插座。
- 先把里面的接收盒(用于CD/DVD)放入纸张盒中(见图1)。
- 注意,纸张盒必须完全到底地被推入机器。
- 把电源插头与普通的 220 - 240V 交流电的电源插座连接。

图1
(带内插件的纸张盒)
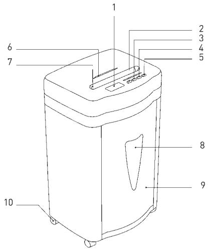
构造和功能
1 LCD 显示窗
2 用于前行的键 / 时间+(FWD)
3 用于倒行的键 / 时间-(REV)
4 设置时间的键
5 开启-/关闭-开关
6 CD-//信用卡-//软盘-输入 (FD)
7纸张-输入
8 观察窗
9废纸箩
10滚轮

启动碎纸机
A. 输入纸张
该机器一次最多可碎纸12张(DIN A4, 70~g/m^2 )。您可以通过ON/OFF-开关启动该碎纸机。绿色的LED灯“Power - 开关”闪亮,LCD-显示窗显示运作状态(Ready)和时间。(设置时间则参见C下的陈述)
进纸口的纸会被自动识别,并且机器启动,LCD-显示窗显示运作状况(In use - 在使用中)和时间。如果纸已被销毁,并且再没有纸在进纸口,机器则自动停止(Standby Mode - 待机状态)。
当由于纸张过多而引起超负荷时,机器会自动执行倒行 - 和停止功能,以防止出现堵纸。在这种情况下请您从进纸口取出纸张,等待机器完成自动清洁程序并停止。请最多在进纸口只放入12张DIN A4, 70~g/m^2 的纸。
“FWD” 如果您将一张<10cm宽的窄长纸放入进纸口的一侧,则有可能,光栅不能识别它,于是机器则不能被启动。这种情况下请按动“FWD”键,直至纸张完全被拉入为止。
“REV”如果出现了意外的堵纸现象,通过“REV”键您可以让切割刀的“倒行”。
如果感应器认出,废纸箩已满,机器则自动停机,红色的LED灯“Bin full - 我满了”闪亮,并且LCD-显示窗也显示“Basket full - 算满”。请您取出进纸口的纸张并清空废纸箩。请注意“维修”一栏下的指示!
B. 输入CD/DVD和信用卡
这个机器另外包含一个用于CD/DVD,信用卡和软盘的切割刀。如果您想使用这个程序,请您按如下步骤进行:
- 通过Power-开关启动碎纸机。绿色的LED灯“Power”闪亮,在LCD-显示窗中显示运作状态(Ready)和时间。(设置时间则参见C下的陈述)
- 光盘输入口的CD/DVD,信用卡和软盘会被自动识别,机器启动,LCD-显示窗显示运作状态“In use - 在使用中”。
CD/DVD,信用卡和软盘会被切割成10mm宽的条片。由于这个材料总是会有碎块蹦跳的危险,请您在输入CD/DVD时让您的脸与输入口保持足够的距离!
碎块会被收集在另一个接收盒内,以便于垃圾的环保处理。
C. 时间设置
请您按一下“Setup - 设置时间”键。通过“FWD”键您可以增加显示的小时数,用“REV”键则可以减少显示的小时数。
请按两下“Setup”键。通过“FWD”键您可以增加显示的分钟数,用“REV”键则可以减少显示的分钟数。
重要指示:
如果马达温度太高,机器则自动停机。红色的LED灯“Overheat - 过热”闪亮并表明机器的过热保护已启动,LCD - 显示窗则显示“please wait - 请等候”。这时如果您按“REV”或“FWD”键,机器则在此情况下无反应。只要马达温度冷却下来,机器则会换到正常运转状态
D. LCD-显示的功能
| 显示 | 状态 | 措施 |
| 09:30 Ready... | 机器处运作准备状态。 | 机器可以被启动。 |
| 09:42 In Use... | 机器在运作中。 | -------- |
| 09:34 Manual Forward | 手动前行。 | 已按FWD键 |
| 09:33 Manual Reverse | 手动倒行。 | 已按REV键 |
| 09:37 Basket full | 废纸箩已满。 | 请清空废纸箩。 |
| 09:48 Overload! | 输入纸张数过多。 | 请除去纸张! |
| 09:48 Paper Jam | 堵纸发生。 | 请除去纸张! |
| 09:28 Self Cleaning | 切割刀在自我清洁。 | 请等待“Ready”显示的出现。 |
| 09:28 Please Wait | 马达过热。 | 请至少等待20分钟。 当“Ready”显示出现之后再继续机器的运作。 |
维修
重要:
在您维修碎纸机前,请您务必从插座里拔出电源插头!
如果废纸箩满了,则存在着废纸箩内的碎纸会从下面进入切割刀的危险。请在废纸箩满之前就清空它。
用湿布清洁机器表面。注意不要让布进入进纸口。这一步只能用于机器的表面部分。
机器的表面部分制于塑料。所以不允许使用诸如汽油和苯之类的溶剂或如稀释剂的有机溶剂。
不要用去污剂清洁该机器,以避免机器的退色,断裂,松解和刮损。
注意:
请注意,在清洁表面时不要让水进入该机器。
技术数据:
型号名称: Shredder Office X12 CD
切割类型: 碎片(纸张);条片(光盘或信用卡)
切割大小: 2 × 15 ~mm (纸张),10 mm条片(光盘或信用卡)
切割功效: 12张(DIN A4, 70 ~g / m^2 ), 1张光盘或1张信用卡
切割速度: 3 ~m / min 输入宽度: 纸张220 mm/光盘122 mm
输入电压: 220-240 V AC/50-60 Hz; 2.1A/420W
功率消耗: 320 W
大小尺寸: 391 x 325 x 675 mm
噪音水平: 约58 dB
废纸箩 - 容量: 24 L
运作周期: 10分钟启动/45分钟停机
净重: 18,5 kg
消除故障
| 故障 | 原因 | 消除故障 |
| 纸张输入后,机器不启动。 | 1.电源插头没有被正确插入电源插座。 2.纸张太薄。 3.堵纸。 | 1.请将电源插座再次插入插座内。 2.请折叠纸张并将它再次送入碎纸机内。 3.启动“REV”-功能,并将堵纸取出。 |
| 机器在碎纸后没有停闭。 | 进纸口的感应器被灰尘或纸张遮住了。 | 抹去灰尘或除去纸张。 |
| 机器噪音很大。 | 机器没有被放置在稳固平整的水平面上。 | 把机器放置在稳固平整的水平面上。 |
| 机器不运作。 | 1.纸张数量超过了碎纸机的工作容量。 2.纸张的大小超过了进纸口的宽度。 3.纸张未被竖直地输入。 | 1.确认纸张数不超越碎纸机的工作容量。 2.把纸拉出;并启动“REV”-功能。折叠纸张并将它重新输入。 3.把纸张竖直地输入。 |
如果当您采取了上述解决办法后机器仍不运作,请把电源插头拔出插座并与您的供货商联络。
垃圾处理
划杠垃圾桶的标志表明,电动机器不能当一般家用垃圾处理。
请您将该机器送到有许可的回收站进行废物环保处理。
保质
该机器的保质期为24个月。
请您务必保留购物发票和原包装。
有问题请务必与您的供货商联络。

简易说明书