OFFICE X12 CD - Dokumentförstörare GEHA - Gratis bruksanvisning och manual
Hitta enhetens manual gratis OFFICE X12 CD GEHA i PDF-format.
Användarfrågor om OFFICE X12 CD GEHA
0 fråga om denna apparat. Svara på dem du kan eller ställ din egen.
Ställ en ny fråga om denna apparat
Ladda ner instruktionerna för din Dokumentförstörare i PDF-format gratis! Hitta din manual OFFICE X12 CD - GEHA och ta tillbaka ditt elektroniska enhet i hand. På denna sida publiceras alla dokument som behövs för att använda din enhet. OFFICE X12 CD av märket GEHA.
BRUKSANVISNING OFFICE X12 CD GEHA
Vi tackar dig für att du har köpt denna Geha-kvalitetsprodukt. Läsigenom denna brauksanvis- ning noga före idrifttagandet. Beakta i synnerhet sakerhetsanvisingarna. Om de inte foljs finns risk for skador!
WARNINGSSYMBOLER
Varningssymbolerna ienna bruksanvisning och på apparaten ska hjälpa dig att undvika faror och att använda apparaten korrekt.

Apparaten fár inte användas av barn!

Strack inte in händerna i skärverket!

Se till att inga kläderkommen in i pappersinmatningen!

Se till att inget harekommen in i pappersinmatningen!

Spruta inte in några antänd Liga gaser erller vätskor i apparaten!

Avlagsna alla gem!
VIKTIGA SAKERHETSANVISNINGAR
Läsigenom användaranvisingarna innan dokument Förstöraren tas i drift. När elektriska apparater används skal alltid grundlaggande försiktighetsatgärder vidtas for att utesluta skaderisker. Folj dārfor alltid foljande grundregler:
- Denna dokument Förstörare ar spezialt konstruerad für att skära ner papper i smàbitar. Använd den inte für nagra andraändamål.
- Satt inte i overheadbilder, etikettpapper, kläder erler plaster i dokument Förstöraren.
- Avlagsna alla gem innan pappret sats i dokumentforstöraren.
- Apparaten fär inte forändras, byggas om eller repareras.
Lagg inga foremål pa apparaten ellr luta nagra foremål mot den. - Sprutainte vattenpapa apparatusen.
- Dra ut nätkontakten ur uttaget innan papperskorgen toms, nar apparaten inte ska användas mer aller om den skate flyttas.
- Dra alltid i kontakten när den ske lossas, inte in kabeln.
- Kontrollera att ratt spanning anvands.
- Använd inte flera förlängningskablar.
- Skulle apparaten uppvisa en ovenlig status (t.ex. konstig lukt eller rök) sø skar apparaten genast tas ur bruk och nätkontakten dras ur uttaget.
INSTALLERING AV DOKUMENTFÖRSTÖRAREN
- Tyngdpunkten ligger vid apparatens overdel. Ställ apparaten på att jämnt underlag sà att den inte kan vippa.
- Använd varken apparaten i narheten av värme- eller koldkällor aller i overhettade, fuktiga ihrer dammiga utrymmen.
- Placera apparaten i narheten av ett eluttag och ställ inga foremål vid elltaget, söatt nätkontaktenutan problem kan dras ut ur elltaget.
- Satt Först in den inre uppsamlingsbehällaren (für CD-/DVD-skivor) i pappersbehällaren (se bild 1).
- Se till att pappersbehällaren ar inskjuten till anslag i apparaten.
- Anslut nätkontakten med ett vanligt 220-240 V-växelströmsuttag.

Bild 1 (pappersbehallare med insats)
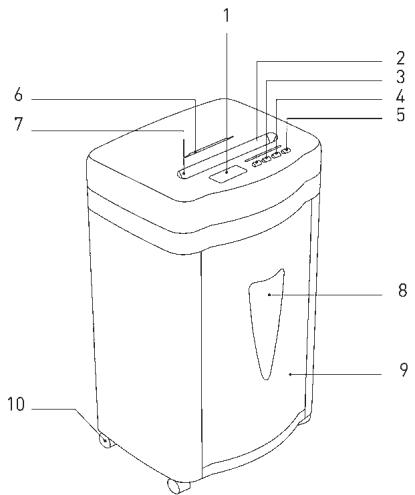
KONSTRUKTION OCH FUNKTION
1 LCD-display
2 Knapp for frammatning / tid + (FWD)
3 Knapp for 'atermatning / tid - (REV)
4 Knapp for att ställa in klockan
5 Till-/från - knapp
6 CD-/kreditkorts-/diskettintag (FD)
7 Pappersintag
8 Indikeringsfonster
9 Papperskorg
10 Rullar

IDRIFTTAGANDE AV DOKUMENTFörSTÖRAREN
Apparaten kan max. Forstöra 12 ark (A4, 70 g/m²) samtidigt. Tillkoppla dokument Förstöraren med ON/OFF-knappen. Den gröna lysdioden "Power" lyser och på LCD-displayen visas driftsstatusen (Ready) och klockan. (Inställning av klockan, se under punkt C.)
Papper i pappersintaget registraras automatiskt och apparaten startar, på LCD-displayen visas driftsstatusen (In use) och klockan. Om pappret har forstörts och inga mer papper satti i sa stannar apparaten automatiskt (Standby Mode).
En automatisk Återmatnings- och stoppfunktion forhindrar pappersstockning vid überbelastning p.g.a. for mycket papper. Ta vid pappersstockning ut pappret ur pappersintaget och vanta tills apparaten har avslutat den automatiska rengöringsprocessen och stannar. Satt nu in max. 12 ark A4, 70~g / m^2 i pappersintaget.
"FWD" Om att smalt ark <10 cm fös in i ena sidan av pappersintaget sö kan det hända att fotocellerna inte registrar der det och att apparaten inte startar. Aktivera dä knappen "FWD" tills pappret är helt indraget.
"REV" Med knappen "REV" kan skärverkets "Återmatning" startas om mot förmodan en pappersstockning skulle uppsta.
Om sensorn registrarar att papperskorgen ar full sø stannar apparaten automatiskt och den röda lysdioden "Bin full" lyser och på LCD-displayen visas "Basket full". Avlagsna pappret ur pappersintaget och tom papperskorgen. Följ anvisiningarna under punkten: "Underhäll".
B. Isattning av CD-/DVD-skivor och kreditkort
Apparaten har att separat skärverk for CD-/DVD-skivor, kreditkort och disketter. Gör sá här om du vill använda dig avenna Funktion:
- Tillkoppla dokument Förstöraren med Power - knappen. Den gröna lysdioden "Power" lyser och på LCD-displayen visas driftsstatusen (Ready) och klockan. (Inställning av klockan, se under punkt C.)
- CD-/DVD-skivor, kreditkort och disketter i CD-intaget registraras automatiskt, apparaten startup och driftsstatusen "In use" visas på LCD-displayen.
CD-/DVD-skivor, kreditkort och disketter skärs ner till 10 mm breda strimlor. Håll ansiktet på tillräckligt avständ frän isattningsschaktet Near CD-/DVD-skivor sats i aftersom det finns risk for splitter.FRNDessa material!
Skärgodset samlas upp i en separat uppsamlingsbehällare och underlättar därmed en miljörktig avfallshantering.
C. Installling av klockan
Tryck en gäng på knappen "Setup". Med knappen "FWD" kan nu timindikeringen hojas och med knappen "REV" kan timindikeringen sankas.
Tryck två gänger på knappen "Setup". Med knappen "FWD" kan nu minutindikeringen höjas och med knappen "REV" kan minutindikeringen sänkas.
Observera!
Apparaten fränkopplas automatiskt om motortemperaturen blir für hög. Den röda lysdioden "Overheat" lyser och indikerar att apparatens überhettningsskydd har aktiverats. På LCD-displayen visas "please wait". Apparaten reagerar dä inte om knappen "REV" aller "FWD" aktiveras. När motortemperaturen har sjunkit igen sökopplar apparaten om till normaldrift.
D. LCD-indikeringensFUNKTIONER
| Indikering | Status | Åtgärder |
| 09:30 Ready... | Apparaten är driftklar. | Apparaten kan tas i drift. |
| 09:42 In Use... | Apparaten är i drift. | ----- |
| 09:34 Manual Forward | Manuell frammatning. | Knappen FWD är aktiverad. |
| 09:33 Manual Reverse | Manuell Återmatning. | Knappen REV är aktiverad. |
| 09:37 Basket full | Papperskorgen är full. | Var god och töm papperskorgen. |
| 09:48 Overload! | Apparaten har tillförs ett für stort antal ark. | Avlågsna pappret! |
| 09:48 Paper Jan | En pappersstocking har uppstätt | Avlågsna pappret! |
| 09:28 Self Cleaning | Skärverket rengörns. | Vänta till indikeringen "Ready" visas. |
| 09:28 Please Wait | Motorn är overhettad. | Vänta i minst 20 minutes. Fortsätt driften:när "Ready" visas på displayen. |
UNDERHÄLL
Viktigt:
Dra ut nätkontakten ur uttaget innan underhällarsbeten utförs på dokument Förstöraren!
När papperskorgen ar full finns det risk for att skärgods frän papperskorgenkommen in i skärverket underifr. Töm papperskorgen innan den ar full.
Rengör utsidan med en fuktig trasa. Se till att trasan intekommen in i pappersinmatningen.
Detta steg gäller endast for apparatens ytterdelar.
Apparatens ytterdelar bestär av plast. Därfor fär inga lösningsmedel, som t.ex. bensin och bensen eller organiska lösningsmedel, som t.ex. förtunningsmedel användas. Rengör inte apparaten med nàgon fläckborttagare. Då kan apparaten blekas, spricka, lösas upp eller repas.
Varning:
Se till att det inte kommt in nagot vatten i apparaten nar apparatens utsida rengörs.
TEKNISKA DATA
Modellbeteckning:
Skärtyp:
Skärstorlek:
Skärprestanda:
Skärhastighet:
Inmatningsbredd:
Ingängsspänning:
Energiförbrukning:
Matt:
Ljudniva:
Papperskorg - volym:
Driftcykel:
Nettovikt:
Shredder Office X12 CD
konfetti (papper); strimlor (CD eller kreditkort)
2 × 15 ~mm (papper),
10 mm strimlor (CD eller kreditkort)
12 ark [A4, 70 g/m²], 1 CD eller 1 kreditkort
3 m/min
| Fel | Orsaker | Felavhjalpning |
| Apparaten startar inte after det att pappret har sats i. | 1. Nätkontakten sattes inte i korrekt i uttaget.2. Pappret ar for sunt.3. Pappersstockning. | 1. Anslut nätkontakten till uttagetigen.2. Vik pappret och sätt i det i dokument Förstöraren信息公开.3. Aktivera „REV“-funktionen och dra ut det inklåmda pappret. |
| Apparaten frånkopplas inte after det att pappret har skurits ner. | Pappersinmattingens sensor täcks av damm eller papper. | Torka bort dammet aller avlågsna pappret. |
| Apparaten läter vändigt högt. | Apparaten står inte på en stadig, jämn yta. | Ställ apparaten på ett stabilt, jämnt underlag. |
| Apparaten fungerar inte. | 1. Pappersmängden överskrider Dokument För-störarens kapacitet.2. Papprets storlek överskrider inmattingens bredd.3. Pappret sattes inte i lodrätt. | 1. Se till att Dokument- Förstörarens kapacitet inte överskrids.2. Dra ur pappret; aktivera vid behov „REV“-funktionen. Vik pappret och sätt i det信息公开.3. Sätt i pappret lodrätt. |
Dra ut nätkontakten ur uttaget och kontakta din Återförsäljare om apparaten fortfarande inte fungerar after det att Lösningarna ovan har tillämpats.
AVFALLSHANTERING
Symbolen med den overstrukna soptunnan talar om att elektriska apparater inte fär kastas i de normala hushällssoporna. Taenna apparat till en godkänd Återvinningscentral och avfallshantera den miljövänligt.

GARANTI
Garantitiden uppgar till 24 manader.
Spara kvittot och originalforpackningen.
Ta kontakt med din Återförsäljare vid problem med apparaten.
EIZAΓΩΓH
Euxapiotoue yia tyn ayopao Tou piootkoauoou npoiovtos nctaeipieGeha.npv theote tn ouakeun o aeItoupyia npakaloume diabaoTe PPOeKtku Tc npouoeos odnyies xphong. PooeeTte idiwoc ts eianmuavoeic aoqaxeiac, oe TepiTTwoon mtnnponocs touc vpiotataikivduovoc trauatouo!
EnkelManual