ACCESSOIRE DE SCIAGE - Gardening Equipment HUSQVARNA - Free user manual and instructions
Find the device manual for free ACCESSOIRE DE SCIAGE HUSQVARNA in PDF.
User questions about ACCESSOIRE DE SCIAGE HUSQVARNA
0 question about this device. Answer the ones you know or ask your own.
Ask a new question about this device
Download the instructions for your Gardening Equipment in PDF format for free! Find your manual ACCESSOIRE DE SCIAGE - HUSQVARNA and take your electronic device back in hand. On this page are published all the documents necessary for the use of your device. ACCESSOIRE DE SCIAGE by HUSQVARNA.
USER MANUAL ACCESSOIRE DE SCIAGE HUSQVARNA
GB Operator's manual
WARNING! Clearing saws, brushcutters and trimmers can be dangerous! Careless or incorrect use can result in serious or fatal injury to the operator or others.

Read through the Operator's Manual carefully and understand the content before using the machine.

Always use
- A protective helmet where there is a risk of falling objects
- Ear protection
Approved eye protection

This product is in accordance with applicable CE directives.
Saw attachment with shaft

This machine is not electrically insulated. If the machine touches or comes close to high-voltage power lines it could lead to death or serious injury. Electricity can jump from one point to another by arcing. The higher the voltage, the greater the distance electricity can jump. Electricity can also travel through branches and other objects, especially if they are wet. Always keep a safe distance of at least 10m (30 ft) between the machine and high-voltage power lines and/or any objects that are touching them. If you need to work closer than this always contact the relevant power company to make sure the power is switched off before you start work.
Saw attachment without shaft

This machine is not electrically insulated. If the machine touches or comes close to high-voltage power lines it could lead to death or serious injury. Electricity can jump from one point to another by arcing. The higher the voltage, the greater the distance electricity can jump. Electricity can also travel through branches and other objects, especially if they are wet. Always keep a safe distance of at least 10m (30 ft) between the machine and high-voltage power lines and/or any objects that are touching them. If you need to work closer than this always contact the relevant power company to make sure the power is switched off before you start work.

Always wear approved protective gloves.

Use anti-slip and stable boots.
Other symbols/decals on the machine refer to special certification requirements for certain markets.

Checks and/or maintenance should be carried out with the engine switched off, with the stop switch in the STOP position.

Always wear approved protective gloves.

Regular cleaning required.

Ocular control.

Approved eye protection must always be used.

Chain oil and chain oil flow adjustment
Husqvarna AB has a policy of continuous product development and therefore reserves the right to modify the design and appearance of products without prior notice.

Read through the Operator's manual carefully and understand the content before using the machine.
These instructions supplement the instructions that were included with the machine. For other procedures, please refer to the opertaining instructions forhte machine.

WARNING!
Under no circumstances may the design of the machine be modified without the permission of the manufacturer. Always use genuine accessories. Non-authorised modifications and/or accessories can result in serious personal injury or the death of the operator or others.

WARNING!
This accessory may only be used together with the intended clearing saw/trimmer, see under heading "Approved accessories" in chapter Technical data in the machine's Operator's Manual.
The machine is only designed for tree pruning.
List of contents
SYMBOL EXPLANATION
Symbols 2
CONTENTS
List of contents 3
SAFETY INSTRUCTIONS
Cutting equipment 4
Specification of blade and chain 4
Sharpening your chain and adjusting raker clearance 5
Tensioning the saw chain 7
Lubricating cutting equipment 7
Checking wear on cutting equipment 8
Safety instructions when using the machine 9
Basic working techniques 10
WHAT IS WHAT?
What is what on the machine? 12
ASSEMBLY
Fitting the cutting head (Saw attachment with shaft) 14
Fitting the cutting head (Saw attachment without shaft) .... 14
Mounting guide bar and chain 14
Fitting the hanging ring 14
Adjusting the harness 14
Filling with oil 15
Control before starting. 15
TECHNICAL DATA
Technical data 16
Cutting equipment
This section describes how through correct maintenance and through using the right type of cutting equipment you can:
- Obtain maximum cutting capacity.
- Increase the service life of the cutting equipment.
1 Check the cutting equipment with regard to damage and crack formation. Damaged cutting equipment should always be replaced.
2 Only use cutting equipment recommended by us! See the "Technical data" section.
3 Keep the chain cutting teeth properly sharpened! Follow our instructions and use the recommended file gauge. A damaged or badly sharpened chain increases the risk of accidents.
4 Maintain the correct raker clearance! Follow our instructions and use the recommended raker gauge. Too large a clearance increases the risk of kickback.
5 Keep the chain properly.
tesioned! If the chain is slack it is more likely to jump off and lead to increased wear on the bar, chain and drive sprocket.
6 Keep cutting equipment well lubricated and properly maintained! A poorly lubricated chain is more likely to break and lead to increased wear on the bar, chain and drive sprocket.


WARNING!
Never use a machine with defective safety equipment. The safety equipment should be maintained as described in this section. If your machine does not meet any of these controls you should contact your service workshop.

WARNING!
Always stop the engine before carrying out any work on the cutting equipment. This will continue to move even after the throttle has been released. Make sure the cutting equipment has stopped completely and disconnect the HT lead from the spark plug before you start work on it.
Specification of blade and chain
When the cutting equipment supplied with your machine becomes worn or damaged, you will need to replace it. Use only the manufacturer approved bar and chain.
Guide bar
Length (inches/cm)
- Number of teeth on bar tip sprocket (T).
Small number = small tip radius = low kickback
- Chain pitch (inches)
The spacing between the drive links of the chain must match the spacing of the teeth on the bar tip sprocket and drive sprocket.
- Number of drive links The number of drive links is determined by the length of the bar, the chain pitch and the number of teeth on the bar tip sprocket.
- Bar groove width (inches/mm)
- The groove in the bar must match the width of the chain drive links.
- Saw chain oil hole and hole for chain tensioner.

Saw chain
- Saw chain pitch (inches) Spacing between drive links.
- Drive link width (mm/inches).
- Number of drive links.

Sharpening your chain and adjusting raker clearance

WARNING!
The risk of kickback is increased with a badly sharpened chain!
A. General information on sharpening cutting teeth
- Never use a blunt chain. When the chain is blunt you have to exert more pressure to force the bar through the wood and the cuttings will be very small. If the chain is very blunt it will not produce any cuttings at all, just wood powder.
- A sharp chain eats its way through the wood and produces long, thick cuttings.
- The cutting part of the chain is called the CUTTING LINK and this consists of a CUTTING TOOTH (A) and the RAKER LIP (B). The cutting depth is determined by the difference in height between the two.
- When you sharpen a cutting tooth there are five important factors to remember:
FILING ANGLE
CUTTING ANGLE
FILE POSITION
ROUND FILE DIAMETER
FILE DEPTH

It is very difficult to sharpen a chain correctly without the right equipment. We recommend you to use a file gauge. This will help you obtain the maximum kickback reduction and cutting performance from your chain.



B. Sharpening cutting tooth
To sharpen cutting teeth you will need a ROUND FILE and a FILE GAUGE.
- Check that the chain is correctly tensioned. A slack chain is difficult to sharpen correctly.
- Always file cutting teeth from the inside face, reducing the pressure on the return stroke. File all the teeth on one side first, then turn the saw over and file the teeth on the other side.
- File all the teeth to the same length. When the length of the cutting teeth is reduced to 4mm (.16") the chain is worn out and should be replaced.






C. General advice on setting raker clearance
- When you sharpen the cutting teeth you reduce the RAKER CLEARANCE (cutting depth). To maintain cutting performance you must file back the raker teeth to the recommended height.
- On a low-kickback cutting link the front edge of the raker lip is rounded. It is very important that you maintain this radius or bevel when you adjust the raker clearance.
- We recommend the use of a raker gauge to achieve the correct clearance and bevel on the raker lip.






WARNING!
The risk of kickback is increased if the raker clearance is too large!
D. Adjusting raker clearance
- When correction of the raker clearance is made the teeth must be newly sharpened. We recommend that you adjust the raker clearance every third time you sharpen the chain. NOTE! This recommendation assumes that the length of the cutting teeth is not reduced excessively.
- A FLAT FILE and an RAKER CLEARANCE GAUGE are required to correct the raker clearance.
- Place the gauge over the raker lip.
- Place the file over the part of the lip that protrudes through the gauge and file off the excess. The clearance is correct when you no longer feel any resistance as you draw the file over the gauge.




Tensioning the saw chain

WARNING!
A slack chain may jump off and cause serious or even fatal injury.
- The more you use a chain the longer it becomes. It is therefore important to adjust the chain regularly to take up the slack.
- Check the chain tension every time you refuel. NOTE! A new chain has a running-in period during which you should check and adjust the chain tension more frequently.
- As a rule the chain should be tensioned as tightly as possible, but not so tight that you cannot pull it round freely by hand.


- Undo the bar nut.
- Tension the chain by turning the chain tensioning screw clockwise using the combination spanner. Tighten the chain until it no longer hangs slack beneath the bar.
- Use the combination spanner to tighten the blade nut while lifting the tip of the bar at the same time. Check that you can pull the chain round freely by hand.

Lubricating cutting equipment

WARNING!
Poor lubrication of cutting equipment may cause the chain to snap and lead to serious, even fatal injuries.
A. Chain oil
- Chainsaw chain oil must demonstrate good adhesion to the chain and also maintain its flow characteristics regardless of whether it is warm summer or cold winter weather.
- As a chain saw manufacturer we have developed an ideal saw chain oil that is vegetable-based. We recommend the use of our own oil for both maximum chain life and to minimise environmental damage.
- If our own chain oil is not available, standard chain oil is recommended.
- In areas where oil specifically for lubrication of saw chains is unavailable, ordinary EP 90 transmission oil may be used.
- Never use waste oil!
This is dangerous for yourself, the saw and the environment.
B. Filling with chain oil
The oil pump is preset at the factory to meet most lubrication requirements and a full oil tank will last about half as long as a tank of fuel. You should therefore check the level in the oil tank regularly to avoid damaging the chain and bar by running out of oil.

C. Checking chain lubrication
- Check the chain lubrication each time you refuel. Aim the tip of the saw at a light coloured surface about 20~cm away. After 1 minute running at 3/4 throttle you should see a distinct line of oil on the light surface.

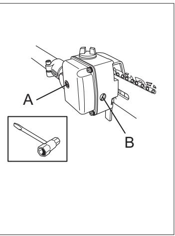
D. Adjusting chain lubrication
- When cutting dry or hard species of wood it may be necessary to increase lubrication. To increase the oil flow, first undo screw (A) then turn the adjuster screw (B) anticlockwise. Re-tighten screw (A). Remember that this will increase the oil consumption and you should therefore check the level in the oil tank more frequently.

Procedure if the lubrication does not function:
- Check that the oil channel in the bar is not obstructed. Clean if necessary.
- Check also that the O-ring is in position and is undamaged.
- Check that the oil channel in the gear housing is clean. Clean if necessary.
- Check that the bar tip sprocket turns freely. If the chain lubrication system is still not working after carrying out the above measures you should contact your service agent.

Checking wear on cutting equipment A. Saw chain
Check the saw chain daily for:
Visible cracks in rivets and links.
- Whether the chain is stiff.
- Whether rivets and links are badly worn.
Compare the existing chain with a new chain to decide how badly it is worn.
When the length of the cutting teeth has worn down to only 4mm the chain must be replaced.
B. Chain drive wheel
Check regularly the degree of wear on the drive wheel. Change if it is irregularly worn.


C.Vibration damping system
Check regularly that the vibration damper i free from cracks.
Check regularly the degree of wear on the rubber elements. Change if worn
D. Guide bar
Check regularly:
- Whether there are burrs on the edges of the bar. Remove these with a file if necessary.
- Whether the groove in the bar has become badly worn. Replace the bar if necessary.
- Whether the tip of the bar is uneven or badly worn. If a hollow forms on one side of the bar tip this is due to a slack chain.
To prolong the life of the bar you should turn it over daily.



WARNING!
Using faulty cutting equipment may increase the risk of accidents.
Safety instructions when using the machine

WARNING!
The machine can cause serious injury. Read the safety instructions carefully. Learn how to use the machine.

WARNING!
Cutting tool. Do not touch the tool without first switching off the engine.
NOTE! Read the Operator's Manual carefully before using the machine.
Personal protection
Always wear boots, and the other safety equipment described in the section "Personal protective equipment" in the machine's Operator's Manual.
Always wear working clothes and thick, long trousers.
- Never wear loose fitting clothes or jewellery
- Secure hair so it is above shoulder level.

Protective instructions regarding the surroundings
- Never allow children to use the machine.
- Ensure no one comes within 15 metres while working.
- Never allow anyone to use the machine without first being absolutely sure that they understand the contents of the Operator's Manual.
- Never work on a ladder, stool or any other raised position that is not fully secured.

Protective instructions while working
- Always ensure you have a safe and firm working position.
Always use both hands to hold the machine. Hold the machine on the side of the body. - Use your right hand to operate the throttle.
Make sure that your hands and feet cannot come into contact with the cuttingequipment when the engine is running. - When the engine is switched off, keep your hands and feet away from the cutting equipment until it has stopped.
- Watch out for stumps of branches that can be thrown out during cutting.
- Always lay the machine on the ground when you are not using it.
- Check the working area for foreign objects such as electricity cables, insects and animals, etc, and for other objects that could damage the cutting attachment, such as metal items.
- If any object is hit or if vibrations occur stop the machine immediately. Remove the spark plug cable from the spark plug. Check that the machine is not damaged. Repair any damage.
- If anything gets caught up in the cutting equipment while you are working, switch off the engine and wait for it to stop completely before cleaning the cutting equipment.

Protective instructions when work is completed
- The transport guard should always be fitted to the cuttingequipment when the machine is not in use.
- Ensure the cutting equipment has stopped and remove the spark plug cable from the spark plug before carrying out cleaning, repairs or an inspection.
- Always wear heavy duty gloves when repairing the chain. The cutting equipment is extremely sharp and can easily causes cuts.
- Store the machine out of reach from children.
- Only use original spare parts when carrying out repairs.


Basic working techniques
- The machine should be held as close to the body as possible to get the best balance.
- Make sure that the tip does not touch the ground.
- Do not rush the work, but work steadily until all the branches have been cut back cleanly.
- Always drop to idling speed after each working operation. Longer periods running at full throttle without loading the engine can lead to serious engine damage.
- Allways cut with the engine at full throttle.
- Let the engine drop back to idle between each cut. Long periods at full throttle can cause serious damage to the centrifugal clutch.


Never stand directly underneath a branch that is being cut, otherwise you may suffer serious or even fatal injury.
Observe great care when working close to overhead power lines. Falling branches can result in short-circuiting.

WARNING!
Observe the applicable safety regulations for work in the vicinity of overhead power lines.

WARNING!
This machine is not electrically insulated. If the machine touches or comes close to live electricity lines, it could cause death or serious injury. Electricity can jump from one point to another in the form of a high-voltage arc. The higher the voltage, the further the electricity can jump. Electricity can also be conducted by branches and other objects, especially if they are wet. Always keep a distance of at least 10m (30 ft) between the machine and live electricity lines and/or objects that are touching them. If you have to work closer than this, always contact the relevant power company to make sure the power is switched off before you start your work.

WARNING!
This machine has a long reach. Make sure that no people or animals come closer than 15m (45 ft) when the machine is running.
- Whenever possible position yourself so that you can make the cut at right angles to the branch.
- Do not work with the shaft held straight out in front of you (like a fishing rod). This increases the apparent weight of the cutting equipment.
- Cut large branches in stages to give better control over where they fall.
- Never cut through the swelling at the root of the branch as this will slow down healing and increase the risk of fungal attack.



- Use the stop at the base of the bar to provide support during cutting. This will help prevent the cutting equipment from jumping on the branch.
- Make an initial cut on the underside of the branch before cutting through the branch from above. This will prevent tearing of the bark, which could lead to slow healing and cause permanent damage to the tree. The first cut should not be deeper than 1/3 of the branch thickness to prevent jamming. Keep the chain running while you withdraw the cutting equipment from the branch to prevent it jamming.
- Use the harness to support the weight of the machine and make it easier to handle.
- Make sure you have a firm footing and will not be hampered by branches, stones and other trees.


WARNING!
Never use the throttle without having a full view of the cutting equipment.
Saw attachment with shaft

What is what on the saw attachment?
- Lubricant filler hole
- Bevel gearbox
- Chain lubrication adjustment screw (B)
- Chain lubrication locking screw (A)
- Shaft
- Hook for harness
7 Chain guard - Bar nut
-
Chain tensioning screw
-
Chain
- Bar
- Chain oil tank
- Chain oil filler hole
- Operator's manual
- Transport guard
- Combination spanner
- Harness
Saw attachment without shaft

What is what on the saw attachment?
- Lubricant filler hole
- Bevel gearbox
- Chain lubrication adjustment screw (B)
- Chain lubrication locking screw (A)
- Hook for harness
- Chain guard
- Bar nut
-
Chain tensioning screw
-
Chain
- Bar
- Chain oil tank
- Chain oil filler hole
- Operator's manual
- Transport guard
- Combination spanner
- Harness
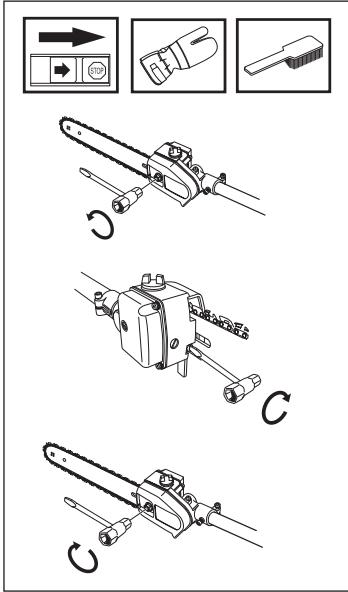
Fitting the cutting head (Saw attachment with shaft)
- Fit the cutting head on the shaft so that the screw (A) is aligned with the hole in the shaft as shown.
- Tighten screw A.
- Tighten screw B.
NOTE! Make sure that the drive shaft inside the shaft engages with the cut-out in the cutting head.

Fitting the cutting head (Saw attachment without shaft)
- Remove the mitre gear from the shaft.
- Fit the cutting attachment to the shaft.
- Tighten screw A.
- Tighten screw B.
NOTE! Make sure that the drive shaft inside the shaft engages with the cutout in the cutting head.

Mounting guide bar and chain
- Unscrew the bar nut and remove the guard.
- Fit the bar over the bar bolt. Place the bar in its rearmost position. Place the chain over the drive sprocket and in the groove on the bar. Begin on the top side of the bar.
- Make sure that the edges on the cutting links are facing forward on the top side of the bar.
- Fit the clutch cover and locate the chain adjuster pin in the hole on the bar. Check that the drive links of the chain fit correctly on the drive sprocket and that the chain is in the groove on the bar. Tighten the bar
-
Tension the chain by using the combination wrench. Turn the chain adjuster screw clockwise. The chain should be tensioned until it fits snugly on the underside of the bar.
-
The chain is correctly tensioned when there is no slack on the underside of the bar, but it can still be turned easily by hand. Hold up the bar tip and tighten the bar nuts with the combination wrench.
- When fitting a new chain, the chain tension has to be checked frequently until the chain is run-in. Check the chain tension regularly. A correctly tensioned chain gives good cutting performance and long lifetime.

Fitting the hanging ring
Fit the hanging ring between the rear handle and the loop handle. Position the hanging ring so that the machine is balanced and comfortable to work with.

Adjusting the harness
You should always use the harness with the machine to give maximum control and reduce strain on your arms and back.
- Put on the harness.
- Hook the machine onto the hook on the harness.
- Adjust the length of the harness so that the hook is roughly level with your right hip.

Filling with oil
- Open the cap on top of the cutting head.
- Fill with Husqvarna Chain Oil.
- Refit the cap.

Control before starting
- Inspect the working area. Remove objects that can be
thrown. - Check the cutting equipment. Never use blunt, cracked or damaged equipment.
- Check that the machine is in full working order. Check that all nuts and bolts are tightened correctly.
- Make sure the chain is always well lubricated.
- Ensure the cuttingequipment always stop when the engine is idling.
- Only use the machine for what it is intended for.
- Ensure that the handle and safety functions are in order. Never use a machine that lacks a part or has been modified outside of the specifications.

TECHNICAL DATA
| Saw attachment without shaft | Saw attachment with shaft | |
| Lubrication system | ||
| Oil tank capacity, US pint/litres | 0,17 | 0,17 |
| Weight | ||
| Weight without fuel, cutting tool and guard, Lbs/kg | 0,8 | 1,4 |
| Sound levels | ||
| (see note 1) | ||
| Equivalent noise pressure level at the user's ear, measured according to EN ISO 11680-1: | 95 | 96 |
| Equivalent noise power level at the user's ear, measured according to EN ISO 11680-1 and ISO 10884, dB(A): | 106 | 106 |
| Vibration levels | ||
| Vibration levels on the handles, measured according to EN ISO 11680 m/s2 | ||
| When idling, left/right handles: | 1,0/3,0 | 1,2/2,3 |
| At max. speed, left/right handles: | 5,5/3,6 | 6,0/5,5 |
Note 1: Equivalent sound pressure level is calculated as the time-weighted energy total for sound pressure levels under various working conditions with the following time distribution: 1/2 idling and 1/2 max speed.
| Bar and chain combinations The following combinations are CE approved. | |||
| Length, inches | Bar Pitch, inches | Chain Max. no of teeth on tip sprocket | |
| 10 | 3/8 | 7 T | Husqvarna S 36/Oregon 91 VG |
| 12 | 3/8 | 7 T | Husqvarna S 36/Oregon 91 VG |
| 10 | 3/8 | 7 T | Oregon 90 SG |
| 12 | 3/8 | 7 T | Oregan 90 SG |
| Type | Pitch = D/2 Inch | Inch/mm | Inch/mm | Angle | Angle | Angle | Inch/mm | Inch/cm: dl |
| 91VG | 3/8" | 0,050"/1,3 | 5/32" /4,0 | 85° | 30° | 0° | 0,025"/0,65 | 10"/25:40 12"/30:45 |
| S 36 | 3/8" | 0,050"/1,3 | 5/32" /4,0 | 85° | 30° | 0° | 0,025"/0,65 | 10"/25:40 12"/30:45 |
| 90SG | 3/8" | 0,028"/1,1 | 5/32" /4,0 | 85° | 30° | 0° | 0,025"/0,65 | 10"/25:40 12"/30:45 |
EC declaration of conformity (Only applies to Europe)
We, Husqvarna AB, SE-561 82 Huskvarna, Sweden, tel +46-36-146500, declare that this saw attachment from 2002's serial numbers and onwards (the year is clearly stated in plain text on the type plate, with subsequent serial number), complies with the requirements of the COUNCIL'S DIRECTIVE:
- of June 22, 1998 "relating to machinery" 98/37/EC, annex IIA.
The following standards have been applied: EN292-2, EN ISO 11680-1.
Notified body: 0404, SMP Svensk Maskinprovning AB, Fyrisborgsgatan 3, 754 50 Uppsala, Sweden, has carried out EC type examination in accordance with the machinery directive's (98/37/EC) article 8, point 2c. The certificate for EC type examination in accordance with annex VI, has number: 404/02/858.
The supplied saw attachment conforms to the example that underwent EC type examination.
Huskvarna January 3, 2002

Bo Andreasson, Development manager
Symboles

AVERTISSEMENT! Les
C. Dispositif anti-vibrations
I nclude 35
EasyManual