ACCESSOIRE DE SCIAGE - Équipement de jardinage HUSQVARNA - Notice d'utilisation et mode d'emploi gratuit
Retrouvez gratuitement la notice de l'appareil ACCESSOIRE DE SCIAGE HUSQVARNA au format PDF.
| Type d'appareil | Perceuse |
| Accessoire | Accessoire de sciage |
| Alimentation | Non précisé |
| Vitesse variable | Oui |
| Type de mandrin | Non précisé |
| Capacité de perçage acier | Non précisé |
| Capacité de perçage bois | Non précisé |
| Poids | Non précisé |
| Longueur du câble | Non précisé |
| Fonction percussion | Non précisé |
| Type de batterie | Non applicable |
| Accessoires inclus | Accessoire de sciage |
| Utilisation recommandée | Perçage et sciage |
| Mode d'emploi disponible en | GB, FR, ES |
FOIRE AUX QUESTIONS - ACCESSOIRE DE SCIAGE HUSQVARNA
Questions des utilisateurs sur ACCESSOIRE DE SCIAGE HUSQVARNA
0 question sur cet appareil. Repondez a celles que vous connaissez ou posez la votre.
Poser une nouvelle question sur cet appareil
Téléchargez la notice de votre Équipement de jardinage au format PDF gratuitement ! Retrouvez votre notice ACCESSOIRE DE SCIAGE - HUSQVARNA et reprennez votre appareil électronique en main. Sur cette page sont publiés tous les documents nécessaires à l'utilisation de votre appareil ACCESSOIRE DE SCIAGE de la marque HUSQVARNA.
MODE D'EMPLOI ACCESSOIRE DE SCIAGE HUSQVARNA
FR Manuel d'utilisation
débroussailleuses, les tranche-bordures et et les coupe-herbes peuvent être dangereux!
Une utilisation erronnée ou négligeante peut occasionner des blessures graves, voire mortelles pour l'utilisateur et les autres.

Lire attentivement le mode d'emploi et assimiler son contenu avant d'utiliser la machine.

Toujours porter:
- un casque de protection car il existe toujours un risque de chute d'objet
protège-oreilles - des lunettes de protection homologuées

Ce produit est conforme à la directive CE en vigueur.
Accessoire de sciage avec tube de transmission

Cette machine ne compte pas d'iso1ation electrique. Si elle ente en contact avec ou est utilisée a proximite de lignes conductrices de tension, ceci peut résulter en des blessures corporelles graves voire mortelles. L'électricité peut etre transmise d'un point a un autre par un arc de tension. Plus la tension est elevee et plus la longueur de transmission de la tension est elevee. L'électricite peut etelement etre transmise par des branches et d'autres objets, particulierement sils sont mouillés. Toujours conserveur une distance d'au moins 10 metres (30 pieds) entre la machine et la ligne conductrice d'électricite et/ou les objets en contact avec cette ligne. S'il est nécessaire que le travail soit effectue avec des distances de sécurité plus courtes, always contacter la sympathie electrique afin de s'assurer que la tension est bien coupée avant de commencer les travaux.
Accessoire de sciage sans tube de transmission

Cette machine ne compte pas d'iso1ation electrique. Si elle ente en contact avec ou est utilisée a proximate de lignes conductrices de tension, ceci peut résulter en des blessures corporelles graves voire mortelles. L'électricité peut etre transmise d'un point a un autre par un arc de tension. Plus la tension est elevée et plus la longueur de transmission de la tension est elevée. L'électricité peut egressement etre transmise par des branches et d'autres objets, particulierement sils sont mouillés. Toujours conserveur une distance d'au moins 10 metres (30 pieds) entre la machine et la ligne conductrice d'électricité et/ou les objets en contact avec cette ligne. S'il est nécessaire que le travail soit effectue avec des distances de sécurité plus courtes, always contacter la sympathie electrique afin de s'assurer que la tension est bien coupée avant de commencer les travaux.

Utiliser toujours des gants de protection homologues.

Utiliser des bottes stables et antidérapantes.
Les autres symboles/autocollants présents sur la machine concernant des exigences de certification spécifique à certains marchés.

Contrôles et/ou entretiens sont effectués avec le moteur arrêté et le contacteur d'Arrêt en position STOP.

Utiliser toujours des gants de protection homologues.

La machine demande un nettoyage régulier.

Contrôle visuel.

Le port de lunettes de protection homologuees est obligatoire.

Remplissage d'huile et réglage du début d'huile.
Husqvarna AB travaille continuèlement au développement de ses produits et se réserves le droit d'en modifier, entre autres, la conception et l'aspect.

Lire attentivement le manuel d'utilisation et assimiler son contenu avant d'utiliser la machine.
Ces instructions son un complément au manuel qui accompagne la machine. Pour les autres instructions, se reporter au manuel d'utilisation de la machine.

AVERTISSEMENT!
Eneldom, la conception d'origine de la machine ne doit etre modifiée sans l'accord du fabricant. Toutjours utilisier des pieces de rechange d'origine.Des modifications et/ou des pieces de rechange non autorisées peuvent entrainer des blessures graves, ou mortelles, pour I'utiliseur, comme pour autrei.

AVERTISSEMENT!
Cet accessoire ne peut etre utilise que pour les débroussailleuses/curpebordures auxquels il est expressement destiné. Voir la section "Accessoires homologues" au chapitre Caracteristiques techniques dans le manuel d'utilisation de la machine.
La machine est uniquement construite pour le sciage des branches et rameaux.
Sommaire
EXPLICATIONS DES SYMBOLES
Symboles 18
SOMMAIRE
Sommaire 19
CONSIGNES DE SECURITE
Equipement de coupe 20
Terminologie concernant guide-chaine et chaine 20
Affutage et réglage de profondeur de la chaine 21
Tension de la chaine 23
Lubrification de l'equipement de coupe 23
Contrôle d'usure de l'équipement de coupe 24
Instruction de sécurité pour l'utilisation de la tronçonneuse à manche 25
Tecniques de travail de base 26
QUELS SONT LES COMPOSANTS?
Quels sont les composants? 28
MONTAGE
Montage de la tete de coupe (Acessoire de sciage avec tube de transmission) 30
Montage de la tete de coupe (Acessoire de sciage sans tube de transmission) 30
Montage du guide-chaine et de la chaine 30
Montage de I'oeillet de suspension 30
Réglagedu harnais 30
Remplissage d'huile 31
Contrôles avant le démarrage 31
CHARACTERISTIQUES TECHNIQUES
Characteristiques techniques 32
Equipement de coupe
Lechoix judicieux de l'equipement de coupe et son entretien correctpermettront:
D'obtenir la meilleure coupe possible
Daugmenter la durée de vie de l'équipment de coupe.
1 N'utiliser que l'équipement de coupe recommandié (voir "Caracteristiques techniques")
2 Tenir les dents de la chaîne bien affuétées, suivre les instructions et utiliser le gabarit d'affutage recommendé, une chaîne émoussaue augmente le risque d'accidents.
3 Suivre les instructions d'entretien et utiliser la jauge de profondeur recommendée, une profondeur incorrecte augmente le risque de rebond.
4 Maintainir la tension de chaine correcte, une tension insuffisante augmente le risque de chaine sautée, d'usure du guide, de la chaine et du pignon.
5 Maintainir I'equipement bien lubrifie et bien entretenu un equipement insuffisamment lubrifie augment le risque de chaine sautee, d'usure du guide, de la chaine et du pignon.







AVERTISSEMENT!
Ne jamais utiliser une machine avec des dispositifs de sécurité défectueux. Il faut contrôler et entretenir les dispositifs de sécurité en fonction des indications de ce chapitre. Si la machine ne satisfait pas à l'un des contrôle, contacter un atelier de service.

AVERTISSEMENT!
Toujours arrêté le moteur avant d'entamer des travaux sur l'équipement de coupe. Celui-ci continue à tourner après avoir relâché l'accéléateur. S'assurer que l'équipement de coupe est entièrement immobilisé et retirer le cable de la bougie d'allumage avant d'effectuer des travaux sur l'équipement de coupe.
Terminologie concernant guidechaine et chaine
En cas d'usure et de remplacement nécessaire, n'utiliser que les accessoires d'origine (guide-chaine et chaîne), voir
"Caracteristiques techniques" pour les modeles recommendés pour chaque tronçonneuse.
Guide-chaine
- Longueur (cm)
- Nombre de dents par pignon (T). Nombre réduit = petit rayon = tendance au rebond limite.
- Pas de chaîne (pouce). Le pignon du nez et le pignon d'entrainment doit correspondre à l'espace entre les maillons.
- Nombre de maillons entraineurs (pce). La longueur du guide, le pas de chaine et le nombre de dents au pignon donnent un nombre déterminé de maillons entraineurs.
Largeur de gorge du guidechaine (mm). Celle-ci doit correspondre à la largeur des maillons entraineurs de la chaine. - Trou de graissage de chaine et trou du tendeur de chaine. Le guide-chaine doit correspondre au modele de tronconenneuse.



$$ \mathrm {P I T C H} = \frac {\mathrm {D}}{2} $$


Chaine
- Pas de chaîne (=PITCH) (pouce)
Largeur de gorge du guide-chaine (mm). - Nombre de mailons entraineurs (pce)

Affutage et réglage de profondeur de la chaine

Une chaîne émoussée augmente le risque de rebond!
A Généralités relatives à l'affutage des dents
- Ne jamais utiliser une tronçonneuse dont les dents sont émoussées. Une chaine est émoussaue quand les dents de la chaine doivent être forcaes contre le bois et si les copeaux sont très petits. Une chaine très usee ne produits aucuns copeaux, rien que de la poudre.
- Une chaîne bien affuitede entame le bois par elle-même et sans forcer, laissant de gros et longs copeaux.
LA PARTIE COUPANTE de la chaine consiste en un MAILLON COUPANT qui comporte une dent (A) et UN LIMITEUR (ou cale) DE PROFONDEUR (B). L'espace entre les deux déterminé la profondeur de coupe. - En affuant la dent il faut tener compte de 5 dimensions :
ANGLE D'AFFUTAGE
ANGLE D'IMPACT


POSITION DE LA LIME
DIAMÈTRE DE LA LIME RONDE
PROFONDEUR D'AFFUTAGE
Affutér une chaine sans outils spéciaux est très difficile. Il est donc recommandé d'utiliser notre gabarit, qui assure un affutage maximal et une réduction optime du risque de rebond.


Néglier comme suit les paramètres d'affutage augmente nettement le risque de rebond :

- ANGLE D'AFFUTAGE TROPÉTROIT
- ANGLE D'IMPACT TROP ÉTROIT
DIAMÈTRE DE LIME TROP COURT
B Affutage de la dent
Cette opération nécessite UNE LIME RONDE et UN GABARIT.
1 S'assurer que la chaine est tendue, sinon l'instabilité laterale généra l'affutage de la chaine.
2 Toujours limer de l'intérieur de la dent vers l'extérieur, soulager la lime pendant le mouvement de return.
Commencer par limer toutes les dents du même côté, returner la tronçonneuse et limer de l'autre côté.
3 Amener toutes les dents à la même hauteur. Si la hauteur de dent est inférieure à 4mm ,la chaine est usée et doit'être remplacede.

C Généralités sur le réglage de profondeur
- En affuant la dent, LA PROFONDEUR DE COUPE diminue. Prévoir cette-ci de façon à avoir la performance de coupe optimale.
Voir aux "Caracteristiques techniques" les cotes de profondeur correspondant à la chaine utilisée. - Sur le modele de maillon AVEC REDUCTION DE REBOND, la cale de profondeur est arrondie par devant. Cette caractéristique doit etre soignement conservée lors de l'affutage.
- Nous recommendons la jauge de profondeur qui permet à la fois un affutage correct et réserve la forme arrondie de la cale de profondeur.




Une profondeur excessive augmente le risque de rebond !
D. Correction de la profondeur
Pour ce faire, les dents doivent etre nouvellement affutées. Un reglage de profondeur est recommendé tous les trois affutages ATTENTION: a supposer que la longueur des dents n'est pas anormalement reduite.
- Cette opération nécessite UNE LIME PLATE et UNE JAUGE DE PROFONDEUR.
- Placer le gabarit sur la cale de profondeur.
- Placer la lime plate sur la partie dépassante de la cale de profondeur et limer celle-ci. Quand aucune résistance ne se fait sentir, la cale est à la hauteur correcte.

- Dévisser l'écrou du guide-chaine.
- Tendre la chaine en serrant le tendeur de chaine dans le sens des aiguilles de la montre avec la clé universelle. Tendre jusqu'à ce que la chaine ne pende plus sous le guide.
- Avec la clé universelle, serrer l'écrou du guide-chaine, tout en tenant le nez du guide leve. S'assurer que la chaine peut être tournée manuellement.

Lubrification de l'équipement de coupe

Un graissage insuffisant de l'équipement de coupe augmente le risque de rupture de chaine et donc de blessures graves et même mortelles.
Tension de la chaine

Une tension insuffisante de la chaine augmente le risque de chaine sautée et donc de blessures graves et même mortelles.
- Plus on utilise une chaîne plus elle s'allge. Il importe de vérifier l'équipement de coupe après chaque utilisation.
- Il importe de vérifier la tension de la chaîne après chaque plein d'essence. ATTENTION: Une nouvelle chaîne exige une période de rodage durant laquelle il faut vérifier la tension plus souvent.
- En règle générale, il faut tendre la chaine au maximum, mais pas au point de ne pouvoir la faire tournier manuellement.

A Huile de chaîne de tronçonneuse
- L'huile de chaine devra bien adhérer à la chaine et posseder d'excellentes qualités de fluidité par tous les temps, aussi bien en été qu'en hiver.
- En tant que fabricant de tronçonneuses, nous avons développé une huile de chaîne optimale à base végétale. Nous recommendons l'utilisation de cette huile pour une durée de vie maximale de la tronçonneuse et pour la protection de l'environnement.
- Si notre huile de chaine n'est pas disponible nous recommendons l'utilisation d'une huile de chaine ordinaire.
- Si aucune huile spécialement destinée au grainsse des chaînes de tronçonneuses n'est disponible, l'huile de transmission EP 90 peut être utilisée.
- Ne jamais utiliser d'huile usagée L'huile usagée est dangereuse pour vous, pour la tronçonneuse et pour l'environnement.
B Remplissage d'huile de chaîne
La pompe à huile est prééglée en usine pour répondre à la plupart des besoin de lubrification. Un replissage du réservoir d'huile suffit pour la moitié du réservoir d'essence. Pour cette raison, il convient de contrôle

régulièrement la quantité d'huile dans le réservoir d'huile afin d'éviter toute déterioration de la chaine et du guide-chaine à la suite d'une censure en huile.
C Contrôle de lubrification
- Verifier la lubrification à chaque plein d'essence.
Diriger le nez du guide sur un objet clair, à 20 cm d'ecart. ÀpRES 1 minute de marche aux 3/4 d'acceleration, l'objet clair doit nettementprésenter un film d'huile en forme de ruban.

D. Réglage du graissage de la chaîne
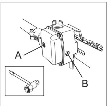
Lors du sciage de bois secs et durs, l'augmentation du graissage peut s'averner nécessaire. Pour régler le débit d'huile, desserrer d'abord la vis (A), puis visser la vis de réglage (B) dans le sens contraire des aiguilles de la montre.
Serrer la vis (A). S'assurer que la consommation d'huile augmente et contrôle la quantité d'huile dans le réserve d'huile régulièrement.

Mesures à prendre si le graissage ne fonctionne pas :
1 Vérifier le canal de graissage du guide-chaine. Le nettoyer au besoin.
2. S'assurer que le canal de graissage du carter d'engrenage est propre. Nettoyer si nécessaire.
3. Vérifier que le pignon dunez du guide tourne librement. Si le graissage de la chaine ne fonctionne pas après les contrôles ci-dessus, s'adresser obligatoirement à un atelier d'entretien.

Contrôle d'usure de l'équipement de coupe
A. Chaine
Vérifier l'etat de la chaine journellement, s'assurer :
- que rivets et mailons ne sont pas criqués
- que la chaine n'est pas raide
- que rivets et maillons ne sont pas anormalement usés.

Comparator avec une chaine neuve pour évaluer le degré d'usure de la chaine utilisée.
Si la hauteur de dent est inférieure a 4mm ,la chaine est usee et doit etre remplacemente.

B. Pignon d'entrainment
Vérifier régulièrement le degré d'usure du pignon.
Le replacer en cas d'usure excessive.
Le pignon doit être replacé en même temps que la chaine.

Contrôr régulièrement que l'amortisseur de vibrations ne présente pas de craquelures.
Contrôr régulièrement l'usure des éléments en caoutchouc et les replacer s'ils sont usés.

D. Guide-chaine
Vérifier régulierement :
- Qu'il n'y a pas de Bavures sur les côtés extérieurs de la gorge, les limer au besoin.
- Que la gorge n'est pas anormalement usée, la replacer au besoin.
- Que le nez n'est pas anormalement usé : si un creux s'est formé à l'extrémité du rayon du nez (bord inférieur) la chaîne n'était pas suffisamment tendue.
- Retourner le guide quotidiennement pour assurer une durée de vie optimale.


Un équipement de coupe defectueux peut augmenter le risque d'accident.
Instruction de sécurité pour l'utilisation de la tronçonneuse à manche

AVERTISSEMENT!
La machine peut provoquer des blessures corporelles graves. Lire attentivement les consignes de sécurité et apprendre à bien utiliser la machine.

AVERTISSEMENT!
Outil coupant! Ne pas toucher l'outil sans avoir coupé le moteur.
REMARQUE! Lire attentivement le manuel d'utilisation avant d'utiliser la machine.
Protection personnelle
- Toujours porter des bottes et l'équipement décrit dans "Équipement de protection personnelle" dans le manuel d'utilisation de la machine.
- Portez toujours des vêtements de travail et des pantalons robustes.
- Ne portez jamais de vêtements larges ou des bijoux.
- Il est recommendé aux personnes aux cheveux longs de les attacher, pour leur sécurité personnelle.

Mesures de sécurité pour l'environnement
- Ne permettez jamais aux enfants d'utiliser la machine.
- Ne permettez à personne de s'approcher à moins de 15 m lors du travail.
- Ne permette pas à autreui d'utiliser la machine sans vous assurer qu'ils connaissent parfaitement le contenu du manuel d'instructions.
- Ne jamais travaillerABOUT sur une échelle, un tabouret, ou dans toute autre position élevée n'offrant pas une sécurité maximale.

Consignes de sécurité pendant le travail

Veillez a toujours adopter une position de travail sure et stable.
- Tenez toujours la machine à deux mains. Portez la machine sur votre côté croit.
Utilisez votre main droite pour manqueevrer l'accelération.
- Veiller à ce que ni les mains ni les pieds ne soient en contact avec l'équipment de coupe quand le moteur tourne.
- Àpres l'arrêt du moteur, maintainir mains et pieds à l'écart de l'équipement de coupe jusqu'à l'arrêt total de celui-ci.
- Attention aux éclats de bois pouvant être projétés durant le sciage.
- Toujours poser la machine sur le sol quand elle n'est pas utilisé.
- Étudier attentivement l'objet à scier afin de détecter les obstacles éventuels tels que les lignes électriques, les insectes, les animaux, etc. ou les objets pouvant endommager l'équipment de coupe comme, par exemple, les objets en métal.
- Si la machine boute sur un object ou si des vibrations se produit, arrêter immédiatement le taille-haie. Retirer le cable de la bougie et vérifier que la machine n'a subi aucun dommage. Réparer tout évientuel dommage.
- Si un objet se coince dans l'équipement de coupe pendant l'utilisation de la machine, etéindre le moteur et attendre son arrêt complet avant de nettoyer l'équipement de coupe.
Consignes de sécurité après le travail
- La protection pour le transport doit toujours être mise sur l'équipment de coupe quand la machine n'est pas utilisée.
- Avant les travaux de nettoyage, de réparation ou d'inspection, vérifier que l'équipement de coupe est totalement arrêté et débrancher le cable d'allumage de la bougie.
- Toujours utiliser des gants de protection écais lors de la réparation de l'équipement de coupe. L'équipement de coupe est très tranchant et peut facilement provoquer des coupures.
- Conserver la machine à l'abri des enfants.
Utiliser uniquement des pieces de rechange d'origine pour les réparations.


Techniques de travail de base
- Pour un meilleur équilibre, tener la machine le plus après possible du corps.
- S'assurer que l'extrémité du taille-haie ne touche pas le sol.
- Ne jamais force, mais adopter un rythme de travail régulier, de sorte que toutes les branches puissent être coupées uniformément.
- Ramener le moteur au régime de ralenti après chaque phase de travail. Le fait de laisser le moteur tourner aux pleins gaz sans le charger peut entraîner des dommages moteur importants.
- Toujours travailler à pleins gaz.
- Mettre le moteur au ralenti après chaque coupe. Le fonctionnement du moteur à pleins gaz pendant une période prolongée peut endommager l'accouplement centrifuge.

AVERTISSEMENT!
Ne vous placez jamais sous la branche où vous travailliez. Risque de graves accidents.
Faites particulièrement attention aux lignes électriques. Les branches peuvent entraîner des court-circuits en tombant.

Ne jamais se tenir sous une branche en train d'être coupée. Une telle position peut être la cause de blessures graves voire mortelles.

Cette machine ne comporte pas d'iso1ation électrique. Si elle entre en contact avec ou est utilisée à proximite de lignes conductrices de tension, ceci peut résultat en des blessures corporelles graves voire mortelles. L'électricité peut etre transmise d'un point à un autre par un arc de tension. Plus la tension est elevée et plus la longueur de transmission de la tension est elevée. L'électricité peut egalament etre transmise par des branches et d'autres objets, particulierement s'ils sont mouillés. Toujours conserver une distance d'au moins 10 mètres (30 pieds) entre la machine et la ligne conductrice d'électricité et/ou les objets en contact avec cette ligne. S'il est nécessaire que le travail soit effectue avec des distances de sécurité plus courtes, always contacter la sympathie électrique afin de s'assurer que la tension est bien coupée avant de commencer les travaux.

La machine peut etre dangereuse. Vérifier qu'aucune personne et qu'un animal ne se trouvent a moins de 15 mêtes (45 pieds) quand la machine est utilisée.
- Se tener droit par rapport à la branche, de sorte que la coupe se fasse à un angle de 90^ si possible par rapport à la branche.
- Ne pas travailler avec la machine droit devant le corps ( comme avec une canne à pêche). Dans une telle position, l'équipment de coupe semble plus lourd.
- Couper les grosses branches par sections, de sorte que l'emplacement où elles sont tomber soit plus facile à contrôle.
- Ne jamais scier dans un nœud (ceci favorise la cicatrisation et ralentit la décomposition) !

Utiliser la surface d'appui de la tete de coupe pour s'appuyer contre la branche pendant la coupe. Cette précaution empêche l'équipement de coupe de « sauter » sur la branche.
- Réaliser une entaille de décharge sur la partie inférieure de la branche avant de couper cette dernière. Cette entaille empêche l'écaillage de l'écorce de l'arbre, dont il résultatait des blessures durables et difficilles à guérir pour l'arbre. Pour éviter tout blocage, la profondeur de cette entaille ne doit pas dépasser 1/3 de l'épaissur de la branche. Toutjours-retirer l'équipement de coupe de la branche avec la chaîne qui tourne afin d'éviter le blocage de l'équipement de coupe.
Utiliser le harnais pour faciliter la manipulation de la machine et en allégier le poids.
Veiller a se tener fermement et a pouvoir travailler sans etre gené par les branches, les pierres et les arbres.




Ne jamais accélérer si l'équipement de coupe n'est pas entièrement visible.
Accessoire de sciage avec tube de transmission

Quels sont les éléments de kit de tronçonnage?
- Remplissage de lubricant
- Engrenage angulaire
- Vis de réglage lubrification de la chaîne (B)
- Vis de blocage lubrification de la chaîne (A)
- Tube de transmission
- Crochet pour harnais
- Capot de protection de la chaîne
- Ecrou de guide-chaine
-
Vis de tendeur de chaîne
-
Chaine
- Guide-chaine
- Réservoir d'huile de chaîne
- Remplissage d'huile de chaine
- Manuel d'utilisation
- Protection de transport
- Clé universelle
- Harnais
Accessoire de sciage sans tube de transmission

Quels sont les éléments de kit de tronçonnage?
- Remplissage de lubricifant
- Engrenage angulaire
- Vis de réglage lubrification de la chaine (B)
- Vis de blocage lubrification de la chaine (A)
- Crochet pour harnais
- Capot de protection de la chaine
- Ecrou de guide-chaine
-
Vis de tendeur de chaine
-
Chaine
- Guide-chaine
- Réservoir d'huile de chaine
- Remplissage d'huile de chaine
- Manuel d'utilisation
- Protection de transport
- Clé universelle
- Harnais
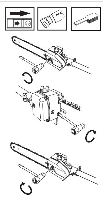
Montage de la tete de coupe (Accessoire de sciage avec tube de transmission)
- Monter la tete de coupe sur le tube de transmission de manière à positionner la vis (A) au centre du trou du tube de transmission comme sur la figure.
- Serrer la vis A.
- Serrer la vis B.
- Attention! S'assurer que l'axe d'entrainment du tube de transmission penètre dans la rainure de la tete de coupe.

Montage de la tête de coupe (Accessoire de sciage sans tube de
transmission)
- Demonter le renvoi d'angle du tube de transmission.
- Monter la tete de coupe sur le tube de transmission.
- Serrer la vis A.
- Serrer la vis B.
- Attention! S'assurer que l'axe d'entrainment du tube de transmission penètre dans la rainure de la tête de coupe.

Montage du guide-chaine et de la chaine
Déposer l'écrou du guide-chaine et le capot de
- Positionner le guide-chaine sur le goujon. Placer la chaine sur le pignon d'entrainment et sur le guide-chaine. Commencer par le dessus du guide. S'assurer que la face tranchante des dents est vers l'avant sur le dessus du guide.
S'assurer que la face tranchante des dents est vers l'avant sur le dessus du guide.
- Monter le carter d'embrayage (frein de chaîne) et centrer le goujon de tension de la chaîne dans l'ouverture du guide. S'assurer que les maillons d'entrainment
s'engagent dans le pignon et que la chaîne est correctement placée dans la gorge du guide. Serrer les écrous du guide à la main.
- Tendre la chaine en tournant à droite la vis de tension de chaine à l'aide de la clé universelle. Tendre la chaine jusqu'à ce qu'elle ne pende plus sous le guide.
Tendre la chaine tout en mettant le guide à l'horizontal. La chaine est tendue correctement quand elle nePEND plus sous le guide et peut etre avancée a la main sans dificulté. Serrer les écrous du guide a I'aide de la clé universelle tout en maintainant le guide horizontal.
- La tension d'une chaine neuve doit être vérifiée frequentlyment pendant son rodage. Vérifier régulièrement. Une tension correcte est synonyme deonne capacitéde coupe et de longue durée de vie.

Montage de l'œillet de suspension
L'eellet de suspension doit être monté entre la poignée arrrière et la poignée en boute. Placer l'eellet de suspension de telle sorte que la machine soit bien équilibrée et la position de travail comfortable.

Réglage du harnais
Le harnais doit toujours être utilisé avec la machine pour garantir à l'utilisateur un contrôle maximal sur la machine et réduire le risque de fatigue au niveau des bras et du dos.
Enfiler le harnais.
- Accrocher la machine dans le crochet de suspension du harnais.
- Regler la longueur du harnais de telle sorte que le crochet de suspension soit à peu après la hauteur de la hanche droite de l'utilateur.

Remplissage d'huile
- Ouvrir le couvercle sur la partie supérieure de la tête de coupe.
- Faire l'appoint avec de l'huile de chaine Husqvarna. Refermer le couvercle.

Contrôles avant le démarrage
- Inspector la zone de travail. Retirer tout object susceptible
d'être projeté.
- Vérifier les lames. Ne jamais utiliser un équipement émousse, fissure ou endommage.
- Vérifier que le taille-haie est en parfait et d'utilisation. Contrôler que tous les écrous et boulons sont correctement serrés.

- S'assurer que la chaîne est suffisamment lubrifiée. Voir le chapitre "Lubrification des lames".
- Contrôler que l'équipement de coupe s'arrête toujours au ralenti.
- N'utiliser le taille-haie que pour l'usage auquel il est destiné.
- Contrôler que la poignée et les dispositifs de sécurité sont en bon état de fonctionnement. Ne jamais utiliser une machine à laquelle il manque des pieces, ou une machine qui a été modifiée à l'encontre de ses specifications.
CHARACTERISTIQUES TECHNIQUES
| Système de graissage Volume du réservoir d'huile, litres | Accessoire de sciage sans tube de transmission | Accessoire de sciage avec tube de transmission |
| Poids Poids, sans carburant, équipement de coupe et/dispositifs de sécurité, kg | 0,17 | 0,17 |
| 0,8 | 1,4 | |
| Niveau sonores (voir remarque 1) Pression acoustique équivalente au niveau des oreilles de l'utilisateur, mesure en EN ISO 11680-1, dB(A), min./max. | 95 | 96 |
| Puisance acoustique équivalente mesure en EN ISO 11680-1 et ISO 10884, dB(A), min./max. | 106 | 106 |
| Niveau de vibrations Niveau de vibrations au niveau des poignées mesure sur EN ISO 11680-1, m/s2 Au ralenti, poignée gauche/droite: | 1,0/3,0 | 1,2/2,3 |
| A plein régime, poignée gauche/droite: | 5,5/3,6 | 6,0/5,5 |
Remarque 1: le niveau de pression acoustique équivalent correspond à la somme d'énergie pondérée en fonction du temps pour les niveaux de pression acoustique à différents régimes pendant les durées suivantes: 1/2 ralenti et 1/2 plein régime.
Combaisons guide-chaine et chaine
Les combinaisons suivantes sont homologues type CE
| Guide-chaine | Chaine | ||
| Longueur (pouces) | Pas (pouces) | Nobre de dents max pignon avant | |
| 10 | 3/8 | 7 T | Husqvarna S 36/Oregon 91 VG |
| 12 | 3/8 | 7 T | Husqvarna S 36/Oregon 91 VG |
| 10 | 3/8 | 7 T | Oregon 90 SG |
| 12 | 3/8 | 7 T | Oregan 90 SG |
| Type | PITCH = D/2 Pouces | Pouces/mm | Pouces/mm | Angle | Angle | Angle | Pouces/mm | Pouces/cm: dl |
| 91 VG | 3/8" | 0.050"/1,3 | 5/32" /4,0 | 85° | 30° | 0° | 0.025"/0,65 | 10"/25:40 12"/30:45 |
| S 36 | 3/8" | 0.050"/1,3 | 5/32" /4,0 | 85° | 30° | 0° | 0.025"/0,65 | 10"/25:40 12"/30:45 |
| 90 SG | 3/8" | 0,028"/1/1 | 5/32" /4,0 | 85° | 30° | 0° | 0.025"/0,65 | 10"/25:40 12"/30:45 |
Assurance de conformité UE (concerne seulement l'Europe)
Nous, Husqvarna AB, SE-561 82 Huskvarna, Suède, tél. +46-36-146500, déclarons que ce kit de tronçonnage à partir des numérios de série de l'année de fabrication 2002 et ultérieurement (l'année est indiquée en clair sur la plaque d'identification et suivie d'un numéro de série) est conforme aux dispositions des DIRECTIVES DU CONSEIL:
- du 22 juin 1998 "directive machines" 98/37/CE, annexe IIA.
Les normes suivantes ont ete appliquees: EN292-2, EN11680-1.
L'organisme notice: 0404, SMP Svensk Maskinprovning AB, Fyrisborgsgatan 3, 754 50 Uppsala, Suède, a procédé à des tests de type européen suivant l'article 8, paragraphe 2c de la directive machines (98/37/CE). Le certificat de contrôle de type EU selon l'annexe VI a le numéro: 404/02/858.
Le kit de tronçonnage livre est conforme à l'exemplaire qui a été soumis au contrôle de type EU.
Huskvarna, le 3 janvier 2002

Bo Andréasson, directeur du développement
Notice Facile