CARB III - Équipement de jardinage HUSQVARNA - Notice d'utilisation et mode d'emploi gratuit
Retrouvez gratuitement la notice de l'appareil CARB III HUSQVARNA au format PDF.
| Type d'appareil | Tronçonneuse |
| Alimentation | Essence |
| Puissance | Non précisé |
| Longueur de guide | Non précisé |
| Capacité du réservoir | Non précisé |
| Poids | Non précisé |
| Système de démarrage | Non précisé |
| Type de chaîne | Non précisé |
| Frein de chaîne | Oui |
| Lubrification automatique | Oui |
| Type de moteur | 2 temps |
| Niveau sonore | Non précisé |
| Normes environnementales | EPA III, CARB III |
| Utilisation recommandée | Coupe de bois, élagage |
| Manuel disponible en | Anglais, Français, Espagnol |
FOIRE AUX QUESTIONS - CARB III HUSQVARNA
Questions des utilisateurs sur CARB III HUSQVARNA
0 question sur cet appareil. Repondez a celles que vous connaissez ou posez la votre.
Poser une nouvelle question sur cet appareil
Téléchargez la notice de votre Équipement de jardinage au format PDF gratuitement ! Retrouvez votre notice CARB III - HUSQVARNA et reprennez votre appareil électronique en main. Sur cette page sont publiés tous les documents nécessaires à l'utilisation de votre appareil CARB III de la marque HUSQVARNA.
MODE D'EMPLOI CARB III HUSQVARNA
Operator's manual (EPA III, CARB III) Manuel d'utilisation (EPA III, CARB III) Manual de instrucciones (EPA III, CARB III)
435 435e 440e
Lire attentivement et bien assimilier le manuel d'utilisation avant d'utiliser la machine.
Symboles sur la machine:
AVERTISSEMENT! Cette tronçonneuse peut être dangereuse! Une utilisation errée ou négligente peut occasionally des blessures graves, voir mortelles pour l'utiliser ou une pierce personne.

Lire attentivement et bien assimiler le manuel d'utilisation avant d'utiliser la machine.
Toujoursutiliser:
Casque de protection homologué
- Protecteurs d'oreilles homologues
Lunettes protectrices ou visiere
Toujours utilisier les deux mains pour manipuler la tronconneuse.
Ne jamais utiliser une seule main pour manipuler la tronçonneuse.
Éviter tout contact de la pointe du guidé-chaine avec un objet.
Un contact de la pointe peut provoquer un mouvement soudain du guide-chaine vers le haut et l'arrière et ainsi cause des blessures graves.
Equipement de coupe recommandé dans cet exemple:
- Longueur de guide-chaine: 16 pouces
- Rayon maximum du nez: 10 dents
- Type de chaîne: Oregon 21 LP
Autre combinaisons approuvées de guides et chaînes, consulter le Manuel d'utilisation.
Taux de rebond maximum mesure avec activation du frein de chaîne, pour la combinaison de guide-chaine et chaîne indiquée sur l'étiquette.
Taux de rebond maximum mesure sans activer le frein de chaîne, pour la combinaison de guide-chaine et chaîne indiquée sur l'étiquette.










Les autres symboles/autocollants présents sur la machine concernent des exigences de certification spécifique à certains marchés.
Symboles dans le manuel:
Tout contrôle et/ou entretien doit être effectué avec le moteur à l'arrêt. REMARQUE! Le bouton marche/arrêt returnne automatiquement en mode de conduite. Afin d'éviter tout

démarriage accidentel, toujours-retirer le capuchon de la bougie lors du montage, contrôle et/ou entretien.
Toujours porter des gants de protection homologues.
Un nettoyage régulier est indispensable.
Examen visuel.
Porter des lunettes protectrices ou une visiere.
Remplissage d'essence.
Remplissage d'huile et réglage du débit d'huile.
Le frein de chaîne doit être activé quand la tronçonneuse est démarrée.
AVERTISSEMENT! Il risque de se produit un rebond si le nez du guide entre en contact avec un objet et entraine une réaction qui projette le guide vers le haut et vers l'utilateur. Ceci risque de causeur de graves blessures personnelles.








L'autocollant importante ce symbol d'advertissement est placé sur la tronconneuse:

EPA III

La période de conformité des émissions à laquelle il est fait reférence sur l'étiquette de conformité des émissions indique le nombre d'heures de fonctionnement pour lesquelles il a été établi que le moteur répond aux exigences fédérales en matière d'émissions.
L'entretien, le remplacement ou la réparation des dispositifs et des systèmes antipollution peuvent être effectuels par tout établissement ou personne qui répare des produits motorisés manuels.

SOMMAIRE
Sommaire
EXPLICATION DES SYMBOLES
Symboles sur la machine: 44
Symboles dans le manuel: 44
SOMMAIRE
Sommaire 46
INTRODUCTION
Cher client, 47
QUELS SONT LES COMPOSANTS?
Quels sont les composants de la tronconneuse? . 48
INSTRUCTIONS GÉNÉRALES DE SECURITÉ
Mesures à prendre avant de mettre en usage une tronconenneuse neuve 49
Important! 50
Utilisez toujoursyerobons 50
Euplement de protection personelle 50
Equipement de sécurité de la machine 51
Equipement de coupe 54
MONTAGE
Montage du guide-chaine et de la chaine 61
MANIPULATION DU CARBURANT
Carburant 63
Remplissage de carburant 64
Sécurité carburant 64
DÉMARRAGE ET ARRÊT
Demarrage et arrêt 65
TECHNIQUES DE TRAVAIL
Avant cheque utilisation: 67
Méthodes de travail 67
Mesures anti-rebond 73
ENTRETIEN
Généralités 75
Réglageducarburatéur 75
Contrôle, maintenance et entretien des
équipements de sécurité de la tronconneuse 75
Silencieux 77
Lanceur 78
Filtre a air 79
Bougie 80
Graissage du pignon d'entrainment du guide .... 80
Graissage du roulement à aiguilles 80
Système de refroidissement 80
Utilisation hivernale 81
Scha ma d'entretien 82
CHARACTERISTIQUES TECHNIQUES
Caracteristiques techniques 83
Combinaisons guide-chaine et chaine 84
Affutage de la chaîne et gabarits d'affutage 84
Déclaration de GARANTIE CONTROLE DES ÉMISSIONS EN CALIFORNIE ET AU NIVEAU FÉDRÉRAL
VOS DROITS ET OBLIGATIONS EN GARANTIE 85
PRECAUTIONS SECURITAIES CONFORMANT AUX NORMES AMERICAINES
Consignes de sécurité pour les utilisateurs de tronconiennes 87
Cher client,
Félicitations pour ce besoin d'un produit Husqvarna. Husqvarna a vu le jour en 1689 lorsque le roi Karl XI décida de construire un arsenal pour la fabrication des mousquets au bord de la rivière Huskvarna. Le besoin de l'emplacement était logique puisque la rivière Huskvarna servait à produit de l'énergie hydraulique et constituiait donc une vente de centrale hydraulique. En plus de 300 ans d'existence, l'usine Husqvarna a fabriqué de nombreux produits, depuis les cuisinières à bois jusqu'àux équipements de cuisine modernes, sans outlier les machines à coudre, les bicyclettes, les motos, etc. La première tondeuse à moteur a été lancée en 1956, suivie en 1959 de la première tronçonneuse. C'est dans ce secteur que Husqvarna est actif aujourd'hui.
Husqvarna est aujourd'hui un des plus grands fabricants du monde de produits destinés à l'entretien des forêts et des jardins. La qualité et les performances sont nos priorités. Notre concept d'affaires est de développement, fabriquer et commercialiser des produits à moteur pour l'entretien des forêts et des jardins et pour les entreprises de construction et d'aménagement des sols. L'objet d'Husqvarna est aussi d'être à la pointe du progrès en matière d'ergonomie, de facilité d'utilisation, de sécurité et de protection de l'environnement; un grand nombre d'innovations ont été développées pour améliorer les produits dans ces domains.
Nous sommes persuadés que vous approucem que la qualité et les performances de nos produits pendant de longues années. L'achat d'un de nos produits vous garantit une assistance professionnelle au niveau du service et des réparations en cas de besoin. Si la machine n'a pas été achetée chez un de nos revendeurs autorisés, demandez à un revendre l'adresse de l'atelier d'entretien le plus proche.
Nous espérons que cette machine vous donnera toute satisfaction et qu'elle vous accompagnera pendant de longues années. N'oblieez pas que ce manuel d'utilisation est important. En suivant les instructions qu'il contient (utilisation, révision, entretien, etc.), il est possible d'allonger considérablement la durée de vie de la machine et d'augmenter sa valeur sur le marché de l'occasion. En cas de vente de la machine, ne pas oublier de remettre le manuel d'utilisation au nouveau propretaire.
Nous vous remercions d'utiliser un produit Husqvarna !
Husqvarna AB travaillée continuèlement au développement de ses produits et se réserve le droit d'en modifier, entre autres, la conception et l'aspect sans préavis.

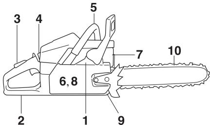
Quels sont les composants de la tronconneuse?
1 Capot de cylindre
2 Pompe a carburant
3 Rappel des instructions de démarrage
4 Bouton combiné de marche et d'arrêt
5 Poignée arrête
6 Autocollant d'information et d'avertissement
7 Réservoir d'essence
8 Vis de réglage du carburateur
9 Poignée de lanceur
10Lanceur
11 Réservoir d'huile pour chaîne
12 Plaque de numéro de série et de produit
13 Marque d'abattage
14 Poignée avant
15 Arceau protecteur
16 Silencieux
17 Chaine
18 Pignon avant
19 Guide-chaine
20 Patin d'ébranchage
21 Capteur de chaîne
22 Manette de tension de chaine
23 Carter d'embrayage
24 Protection de la main droite
25 Commande de l'accelération
26 Blocage de l'accelération
27 Bouton
28 Manuel d'utilisation (EPA)
29 Fourreau protecteur du guide-chaine
30 Clé universelle
Mesures à prendre avant demettre en usage unetronçonneuse neuve
- Lisez attentivement ce manuel d'utilisation.
- Vérifier le montage et le réglage de l'outil de coupe.
Voir les instructions au chapitre Montage. - Remplissez de carburant et démarrez la tronconneuse. Voir les instructions aux chapitres Manipulation du carburant et Démarriage et arrêt.
- Ne pas utiliser la tronçonneuse avant que la chaîne ait reçu une quantité suffisante d'huile de chaîne. Voir les instructions au chapitre Équipement de coupe.
- Une exposition prolongée au bruit risque de causeurs des lésons auditives permanentes. Toutjours utiliserends proteceurs d'oreille agreeés.

AVERTISSEMENT! Ne jamais modifier sousaucen prétexte la machine sans l'autorisation du fabricant. N'utiliser que des accessoires et des pieces d'origine. Des modifications non-aurisées et I'empoi d'accessoires non-homologues peuvent provoquer des accidents graves et même mortels, à l'utilisateur ou d'autres personnes.Vote garantie ne couvre ni les dommages ni la responsabilité qu'entraîne l'utilisation de pieces ou d'accessoires non autorisés.

AVERTISSEMENT! Utilisée de manière erronée ou néligente, la tronçonneuse peut être un outil dangereux pouvant causer des blessures personnelles graves, voire mortelles. Il importsdonc de dire attentivement et de bien assimilier le contenu de ce manuel d'utilisation.

AVERTISSEMENT! L'intérieur du silencieux contient des produits chimiques pouvant être cancérigénes. Eviter tout contact avec ces éléments si le silencieux est endommage.

AVERTISSEMENT! Une inhalation prolongée des gaz d'échéappement du moteur, du brouillard d'hulie de chaîne et de la poussière de copeaux peut constituer un danger pour la santé.

AVERTISSEMENT! Ayez un extincteur à portée de main, lorsque vous utilisez une tronconneuse.

AVERTISSEMENT! Maintainir les poignées sèches, propres et exemplés d'huile.

AVERTISSEMENT! Faire attention à l'intoxication par monoxyde de carbone. Utiliser la tronconenne seulement dans des endroits bien aérés.

AVERTISSEMENT! Ne pas tenter d'émonder ou d'ébrancher un arbre sur pied sauf si vous étés spécialment formé pour la faire.

AVERTISSEMENT! Le système d'allumage de cette machine génére un champ electromagnetique durant le fonctionnement de la machine. Ce champ peut dans certains cas perturber le fonctionnement des pacemakers. Pour réduire le risque de blessures graves ou mortelles, les personnes portant des pacemakers doivent consulter leur médecin et le fabricant de leur pacemaker avant d'utiliser cette machine.

AVERTISSEMENT! Ne jamais laisser des enfants utiliser la machine ou se tenir à proximé. La machine est équipée d'un interrupteur d'arrêt à détente et peut être démarrée par une activation à faible vitesse et de faible puissance de la poignée de démarriage ; dans certaines circonstances, de jeunes enfants peuvent produit la force nécessaire au démarriage de la machine. Ceci peut entrainer un risque de blessures personnelles. Retirer donc le chapeau de bougie lorsque la machine n'est pas sous surveillance.
Important!
IMPORTANT!
La machine est conçue pour le sciage du bois seulement. Utilisez seulement les combinaisons guide-chaine/chaîne reconnendées au chapitre Caracteristiques techniques.
N'utilisez jamais la machine si vous étés fatigué, avez bu de l'alcool ou pris des médicaments susceptibles d'afectorer votre vue, votre jugement ou la maïtrise de leur corps.
Utiliser les équipements de protection personnelle. Voir au chapitre Equipement de protection personnelle.
Ne modifies jamais cette machine de façon à ce qu'elle ne soit plus conforme au modele d'origine et n'utilise jamais une machine qui semble avoir été modifiée.
Ne jamais utiliser une machine qui n'est pas en parfait état de marche. Suivre dans ce manuel d'utilisation les instructions de maintenance, de contrôle et d'entretien. Certaines mesures de maintenance et d'entretien doivent être confiées à un spécialiste dûment formé et qualifié. Voir au chapitre Entretien.
N'utiliser que les accessoires recommendés dans ce manuel. Voir les chapitres Equipement de coupe et Caracteristiques techniques.
REMARQUE! Utilisez toujours des lunettes de protection ou une visière faciale pour vous protégérer d'une éventuelle projection d'objet. Une tronçonneuse peut projeter avec violence des objets, de la scirou et de petits morceaux de bois par exemple. Il peut en résultat des blessures graves, sur tout au niveau des yeux.

AVERTISSEMENT! Faire tourner un moteur dans un local fermé ou mal aéré peut causeer la mort par asphyxie ou empoisonnement au monoxyde de carbone.

AVERTISSEMENT! Un équipement de coupe inapproprié ou une mauvaise combinaison guide-chaine/chaine augmente le risque de rebond! N'utilise que les combinaisons chaine et guide-chaine recommendées et respectez les instructions d'affutage. Voir les instructions au chapitre Caractéristiques techniques.
Utilisez toujours votre bon sens
Il est impossible de prévoir toutes les situations que vous pouvez rencontres lorsqu vous utilisez une tronconenne. Soyez always prudent et utilisez cette bon sens. Évitez les situations que vous n'étés pas sur de maîtriser. Si, après avoir lu ces instructions, vous n'étés toujours pas sur de la procédure à suivre, demandez conseil à un expert avant de poursuivre. N'hésitez pas à prendre contact avec votre revendeur ou avec nous si vous avez des questions sur l'utilisation de la tronconenne. Nous sommes à votre disposition et vous conseillons volunteers pour vous aidier à<mieux utiliser notre tronconenne en toute sécurité. N'hésitez pas à
suivre une formation sur l'utilisation des tronconiennes.
Votre revendeur, votre établissement de formation
forestière et votre bibliothèque peuvent vous renseigner
sur le matériel de formation et les cours disponibles.

Nous travaillons en permanence à l'amélioration de la conception et de la technique, des améliorations qui augmentent votre sécurité et leur efficacité. Rendez régulièrement visée à votre revendeur pour vous tener au courant des nouvelles qui peuvent vous être utiles.
Équipement de protection personnelle

AVERTISSEMENT! La plupart des accidents survient quand la chaine de la tronconneuse touche l'utilisateur. Un équipement de protection personnelle homologué doit imperativement être utilisé lors de tout travail avec la machine. L'équipement de protection personnelle n'élimine pas les risques mais réduit la gravité des blessures en cas d'accident. Demander conseil au concessionnaire afin deCHOISIR un équipement ajustat.

Casque de protection homologué
- Protecteur d'oreilles
Lunettes protectrices ou visiere
Gants protecteurs anti-chaine
- Pantalon avec protection anti-chaine
- Bottes avec protection anti-chaine, embout acier et semelle antidérapante
- Une trousse de premiers secours doit toujours être disponible.
- Extincteur et pelle
Porter des vêtements près du corps et ne risquant pas de générer les mouvements.
IMPORTANT! Des étincelles peuvent être produites par le silencieux, le guide-chaine ou la chaine par exemple. Veillez à tous les disposers des outils nécessaires à l'extinction d'un feu. Vous pouvez ainsi éviter des frais deForêt.
Équipement de sécurité de la machine
Cette section traite des équipements de sécurité de la machine et de leur fonction. Pour le contrôle et l'entretien, voir les instructions au chapitre Contrôle, maintenance et entretien des équipements de sécurité de la tronçonneuse. Voir le chapitre Quels sont les composants? pour savoir où se trouvent équipements sur la machine.
La durée de vie de la machine risque d'être écourte et le risque d'accidents accru si la maintenance de la machine n'est pas effectue correctement et si les mesures d'entretien et/ou de réparation ne sont pas effectuées de manière professionnelle. Pour obtaining de plus amples informations, contacter l'atelier de réparation le plus proche.

AVERTISSEMENT! N'utilise jamais une machine dont les équipements de sécurité sont défectueux. Les équipements de sécurité doivent être contrôlés et entretenus. Voir les instructions au chapitre Contrôle, maintenance et entretien des équipements de sécurité de la tronconienne. Si les contrôles ne donnent pas un résultat positif, faites réparer votre machine par un atelier d'entretien.
Frein de chaine avec arceau protecteur
Votre tronconneuse est equipee d'un frein de chaine concu pour arrer la chaine en cas de rebond. Le frein de chaine reduit le risque d'accidents, mais seul l'utilisateur peut prévenir les accidents.

Observer la plus grande prudence en utilisant la tronconenneuse et s'assurer que la zone de rebond du guide-chaine ne touche rien.

Le frein de chaîne (A) est activé soit manuellement (de la main gauche), soit avec la fonction d'inertia.
- Pousser l'arceau (B) vers l'avant pour activer le frein de chaine.


- Ce mouvement actionne un mécanisme à ressort qui tend le ruban du frein (C) autour du système d'entrainment de la chaîne (D) (le tambour d'embrage).


L'arceau protecteur ne déclenché pas seulement le frein de chaîne. Il réduit aussi le risque que la main gauche ne se blesse à la chaîne en cas de perte de la prise sur la poignée avant.

Le frein de chaine doit être activé quand la tronconneuse est démarrée pour empêcher que la chaine ne se mette à tourner.

Utilisez le frein de chaîne comme 'frein de stationnement' au démarrage et lors de courts déplacements, pour éviter une mise en marche involontaire de la tronçonneuse et les accidents. Ne pas laisser la tronçonneuse en marche avec le frein de chaîne activé pendant un long moment. La tronçonneuse peut devenir très chaude.

Pour découvert le frein de chaîne, il convient de pousser la protection anti-rebond marquee "PULL BACK TO RESET" en arrêtre, contre la poignée avant.

- Un rebond peut être rapide et très violent. Toutefois la plupart des rebonds sont courts et n'activent pas nécessairement le frein de chaine. Dans ce cas, tener fermement la tronconneuse et ne pas la lâcher.

- Le mode d'activation du frein de chaîne (manuel ou automatique par inertie) dépend de l'ampleur du rebond et de la position de la tronçonneuse par rapport à l'objet rencontres par la zone de danger du guide.
Si le rebond est violent et si la zone de danger du guide se trouve loin de l'utilisteur, le frein de chaîne est activé par le contrepoids (inertie) du frein de chaîne dans le sens du rebond.

En cas de rebond moins violent ou si, en raison de la situation de travail, la zone de danger du guide est proche de l'utiliste, le frein de chaîne est activé manuellement par la main gauche.

- En position d'abattage, la main gauche se trouve dans une position qui rend l'activation manuelle du frein de chaîne impossible. Dans cette position, quand la main gauche ne peut pas agir sur le mouvement de la
protection anti-rebond, le frein de chaine ne peut etre activé que par inertie.

Ma main active-t-elle toujours le frein de chaine en cas de rebond?
Non. Il faut une certaine force pour pousser la protection anti-rebond vers l'avant. Si vous main ne fait qu'effleurer la protection anti-rebond ou glisse dessus, la force peut ne pas suffire pour déclencher le frein de chaîne. Vous doivent aussi tener fermement la poignée de la tronçonneuse quand vous travailliez. Ainsi, vous ne lâchez peut être jamais la poignée avant en cas de rebond et n'activé pas le frein de chaîne, ou n'activé pas le frein de chaîne avant que la tronçonneuse n'ait eu le temps de tourner sur une certaine distance. Dans un tel cas, il se peut que le frein de chaîne n'ait pas le temps d'arrêtter la chaîne avant qu'elle ne vous heures.
Certaines positions de travail empêchent aussi votre main d'atteindre la protection anti-rebond pour activer le frein de chaîne, quand la tronçonneuse est tenue en position d'abattage par exemple.
L'inertie du frein de chaine est-elle toujours activée en cas de rebond?
Non. Le frein doit fonctionner. Il est facile de tester le frein, voir les instructions au chapitre Contrôle, maintenance et entretien des équipements de sécurité de la tronçonneuse. Nous vous recommendons de le faire avant chaque journée de travail. Le rebond doit aussi être suffisamment violent pour activer le frein de chaîne. Si le frein de chaîne était trop sensible, il serait continulement activé, ce qui serait génant.
Le frein de chaine me protège-t-il toujours des blessures en cas de rebond?
Non. Tout d'abord, votre frein doit fonctionner pour assurer la protection souhaitée. Ensuite, il doit être activé comme déscrit ci-dessus pour arrêté la chaine en cas de rebond. Pour finir, le frein de chaine peut être activé mais si le guide-chaine est trop pres de vous, le frein peut ne pas avoir le temps de ralentir et arrêté la chaine avant que la tronçonneuse ne vous heures.
La seule façon d'éviter les rebonds et le danger qu'ils représentent est de faire attention et d'utiliser une méthode de travail correcte.
Blocage de l'accelération
Le blocage de l'accelération est concu pour empêcher toute activation involontaire de la commande de l'accelération. Quand le cliquet (A) est enforcé dans la poignée (= quand l'utilisateur tient la poignée), la commande de l'accelération (B) est libérée. Lorsque la poignée est relachée, la commande de l'accelération et le blocage de l'accelération reviennent à leurs positions initiales. Cette position signifie que la commande d'accelération est alors automatiquement bloquée sur le ralement.

Capeur de chaine
Le capteur de chaîne est construit pour rattraper une chaîne qui a sauté ou s'est brisée. Dans la plupart des cas, ces situations peuvent être évitées par une tension correcte de la chaîne (voir le chapitre Montage) et en entretenant correctement le guide et la chaîne (voir le chapitre Méthodes de travail).

Protection de la main droite
La protection de la main droite protège la main si la chaîne saute ou se casse et empêche les branchettes et brindilles de génér la prise sur la poignée arrrière.

Système anti-vibrations
La machine est équipée d'un système anti-vibrations concu pour assurer une utilisation aussi comfortable que possible.

Le système anti-vibrations réduit la transmission des vibrations de l'unité moteur/l'équipment de coupe à l'unité que constituent les poignées. Le corps de la tronçonneuse, y compris l'équipment de coupe, est suspendu à l'unité poignées par l'intémédiaire de blocs anti-vibrants.

Le sciage de bois durs (la plupart des feuillus) produit davantage de vibrations que celui des bois tendres (la plupart des conifères). Si la chaine est mal affuitede ou defectueuse (type inadéquat ou affutage défectieux), le taux de vibrations augmente.


AVERTISSEMENT! Une exposition excessive aux vibrations peut entrainer des troubles circulatoires ou nerveux chez les personnes sujettes à des troubles cardio-vasculaires. Consultez un médecin en cas de symptômes liés à une exposition excessive aux vibrations. De tels symptômes peuvent être: engourdissement, perte de sensibilité, chatouillements, picotements, douleur, faiblesse musculaire, décoloration ou modification epidermique. Ces symptômes affectent généralement les doigts, les mains ou les poignets. Ces symptômes peuvent être accentués par le froid.
Bouton d'arrêt
Le bouton d'arrêt est utilisé pour arrêter le moteur.

Silencieux
Le silencieux est concu pour réduire au maximum le niveau sonore et détourner les gaz d'échéppement loin de l'utilisateur.

AVERTISSEMENT! Les gaz d'échévement du moteur sont très chauds et peuvent contérer des étincelles pouvant provoquer un incendie. Par conséquent, ne jamais démarrer la machine dans un local clos ou à proximité de matérielux inflammables!
Dans les régions chaudes et sèches, les risques d'incendie sont élevés. Ces régions disposent parfois d'une législation spécifique qui exige que le silencieux (entre autres) soit équipé d'une grille antiflamme homologué.

Lors du montage de la grille, veillez à ce qu'elle soit placée dans la position ajustate. Utilise la clé mixte pour placer ou détacher la grille, si besoin est.
REMARQUE! Un silencieux devient très chaud en cours d'utilisation et le reste après l'arrêt. Cela est également vrai pour le régime au talenti. Soyez très attentif aux risques d'incendie, surtout quand vous manipulez des gaz et/ou des substances inflammables.

AVERTISSEMENT! N'utilisez jamais une tronconneuse dont le silencieux est absent ou défecteurs. Si le silencieux est défecteurs, le niveau sonore et le risque d'incendie augmentent considérablement. Veillez à-disposer des outils nécessaires à l'extinction d'un feu. N'utilisez jamais une tronconneuse dont la grille antiflamme est absent ou défecteurs si une grille antiflamme est obligatoire dans la zone où vous travailliez.
Équipement de coupe
Cette section explique comment, grâce à l'utilisation du bon équipement de coupe et grâce à un entretien correct:
Réduire le risque de rebond de la machine.
Réduit le risque de saut ou de rupture de chaine.
- Permet des performances de coupe optimes.
Augmenter la durée de vie de l'équipment de coupe.
- Évite l'augmentation du niveau de vibration.
Régles élémentaires
N'utiliser que l'équipement de coupe recommandé! Voir les instructions au chapitre Caracteristiques techniques.

- Veiller à ce que les dents de la chaîne soient toujours bien affuées! Suivre les instructions et utiliser le gabarit d'affutage recommendé. Une chaîne émoussée ou endommagée augmente le risque d'accidents.

- Veillez à travailler avec une épaissur de copeau correcte! Suivez les instructions et utilisez le gabarit d'épaissur de copeau recommandé. Une épaissur de copeau trop importante augmente le risque de rebond.

- Veiller à ce que la chaine soit toujours bien tendue! Une tension de chaine insuffisante augmente le risque de rupture de chaine ainsi que l'usure du guide, de la chaine et du pignon.


- Maintainir l'équipment de coupe bien lubrifié et bien entretenu! Un équipement insuffisamment lubrifié augmente le risque de rupture de chaîne ainsi que l'usure du guide, de la chaîne et du pignon.

Équipement de coupe anti-rebond

AVERTISSEMENT! Un équipement de coupe inapproprié ou une mauvaise combinaison guide-chaine/chaine augmente le risque de rebond! N'utilise que les combinaisons chaine et guide-chaine recommandées et respectez les instructions d'affutage. Voir les instructions au chapitre Caractéristiques techniques.
La seule manière d'éviter un rebond est de s'assurer que la zone de danger du nez du guide n'entre jamais en contact avec un objet.
L'utilisation d'un équipement de coupe avec fonction anti-rebond "intégrée" et un affutage et un entretien corrects de la chaîne permettent de réduire les effets de rebond.
Guide-chaine
Plus le rayon du nez est petit, plus la tendance au rebond est petite.
Chaine
Une chaîne compte un certain nombre de maillons, tant en modulo standard qu'en version anti-rebond.
IMPORTANT! Aucune chaîne n'élimine le risque de rebond.

AVERTISSEMENT! Chaque contact avec une chaine en rotation peut entrainer des blessures graves.
Terminologie concernant le guide-chaine et la chaine
Afin de maintainir toutes les fonctions de sécurité sur l'équipment de coupe, vous doivent remplaner les combinaisons chaîne/guide-chaine usées ou abimées par un guide-chaine et une chaine recommendés par Husqvarna. Voir le chapitre Caractéristiques techniques pour les combinaisons chaîne/guide-chaine recommendées.
Guide-chaine
- Longueur (poucesmc)

- Nombre de dents par pignon (T).

- Pas de chaîne (=pitch) (pouces). Le pignon du nez et le pignon d'entrainment doit correspond à l'espace entre les maillons.

- Nombre de maillons entraineurs (pce). La longueur du guide, le pas de chaine et le nombre de dents au pignondonnent un nombre déterminé de maillons entraineurs.

Jauge du guide-chaine (mm/pouces). Celle-ci doit correspondé à la jauge des mailons entraineurs de la chaine.

- Trou de graissage de chaine et trou du tendeur de chaine. Le guide-chaine doit correspondre au modele de tronconneuse.

Chaine
- Pas de chaîne (=pitch) (pouce)

Jauge du mailon entraineur (mm/pouces)

- Nombre de mailons entraineurs (pce)

Affutage et réglage de l'épaisseur du copeau de la chaine
Généralités concernant l'affutage des dents
N'utilise jamais une tronconenneuse dont les dents sont emoussées. Les dents de la chaîne sont considérées comme emoussées quand il faut forcer sur l'équipment de coupe pour qu'il traverse le bois et quand les copeaux sont très petits. Une chaîne très emoussaee ne produit pas de copeaux du tout, seulement de la poudre de bois.
- Une chaîne bien affuée avance tout seule dans le bois, laissant de gros et longs copeaux.

- La partie coupante de la chaîne consiste en un maillon coupant qui comporte une dont (A) et un limiteur d'épaisseur de copeau (B). La distance verticale entre ces éléments déterminé la profondeur de coupe.

Quatre dimensions doivent être prises en compte lors de l'affutage d'une dent.
1 Angle d'affutage

2 Angle d'impact

3 Position de la lime

4 Diametre de la lime ronde

Il est très difficile d'affuter correctement une chaîne de tronconneuse sans outils spéciaux. Nous recommendons donc d'utiliser notre gabarit d'affutage qui assure un affutage permettant une réduction du risque de rebond et des performances de coupe optimes.

Vous trouvrez les informations nécessaires pour l'affutage de la chaîne de votre tronçonneuse au chapitre Caracteristiques techniques.

AVERTISSEMENT! La tendance au rebond augmente considérablement si les instructions d'affutage ne sont pas respectées.
Affutage de la dent


Pour affuter une dent, une lime ronde et un gabarit d'affutage sont nécessaires. Vous trouvez des informations sur le diamètre de lime ronde et le gabarit d'affutage recommends pour la chaine de votre tronçonneuse au chapitre Caractéristiques techniques.



S'assurer que la chaîne est tendue. Une tension insuffisante rend la chaîne instable latéralement, génant ainsi l'affutage de la chaîne.


- Toujours limer de l'intérieur de la dent vers l'extérieur. Soulager la lime sur le mouvement de return. Commencer par limer toutes les dents du même côté, returner la tronconienne et limer de l'autre côte.

- Limer de manière à amener toutes les dents à la même hauteur. Si la hauteur de dent est inférieure à 4 mm (0,16"), la chaîne est usée et doit être replacée.


Généralités sur le réglage de l'épaissur du copeau
- Quand la dont est affuitede, l'epaiseur du copeau (=profondeur de coupe) diminue. Pour conserver une capacite de coupe maximale, le limiteur d'epaiseur du copeau doitetre abaisse au niveau recommende. Voir trouvezez I'epaiseur de copeau recommende
pour la chaîne de votre tronçonneuse au chapitre
Caracteristiques techniques.


AVERTISSEMENT! Une épaisseur de copeau excessively augmente la tendance au rebond de la chaine!
Réglage de l'épaissur du copeau


- Le réglage de l'épaissur du copeau doit être effectué sur des dents nouvellement affuées. Nous recommendons de régler l'épaissur du copeau tous les trois affutages de chaine. REMARQUE! Cette recommandation suppose que les dents n' ont pas été anormalement réduites lors de l'affutage.
- Pour le réglage de l'épaissur du copeau, une lime plate et un gabarit d'épaissur sont nécessaires. Nous vous recommendons d'utiliser notre gabarit d'affutage pour l'épaissur afin d'obtenir l'épaissur souhaitée et le bon angle pour le limiteur d'épaissur du copeau.



- Mettez le gabarit d'affutage sur la chaîne. Vous trouvrez des informations sur l'utilisation du gabarit d'affutage sur l'emballage. Utilisez une lime plate pourretirer l'excess sur la partie qui dépasse du limiteur d'épaissur du copeau. L'épaisseur est correcte quand vous pouvez passer la lime sur le gabarit sansressentir de résistance.

Tension de la chaine



AVERTISSEMENT! Une tension insuffisante de la chaine augmente le risque que la chaine saute et donc de blessures graves, voire mortelles.
Plus on utilise une chaîne, plus elle s'allonge. L'équipement de coupe doit être réglée après une telle alétration.
La tension de la chaîne doit être contrôle après chaque plein d'essence. REMARQUE! Une nouvelle chaîne exige une période de rodage durant laquelle il faudra vérifier la tension plus souvent.
En règle générale, il faut tendre la chaine au maximum, mais pas au point de ne plus pouvoir la faire tourner manuelle.

435

- Dévisser l'écrou du guide-chaine fixant le carter d'embrayage/frein de chaine. Utiliser la clé universelle. Serrer ensuite à fond et manuellement l'écrou du guide-chaine.

- Soulever lenez du guide et tendre la chaîne en serrant la vis du tendeur de chaîne avec la clé universelle. Tendre la chaîne jusqu'à ce qu'elle ne soit plus molle sous le guide.

Utiliser la clé universelle pour serrer l'écrou du guide-chaine tout en tenant levé le nez du guide. Contrcler que la chaine peut tourner manuellement et qu'elle ne pend pas sous le guide.


L'emplacement de la vis du tendeur de chaîne varie avec les modèle de tronconiennes. Voir le chapitre Quels sont les composants? pour savoir où elle se trouvre sur votre modele.
435e, 440e

Libérer le bouton en le dépliant.

- Tourner le bouton dans le sens contraire des aiguilles d'une montre pour libérer le couvercle du guide.

- Régler la tension de la chaîne en tournant la manette vers le bas (+) pour augmenter la tension ou vers le haut (-) pour relâcher la tension.

- Serrer l'embrayage du guide en tournant le bouton dans le sens des aiguilles d'une montre.

Rabattre bouton pour verrouiller la tension de chaîne.

Lubrification de l'équipement de coupe

AVERTISSEMENT! Une lubrication insuffisante de l'equipement de coupe augmente le risque de rupture de chaine et donc de blessures graves, voire mortelles.
Huile de chaîne de tronçonneuse
L'huile de chaine doit bien adhérer à la chaine et posseder d'excellentes qualités de fluidité par tous les temps, aussi bien en été qu'en hiver.
En tant que constructeur de tronconiennes, nous avons développé une huiè de chaîne optimale à base d'huîle végétale. Nous recommendons l'utilisation de cette huiè pour une durée de vie maximale de la chaîne et pour la protection de l'environnement. Si notre huiè de chaîne n'est pas disponible, nous recommendons l'utilisation d'une huiè de chaîne ordinaire.
Ne jamais utiliser de l'huile usagée! Cela représenté un danger pour vous, pour la machine et pour l'environnement.
IMPORTANT! Si de l'huile de chaîne végétale est utilisée, démontez et nettoyez la gorge du guide-chaine et la chaîne avant de les remiser pour une période prolongée. Si vous ne le faites pas, l'huile de chaîne risque de s'oxyder et la chaîne pourrait se raidir et le pignon du nez gripper.
Remplissage d'huile de chaine
- Toutes nos tronconneuses sont dotées d'un dispositif de lubrification automatique de la chaîne. Certains modèles ont également un début régable.

Le réservoir d'huile de chaîne et le réservoir de carburant sont dimensionnés pour que le carburant prenne fin avant l'huile de chaîne.
Cette fonction de sécurité suppose l'utilisation d'une huile de chaine appropriée (une huile trop fluide viderait le réservoir d'huile avant l'esence), un réglage correct du carburateur (un réglage trop pauvre empêcherais le carburant de sépésuer avant l'huile) et un équipement de coupe bien choisi (un guide-chaine long demande davantage d'huile de chaine).
Contrôle de la lubrification de la chaîne
- Vérifier la lubrification à chaque plein d'essence. Voir les instructions au chapitre Lubrification du pignon de nez du guide-chaine.
Diriger le nez du guide sur un objet fixe clair à une distance de 20 cm (8 pôues). Àpres 1 minute de marche à 3/4 de régime, l'objet clair doit nettementprésenter un film d'huile en forme de ruban.

En cas de mauvais fonctionnement de la lubrication de la chaine:
- Vérifier que le canal de graissage du guide-chaine est bien ouvert. Le nettoyer au besoin.

S'assurer que la gorge du guide est propre. La nettoyer au besoin.

Vérifier que le pignon du nez tourne librement et que l'orifice de graissage est propre. Nettoyer etGRAisser au besoin.

Si, après les contrôle et mesures ci-dessus, la lubrification de la chaîne n'est always pas satisfaisante, s'accuser obligatoirement à un atelier spécialisé.
Pignon d'entrainment


Le tambour d'embrayage est muni de l'un des pignons d'entrainment suivants:
A Spur (soudé sur le tambour)
B Rim (remplaçable)

A

B
Vérifier régulièrement le degré d'usure du pignon. Le remplacer en cas d'usure excessive. Le pignon doit être remplaced en même temps que la chaîne.
Graissage du roulement à aiguilles

L'arbre de sortie de ces deux types de pignons d'entraînement de chaîne est doté d'un roulement à aiguilles qui doit être graissé régulièrement (1 fais par semaine). REMARQUE! Utiliser de la graissée pour paliers de bonne qualité ou de l'huile moteur.
Voir les instructions au chapitre Entretien, Braissage du roulement à aiguilles.
Contrôle de l'usure de l'équipement de coupe


Vérifier quotidiennement l'etat de la chaîne et s'assurer:

- Que les rivets et les maillons ne comportent pas de fissures.
- Que la chaine n'est pas raide.
- Que les rivets et les maillons ne sont pas anormalement usés.
Jetez la chaîne si un des points ci-dessus est vérifié.
Il est recommandé de comparer avec une chaîne neue pour évaluer le degré d'usure.
Si la hauteur de dent est inférieure a 4mm (0,16 pouce), la chaine est usee et doitetre replacee.
Guide-chaine



Vérifier régulierement:
- Qu'il n'y a pas de Bavures sur les cots exterieurs de la gorge. Les limer au besoin.


- Que la gorge du guide n'est pas anormalement usée. Remplacer le guide si nécessaire.

- Que le nez n'est pas anormalement ou irrégulièrement use. Si un creux s'est formé à l'extrémité du rayon du nez (bord inférieur), la chaîne n'était pas suffisamment tendue.

- Retourner le guide quotidiennement pour assurer une durée de vie optimale.


AVERTISSEMENT! La plupart des accidents survient quand la chaine de la trogonnese touche l'utilisateur.
Utiliser les équipements de protection personnelle. Voir au chapitre Equipement de protection personelle.
L'utilisateur se doit d'éviter tous les travaux pour lesquels il se sent mal préparé. Voir aux chapitres Equipement de protection personnelle, Mesures anti-rebond, Equipement de coupe et Méthodes de travail.
Éviter les situations susceptibles de provoquer des rebonds. Voir le chapitre Equipement de sécurité de la machine.
Utiliser les équipements de coupe recommandés et en vérifier le bon état. Voir le chapitre Méthodes de travail.
Vérifier le bon fonctionnement des équipements de sécurité de la tronconneuse. Voir aux chapitres Méthodes de travail et Instructions générales de sécurité.
Montage du guide-chaine et de la chaine



AVERTISSEMENT! Utiliser des gants pour toute manipulation de la chaine.
435
S'assurer que le frein de chaîne ne s'est pas déclenché en amenant l'arceau protecteur contre l'étrier de la poignée avant.

Dévisser l'écrou du guide-chaine et retirer le carter d'embrayage (frein de chaine). Déposer la protection de transport (A).

Monter le guide-chaine sur le boulon du guide. Placer le guide sur sa position la plus reculée. Placer la chaine sur le pignon d'entrainment et dans la rainure du guide-chaine. Commencer par le dessus du guide-chaine.

S'assurer que la face tranchante des dents est vers l'avant sur le dessus du guide.
Monter le carter d'embrayage et veillez à placer le goujon de tension de la chaîne dans l'ouverture du guide.
S'assurer que les maillons d'entrainment s'engage dans le pignon et que la chaine est correctement placée dans la gorge du guide. Serrer l'éacute;crou du guide à la main.
Tendre la chaîne en tournant la vis du tendeur de chaîne vers la droite à l'aide de la clé universelle. Tendre la chaîne jusqu'à ce qu'elle ne pende plus sous le guide.

La chaîne est tendue correctement quand elle nePEND pas sous le guide et peut toutes être avancée à la main sans difficulté. Serrer l'écrou du guide-chaine avec la clé universelle tout en maintainant reliéve le nez du guide.

La tension d'une chaîne neuve doit être vérifiée réquémment pendant son rodage. Vérifier régulièrement la tension. Une tension correcte est synonyme deonne capacité de coupe et de longue durée de vie.

435e, 440e
S'assurer que le frein de chaîne ne s'est pas déclenché en amendant l'arceau protecteur contre l'étrier de la poignée avant.

MONTAGE
Desserrer le galet de tension de la chaine et retirer le carter d'embrayage (frein de chaine). Retirer la protection de transport. (A)

Positionner le guide-chaine sur les écrous et l'amener à sa position la plus reculée. Placer la chaine sur le pignon d'entrainment et dans la gorge du guide-chaine.
Commencer par le dessus du guide.

S'assurer que la face tranchante des dents est vers l'avant sur le dessus du guide.
Monter le carter d'embrayage et veillez à placer le goujon de tension de la chaîne dans l'ouverture du guide.
S'assurer que les maillons d'entraineusement s'engage dans le pignon et que la chaine est correctement placée dans la gorge du guide.
Serrer la chaine en tournant la manette vers le bas La chaine doit être tendue jusqu'à ce qu'elle ne pende plus sous le guide.

La chaîne est tendeu correctement quand elle nePEND plus sous le guide et peut encore être tournée facilement à la main. Tener le nez du guide et serrer l'embrayage du
guide en tournant la manette dans le sens contraire des aiguilles d'une montre.

La tension d'une chaîne neuve doit être vérifiée réquement pendant son rodage. Vérifier régulièrement la tension. Une tension correcte est synonyme deonne capacité de coupe et de longue durée de vie.

Carburant
Remarquel La machine est équipée d'un moteur deux temps et doit toujours être alimentée avec un mélange d'essence et d'huile deux temps. Afin d'assurer un rapport de mélange correct, il est important de mesurer avec précision la quantité d'huile à mélanger. Pour le mélange de petites quantités de carburant, même de petites erreurs au niveau de la quantité d'huile affectent sérieusement le rapport du mélange.

AVERTISSEMENT! Veiller à une bonne aération pendant toute manipulation de carburant.
Essence

Utiliser une essence de qualite, sans plomb.
- REMARQUE! Les moteurs équipés d'un pot catalytique nécessitent un mélange d'huile et d'essence sans plomb. Une essence au plomb détruirait le pot catalytique et le fonctionnement serait inexistant. Un bouchon de réservoir vert sur les tronconnées à pot catalytique indique que seule de l'essence sans plomb doit être utilisée.
L'indice d'octane le plus bas recommandié est de 87 ((RON+MON)/2). Si le moteur utilise une essence d'un indice d'octane inférieur à 87, des cognements risquent de se produit. Ceci résultat en une augmentation de la température du moteur et une charge élevée au niveau des paliers pouvant causer de graves avaries moteur.
Pour les travaux utilisant un régime élevé contin (l'élagage, par ex.), il est recommendé d'utiliser un taux d'octane supérieur.
Carburant ecologique
HUSQVARNA recommande l'utilisation d'essence respectuee de I'environnement (appelée carburant Alkylate) soit une essence respectuee de I'environnement pour moteurs a quatre temps mélangée avec de I'huile à deux temps selon les proportions individues ci-dessous. Noter qu'un réglage du carburateur peut s'avérer nécessaire en cas de changement de type d'essence (voir les indications sous le titre Carburateur).
Rodage
La conduite à un régime trop élevé pendant de longues période doit être évitée pendant les 10 premières heures.
Huile deux temps
Pour obtenir un fonctionnement et des résultats optimaux, utiliser une huile moteur deux temps HUSQVARNA fabriquée spécialement pour nos moteurs deux temps à refroidissement à air.
- Ne jamais utiliser d'huile deux temps pour moteurs hors-bord refroidis par eau, appelée huile outboard (désignation TCW).
- Ne jamais utiliser d'huile pour moteurs à quatre temps.
Rapport de melange
1:50 (2%) pour tous les moteurs.
| Essence, litres | Huile deux temps, litres |
| 2% (1:50) | |
| 5 | 0,10 |
| 10 | 0,43/0,20 |
| 15 | 0,30 |
| 20 | 0,40 |
| US gallon | US fl. oz. |
| 1 | 2 1/2 |
| 2 1/2 | 6 1/2 |
| 5 | 12 7/8 |
Mélange


- Mélangez toujours l'essence et l'huile dans un récipient propre approuvé pour l'essence.
- Toujours commencer par verser la moitié de l'essence à mélanger. Verser ensuite la totalité de l'huile. Mélanger en secouant le écipient. Enfin, verser le reste de l'essence.
- Mélanger (secouer) soigneusement le mélange avant de faire le plein du réservoir de la machine.
- Ne jamais préparer plus d'un mois de consommation de carburant à l'avance.
- Si la machine n'est pas utilisé pendant une longue période, vidanger et nettoyer le réservoir.
Huile pour chaine
- Il est recommandé d'utiliser une huile spéciale (huile pour chaîne) possédant de bonnes qualités d'adhérence pour la lubrification.

- Ne jamais utiliser d'huile usagée. Ceci endommagerait la pompé à huile, le guide-chaine et la chaîne.
- Il est important d'utiliser une huile adaptée à la température de l'air (viscosité appropriée).
- Les températures inférieures à 0^ rendent certaines huiles visqueuses. Ceci peutencer une surcharge de la pompe à hule, endommageant les pieces de la pompe.
- Contacter l'atelier spécialisé pour obtenir des conseils sur le choix d'une huile de chaîne ajustée.
Remplissage de carburant


AVERTISSEMENT! Les mesures de sécurité ci-dessous réduisent le risque d'incendie:
Ne fumez jamais ni ne placez d'objet chaud à proximé du carburant.
Arrer le moteur et le laisser refroidir pendant quelques minutes avant de faire le plein.
Ouvrir le bouchon du réserve lentement pour laisser baisser la surpression pouvant regner dans le réserve.
Serrer soigneusement le bouchon du réservoir après le remplissage.
Toujours éloigner la machine de l'endetroit où le plein a été fait avant de la metre en marche.
Essuyer le pourtour des bouchons des réservoirs. Nettoyer régulièrement les réservoirs de carburant et d'huile pour chaine. Remplacer le filtré à carburant au moins une fois par an. Des impuretés dans les réservoirs sont causes de mauvais fonctionnement. Veiller à atteindre un mélange homogène en secouant le recipient avant de replir le réservoir. Les contenances des réservoirs de carburant et d'huile pour chaine sont adaptées l'une à l'autre. Tous jours faire le plein des réservoirs de carburant et d'huile à la même occasion.



AVERTISSEMENT! Le carburant et les vapeurs de carburant sont extrémement inflammbables. Observer la plus grande prudence en manipulant le carburant et l'huile de chaine. Penser au risque d'explosion, d'incendie ou d'empoisonnement.
Sécurité carburant
- Ne jamais effectuer le replissage de la machine lorsque le moteur tourne.
-
Veiller à une bonne aération lors du replissage et du mélange de carburant (essence et huile 2 temps).
-
Avant demettre la machine en marche,la déplacer au moins 3 mètres de l'endetroit où a été fait le plein.

- Ne jamais démarrer la machine:
1 Si du carburant ou de l'huile de chaine ont eté repandus sur la machine. Essuyer soigneusement toute trace et laisser les restes d'essence s'évaporer.
2 Si vous avez renversé du carburant sur vous ou sur vos vêtements, changez de vêtements. Lavez les parties du corps qui ont ete en contact avec le carburant. Utilisez de I'eau et du savon.
3 S'il y a fuite de carburant. Vérifier régulièrement que le bouchon du réservoir et la conduite de carburant ne fuent pas.

AVERTISSEMENT! N'utilisez jamais une machine représentant des dommages visibles sur la protection de bougie et sur le cable d'allumage. Des étincelles poursaient être générées et provoquer un incendie.
Transport et rangement
- Remiser la tronconenneuse et le carburant de sorte que ni fuiites ni émanations ne puissant entrez en contact avec une étincelle ou flamme. Par exemple machines électriques, moteurs électriques, contacteurs ou interrupteurs électriques, chaudières, etc.
- Lors du remisage du carburant, n'utiliser que des recipients spécialement destinés à contir du carburant.
- En cas de longues périodes de remisage ou de transport de la tronconnese, les réservoirs de carburant et d'huile devont être vidés. Pour se débarrasser du surplus, s'adresser à la station-service la plus proche.
- Avant de remiser la machine pour une période prolongée, veiller à ce qu'elle soit bien nettoyée et que toutes les mesures d'entretien aient etestéffectées.
- La protection pour le transport doit toujours être montée sur l'équipment de coupe au cours du transport et du remisage de la machine, pour éviter tout contact involontaire avec la chaîne acérée. même une chaîne immobile peut blesser gravement la personne qui la heures.
- Retirer le capuchon de la bougie. Activer le frein de chaîne.
Remisage prolongé
Videz les réservoirs de carburant et d'huile dans un endroit bien aéré. Conservez le carburant dans des bidons approuvés dans un endroit sur. Montez la protection du guide-chaine. Nettoyez la machine. Voir les instructions au chapitre Schema d'entretien.
Démarrage et arrêt

AVERTISSEMENT! Contrôle les points suivants avant la mise en marche:
Le frein de chaine doit être activé lors du démarriage de la tronconienne afin de réduire le risque de contact avec la chaine en rotation.
Ne pas démarrer la tronçonneuse si le guide, la chaine et tous les capots ne sont pas montés. Sinon, l'embrayage risque de se detacher et de cause des blessures personnelles.
Placer la machine sur un support stable. Veiller à adopter une position stable et à ce que la chaine ne puisse pas entraîre en contact avec quoi que ce soit.
Veiller à ce qu'aucune personne non autorisée ne se trouve dans la zone la travail.
Ne jamais enrouler la corde du lanceur autour de la main.
Demarrage
Le frein de chaine doit être activé lors du démarrage de la tronçonneuse. Activer le frein de chaine en poussant l'arceau protecteur vers l'avant.

Moteur froid
Position de démarrage (1) Mettez l'interrupteur marcher/arrêt en position starter en tirant la commande rouge vers l'extérieur - vers le haut.
Pompe à carburant (2): Appuyer plusieurs fois sur la poche en caoutchouc de la pompé à carburant jusqu'à ce que le carburant remplisse la poche (env. 6 fois). Il n'est pas nécessaire de replir la poche complètement.

Saisissez la poignée avant de la main gauche. Maintenez la tronconneuse au sol en plaçant votre pied droit dans la poignée arrirée.
Tirer la poignée du lanceur (3): saisisse la poignée du lanceur de la main droite, tirez la corde du lanceur lentement jusqu'à partir une résistance (les cliquets se mettent en prise). Tiriez ensuite rapidement et fermement jusqu'au démarrage du moteur.
Enoncez la commande rouge du starter (4): Dès que le moteur s'allume, en émettant alors un bruit de «soufflement», enforcez la commande rouge du starter.
Tirer la poignée du lanceur (5): Continuez de tirer le lanceur avec force jusqu'à ce que le moteur démarre.
Moteur chaud
Position de démarrage (1) Un ralenti accéléré combiné au starter ajusté que pour un démarrage à chaud est obtenu en bougeant tout d'abord la commande de starter en tirant la commande rouge vers le haut et vers le bas.
Pompe à carburant (2): Appuyer plusieurs fois sur la poche en caoutchouc de la pompe à carburant jusqu'à ce que le carburant replissée la poche (env. 6 fois). Il n'est pas nécessaire de replir la poche complètement.
Enoncez la commande rouge du starter (4): Cette manoeuvre désactive le starter, ce qui n'est pas nécessaire pour demarrer une tronconneuse à chaud. Toutefois, le mouvement de l'interrupteur marche/arrêt aura engagé un ralenti, facilitant ainsi un démarrage à chaud.
Tirer la poignée du lanceur (5): Saisissez la poignée avant de la main gauche. Maintenez la tronconneuse au sol en plaçant votre pied droit dans la poignée arrière.






Warm=①②④⑤
Saisissez la poignée du lanceur de la main droite, tirez la corde du lanceur lentement jusqu'à partir une résistance (les cliquets se mettent en prise). Tirez ensuite rapidement et fermement jusqu'à demarrage du moteur.
Le frein de chaîne étant encore activé, le régime du moteur doit être mis sur le ralenti au plus vite en déconnectant la gachette d'accélération. Il convient pour ce faire de presser très légèrement la gachette d'accélération. L'on évite ainsi toute usure inutil de l'embayage, du tambour d'embarayage et de la bande de frein. Laisser la machine tourner au ralenti pendant quelques minutes avant de donner les pleins gaz.

Le bord arrirée de la tronçonneuse(A) comporte un rappel simple des instructions de démarrage avec des illustrations dérivant les différentes étapes.
REMARQUE! Ne pas sortir complètement la corde du lanceur et ne pas lâcher la poignée avec la corde du lanceur complètement sortie. Cela pourrait endommager la machine.

Remarque! Tirer l'arceau protecteur vers la poignee avant. Le frein de chaine est alors libre. La tronconneuse est maintainant prete a etre utilisée.


AVERTISSEMENT! Une inhalation prolongée des gaz d'échéappement du moteur, du brouillard d'huile de chaîne et de la poussière de copeaux peut constituer un danger pour la santé.
- Ne jamais demarrer une tronconenneant que le guide, la chaine et tous les capots n'ont pas eté mis en place correctement. Voir les instructions au chapitre Montage. Si le guide et la chaine ne sont pas montés sur la tronconenne, l'accouplément peut se détacher et cause des dommages graves.

- Le frein de chaîne doit être activé quand la tronconseuse est démarrée. Voir les instructions au chapitre Démarriage et arrêt. Ne démarrez jamais la tronconseuse en l'air. Cette méthode est très dangereuse car il est facile de perdre le contrôle de la tronconseuse.

- Ne jamais mettre la machine en marche à l'intérieur. Les gaz d'échéppement du moteur sont nocifs.
S'assurer que la zone de travail est bien dégagée et qu'aucune personne et chaque animal ne risquent d'entre en contact avec l'équipement de coupe.

- Tenez toutes la tronconneuse à deux mains. Tenez la main droite sur la poignée arrrière et la main gauche sur la poignée avant. Tous les utilisateurs, droitiers et gauchers, doivent la tener ainsi. Tenez fermement en entourant la poignée de la tronconneuse avec les pouces et les autres doigs.

Pour découpler le frein de chaîne, il convient de pousser la protection anti-rebond marquee "PULL BACK TO RESET" en arrêtre, contre la poignée avant.
Arret

Pour arrêté le moteur, appuyer sur le bouton marche/arrêt. REMARQUE! Le bouton marche/arrêt returnne automatiquement en mode de conduite. Afin d'éviter tout démarrage accidentel, toujours图纸er le capuchon de la bougie quand la machine n'est pas sous surveillance.


Avant cheque utilisation:

1 Contrôler que le frein de chaine fonctionne correctement et n'est pas endommagé.
2 Contrôler que la protection arrêté de la main droite n'est pas endommagée.
3 Contrôler que le blocage de l'accelération fonctionne correctement et n'est pas endommagé.
4 Contrôlez que l'interrupteur d'arrêt fonctionne correctement et est en bon état.
5 Contraler que toutes les poignées ne comportent pas d'huile.
6 Contrôler que le système anti-vibrations fonctionné correctement et n'est pas endommagé.
7 Contrôler que le silencieux est bien attaché et qu'il n'est pas endommagé.
8 Contrôler que tous les éléments de la tronconneuse sont serrés et qu'ils ne sont ni endommagés ni absents.
9 Contrôler que le capteur de chaine est bien en place et qu'il n'est pas endommagé.
10 Contrôlez la tension de la chaîne.
Méthodes de travail
IMPORTANT!
Ce chapitre concerne les mesures élémentaires de sécurité en utilisant la tronçonneuse. Mais aucune information ne peut remplacer l'expérience et le savoir-faire de l'opérateur. En cas de doute ou de difficulté, il est recommandé de s'adresser à un spécialiste, soit le concessionnaire habituel, soit l'atelier le plus proche, soit enfin un professionnel experimenté (consulter l'annuaire du téléphone à la rubrique exploitation forestière). Eviter tout employe de la tronçonneuse pour lequel on ne se sent pas suffisamment qualifié!
Avant d'utiliser la troconneuse, il convient de comprendre le phénomène de rebond et de savoir comment l'évitier. Voir au chapitre Mesures anti-rebond.
Avant d'utiliser la tronçonneuse, il faut connaître les différences entre les deux méthodes de sciage: sciage avec la partie supérieure ou sciage avec la partie inférieure de la chaîne. Voir les instructions aux chapitres Mesures anti-rebond et Equipement de sécurité de la machine.
Utiliser les équipements de protection personnelle. Voir au chapitre Equipement de protection personnelle.
Règles élémentaires de sécurité
1 Bien observer la zone de travail:
- S'assurer qu'aucune personne, aucun animal ou aucun autre facteur ne risque de gérer l'utiliser de la machine.
S'assurer que les susonnements ne risquent pas d'entre en contact avec la chaine de la tronconneuse ou d'être blessés par la chute de l'arbre coupé.

REMARQUE! Observer les règles ci-dessus mais ne jamais utiliser une tronçonneuse sans s'assurer la possibilité de pouvoir appeler à l'aide en cas d'accident.
2 Ne pas travailler par mauvais temps: brouillard épais, pluie diluvienne, vent violent, grand froid, etc. Travailler par mauvais temps est cause de fatigue et peut même être dangereux: sol glissant, direction de chute d'arbre modifiée, etc.
3 Observer la plus grande prudence en élaguant les petites branches et éviter de scier un bosquet (ou plusieurs branchettes en même temps). Les branchettes peuvent se coincer dans la chaîne, être projetées vers l'utilisateur et cause des blessures personnelles graves.
4 S'assurer de pouvoir se tenir et se déplacer en toute sécurité. Repérer les événuels obstacles en cas de déplacement imprévu: souches, pierres, branchages, fondrières, etc. Observer la plus grande prudence lors de travail sur des terrains en pente.

5 Observer la plus grande prudence lors de l'abattage des arbres sous tension. Avant et après le sciage, les arbres sous tension risquent de brutalement retrouver leur position initiale. Un mauvais placement de l'utilisateur ou de l'entaille d'abattage peut entraîner un chic avec l'arbre pouvant résultat en une chute ou en une perte du contrôle de la machine. Ces deux cas de figure sont susceptibles de provoquer des blessures graves.


Pour se déplacer, bloquer la chaîne avec le frein de chaîne et couper le moteur. Porter la tronçonneuse avec le guide et la chaîne tournés vers l'arrière. Pour un transport prolongé, utiliser le fourreau du guide-chaîne.

7 Quand vous posez la tronconenneuse par terre, bloquez la chaîne avec le frein de chaîne et voirlez à tous jours voir la machine. Coupetz derniers le moteur en cas de 'stationnement' prolongé.
Règles élémentaires
1 En complRent an quoi consiste et comment se produit un rebond, il est possible de limiter et meme d'éliminer l'effet de surprise qui augmente le risque d'accident. La plupart des rebonds sont courts, mais certains peuvent être extrémement rapides et violents.
2 Toujours tenir la tronconneuse fermement des deux mains, la main droite sur la poignée arrêté, la gauche sur la poignée avant. Tenir les poignées solidement avec les doits et le pouce. Toujours tenir la tronconneuse dans cette position, que l'on soit droitier ou gaucher. Une prise solide aide à maîtriser les rebonds et à mistréchner la tronconneuse. Ne pas lâcher les poignées!

3 La plupart des accidents dus à un rebond se produisent lors de l'élagage. Se tenir fermement sur les jambes et s'assurer que la zone de travail est bien dégagée pour ne pas risquer de trèbucher ou de perdre l'équilibre.
Par manque d'attention, la zone de rebond du nez du guide peut buter sur une souche, un rondin, une branche ou un arbre voisin et occasionner un rebond.

Gardez le contrôle de la pièce de travail. Si les pièces que vous sciez sont petites et légères, elles peuvent se coincer dans la chaîne et être projetées sur vous. Meme si cela n'est pas dangereux en soi, vous pouze être surprise et perdre le contrôle de la tronçonneuse. Ne sciez jamais des branches ou des billes empilées sans les séparer. Sciez seulement une bille ou un morceau à la fois. Retirrez les morceaux sciers pour que votre zone de travail reste sure.

4 Ne jamais se servir de la tronconneuse à un niveau trop élevé, plus haut que les épaules, et évitier de couper avec la pointe du guide-chaine. Ne jamais tenir la tronconneuse d'une seule main!

5 Afin de conserve r le contrôle de la tronconenneuse, toujours conserve une position stable. Ne jamais travailler sur une échelle, dans un arbre ou sur tout autre support ne garantissant pas une bonne sécurité.

6 Toujours travailler à la vitesse maximale, c'est à dire à plein régime.
7 Observer la plus grande prudence en utilisant le tranchant supérieur du guide-chaine, c'est a dire en sciant la pierce par en dessous (de bas en haut). Ceci s'appelle travailler en pousse. La force reactionnelle de la chaine pousse la tronconneuse vers l'utilateur.
Si la chaine se coince, la tronçonneuse peut être rejetée contre vous.

8 Il importe de résister à la poussée en arrêt du guide-chaine. En effet, si le guide-chaine est repoussé suffisamment en arrêt pour que la zone de rebond dunez se trouve en contact avec l'arbre, un rebond peut se produit.

Le tronconnage avec la partie inférieure de la chaine, c'est à dire par dessus (de haut en bas), s'appeille méthode "poussée". La tronconnese est attirée vers l'arbre et le bord avant de la tronconnese devient un appui naturel contre l'arbre. Dans ce cas, l'utiliseur contrôle比较好 à la fois sa tronconnese et la zone de rebond du nez.

9 Suivre les instructions du fabricant relatives à l'affutage et à l'entretien. Lors du remplacement du guide et de la chaine, n'utiliser que les combinaisons chaine et guide-chaine recommendées. Voir aux chaprites Equipement de coupe et Caracteristiques techniques.
Technique de base pour la coupe

AVERTISSEMENT! N'utilise jamais une tronconenne en la tenants d'une seule main. Il n'est pas possible de controller correctement une tronconenne d'une seule main. Tenez toujours fermement les poignées des deux mains.
Généralités
- Toujours travailler à plein régime!
- Mettre le moteur au ralenti après chaque coupe (la maintenance du régime maximal hors charge, c'est a dire sans que le moteur ait à supporter le travail de la chaîne, risque d'endommager gravement le moteur).
- Scier de haut en bas = méthode "tirée"
- Scier de bas en haut = méthode "poussée".
Scier en utilisant la méthode "poussée" implique un risque accru de rebond. Voir au chapitre Mesures anti-rebond.
Terminologie
Sciage = consiste à scier le tronc de part en part.
Élagage = consiste à ébrancher un arbre abattu.
Fendage = consiste à casser la pierce avant que l'entaille ne soit terminée.
Avant toute opération de sciage, observer les cinq facteurs suivants:
1 Ne pas coincer l'outil de coupe dans l'entaille.

2 Ne pas casser la pièce en cours de sciage.

3 La chaine ne doit rencontres ni le sol ni tout autre obstaclependant ou après le sciage.

4 Y a-t-il risque de rebond?

5 L'aspect du site et du terrain peut-il gérer la sécurité de la position de travail et des déplacements?
Si la chaîne se coince ou si la pièce à scier se casse, cela dépend de deux raisons: le support de la pièce avant et après le sciage et l'état de tension de la pièce.
Il est en général possible d'éviter les inconvenients indiqués ci-dessus en effectuant le sciage en deux temps, soit de haut en bas, soit de bas en haut. Il s'agit alors de neutraliser la tendance naturelle de la pièce à coincer la chaîne ou à se fendre.
IMPORTANT! Si la chaîne se coince dans l'entaille, couper immédiatement le moteur! Ne pas tirer sur la tronçonneuse pour la dégager afin de ne pas se blesser à la chaîne au moment où la tronçonneuse se décoinc subitemet. Utiliser un bras de levier pour décoincer la tronçonneuse.
La liste suivante indique comment se tirer des situations les plus couramment rencontres par les utilisateurs de tronconiennes.
Élagage
Lors de l'élagage de branches épaisses, procédé comme pour le sciage ordinaire.
Couper les branches génantes par étapes, une par une.

Sciage

AVERTISSEMENT! N'essayez jamais de scier des billes empilées ou serrées les unes contre les autres. Vous augmenteriez considérablement le risque de rebond et de blessures graves et même mortelles.
Si vous avez une pile de billes, chaque bille à scier doit être retiree du ta, place sur un chevalet ou un autre support approprié etetre sciée séparation.
Retirez les morceaux sciers de la zone de travail. Si vous les laissiez dans la zone de travail, vous augmentez le risque de rebond accidentel et le risque de perdre l'équilibre quand vous travailliez.


Le tronc est couche a même le sol. Il n'y a aucun risque de coinçage de la chaîne ou de fendage de la pièce à scier. Par contre, il existe un risque important que la chaîne rencontres le sol après le sciage.

Couper le tronc de haut en bas. Faire attention à la fin de l'entaille pour éviter que la chaîne ne rencontres le sol. Maintenir le plein régime et se préparer à toute eventualité.

SiILA
tronc), interrompre de preferencia l'entaille aux 2/3 du tronc.
Retourner le tronc de maniere à pouvoir couper le 1/3 restant de haut en bas.



Une extrémité du tronc repose sur un support. Risque important de fendage.

Commencer par couper le tronc par en bas (environ 1/3 du diamètre).
Finir la coupe par en haut, de manière que les deux traits de coupe se rencontres.



Les deux extrémites du tronc reposent sur des supports. Risque important de coinçage de la chaîne.

Commencer par couper le tronc par le haut (environ 1/3 du diamètre).
Finir la coupe par en dessous, de manière que les traits de coupe se rencontres.



Techniques d'abattage
IMPORTANT! L'abattage d'un arbre demande beaucoup d'expérience. Un utilisateur non experimenté ne doit pas effectuer d'abattages. L'utilisateur se doit d'évitter toute utilisation qu'il ne maïtrise par suffisamment!
Distance de sécurité
La distance de sécurité à respecter entre un arbre à abattre et le lieu de travail doit être d'au moins 2 1/2 fois la hauteur de l'arbre. Veiller à ce personne ne se trouve dans la "zone dangereuse" avant et pendant l'abattage.

Sens d'abattage
Le but consiste à placer l'arbre abattu de façon à ce que l'ébranchage et le tronçonnage ultérieurs du tronc pouissant être effectuels sur un terrain aussi favorable que possible. Chercher à sécuriser au maximum la position de travail.
Après avoir décidé du sens d'abattage de l'arbre, déterminer dansquel sens l'arbre aura tendance à s'abattre naturellement.
Les facteurs déterminants sont:
L'inclinaison
La courbure
La direction du vent
La densité des branches
Le poids éventuel de la neige
- Obstacles autour de l'arbre: d'autres arbres, des lignes electriques, des routes et des batiments par examples.
- Observez si l'arbre est abimé ou pourri, car il risque alors de se rompre et de commencer à tomber plus tout que prévu.

Cette estimation peut amener à juger plus prudent de laisser l'arbre tomber dans son sens naturel de chute, soit que le sens d'abattage decideAAParavant soit impossible a obtenir, soit qu'il constitue un danger.
Un autre facteur important (qui n'a aucune incidence sur le sens d'abattage mais concerne la sécurité), est la présence eventuelle de branches mortes ou abimées qui, en se détachant, risquent de provoquer des blessures.
Il convient avant tout éviter que l'arbre abattu ne s'accroche à un autre arbre. Décrocher un arbre coincide dans un autre peut siencer très dangereux et présente un grand risque di'accident. Voir les instructions au chapitre Solution à un abattage rate.

IMPORTANT! Lors de délices opérations d'abattage, les protecteurs d'oreilles devront être retirés des la fin du tronçonnaffin que tout bruit ou signal d'avertissement puisse être entendu.
Émondage des branches basses et voie de retraite
Ébranchez le tronc jusqu'à hauteur d'épaule. Pour des raisons de sécurité, il est préférible de travailler de haut en bas avec le tronc entre la tronçonneuse et vous.

Dégager les taillis autour du tronc et éviter les obstacles tels que pierres, branches cassées, fondrières, etc. pour s'assurer d'une voie de retraite facile au moment de la chute. La voie de retraite doit être à 135^ derrière le sens de chute prévu de l'arbre.

Abattage

AVERTISSEMENT! Il est déconseilé aux utilisateurs non experimentés d'abattre un arbre dont le diamètre du tronc est supérieur à la longueur du guide-chaine!
L'abattage est constitué de trois entailles. On procède d'abord à l'encoche qui comprend une entaille supérieure et une entaille inférieure, puis à l'abattage propre dit grâce au trait de chute. Un emplacement correct de ces entailles permet de déterminer le point de chute de l'arbre de manière très précises.
Encoche
Pour effectuer l'encoche, commencer par l'entaille supérieure. Aligner la marque d'abstattage située la tronconneuse sur un but, plus loin sur le terrain, la où l'arbre doit tomber (2). Se tener a droite de l'arbre, derrière la tronconneuse et utiliser la méthode de sciage dite tirée.
Effectuer ensuite l'entaille inférieure de façon que les deux entailles correspondent.

L'encôche doit faire 1/4 du diamètre du tronc et l'angle entre les deux entailles doit être d'au moins 45^ .
La ligne de jointure entre les deux entailles s'appelle le trait de chute. Le trait de chute doit être horizontal et former un angle de 90^ avec le sens de chute prévu.

Trait de chute
Le trait de chute se fait de l'autre côté du tronc et doit être parfaitement horizontal. Se tener à gauche de l'arbre et utiliser la méthode tirée.
Placer le trait de chute à environ 3-5 cm (1,5-2 pouces) au-dessus du plan horizontal de l'encôche.

Le trait de chute doit s'achever parallèlement à l'encoche, l'espace entre les deux étant 1/10 du diamètre du tronc. La partie non coupée du tronc s'appeille la charnière.
La charnière guide le tronc dans la direction de chute.

Le contrôle de la direction de chute de l'arbre fonctionne mal si la charnière est trop petite ou coupée trop profondement ou si les deux entailles ne coïncident pas.

Une fois l'encoche et le trait de chute terminés, l'arbre commence à tomber de lui-même ou à l'aide d'un coin ou d'un bras de levier.

Nous recommendons une longueur de guide-chaine supérieure au diamètre du tronc, pour que le trait de chute et l'encoche soient réalisés d'un simple trait de scie. Vous trouvrez des informations sur les longueurs de guide-chaine recommendées pour leur modele de tronconneuse au chapitre Caracteristiques techniques.

Il existe des méthodes d'abattage spécifique pour les troncs dont le diamètre est supérieur à la longueur du guide-chaine. Ces méthodes comportent un risque important de chocol entre la zone de rebond du guide-chaine et un objet.

Solution à un abattage rate
Récupération d'un arbre accroché
Décrocher un arbre coincide dans un autre peut siavérer très dangereux et présente un grand risque diaccident.
N'essayez jamais de faire tomber un arbre qui s'est coince dans un autre.
Ne travailliez jamais sous un arbre abattu resté coincide dans un autre arbre.


Le plus sûr est d'utiliser un treuil.
Monté sur tracteur

Mobile

Sciage d'un arbre ou d'une branche plies
Préparations: Appréciar la direction dans laquelle l'arbre ou la branche est susceptible de se détendre, ainsi que son point de rupture (en cas de flexion supplémentaire).

S'assurer de pouvoir agir sans risque et déterminer si une solution de toute sécurité est possible. En cas de difficulté, le plus sur moyen est de ne pas se servir de la tronconneuse et d'avoir recours à un treuil.
Règles générales:
Se placer de façon à ne pas se trouver dans la trajectory de la branche/de l'arbre lors de la détente.

Faire plusieurs entailles à proximé du point de rupture en nombre et de profondeurs suffisants pour libérer la tension
Dans la branche/l'arbre et donc provoquer la cassure de la branche/de l'arbre au point de rupture.

Ne jamais scier de part en part un arbre ou une branche plies!
Si vous deveze sciez à travers l'arbre/la branche, faites trois découpes de 3 à 5 cm de profondeur à 3 cm d'intervalle.

Continuez à scier plus profondément jusqu'à ce que la tension de l'arbre/la branche se libère.

Sciez l'arbre/la branche sur le côté opposé une fois la tension libérée.
Mesures anti-rebond

AVERTISSEMENT! Un rebond peut'être soudain, rapide et violent et renvoyer la tronconnese, le guide-chaine et la chaine en direction de l'utilisateur. Si la chaine est alors en rotation, les blessures encourues sont graves et quelques mortelles. Il convient donc de comprendre les raisons d'un rebond afin de pouvoir éviter ce phénomène grâce à une bonne méthode de travail et un comportement prudent.
Qu'est-ce qu'un rebond?
Un rebond est la réaction de recul qui peut se produit quand le quart supérieur du nez du guide-chaine (la zone de rebond) touche un objetquelconque.


Le rebond se produit toujours dans le plan du guide-chaine. En général, tronconneuse et guide-chaine sont releves simultanément en direction de l'utiliseur.
Néanmoins, la direction du rebond peut varier suivant la
position de la tronconneuse au moment où la zone de rebond du guide-chaine touche un objet quelconque.

Le rebond ne peut se produit que quand la pointe ou nez du guide-chaine (zone de rebond) touche un objetquelconque.

Élagage

AVERTISSEMENT! La plupart des accidents de rebond se produit lors de l'ébranchage. N'utilisez pas la zone de rebond du guide. Soyez très prudent et évitez que le nez du guide n'entre en contact avec la bille, autres branches ou autres objets. Soyez particulièrement prudent avec les branches sous tension. Elles peuvent revenir vers vous et vous faire perdre le contrôle, ce qui pourrait entrainer des blessures.
Se tener bien d'aplomb et en position sure. Travailler depuis la gauche du tronc. Se tener aussi proche que possible de la tronconneuse pour mistriser. Si possible, prendre appui sur le tronc avec le corps de la tronconneuse.

Ne se déplacer qu'avac le tronc entre soi et la tronconenneuse.
Tronconnage en rondins
Voir les instructions au chapitre Technique de base pour la coupe.
Généralités
L'utilisateur ne peut effectuer que les travaux d'entretien et de révision décrits dans ce manuel d'utilisation. Les mesures plus importantes doivent être effectuées dans un atelier d'entretien/agree.
Réglage du carburateur
Votre produit Husqvarna a ete concu et fabriqu selon des specifications qui visent a reduire les émissions nocives.
Fonctionnement
Le carburateur déterminé le régime du moteur via la commande de l'accelération. C'est dans le carburateur que l'air est mélangié à l'essence. Ce mélange air/essence est régable. Pour pouvoir utiliser la puissance maximale de la machine, le réglage doit être correctement effectué.
- La vis T règle la position de la commande de l'accelération au ralenti. Si la vis T est tournée dans le sens des aiguilles d'une montre, on obtient un régime de ralenti plus haut; si she est tournée dans le sens contraire des aiguilles d'une montre, on obtient un régime de ralenti plus bas.
Réglage de base et rodage
Le réglage de base du carburateur est effectué à l'usine.
Le réglage de précision doit être effectué par un spécialiste.
Régime de ralenti recommende: Voir le chapitre
Caracteristiques techniques.
Réglage fin du ralenti T
Régler le ralenti à l'aide de la vis T. Si un réglage est nécessaire, visser d'abord la vis T à droite jusqu'à ce que la chaine commence à tourner. Ensuite, dévisser jusqu'à l'arrêt de la chaine. Un ralenti correctement régèle permet au moteur de tourner régulièrement dans toutes les positions en offrant une bonne marge avant la mise en rotation de la chaine.

AVERTISSEMENT! Si le réglage de ralenti est impossible sans que la chaine soit entrainée, contacter un atelier spécialisé compétent. Ne pas utiliser la tronconenne tant qu'elle n'est pas correctement régée ou réparée.
Carburateur correctement régle
Un carburateur correctement régle signifie que la machine répondromptement à une accélération et qu'elle fait des bulles à plein régime. De plus, la chaîne ne doit jamais tourner au ralenti. Si le pointeau L est régle trop pauvrement, les démarrages risquent d'être difficiles et les accélérations médiocres. Un pointeau H régle sur un mélange trop pauvre résultat en une perte de puissance de la machine, de mauvaises accélérations et/ou des déteriorations du moteur.
Contrôle, maintenance et entretien des équipements de sécurité de la tronçonneuse
Remarque! L'entretien et la réparation de la machine exigent une formation spéciale, et plus particulièrement l'équipment de sécurité de la machine. Si les contrôleurs suivants ne donnent pas un résultat positif, nous vous recommendons de prendre contact avec votre atelier d'entretien.
Frein de chaine avec arceau protecteur
Contrôle de l'usure du ruban de frein


Nettoyer le frein de chaîne et le tambour d'embrayage (sciure, résine, saletés). La saleté et l'usure comprompettent le bon fonctionnement du frein.

Vérifier régulièrement le ruban qui doit avoir au moins 0,6 mm d'épaissur à son point le plus use.
Contrôle de l'arceau protecteur


Vérifier que l'arceau est intact et sans aucun défaut apparent tel que fissures.

Actionner l'arceau d'avant en arrriere pour s'assurer qu'il se meut librement et qu'il est solidement fixé à son articulation dans le carter d'embrayage.

Contrôle de la fonction d'inertie

Posez la tronconenneuse avec le moteur arrêté sur une souche ou sur toute autre base stable. Relâchez la poignée avant et laissez la tronconenneuse tomber contre la souche de son propre poids, en pivotant autour de la poignée arrrière.

Dés que le nez du guide rencontre l'obstacle, le frein doit se déclencher automatiquement.

Contrôle de l'effet de freinage
Placer la tronçonneuse sur une surface solide et la mettre en marche. Vérifier que la chaîne ne touche pas le sol ou tout autre obstacle. Voir les instructions au chapitre Demarrage et arrêt.

Tenir fermement la tronconenneuse des deux mains, les doigts et le pouce épousant bien les poignées.

Donner le plein régime puis activer le frein de chaîne en pouissant le poignet gauche contre l'arceau protecteur.
Ne pas lâcher la poignée avant. La chaîne doit s'arrêté immeditatement.

Blocage de l'accelération

Vérifier d'abord que la commande de l'accelération est bloquée en position de ralenti quand le blocage de l'accelération est en position initiale.

- Appuyer sur le blocage de l'accelération et vérifier qu'il revient de lui-même en position initiale quand il est reliché.

- Vérifier que le blocage de l'accelération, la commande d'accelération et leurs ressorts de rappel fonctionnement correctement.

- Mettre la tronconenneuse en marche et accelerer au maximum. Lacher la commande de l'acceleration et s'assurer que la chaîne s'arrête et demeure immobile. Si elle tourne quand la commande est en position de ralenti, il convient de contrôler le réglage du ralenti du carburateur.
Capeur de chaine


Vérifier que le capteur de châne est en bon état et qu'il est bien fixé dans le corps de la tronçonneuse.

Protection de la main droite



S'assurer que la protection de la main droite est intacte et sans défauts visibles tels que fissures, etc.

Système anti-vibrations



Vérifier régulièrement l'etat des éléments afin de détecter fissures et déformations.

S'assurer que les éléments sont bien fixés entre le moteur et les poignées.

Bouton d'arrêt

Mettre le moteur en marche et s'assurer qu'il s'arrête lorsque le bouton d'arrêt est amné en position d'arrêt.

REMARQUE! Le bouton marche/arrêt returne automatiquement en mode de conduite. Afin d'eviter tout démarrage accidentel, toujours图纸 le capuchon de la bougie lors du montage, contrôle et/ou entretien.
Silencieux



Ne jamais utiliser une machine dont le silencieux est défectueux.

Vérifier régulierement la fixation du silencieux dans la machine.

Certsains silencieux sont munis d'une grille antiflamme.
Cette grille doit être nettoyée une fois parSEAime si la machine en est equipée. Utiliser de préfERENCE une brosse en acier. Un pare-étincelles colmaté risque de causer la surchauffe du moteur et de provoquer de sérieuses avaries du moteur.
Remarque! Remplacer la grille si elle est endommagée. Une grille encrasseee cause une surchauffe du moteur, entrainant des detériorations au niveau du cylindre et du piston. Ne jamais se servir d'une machine dont le silencieux est endommagé. Ne jamais utiliser un
silencieux sans grille antiflamme ou avec une grille antiflamme défecteurs.

Le silencieux est concu pour attenuer le bruit et dévier le flux des gaz d'échémpement loin de l'utilisteur. Ces gaz sont chauds et peuvent transporter des étin celles risquant de causeur un incendie si elles entrent en contact avec un matériel sec et inflammable.
Lanceur

AVERTISSEMENT! Le ressort de rappel est tendu et risque, en cas de manipulation imprudente, devoir du boitier et de causer des blessures.
Observe la plus grande prudence lors du remplacement du ressort de démarriage ou de la corde de lanceur. Utilise des lunettes et des gants de protection.
Remplacement de la corde du lanceur



- Déposer les vis maintainant le lanceur contre le carter moteur et sortir le lanceur.

- Tiner la corde d'environ 30 cm et la sortie de la gorge à la periphérique de la poulie. Mettre à zéro le ressort de rappel en laissant tourner prudemment la poulie en arrrière.


- Desserrer la vis au centre de la poulie et-retirer la roue entraineuse (A),le ressort entraineur (B) et la poulie (C). Installer et fixer une nouvelle corde sur la poulie.
Enrouler la corde d'environ 3 tours sur la poulie. Monter la poulie contre le ressort de rappel (D) de telle sorte que l'extrémité du ressort s'accroche dans la poulie. Monter ensuite le ressort entraîné, la roue entraînéuse et la vis au centre de la poulie. Passer la corde dans le trou du boîtier du lanceur et dans la poignée du lanceur. Faire un nœud robuste à l'extrémité de la corde.

Mise sous tension du ressort
- Placer la corde dans la gorge de la poulie et faire tourner la poulie d'environ deux tours dans le sens des aiguilles d'une montre.
Remarque! Veiller à ce que la poulie puisse effectuer un demi-tour supplémentaire avec la corde entierement déroulée.

Tendre la corde avec la poignée. Retirer le pouce et relâcher la corde. Voir la figure ci-dessous.


Remplacement d'un ressort entraineur ou d'un ressort de rappel



Sortir la poulie du lanceur. Voir au chapitre Remplacement de corde de lanceur rompue ou usee. Garder à l'esprit que le dessort de rappel se trouve a I'etat tendu dans le boitier du lanceur.
- Démonter la cassette avec le ressort de rappel hors du lanceur.
- Lubrifier le ressort de rappel avec de l'huile fluide. Monter la cassette avec le ressort de rappel dans le lanceur. Monter la poulie du lanceur et tendre le ressort de rappel.
Ressort entraineur (B)
- Desserrer la vis au centre de la poulie etsterolra roue entraineuse et le ressort entraineur.
- Remplacer le ressort entraineur et monter la roue entraineuse au dessus du ressort.

Montage du lanceur
Monter le lanceur en commençant par déviser la corde avant demettre le lanceur en place contre le carter moteur. Lachener ensuite la corde lentement pour permettre aux cliquets de s'enclencher dans la poulie.
- Mettre en place et serrer les vis de maintainen du lanceur.

Filtre à air


Le filtré à air doit être maintenu propre pour éviter:
- Un mauvais fonctionnement du carburateur
- Des problèmes de démarrage
Une perte de puissance - Une usure prématurée des éléments du moteur
- Une consommation anormalement élevé de carburant
- Pour déposer le filtré à air, commencer par-retirer le capot du filtré. Lors du remontage, veiller à assurer une bonne étanchéité entre le filtré à air et son support. Nettoyer le filtré en le tapotant ou à l'aide d'une Brosse.

Pour un nettoyage plus sérieux, laver le filtré à l'eau savonneuse.
Un filtré ayant servi longtemps ne peut plus être complètement nettoyé. Le filtré à air doit donc être remplaçé à intervalles réguliers. Tout filtré endommagé doit être remplaçé immédiameté.
Une tronconenne HUSQVARNA peut être équipée de différents types de filtré à air suivant le lieu de travail, le temps qu'il fait, la saisson, etc. Demandez conseil à votre revendeur.
Bougie

L'etat de la bougie dépend de:
L'exactitude du réglage du carburateur.
- Mauvais mélange de l'huile dans le carburant (trop d'huile ou huile inappropriée).
La propriete du filtré à air.
Ces facteurs peuvent concourir à l'apparition de calamine sur les electrodes, ce qui à son tour entraîne un mauvais fonctionnement du moteur et des démarrages difficiles.
Si la puissance de la machine est trop faible, si la machine est difficile àmettre en marche ou si le ralent est irregular, tousjournecommencer par contrôler l'etat de la bougie avant de prendereautresmesures. Si la bougie est encrassée, la nettoyer et vérifier que I'ecartement des electrodes est de 0,5 mm. Remplacer la bougie une fois par mois ou plus souvent si nécessaire.

Remarque! Toujours utiliser le type de bougie recommandé! Une bougie incorrecte peut endommager le piston/le cylindre. S'assurer que la bougie est dotée d'un antiparasites.
Graissage du pignon d'entrainment du guide



Lubrifier le pignon du guide à chaque plein d'essence. Utiliser pour cela une burette spéciale et uneGRAisse pour roulement de bonne qualite.

Graissage du roulement à aiguilles

L'axe de sortie du tambour d'embrayage est doté d'un roulement à aiguilles. Ce roulement à aiguilles doit être grassé régulièrement.
Lors de la lubrification, les deux écrous du guide sont desserrés pour démonter le carter d'embrayage. Posez la tronçonneuse sur le côte avec le tambour d'embrayage vers le haut.
La lubrication est effectuée en versant des gouttes d'huile de moteur à côté du centre du tambour d'embrayage en rotation.

Système de refroidissement

La machine est équipée d'un système de refroidissement permettant d'obtenir une température de fonctionnement aussi BASSE que possible.
Le système de refroidissement est composé des éléments suivants:
1 La prise d'air dans le lanceur.
2 La tôle-guide d'air.
3 Les ailettes de ventilation sur le volant.
4 Les ailettes de refroidissement sur le cylindre.
5 Le carter de cylindre (dirige l'air de refroidissement vers le cylindre).

Nettoyer le système de refroidissement avec unerosse une fois parSEAine,voire plus souvent dans des conditions dificiles.Un systeme de refroidissement sale ou colmaté provoque la surchauffe de la machine, endommageant le cylindre et le piston.
L'épuration centrifuge fonctionne comme suit: l'air d'alimentation du carburateur est admis à travers le lanceur. Les impuretés sont éjectées par la force centrifuge générae par le ventilateur.

IMPORTANT! L'épuration centrifuge exige un entretien correct et continu de la machine. Nettoyer la prise d'air du lanceur, les ailettes du ventilateur, le compartment du volant, le tuyau d'admission et le compartment du carburateur.
Utilisation hivernale
Lors de l'utilisation par temps froid et en neige poudreuse, des troubles de fonctionnement peuvent apparaitre, dus à:
Un moteur trop froid.
Le givrage du filtre a air et du carburateur.
Prendre les dispositions suivantes:
Diminuer partiellement l'admission d'air afin d'augmenter la température du moteur.
Température de -5^ ou moins:

Un cache spécial à monter sur le boittier du lanceur est disponible pour l'utilisation par temps froid ou en neige poudreuse. Ce cache réduit la quantité d'air froid admise tout en arrêtant la majorite partie de la neige qui pourrait être aspirée.

REMARQUE! Si le kit spécial hiver est utilisé ou si des mesures sont prises pour augmenter la température, il convient de revenir au réglage normal, dans la mesure où la machine est alors utilisée dans des conditions de températures normales. Simon il y a risque de surchauffe avec pour conséquence de graves dommages au moteur.
IMPORTANT! Tout entretien autre que celui indiqué dans ce manuel doit être effectué par un réparateur qualifié (concessionnaire).
Scheme d'entretien
La liste ci-dessous indique l'entretien a effectuer sur la machine. La plupart des points sont décrits à la section Entretien.
| Entretien quotidien | Entretien hebdomadaire | Entretien mensuel |
| Nettoyer l'extérieur de la machine. | Contrôlez chaque semaine le système de refroidissement des tronconiennes sans pot catalytique. | Inspectez le degré d'usure du ruban de freinage du frein de chaîne. Remplaceze-le quand les parties les plus usées sont inférieures à 0,6 mm. |
| Vérifier que les composants de la commande de l'accélération fonctionnement correctement en ce qui concerne la sécurité. (Blocage de l'accélération et commande de l'accélération.) | Contrôlez le lanceur, la corde de lanceur et le ressort de rappel. | Inspecter le degré d'usure du moyeu, du tambour d'embrayage et du ressort d'embrayage. |
| Nettoyer le frein de chaîne et en contrôler le bon fonctionnement. S'assurer que le capteur de chaîne est en bon état, le remplacer si nécessaire. | S'assurer que les éléments anti-vibrations ne sont pas endommagés. | Nettoyer la bougie. Vérifier l'écartement des électrodes (0,5 mm). |
| Retourner régulièrement le guide-château pour répartir l'usure. Contrôler que le trou de graissage du guide n'est pas obturé. Nettoyer la gorge de la chaîne. Lubrifier la roulette si le guide en comporte une. | Graisser le roulement du tambour d'embrayage. | Nettoyer l'extérieur du carburateur. |
| S'assurer que le guide et la chaîne sont correctement alimentés en huile. | Limer les Bavures évientuelles sur les côtés du guide-château. | Vérifier que le tuyau à carburant ne présente pas de fissures et qu'il n'est pas endommagé. Le remplacer au besoin. |
| Vérifier que les rivets et les maillons de la chaîne sont dépourvus de fissures, que la chaîne n'est pas raide et que les rivets et les maillons ne sont pas anormalement usés. Remplacer au besoin. | Nettoyer ou remplacer la grille antiflamme du silencieux. | Vider le réservoir de carburant et le nettoyer à l'intérieur. |
| Affouter la chaîne et en contrôler la tension et l'état général. Examiner le pignon d'entrainment de la chaîne et le remplacer s'il est usé. | Nettoyer le compartment du carburateur. | Vider le réservoir d'huile et le nettoyer à l'intérieur. |
| Nettoyer la prise d'air du lanceur. | Nettoyer le filtre à air. Le remplacer si nécessaire. | Inspector tous les cables et connexions. |
| S'assurer que toutes les vis et tous les écrous sont bien serrés. | ||
| Contrôler le bon fonctionnement du contacteur d'arrêt. | ||
| Vérifier qu'il n'y a pas de fuite de carburant du moteur, du réservoir ou des conduits de carburant. | ||
| Contrôler chaque jour le système de refroidissement des tronconiannes avec pot catalytique. |
CHARACTERISTIQUES TECHNIQUES
\section*{Caracteristiques techniques}
| 435 | 435e | 440e | |
| Moteur | |||
| Cylindrée, \(po^3/cm^3\) | 2,49/40,9 | 2,49/40,9 | 2,49/40,9 |
| Alésage, po/mm | 1,61/41 | 1,61/41 | 1,61/41 |
| Course, po/mm | 1,22/31 | 1,22/31 | 1,22/31 |
| Régime de ralenti, tr/min | 2900 | 2900 | 2900 |
| Puisance, kW/hp @ r/min | 1,6/2,2 @ 9000 | 1,6/2,2 @ 9000 | 1,8/2,4 @ 9000 |
| Système d'allumage | |||
| Fabricant du système d'allumage | Walbro | Walbro | Walbro |
| Type de système d'allumage | MBU-33 | MBU-33 | MBU-33 |
| Bougie | NGK BPMR 7A/Champion RCJ 7Y/Husqvarna PR 17Y | NGK BPMR 7A/Champion RCJ 7Y/Husqvarna PR 17Y | NGK BPMR 7A/Champion RCJ 7Y/Husqvarna PR 17Y |
| Écartement des electrodes, po/mm | 0,02/0,5 | 0,02/0,5 | 0,02/0,5 |
| Système de graissage/de carburant | |||
| Fabricant du carburateur | Zama | Zama | Zama |
| Type de carburateur | EL 41 | EL 41 | EL 41 |
| Contenance du réservoir de carburant, pint/litres | 0,78/0,37 | 0,78/0,37 | 0,78/0,37 |
| Débit de la pompé à huile à 9000 tr/min, ml/min | 13 | 13 | 13 |
| Contenance du réservoir d'huile, pint/litre | 0,53/0,25 | 0,53/0,25 | 0,53/0,25 |
| Type de pompé à huile | Non régliable | Non régliable | Non régliable |
| Poids | |||
| Tronçonneuse sans guide, ni chaîne et avec réservoirs vides, lb/kg | 9,3/4,2 | 9,7/4,4 | 9,7/4,4 |
| Chaine/guide-chaine | |||
| Longueur de guide standard, pouces/cm | 13"/33 | 13"/33 | 13"/33 |
| Longueurs de guide recommandées, pouces/cm | 13-18"/33-46 | 13-18"/33-46 | 13-18"/33-46 |
| Longueur de coupe utile, pouces/cm | 12-17"/31-43 | 12-17"/31-43 | 12-17"/31-43 |
| Pas, pouces/mm | 0,325/8,25 | 0,325/8,25 | 0,325/8,25 |
| Épaissieur au maillon d'entrainment, pouces/mm | 0,050/1,3 | 0,050/1,3 | 0,050/1,3 |
| Type de pignon/dents | Spur/7 | Spur/7 | Spur/7 |
| Vitesse de chaîne à puissance maxi, m/s | 17,3 | 17,3 | 17,3 |
CHARACTERISTIQUES TECHNIQUES
Équipement de coupe recommendé pour Canada
Ce qui suit est une liste de combinaisons recommandées pour utilisation sur les Class 1A et 1B tronconiennes. Les combinaisons de moteur, guide-chaine et chaine ont été elaborées en fonction des normes CSA Z62.1-95 pour tronconiennes et Z62.3-96 en ce qui concerne l'effectif de rebond des tronconiennes.
Le rayon de la pointe du guide-chaine est déterminé soit par le nombre maximal de dents de la roue dentée de la pointe, soit par le rayon de pointe maximal correspondant à un guide-châne massive.
Du fait que nous avons listé les rayons maximums des guide-chaine, vous pouvez utiliser un guide-chaine avec un rayon de pointe inférieur à ceux de notre liste. Pour les guide-chaine de mêmes longueurs, toutes les guide-chaine à pointe à roue dentée et ayant le même nombre de dents peuvent être considérés comme ayant des valeurs énergétiques de rebond équivalentes.
Un guide-chaine à pointe dure de même longueur et avec un nombre de dents identique à un guide-chaine muni d'une pointe à roue dentée peut être considéré comme ayant une valeur énergétique de rebond équivalente ou inférieure à celle du guide-chaine muni d'une pointe à roue dentée.
Pour les remplacements, nous vous recommendons d'utiliser les guide-chaine et chaînes listés, ou la chaine de type C, "Low-Kickback".
Combinaisons guide-chaine et chaine
| Guide-châne | Châne | ||||
| Longueur, pôues | Pas, pouches | Épaisseeur au mailon d'entrainment, pôues/mm | Rayon de nez maximal | Type | Lonngueur, mailons entraineurs (pce) |
| 13 | 0,325 | 1,3 | 10T | Husqvarna H30 | 56 |
| 15 | 0,325 | 10T | 64 | ||
| 16 | 0,325 | 10T | 66 | ||
| 18 | 0,325 | 10T | 72 | ||
Affutage de la chaine et gabarits d'affutage
| xx inch/mm | ∅ | inch/mm | |||||
| H30 | 3/16 / 4,8 | 85° | 30° | 10° | 0,025 / 0,65 | 5056981-00 | 5056981-08 |
VOS DROITS ET OBLIGATIONS EN GARANTIE
EPA (U.S. Environmental Protection Agency), CARB (California Air Resources Board), Environment Canada et Husqvarna Forest & Garden ont le plaisir de l'emission des pertes, les pertes de la garantie relative au système de contrôle des émissions des pertes moteurs fabriqués en 2009 et ultérieurement. Aux États-Unis et au Canada, les nouveaux équipements utilisant de pertes moteurs doivent être concurs, fabriqués et équipés conformément aux normes d'anti-pollution atmosphérique applicables en Californie ou au niveau fédéral. Husqvarna Forest & Garden garantit le système de contrôle des émissions de votre petit moteur pour la période indiquée ci-dessous à condition que l'équipement n'aï pas été exposé à une utilisation abusive, des néligibles ou une maintenance inappropriée. Le système de contrôle des émissions comprend des éléments tels que le carburateur, le système d'allumage, un convertisseur catalytique, un réservoir de carburant, des filtres et des composants annexes. Des tuyaux, courroires, connecteurs, capteurs et autres équipements relatifs à la protection contre les émissions sont inclus. Si la garantie est applicable, Husqvarna Forest & Garden s'engage à réparer cette petite moteur à ses frais, diagnostic, pieces et main d'oeuvre compris.
GARANTIE DU FABRICANT
Le système de contrôle des émissions est garantie deux (2) ans. Toute piece defectueuse du système de contrôle des émissions sera reparée ou remplaee par Husqvarna Forest & Garden.
CHARGES DE LA GARANTIE DE L'UTILISATEUR
- En tant que propriété d'un petit moteur, vous étés responsable d'effectuer la maintenance décrite dans le manuel de l'utiliser de la machine. Husqvarna Forest & Garden you recommend de conserver toutes les factures provenant que des mesures de maintenance ont été effectuees; Cependant, Husqvarna Forest & Garden ne peut en aucun cas refuser une demande de prise en charge selon les termes de la garantie si les factures ne peuvent pas etre produit ou si toutes les mesures de maintenance prescrites n'ont pas eteffectuees.
- En tant que propriété d'un petit moteur, vous doivent néanmoins savoir que Husqvarna Forest & Garden peut refuser toute demande en garantie si la panne du moteur ou d'un de ses composants est due à une'utilisation abusive, à des négligences, à une maintenance inappropriée ou des modifications nonapprovées.
- Il vous imcombe d'apporter votre moteur à un centre de distribution ou d'entretien Husqvarna Forest & Garden des que le problème est détesté. Les réparations couvertes par la garantie doivent être effectuées dans des déliés raisonnables inférieurs à 30 jours. Si vous avez des questions concernant la garantie, veuillez contacter Husqvarna Forest & Garden au nombre suivant: +1-800-487-5951 ou visitez www.usa.husqvarna.com.
DATE D'ENTRÉE EN VIGUEUR DE LA GARANTIE
La période de garantie commence à la date à laquelle le moteur ou l'équipement est livré à l'acheteur final.
DUREE DE LA GARANTIE
Husqvarna Forest & Garden garantit à l'acheteur final et à tout propriété ultérieur que le moteur ou l'équipement est concu, construit et équipé conformément à toutes les réglementations applicables adoptées par EPA et CARB et qu'il ne compte pas de défauts de matériel ou de fabrication pouvant causer la panne d'une piece sous garantie durant une période de deux (2) ans.
CE QUI EST COUVERT PAR LA GARANTIE
Réparation ou REMPLACEMENT DE PIECES: La réparation ou le remplacement de toute piece sous garantie, dans le cadre de la garantie, doit être effectué sans frais pour le propriétaire dans un atelier/agré. Les révisions ou réparations couvertes par la garantie seront disponibles dans tous les centres de distribution Husqvarna Forest & Garden agreés pour l'entretien de ce type de moteur. Durant la période de garantie de deux ans des systèmes de contrôle des émissions, Husqvarna Forest & Garden s'engage àainair un stock ajusté des pieces sous garantie afin de répondre à la demande pour ce type de pieces.
PERIODE DE GARANTIE: Toute piece sous garantie devant etre remplaee conformement au calendrier de maintenance est garantie pour la periode de temps precedant le premier remplacement planifie pour cette piece. Si la piece tombe en panne avant le premier remplacement planifie, elle sera reparée ou replacee gratuiteme par Husqvarna Forest & Garden. Toute piece reparee ou replacee durant la periode de garantie est garantie pour le reste de la periode precedant le premier remplacement planifie pour cette piece. Toute piece qui n'est pas supposée etre replacee comme requis dans le calendrier de maintenance est garantie deux (2) ans. Si la piece tombe en panne durant la periode de garantie, elle sera reparee ou replacee gratuiteme par Husqvarna Forest & Garden. Toute piece reparee ou replacee durant la periode de garantie est garantie pour la periode de garantie restante. Toute piece couverte par la garantie et devant etre inspectee regulierement conformement au calendrier de maintenance, sera garantie pour une periode de deux (2) ans. L'indication "réparer ou replacer selon les besoins" dans les instructions ne limite pas la periode de garantie. Toute piece reparee ou replacee durant la periode de garantie est garantie pour la periode de garantie restante.
DIAGNOSTIC: Les mesures de diagnostic permettant de déterminer le dysfonctionnement d'une pièce sous garantie ne sont pas à la charge du propriétaire à condition que ces mesures soient effectuées dans un aileier agréé selon la garantie.
DOMMAGES INDIRECTS: Husqvarna Forest & Garden est responsable des dommages aux autres composants du moteur causés par une panne de toute piece sous garantie survenant durant la période de garantie.
LISTE DES PIEÇES GARANTIE ÉMISSIONS
1 Carburateur et pieces internes
2 Conduit d'entrée, porte-filtre du filtré à air et boulons du carburateur
3 Filtre à air et filtré à carburant garantis selon l'entretien prévu
4 Bougie garantie selon l'entretien prévu
5 Module d'allumage
6 Silencieux doté d'un convertisseur catalytique
7 Réservoir d'essence
CE QUI N'EST PAS COUVERT PAR LA GARANTIE
Aucune défaillance résultat de l'abus, de la néligence et de l'entretien contraire aux instructions n'est couverte par la garantie.
AJOUT OU MODIFICATION DE PIECES
Des pieces supplémentaires ou modifiées qui ne sont pas acceptées par CARB ou EPA ne doivent pas être utilisées. L'utilisation de pieces supplémentaires ou modifiées non acceptées annule la garantie. Husqvarna Forest & Garden n'est pas responsable des pannes des pieces sous garantie si ces pannes sont causées par l'utilisation de pieces supplémentaires ou modifiées non acceptées.
DEMANDE D'INDEMNITE
Si vous avez des questions concernant vos droits et charges en garantie, contactez votre revendeur autorisé le plus proche ou téléphone à Husqvarna Forest & Garden, au numero suivant: +1-800-487-5951 ou visitez www.usa.husqvarna.com.
SERVICE APRÉS-VENTE
Les révisions ou réparations sous garantie sont disponibles auprès de tous les revendeurs agrésés Husqvarna Forest & Garden.
ENTRETIEN, REMPLACEMENT ET RÉPARATION DES PIEÇES DU SYSTEME DE LUTTE CONTRE LES ÉMISSIONS
Les pièces de rechange utilisées pour des travaux de maintenance ou de réparation couverts par la garantie ne doivent pas été débîtees au propriétaire. Une telle utilisation ne réduit pas les obligations du fabricant en matière de garantie.
Déclaration D'ENTRETIEN
L'utilisateur est chargé d'effectuer l'entretien prévu tel qu'il est défini dans le Manuel de l'utilisation.
Consignes de sécurité pour les utilisateurs de tronconiennes
(ANSI B175.1-2000 Annexe C)
Précautions à prendre pour se protégérer des rebonds

AVERTISSEMENT! Un rebond peut se produit quand le nez ou l'extrémité du guide heute un objet ou quand le bois se refère et coince la chaine dans l'entaille.
Un contact entre l'extrémité et un objet peut engendrer un soudain mouvement de réaction vers l'arrière, repoussant le guide-chaine vers le haut et l'arrière, en direction de l'utilisateur.
Le pincement de la chaîne le long du sommet du guide peut aussi engendrer un mouvement rapide du guide vers l'arrière, en direction de l'utilisateur.
Chacun de ces mouvements de reaction peut vous faire perdre le contrôle de la tronconneuse et cause des blessures graves.
Ne faites pas une confiance aveugle dans les dispositifs de sécurité intégrés dans la tronconneuse. En tant qu'utilisateur de la tronconneuse, vous doivent prendre les mesures nécessaires pour évierer tout accident et blessure au cours de vos travaux de coupe.
Avec des connaissances de base sur le phénomène du rebond, vous pouvez réduire ou éliminer l'élement de surprise. Toute surprise est par principe inattendue et contribue aux accidents.
Maintenez fermement la tronconenneuse des deux mains quand le moteur est en marche : la main droite sur la poignee arriere et la main gauche sur la poignee avant. Maintenez fermement avec les pouces et les autres doigts entourant les poignées de la tronconenneuse. Un maintainier ferme vous aide à réduire le risque de rebond et à garder le contrôle de la tronconenneuse. Ne lâchez pas.
Assurez-vous de l'absence d'obstacle dans votre zone de travail. Faites attention de ne pas heurter une bille, une branche ou tout autre obstacle avec le nez du guide-chaine quand vous utilise la tronçonneuse.
Coupez à un régime de moteur élevé.
Ne tendez pas les bras trop loin ni ne coupe au-dessus de la hauteur de vos épaules.
Respectez les instructions de maintenance et d'affutage du fabricant de la tronconneuse.
N'utilise que des chaînes et des guides de remplacement spécifiés par le fabricant ou des équivalents.
Autres consignes de sécurité

AVERTISSEMENT! N'utilise pas une tronconneuse en la tenants d'une seule main. Une utilisation d'une seule main peut cause des blessures graves à l'utilisateur et aux personnes se trouvant à proximé. Une tronconneuse est prévue pour être utilisée à deux mains.
N'utilisez pas une tronconenne si vous etes fatigué. Utilizez des chaussures de sécurité, des vetements bien ajustés, des gants de protection, des protections auditives, des lunettes de protection et un casque. Manipulez le carburant avec precaution. Eloignez la tronconenne d'au moins 3 m de l'endetroit où vous l'avez replie de carburant avant de demarrer le moteur.
Personne ne doit se couver à proximé de la tronconenneuse lors de son démarriage et de la coupe. Personnes et animaux doivent rester en dehors de la zone de travail.
Ne commence pas à couper avant que votre zone de travail soit dégagée, avant d'avoir trouve une position bien stable sur vos pieds et avant d'avoir identifié un chemin de retraite pour vous éloigner de l'arbre en train de tomber.
Conservez toutes les parties de votre corps à distance de la tronconneuse quand le moteur est en marche.
Avant de démarrer le moteur, assurez-vous que la tronconneuse n'est pas en contact avec quoi que ce soit.
Transportez la trononneuse avec le moteur à l'arrêt, le guide-chaine et la chaine vers l'arrière et le silencieux à distance de cette corps.
N'utilise pas une tronconenne endommagée, mal réglée ou n'était pas correctement assemblée. Assurez-vous que la chaine s'arrête quand la gachette de commande des gaz est relachée.
Arrétez le moteur avant de poser la tronçonneuse.
Faites preuve d'une grande précaution quand vous coupez des broussailles et de jeunes arbres car ils peuvent se prendre dans la chaîne et être projetées vers vous ou vous faire perdre l'équilibre.
Prenez garde au retard quand vous fouce une branche sous tension : elle peut vous heurter quand la tension dans les fibres du bois est relachée.
Veillez à la propriété des poignées : elles doivent être séches et exemples d'huile et de melange de carburant.
Utilisez toujours la tronçonneuse dans des endroits bien aérés.
Ne coupez pas un arbre avec la tronconneuse sans avoir reçu une formation spécifique.
N'utilise pas la tronctionneuse au-dessus de la hauteur de vos épaules.
À part les opérations indiquées dans les instructions de maintenance et dans la section sécurité du propriétaire/utilisateur, tout entretien de la tronconneuse doit être effectué par du personnel d'entretien compétent en matière de tronconneuse. (Par exemple, si un outil incorrect est utilisé pour retarder le rotor volant magnétique ou pour le tenir lors du retrait de l'embrayage, le rotor volant magnétique peut subir des dommages quientaître non expulsion ultérieurement.)
Utilisez la protection de guide-chaine appropriée lors de tout transport de votre tronconneuse.
Remarque: Cette annexe est essentiellement prévue pour le consommateur et l'utiliserateur occasionnel.
Notice Facile