CARB III - Gardening Equipment HUSQVARNA - Free user manual and instructions
Find the device manual for free CARB III HUSQVARNA in PDF.
User questions about CARB III HUSQVARNA
0 question about this device. Answer the ones you know or ask your own.
Ask a new question about this device
Download the instructions for your Gardening Equipment in PDF format for free! Find your manual CARB III - HUSQVARNA and take your electronic device back in hand. On this page are published all the documents necessary for the use of your device. CARB III by HUSQVARNA.
USER MANUAL CARB III HUSQVARNA
Please read the operator's manual carefully and make sure you understand the instructions before using the machine.
French (44-87)
Spanish (88-130)
Symbols on the machine:
WARNING! Chain saws can be dangerous! Careless or improper use can result in serious or fatal injury to the operator or others.
Please read the operator's manual carefully and make sure you understand the instructions before using the machine.
Always wear:
Approved protective helmet
Approved hearing protection
- Protective goggles or a visor
Both of the operator's hands must be used to operate the chain saw.
Never operate a chain saw holding it with one hand only.
Contact of the guide bar tip with any object must be avoided.
Tip contact may cause the guide bar to move suddenly upward and backward (so-called kickback), which may cause serious injury.
Other symbols/decals on the machine refer to special certification requirements for certain markets.
Symbols in the operator's manual:
Switch off the engine before carrying out any checks or maintenance. CAUTION! The start/stop switch automatically returns to run position. In order to prevent unintentional starting, the
spark plug cap must be removed from the spark plug when assembling, checking and/or performing maintenance.
Always wear approved protective gloves.
Regular cleaning is required.









Visual check.
Protective goggles or a visor must be worn.
Refuelling.
Filling with oil and adjusting oil flow.
The chain brake must be engaged when the chain saw is started.
WARNING! Kickback may occur when the nose or tip of the guide bar touches an object, and cause a lightning fast reverse reaction, kicking the guide bar up and towards the operator. May cause serious personal injury.






You will find the following labels on your chain saw:



This saw is capable of severe kickback.
Follow all safety precautions in the Operator's Manual (s). Failure to
follow instructions could result in serious personal injury.
Recommended cutting equipment see Operator's Manual.
Other low or reduced kickback combinations in Operator's
Manual (s).

LISTED 54L 1
LISTED IN ACCORDANCE WITH AMERICAN NATIONAL STANDARD SAFETY
SPECIFICATIONS FOR GASOLINE POWERED CHAIN SAWS (ANSI B175.1-2000)
EPA III
Husqvarna
HUSQVARNA AB HUSKVARNA SWEDEN
EMISSION CONTROL INFORMATION + THIS ENGLISH ENGLISH ENGLISH ENGLISH ENGLISH ENGLISH ENGLISH ENGLISH ENGLISH ENGLISH ENGLISH ENGLISH ENGLISH ENGLISH ENGLISH ENGLISH ENGLISH ENGLISH ENGLISH ENGLISH ENGLISH ENGLISH ENGLISH ENGLISH ENGLISH ENGLISH ENGLISH ENGLISH ENGLISH ENGLISH ENGLISH ENGLISH ENGLISH ENGLISH ENGLISH ENGLISH ENGLISH ENGLISH ENGLISH ENGLISH ENGLISH ENGLISH ENGLISH ENGLISH ENGLISH ENGLISH ENGLISH ENGLISH ENGLISH ENGLISH EN
NON CONTROL INFORMATION THIS ENGINE MEETS US EPA AND CALIFOPNIA EXPLORING
SORE. REFER TO OPERATOR'S MANUAL REGS
ANUAL FOR MAINTENANCE SPECIFICATIONS AND ADJUSTMENTS.
EMISSION COMPLIANCE PERIOD : HRS
The Emissions Compliance Period referred to on the Emission Compliance label indicates the number of operating hours for which the engine has been shown to meet Federal emissions requirements.
Maintenance, replacement, or repair of the emission control devices and system may be performed by any nonroad engine repair establishment or individual.

WARNING
The engine exhaust from this product contains chemical known to the State of California to cause cancer, birth defects or other reproductive harm.
Contents
KEY TO SYMBOLS
Symbols on the machine: 2
Symbols in the operator's manual: 2
CONTENTS
Contents 3
INTRODUCTION
Dear customer! 4
WHAT IS WHAT?
What is what on the chain saw? 5
GENERAL SAFETY PRECAUTIONS
Before using a new chain saw 6
Important 6
Always use common sense 7
Personal protective equipment 7
Machine's safety equipment 7
Cutting equipment 10
ASSEMBLY
Fitting the bar and chain 17
FUEL HANDLING
Fuel 19
Fueling 20
Fuel safety 20
STARTING AND STOPPING
Starting and stopping 21
WORKING TECHNIQUES
Before use: 23
General working instructions 23
How to avoid kickback 29
MAINTENANCE
General 31
Carburetor adjustment 31
Checking, maintaining and servicing chain saw safety equipment 31
Muffler 33
Starter 34
Air filter 35
Spark plug 36
Lubricating the bar tip sprocket 36
Needle bearing lubrication 36
Cooling system 36
"Air Injection" centrifugal cleaning 37
Winter use 37
Maintenance schedule 38
TECHNICAL DATA
Technical data 39
Bar and chain combinations 40
Saw chain filing and file gauges 40
FEDERAL AND CALIFORNIA EMISSIONS CONTROL WARRANTY STATEMENT
YOUR WARRANTY RIGHTS AND OBLIGATIONS 41
AMERICAN STANDARD SAFETY PRECAUTIONS
Safety precautions for chain saw users 43
Dear customer!
Congratulations on your choice to buy a Husqvarna product! Husqvarna is based on a tradition that dates back to 1689, when the Swedish King Karl XI ordered the construction of a factory on the banks of the Huskvarna River, for production of muskets. The location was logical, since water power was harnessed from the Huskvarna River to create the water-powered plant. During over 300 years of continuous operation, the Husqvarna factory has produced a lot of different products, from wood stoves to modern kitchen appliances, sewing machines, bicycles, motorcycles etc. In 1956, the first motor driven lawn mowers appeared, followed by chain saws in 1959, and it is within this area Husqvarna is working today.
Today Husqvarna is one of the leading manufacturers in the world of forest and garden products, with quality as our highest priority. We develop, manufacture and market high quality motor driven products for forestry and gardening as well as for building and construction industry.
Your purchase gives you access to professional help with repairs and service whenever this may be necessary. If the retailer who sells your machine is not one of our authorized dealers, ask for the address of your nearest servicing dealer. It is our wish that you will be satisfied with your product and that it will be your companion for a long time. Think of this operator's manual as a valuable document. By following its' content (using, service, maintenance etc) the life span and the second-hand value of the machine can be extended. If you ever lend or sell this machine, make sure that the borrower or buyer gets the operator's manual, so they will also know how to properly maintain and use it.
Thank you for using a Husqvarna product.
Husqvarna AB has a policy of continuous product development and therefore reserves the right to modify the design and appearance of products without prior notice.
For customer assistance, contact us at our website: www.usa.husqvarna.com

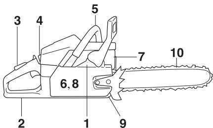
What is what on the chain saw?
1 Cylinder cover
2 Air purge
3 Start reminder
4 Combined start and stop switch
5 Rear handle
6 Information and warning decal
7 Fuel tank
8 Adjuster screws carburetor
9 Starter handle
10 Starter
11 Chain oil tank
12 Product and serial number plate
13 Felling direction mark
14 Front handle
15 Front hand guard
16 Muffler
17 Chain
18 Bar tip sprocket
19 Bar
20 Bumper spike
21 Chain catcher
22 Chain tensioner wheel
23 Clutch cover
24 Right hand guard
25 Throttle control
26 Throttle lockout
27 Knob
28 Operator's manual (EPA)
29 Bar guard
30 Combination spanner
Before using a new chain saw
Please read this manual carefully.
- Check that the cutting equipment is correctly fitted and adjusted. See instructions under the heading Assembly.
- Refuel and start the chain saw. See the instructions under the headings Fuel Handling and Starting and Stopping.
- Do not use the chain saw until sufficient chain oil has reached the chain. See instructions under the heading Cutting equipment.
- Long-term exposure to noise can result in permanent hearing impairment. So always use approved hearing protection.

WARNING! Under no circumstances may the design of the machine be modified without the permission of the manufacturer. Always use genuine accessories. Non-authorized modifications and/or accessories can result in serious personal injury or the death of the operator or others. Your warranty may not cover damage or liability caused by the use of non-authorized accessories or replacement parts.

WARNING! A chain saw is a dangerous tool if used carelessly or incorrectly and can cause serious, even fatal injuries. It is very important that you read and understand the contents of this operator's manual.

WARNING! The inside of the muffler contain chemicals that may be carcinogenic. Avoid contact with these elements in the event of a damaged muffler.

WARNING! Long term inhalation of the engine's exhaust fumes, chain oil mist and dust from sawdust can represent a health risk.

WARNING! The ignition system of this machine produces an electromagnetic field during operation. This field may under some circumstances interfere with pacemakers. To reduce the risk of serious or fatal injury, we recommend persons with pacemakers to consult their physician and the pacemaker manufacturer before operating this machine.

WARNING! Never allow children to use or be in the vicinity of the machine. As the machine is equipped with a spring-loaded stop switch and can be started by low speed and force on the starter handle, even small children under some circumstances can produce the force necessary to start the machine. This can mean a risk of serious personal injury. Therefore remove the spark plug cap when the machine is not under close supervision.
Important
IMPORTANT!
The machine is only designed for cutting wood.
You should only use the saw with the bar and chain combinations we recommend in the chapter Technical data.
Never use the machine if you are fatigued, while under the influence of alcohol or drugs, medication or anything that could affect your vision, alertness, coordination or judgement.
Wear personal protective equipment. See instructions under the heading Personal protective equipment.
Do not modify this product or use it if it appears to have been modified by others.
Never use a machine that is faulty. Carry out the checks, maintenance and service instructions described in this manual. Some maintenance and service measures must be carried out by trained and qualified specialists. See instructions under the heading Maintenance.
Never use any accessories other than those recommended in this manual. See instructions under the headings Cutting equipment and Technical data.
CAUTION! Always wear protective glasses or a face visor to reduce the risk of injury from thrown objects. A chain saw is capable of throwing objects, such as wood chips, small pieces of wood, etc, at great force. This can result in serious injury, especially to the eyes.

WARNING! Running an engine in a confined or badly ventilated area can result in death due to asphyxiation or carbon monoxide poisoning.

WARNING! Faulty cutting equipment or the wrong combination of bar and saw chain increases the risk of kickback! Only use the bar/saw chain combinations we recommend, and follow the filing instructions. See instructions under the heading Technical data.
Always use common sense
It is not possible to cover every conceivable situation you can face when using a chain saw. Always exercise care and use your common sense. Avoid all situations which you consider to be beyond your capability. If you still feel uncertain about operating procedures after reading these instructions, you should consult an expert before continuing. Do not hesitate to contact your dealer or us if you have any questions about the use of the chain saw. We will willingly be of service and provide you with advice as well as help you to use your chain saw both efficiently and safely. Attend a training course in chain saw usage if possible. Your dealer, forestry school or your library can provide information about which training materials and courses are available.

Work is constantly in progress to improve the design and technology - improvements that increase your safety and efficiency. Visit your dealer regularly to see whether you can benefit from new features that have been introduced.
Personal protective equipment

WARNING! Most chain saw accidents happen when the chain touches the operator. You must use approved personal protective equipment whenever you use the machine. Personal protective equipment cannot eliminate the risk of injury but it will reduce the degree of injury if an accident does happen. Ask your dealer for help in choosing the right equipment.

Approved protective helmet
Hearing protection
- Protective goggles or a visor
Gloves with saw protection
- Trousers with saw protection
- Boots with saw protection, steel toe-cap and non-slip sole
Always have a first aid kit nearby.
Fire Extinguisher and Shovel
Generally clothes should be close-fitting without restricting your freedom of movement.
IMPORTANT! Sparks can come from the muffler, the bar and chain or other sources. Always have fire extinguishing tools available if you should need them. Help prevent forest fires.
Machine's safety equipment
In this section the machine's safety features and their function are explained. For inspection and maintenance see instructions under the heading Checking, maintaining and servicing chain saw safety equipment. See instructions under the heading, What is what?, to find where these parts are located on your machine.
The life span of the machine can be reduced and the risk of accidents can increase if machine maintenance is not carried out correctly and if service and/or repairs are not carried out professionally. If you need further information please contact your nearest servicing dealer.

WARNING! Never use a machine with defective safety components. Safety equipment must be inspected and maintained. See instructions under the heading Checking, maintaining and servicing chain saw safety equipment. If your machine does not pass all the checks, take the saw to a servicing dealer for repair.
Chain brake and front hand guard
Your chain saw is equipped with a chain brake that is designed to stop the chain if you get a kickback. The chain brake reduces the risk of accidents, but only you can prevent them.

Take care when using your saw and make sure the kickback zone of the bar never touches any object.

- The chain brake (A) can either be activated manually (by your left hand) or automatically by the inertia release mechanism.
- The brake is applied when the front hand guard (B) is pushed forwards.


- This movement activates a spring-loaded mechanism that tightens the brake band (C) around the engine drive system (D) (clutch drum).


- The front hand guard is not designed solely to activate the chain brake. Another important feature is that it reduces the risk of your left hand hitting the chain if you lose grip of the front handle.

- The chain brake must be engaged when the chain saw is started to prevent the saw chain from rotating.

- Use the chain brake as a "parking brake" when starting and when moving over short distances, to reduce the risk of moving chain accidentally hitting your leg or anyone or anything close by. Do not leave the chain saw switched on with the chain brake activated for long periods. The chain saw can become very hot.

- The chain brake is released by moving the front hand guard marked "PULL BACK TO RESET" back, towards the front handle.

- Kickback can be very sudden and violent. Most kickbacks are minor and do not always activate the chain brake. If this happens you should hold the chain saw firmly and not let go.

- The way the chain brake is activated, either manually or automatically by the inertia release mechanism, depends on the force of the kickback and the position of the chain saw in relation to the object that the kickback zone of the bar strikes.
If you get a violent kickback while the kickback zone of the bar is farthest away from you the chain brake is designed to be activated by the inertia in the kickback direction.

If the kickback is less violent or the kickback zone of the bar is closer to you the chain brake is designed to be activated manually by the movement of your left hand.

- In the felling position the left hand is in a position that makes manual activation of the chain brake impossible. With this type of grip, that is when the left hand is placed so that it cannot affect the movement
of the front hand guard, the chain brake can only be activated by the inertia action.

Will my hand always activate the chain brake during a kickback?
No. It takes a certain force to move the hand guard forward. If your hand only lightly touches the front guard or slips over it, the force may not be enough to trigger the chain brake. You should also maintain a firm grip of the chain saw handles while working. If you do and experience a kickback, your hand may never leave the front handle and will not activate the chain brake, or the chain brake will only activate after the saw has swung around a considerable distance. In such instances, the chain brake might not have enough time to stop the saw chain before it touches you.
There are also certain positions in which your hand cannot reach the front hand guard to activate the chain brake; for example, when the saw chain is held in felling position.
Will my inertia activated chain brake always activate during kickback in the event of a kickback?
No. First your brake must be in working order. Testing the brake is simple, see instructions under the heading Checking, maintaining and servicing chain saw safety equipment. We recommend you do before you begin each work session. Second the kickback must be strong enough to activate the chain brake. If the chain brake is too sensitive it would activate all the time which would be a nuisance.
Will my chain brake always protect me from injury in the event of a kickback?
No. First, the chain brake must be in working order to provide the intended protection. Second, it must be activated during the kickback as described above to stop the saw chain. Third, the chain brake may be activated but if the bar is too close to you the brake might not have enough time to slow down and stop the chain before the chain saw hits you.
Only you and proper working technique can eliminate kickback and its danger.
Throttle lockout
The throttle lockout is designed to prevent accidental operation of the throttle control. When you press the lock (A) (i.e. when you grasp the handle) it releases the throttle control (B). When you release the handle the throttle control and the throttle lockout both move back to their original positions. This arrangement means that the throttle control is automatically locked at the idle setting.

Chain catcher
The chain catcher is designed to catch the chain if it snaps or jumps off. This should not happen if the chain is properly tensioned (see instructions under the heading Assembly) and if the bar and chain are properly serviced and maintained (see instructions under the heading General working instructions).

Right hand guard
Apart from protecting your hand if the chain jumps or snaps, the right hand guard stops branches and twigs from interfering with your grip on the rear handle.

Vibration damping system
Your machine is equipped with a vibration damping system that is designed to reduce vibration and make operation easier.

The machine's vibration damping system reduces the transfer of vibration between the engine unit/cutting equipment and the machine's handle unit. The body of the chain saw, including the cutting equipment, is insulated from the handles by vibration damping units.

Cutting hardwoods (most broadleaf trees) creates more vibration than cutting softwoods (most conifers). Cutting with cutting equipment that is blunt or faulty (wrong type or badly sharpened) will increase the vibration level.


WARNING! Overexposure to vibration can lead to circulatory damage or nerve damage in people who have impaired circulation. Contact your doctor if you experience symptoms of overexposure to vibration. Such symptoms include numbness, loss of feeling, tingling, pricking, pain, loss of strength, changes in skin colour or condition. These symptoms normally appear in the fingers, hands or wrists. These symptoms may be increased in cold temperatures.
Stop switch
Use the stop switch to switch off the engine.

Muffler
The muffler is designed to keep noise levels to a minimum and to direct exhaust fumes away from the user.

WARNING! The exhaust fumes from the engine are hot and may contain sparks which can start a fire. Never start the machine indoors or near combustible material!
In areas with a hot, dry climate there is a high risk of fires. These areas are sometimes subject to government rules requiring among other things the muffler must be equipped with an approved type of spark arrestor screen.

When fitting the mesh, make sure that the mesh is inserted in the right position. If necessary, use the combination spanner to insert or remove the mesh.
CAUTION! The muffler gets very hot during and after use. This also applies during idling. Be aware of the fire hazard, especially when working near flammable substances and/or vapours.

WARNING! Never use a saw without a muffler, or with a damaged muffler. A damaged muffler may substantially increase the noise level and the fire hazard. Keep fire fighting equipment handy. If a spark arrestor screen is required in your area, never use the saw without or with a broken spark arrestor screen.
Cutting equipment
This section describes how to choose and maintain your cutting equipment in order to:
- Reduce the risk of kickback.
- Reduce the risk of the saw chain breaking or jumping off the bar.
- Obtain optimal cutting performance.
- Extend the life of cutting equipment.
- Avoid increasing vibration levels.
General rules
Only use cutting equipment recommended by us! See instructions under the heading Technical data.

- Keep the chain's cutting teeth properly sharpened! Follow our instructions and use the recommended file gauge. A damaged or badly sharpened chain increases the risk of accidents.

- Maintain the correct depth gauge setting! Follow our instructions and use the recommended depth gauge clearance. Too large a clearance increases the risk of kickback.

- Keep the chain properly tensioned! If the chain is slack it is more likely to jump off and lead to increased wear on the bar, chain and drive sprocket.


- Keep cutting equipment well lubricated and properly maintained! A poorly lubricated chain is more likely to break and lead to increased wear on the bar, chain and drive sprocket.

Cutting equipment designed to reduce kickback

WARNING! Faulty cutting equipment or the wrong combination of bar and saw chain increases the risk of kickback! Only use the bar/saw chain combinations we recommend, and follow the filing instructions. See instructions under the heading Technical data.
The only way to avoid kickback is to make sure that the kickback zone of the bar never touches anything.
By using cutting equipment with "built-in" kickback reduction and keeping the chain sharp and well-maintained you can reduce the effects of kickback.
Bar
The smaller the tip radius the lower the chance of kickback.
Chain
A chain is made up of a number of links, which are available in standard and low-kickback versions.
IMPORTANT! No saw chain design eliminates the danger of kickback.

WARNING! Any contact with a rotating saw chain can cause extremely serious injuries.
Some terms that describe the bar and chain
To maintain the safety features of the cutting equipment, you should replace a worn or damaged bar or chain with a bar and chain combinations recommended by Husqvarna. See instructions under the heading Technical Data for a list of replacement bar and chain combinations we recommend.
Bar
Length (inches/cm)

Number of teeth on bar tip sprocket (T).

- Chain pitch (inches). The spacing between the drive links of the chain must match the spacing of the teeth on the bar tip sprocket and drive sprocket.

- Number of drive links. The number of drive links is determined by the length of the bar, the chain pitch and the number of teeth on the bar tip sprocket.

- Bar groove width (inches/mm). The groove in the bar must match the width of the chain drive links.

- Chain oil hole and hole for chain tensioner. The bar must be matched to the chain saw design.

Chain
- Chain pitch (inches)

- Drive link width (mm/inches)

Number of drive links.

Sharpening your chain and adjusting depth gauge setting
General information on sharpening cutting teeth
-
Never use a blunt chain. When the chain is blunt you have to exert more pressure to force the bar through the wood and the chips will be very small. If the chain is very blunt it will produce wood powder and no chips or shavings.
-
A sharp chain eats its way through the wood and produces long, thick chips or shavings.

- The cutting part of the chain is called the cutter and consists of a cutting tooth (A) and the depth gauge (B). The cutters cutting depth is determined by the difference in height between the two (depth gauge setting).

When you sharpen a cutting tooth there are four important factors to remember.
1 Filing angle

2 Cutting angle

3 File position

4 Round file diameter

It is very difficult to sharpen a chain correctly without the right equipment. We recommend that you use our file gauge. This will help you obtain the maximum kickback reduction and cutting performance from your chain.

See instructions under the heading Technical data for information about sharpening your chain.

WARNING! Departure from the sharpening instructions considerably increases the risk of kickback.
Sharpening cutting teeth


To sharpen cutting teeth you will need a round file and a file gauge. See instructions under the heading Technical data for information on the size of file and gauge that are recommended for the chain fitted to your chain saw.



- Check that the chain is correctly tensioned. A slack chain will move sideways, making it more difficult to sharpen correctly.


- Always file cutting teeth from the inside face. Reduce the pressure on the return stroke. File all the teeth on one side first, then turn the chain saw and file the teeth on the other side.

- File all the teeth to the same length. When the length of the cutting teeth is reduced to 0.16 inch (4 mm) the chain is worn out and should be replaced.


General advice on adjusting depth gauge setting
- When you sharpen the cutting tooth (A) the depth gauge setting (C) will decrease. To maintain optimal cutting performance the depth gauge (B) has to be filed down to achieve the recommended depth gauge setting. See instructions under the heading Technical data to find the correct depth gauge setting for your particular chain.


WARNING! The risk of kickback is increased if the depth gauge setting is too large!
Adjustment of depth gauge setting


- The cutting teeth should be newly sharpened before adjusting the depth gauge setting. We recommend that you adjust the depth gauge setting every third time you sharpen the cutting teeth. NOTE! This recommendation assumes that the length of the cutting teeth is not reduced excessively.
- You will need a flat file and a depth gauge tool. We recommend that you use our depth gauge tool to achieve the correct depth gauge setting and bevel for the depth gauge.



- Place the depth gauge tool over the chain. Detailed information regarding the use of the depth gauge tool, will be found on the package for the depth gauge tool. Use the flat file to file off the tip of the depth gauge that protrudes through the depth gauge tool. The depth gauge setting is correct when you no longer feel resistance as you draw the file along the depth gauge tool.

Tensioning the chain



WARNING! A slack chain may jump off the bar and cause serious or even fatal injury.
The more you use a chain the longer it becomes. It is therefore important to adjust the chain regularly to take up the slack.
Check the chain tension every time you refuel. NOTE! A new chain has a running-in period during which you should check the tension more frequently.
Tension the chain as tightly as possible, but not so tight that you cannot pull it round freely by hand.


435
- Loosen the bar nut that holds the clutch cover and chain brake. Use the combination spanner. Then retighten the bar nut as tightly as you can by hand.

- Raise the tip of the bar and stretch the chain by tightening the chain tensioning screw using the combination spanner. Tighten the chain until it does not sag from the underside of the bar.

- Use the combination spanner to tighten the bar nut while holding up the tip of the bar. Check that you can pull the saw chain round freely by hand, and that there is no slack on the underside of the bar.


The position of the chain tensioning screw on our chain saws varies from model to model. See instructions under the heading What is what? to find out where it is on your model.

435e, 440e
- Release the knob by folding it out.

- Turn the knob anti clockwise to loosen the bar cover.

- Adjust the tension on the chain by turning the wheel down (+) for tighter tension and up (-) to loosen the tension.

- Tighten the bar clutch by turning the knob clockwise.

- Fold the knob back in to lock the tensioning.

Lubricating cutting equipment

WARNING! Poor lubrication of cutting equipment may cause the chain to snap, which could lead to serious, even fatal injuries.
Chain oil
Chain oil must demonstrate good adhesion to the chain and also maintain its flow characteristics regardless of whether it is warm summer or cold winter weather.
As a chain saw manufacturer we have developed an optimal chain oil which has a vegetable oil base. We recommend the use of our own oil for both maximum chain life and to minimise environmental damage. If our own chain oil is not available, standard chain oil is recommended.
Never use waste oil! Using waste oil can be dangerous to you and damage the machine and environment.
IMPORTANT! When using vegetable based saw chain oil, dismantle and clean the groove in the bar and saw chain before long-term storage. Otherwise there is a risk of the saw chain oil oxidizing, which will result in the saw chain becoming stiff and the bar tip sprocket jamming.
Filling with chain oil
- All our chain saws have an automatic chain lubrication system. On some models the oil flow is also adjustable.


- The saw chain oil tank and the fuel tank are designed so that the fuel runs out before the saw chain oil.
However, this safety feature requires that you use the right sort of chain oil (if the oil is too thin it will run out before the fuel), and that you adjust the carburetor as recommended (a lean mixture may mean that the fuel lasts longer than the oil) and that you also use the recommended cutting equipment (a bar that is too long will use more chain oil).
Checking chain lubrication
- Check the chain lubrication each time you refuel. See instructions under the heading Lubricating the bar tip sprocket.
Aim the tip of the bar at a light coloured surface about 20~cm (8 inches) away. After 1 minute running at 3/4 throttle you should see a distinct line of oil on the light surface.

If the chain lubrication is not working:
- Check that the oil channel in the bar is not obstructed. Clean if necessary.

- Check that the groove in the edge of the bar is clean. Clean if necessary.

- Check that the bar tip sprocket turns freely and that the lubricating hole in the tip sprocket is not blocked. Clean and lubricate if necessary.

If the chain lubrication system is still not working after carrying out the above checks and associated measures you should contact your servicing dealer.
Chain drive sprocket


The clutch drum is fitted with one of the following drive sprockets:
A Spur sprocket (the chain sprocket is welded on the drum)
B Rim sprocket (replaceable)

A

Regularly check the degree of wear on the drive sprocket. Replace if wear is excessive. Replace the drive sprocket whenever you replace the chain.
Needle bearing lubrication

Both versions of sprockets have a needle bearing on the drive shaft, which has to be greased regularly (once a week). CAUTION! Use only high quality bearing grease or engine oil.
See instructions under the heading Maintenance, Needle bearing lubrication.
Checking wear on cutting equipment


Check the chain daily for:

Visible cracks in rivets and links.
- Whether the chain is stiff.
- Whether rivets and links are badly worn.
Replace the saw chain if it exhibits any of the points above.
We recommend you compare the existing chain with a new chain to decide how badly the existing chain is worn.
When the length of the cutting teeth has worn down to only 0.16 inch (4 mm) the chain must be replaced.
Bar



Check regularly:
- Whether there are burrs on the edges of the bar. Remove these with a file if necessary.


- Whether the groove in the bar has become badly worn. Replace the bar if necessary.

- Whether the tip of the bar is uneven or badly worn. If a hollow forms on the underside of the bar tip this is due to running with a slack chain.

To prolong the life of the bar you should turn it over regularly.


WARNING! Most chain saw accidents happen when the chain touches the operator.
Wear personal protective equipment. See instructions under the heading Personal protective equipment.
Do not tackle any job that you feel you are not adequately trained for. See instructions under the headings Personal protective equipment, How to avoid kickback, Cutting equipment and General working instructions.
Avoid situations where there is a risk of kickback. See instructions under the heading Machine's safety equipment.
Use the recommended protective equipment and check its condition. See instructions under the heading General working instructions.
Check that all the chain saw safety features are working. See instructions under the headings General working instructions and General safety precautions.
Fitting the bar and chain



WARNING! Always wear gloves, when working with the chain.
435
Check that the chain brake is in disengaged position by moving the front hand guard towards the front handle.

Unscrew the bar nut and remove the clutch cover (chain brake). Take off the transportation ring (A).

Fit the bar over the bar bolt. Place the bar in its rearmost position. Place the chain over the drive sprocket and in the groove on the bar. Begin on the top side of the bar.

Make sure that the edges of the cutting links are facing forward on the top edge of the bar.
Mount the clutch cover and remember to fit the chain adjuster pin in the hole in the bar. Check that the drive links of the chain fit correctly over the drive sprocket and that the chain is correctly located in the groove in the bar. Tighten the bar nut with your fingers.
Tension the chain by turning the chain tensioning screw clockwise using the combination spanner. The chain
should be tensioned until it does not sag from the underside of the bar.

The chain is correctly tensioned when there is no slack on the underside of the bar, and it can still be turned easily by hand. Tighten the bar nut with the combination spanner while holding up the tip of the bar.

When fitting a new chain, the chain tension has to be checked frequently until the chain is run-in. Check the chain tension regularly. A correctly tensioned chain ensures good cutting performance and long life.

435e, 440e
Check that the chain brake is in disengaged position by moving the front hand guard towards the front handle.

Loosen the chain tensioner wheel and remove the clutch cover (chain brake). Remove the transport guard. (A)

Fit the bar over the bar bolts. Place the bar in its rearmost position. Place the chain over the drive sprocket locate it in the groove on the bar. Begin on the top edge of the bar.

Make sure that the edges of the cutting links are facing forward on the top edge of the bar.
Mount the clutch cover and remember to fit the chain adjuster pin in the hole in the bar. Check that the drive links of the chain fit correctly over the drive sprocket and that the chain is correctly located in the groove in the bar.
Tension the chain by turning the wheel down (+) . The chain should be tensioned until it does not sag from the underside of the bar.

The chain is correctly tensioned when it does not sag from the underside of the bar, but can still be turned easily by hand. Hold up the bar tip and tighten the bar knob by turning the knob clockwise.

When fitting a new chain, the chain tension has to be checked frequently until the chain is run-in. Check the chain tension regularly. A correctly tensioned chain ensures good cutting performance and long life.

Fuel
Note! The machine is equipped with a two-stroke engine and must always be run using a mixture of gasoline and two-stroke oil. It is important to accurately measure the amount of oil to be mixed to ensure that the correct mixture is obtained. When mixing small amounts of fuel, even small inaccuracies can drastically affect the ratio of the mixture.

Gasoline

Use good quality unleaded gasoline.
- CAUTION! Engines equipped with catalytic converters must be run on unleaded fuel mixtures. Leaded gasoline will destroy the catalytic converter and it will no longer serve its purpose. The green fuel cap on saws fitted with catalytic converters means that only unleaded gasoline can be used.
- The lowest recommended octane grade is 87 ((RON+MON)/2). If you run the engine on a lower octane grade than 87 so-called knocking can occur. This gives rise to a high engine temperature and increased bearing load, which can result in serious engine damage.
- When working with continuous high revs (e.g. limbing) a higher octane is recommended.
Environment fuel
HUSQVARNA recommends the use of alkylate fuel or environmental fuel for four-stroke engines blended with two-stroke oil as set out below. Note that carburetor adjustment may be necessary when changing the type of fuel (see instructions under the heading Carburetor).
Running-in
Avoid running at a too high speed for extended periods during the first 10 hours.
Two-stroke oil
- For best results and performance use HUSQVARNA two-stroke engine oil, which is specially formulated for our air-cooled two stroke-engines.
- Never use two-stroke oil intended for water-cooled engines, sometimes referred to as outboard oil (rated TCW).
- Never use oil intended for four-stroke engines.
Mixing ratio
1:50 (2%) for all engines.
| Gasoline, litre | Two-stroke oil, litre |
| 2% (1:50) | |
| 5 | 0,10 |
| 10 | 0,43/0,20 |
| 15 | 0,30 |
| 20 | 0,40 |
| US gallon | US fl. oz. |
| 1 | 2 1/2 |
| 2 1/2 | 6 1/2 |
| 5 | 12 7/8 |
Mixing

Always mix the gasoline and oil in a clean container intended for fuel.
Always start by filling half the amount of the gasoline to be used. Then add the entire amount of oil. Mix (shake) the fuel mixture. Add the remaining amount of gasoline.
- Mix (shake) the fuel mixture thoroughly before filling the machine's fuel tank.
- Do not mix more than one month's supply of fuel at a time.
If the machine is not used for some time the fuel tank should be emptied and cleaned.
Chain oil
We recommend the use of special oil (chain oil) with good adhesion characteristics.

- Never use waste oil. This results in damage to the oil pump, the bar and the chain.
It is important to use oil of the right grade (suitable viscosity range) to suit the air temperature. - In temperatures below 32^ (0^) some oils become too viscous. This can overload the oil pump and result in damage to the oil pump components.
- Contact your service agent when choosing chain oil.
Fueling


WARNING! Taking the following precautions, will lessen the risk of fire:
Do not smoke and do not place any hot objects in the vicinity of fuel.
Always stop the engine and let it cool for a few minutes before refuelling.
When refuelling, open the fuel cap slowly so that any excess pressure is released gently.
Tighten the fuel cap carefully after refuelling.
Always move the machine away from the refuelling area before starting.
Clean the area around the fuel cap. Clean the fuel and chain oil tanks regularly. The fuel filter must be replaced at least once a year. Contamination in the tanks causes malfunction. Make sure the fuel is well mixed by shaking the container before refuelling. The capacities of the chain oil tank and fuel tank are carefully matched. You should therefore always fill the chain oil tank and fuel tank at the same time.



WARNING! Fuel and fuel vapor are highly flammable. Take care when handling fuel and chain oil. Be aware of the risks of fire, explosion and those associated with inhalation.
Fuel safety
-
Never refuel the machine while the engine is running.
Make sure there is plenty of ventilation when refuelling or mixing fuel (gasoline and 2-stroke oil). -
Move the machine at least 10 ft (3 m) from the refuelling point before starting it.

- Never start the machine:
1 If you have spilled fuel or chain oil on the machine. Wipe off the spillage and allow remaining fuel to evaporate.
2 If you have spilled fuel on yourself or your clothes, change your clothes. Wash any part of your body that has come in contact with fuel. Use soap and water.
3 If the machine is leaking fuel. Check regularly for leaks from the fuel cap and fuel lines.

WARNING! Never use a machine with visible damage to the spark plug guard and ignition cable. A risk of sparking arises, which can cause a fire.
Transport and storage
Always store the chain saw and fuel so that there is no risk of leakages or fumes coming into contact with sparks or naked flames from electrical equipment, electric motors, relays/switches, boilers and the like.
Always store fuel in an approved container designed for that purpose.
- For longer periods of storage or for transport of the chain saw, the fuel and chain oil tanks should be emptied. Ask where you can dispose of waste fuel and chain oil at your local gas station.
- Ensure the machine is cleaned and that a complete service is carried out before long-term storage.
- The bar guard must always be fitted to the cutting attachment when the machine is being transported or in storage, in order to prevent accident contact with the sharp chain. Even a non-moving chain can cause serious cuts to yourself or persons you bump into with an exposed chain.
- Remove the spark plug cap from the spark plug. Activate the chain brake.
Long-term storage
Empty the fuel/oil tanks in a well ventilated area. Store the fuel in approved cans in a safe place. Fit the bar guard. Clean the machine. See instructions under the heading Maintenance schedule.
Starting and stopping

WARNING! Note the following before starting:
The chain brake must be engaged when the chain saw is started to reduce the chance of contact with the moving chain during starting.
Never start a chain saw unless the bar, chain and all covers are fitted correctly. Otherwise the clutch can come loose and cause personal injuries.
Place the machine on firm ground. Make sure you have a secure footing and that the chain cannot touch anything.
Keep people and animals well away from the working area.
Never wrap the starter cord around your hand.
Starting
The chain brake should be activated when starting the chain saw. Activate the chain brake by pushing the front hand guard forwards.

Cold engine
Start position (1): Set the start/stop switch in the choke position by pulling the red control outward - upward.
Air purge (2): Press the air purge diaphragm repeatedly until fuel fills the diaphragm (at least 6 times). The diaphragm need not be completely filled.

Grip the front handle with your left hand. Hold the chain saw on the ground by placing your right foot through the rear handle.
Pull the starter handle (3): Pull the starter handle with your right hand and pull out the starter cord slowly until you feel a resistance (as the starter paws engage) then pull firmly and rapidly until the engine fires.
Push down the red choke control (4): As soon as the engine fires which can be heard through a "puff" sound, push down on the red choke control.
Pull the starter handle (5): Keep on pulling the cord powerfully until the engine starts.
Warm engine
Start position (1): The correct choke/start throttle setting for warm starting is obtained by initially moving the choke control by pulling the red control outward - upwards.
Air purge (2): Press the air purge diaphragm repeatedly until fuel fills the diaphragm (at least 6 times). The diaphragm need not be completely filled.
Push down the red choke control (4): This inactivates the choke, which is not needed when starting a warm chain saw. However the movement of the start/stop switch will have engaged a high idle, making warm starting easier.
Pull the starter handle (5): Grip the front handle with your left hand. Hold the chain saw on the ground by placing your right foot through the rear handle.






Warm=①②③④⑤
Pull the starter handle with your right hand and pull out the starter cord slowly until you feel a resistance (as the starter paws engage) then pull firmly and rapidly until the engine fires.
As the chain brake is still engaged the speed of the engine must be set to idling as soon as possible, this is achieved by disengaging the throttle lock. Disengagement is done by gently touching on the throttle trigger. This prevents unnecessary wear to the clutch, clutch drum and brake band. Allow the machine to idle a few seconds before giving full throttle.

There is a simplified start reminder with illustrations to describe each step on the rear edge of the saw (A).
CAUTION! Do not pull the starter cord all the way out and do not let go of the starter handle when the cord is fully extended. This can damage the machine.

Note! Pull the front hand guard towards the front handle. The chain brake is now disengaged. Your saw is ready for use.


WARNING! Long term inhalation of the engine's exhaust fumes, chain oil mist and dust from sawdust can represent a health risk.
- Never start a chain saw unless the bar, chain and all covers are fitted correctly. See instructions under the heading Assembly. Without a bar and chain attached to the chain saw the clutch can come loose and cause serious injury.

- The chain brake should be activated when starting. Se instructions under the heading Start and stop. Do not drop start. This method is very dangerous because you may lose control of the saw.

-
Never start the machine indoors. Exhaust fumes can be dangerous if inhaled.
-
Observe your surroundings and make sure that there is no risk of people or animals coming into contact with the cutting equipment.

Always hold the saw with both hands. The right hand should be on the rear handle, and the left hand on the front handle. All people, whether right or left handed, should use this grip. Use a firm grip with thumbs and fingers encircling the chain saw handles.

- The chain brake is released by moving the front hand guard marked "PULL BACK TO RESET" back, towards the front handle.
Stopping

Stop the engine by pushing the start/stop switch down. CAUTION! The start/stop switch automatically returns to run position. To avoid involuntary start up, the spark plug cap must always be removed from the spark plug when the machine is unsupervised.


Before use:

1 Check that the chain brake works correctly and is not damaged.
2 Check that the rear right hand guard is not damaged.
3 Check that the throttle lockout works correctly and is not damaged.
4 Check that the stop switch works correctly and is not damaged.
5 Check that all handles are free from oil.
6 Check that the anti vibration system works and is not damaged.
7 Check that the muffler is securely attached and not damaged.
8 Check that all parts of the chain saw are tightened correctly and that they are not damaged or missing.
9 Check that the chain catcher is in place and not damaged.
10 Check the chain tension.
General working instructions
IMPORTANT!
This section describes basic safety rules for using a chain saw. This information is never a substitute for professional skills and experience. If you get into a situation where you feel unsafe, stop and seek expert advice. Contact your chain saw dealer, service agent or an experienced chain saw user. Do not attempt any task that you are not sure you can handle!
Before using a chain saw you must understand the effects of kickback and how to avoid them. See instructions under the heading How to avoid kickback.
Before using a chain saw you must understand the difference between cutting with the top and bottom edges of the bar. See instructions under the headings How to avoid kickback and Machine's safety equipment.
Wear personal protective equipment. See instructions under the heading Personal protective equipment.
Basic safety rules
1 Look around you:
- To ensure that people, animals or other things cannot affect your control of the machine.
- To make sure that none of the above might come within reach of your saw or be injured by falling trees.

CAUTION! Follow the instructions above, but do not use a chain saw in a situation where you cannot call for help in case of an accident.
2 Do not use the machine in bad weather, such as dense fog, heavy rain, strong wind, intense cold, etc. Working in bad weather is tiring and often brings added risks, such as icy ground, unpredictable felling direction, etc.
3 Take great care when removing small branches and avoid cutting bushes (i.e. cutting many small branches at the same time). Small branches can be grabbed by the chain and thrown back at you, causing serious injury.
4 Make sure you can move and stand safely. Check the area around you for possible obstacles (roots, rocks, branches, ditches, etc.) in case you have to move suddenly. Take great care when working on sloping ground.

Take great care when cutting a tree that is under tension. A tree that is under tension may spring back to its normal position before or after being cut. If you position yourself incorrectly or make the cut in the wrong place the tree may hit you or the machine and cause you to lose control. Both situations can cause serious personal injury.


6 Before moving your chain saw switch off the engine and lock the chain using the chain brake. Carry the chain saw with the bar and chain pointing backwards. Fit a guard to the bar before transporting the chain saw or carrying it for any distance.

7 When you put the chain saw on the ground, lock the saw chain using the chain brake and ensure you have a constant view of the machine. Switch the engine off before leaving your chain saw for any length of time.
General rules
1 If you understand what kickback is and how it happens then you can reduce or eliminate the element of surprise. By being prepared you reduce the risk. Kickback is usually quite mild, but it can sometimes be very sudden and violent.
2 Always hold the chain saw firmly with your right hand on the rear handle and your left hand on the front handle. Wrap your fingers and thumbs around the handles. You should use this grip whether you are right-handed or left-handed. This grip minimizes the effect of kickback and lets you keep the chain saw under control. Do not let go of the handles!

3 Most kickback accidents happen during limbing. Make sure you are standing firmly and that there is nothing in the way that might make you trip or lose your balance. Lack of concentration can lead to kickback if the kickback zone of the bar accidentally touches a branch, nearby tree or some other object.

Have control over the workpiece. If the pieces you intend to cut are small and light, they can jam in the saw chain and be thrown towards you. Even if this does not need to be a danger, you may be surprised and lose control of the saw. Never saw stacked logs or branches without first separating them. Only saw one log or one piece at a time. Remove the cut pieces to keep your working area safe.

4 Never use the chain saw above shoulder height and avoid cutting with the tip of the bar. Never use the chain saw one-handed!

5 In order to keep control of your saw, always maintain a firm foothold. Never work on a ladder, in a tree or on any other insecure support.

6 Always use a fast cutting speed, i.e. full throttle.
7 Take great care when you cut with the top edge of the bar, i.e. when cutting from the underside of the object. This is known as cutting with a pushing chain. The chain tries to push the chain saw back towards the
user. If the saw chain is jamming, the saw may be pushed back at you.

Unless the user resists this pushing force there is a risk that the chain saw will move so far backwards that only the kickback zone of the bar is in contact with the tree, which can lead to a kickback.

Cutting with the bottom edge of the bar, i.e. from the top of the object downwards, is known as cutting with a pulling chain. In this case the chain saw pulls itself towards the tree and the front edge of the chain saw body rests naturally on the trunk when cutting. Cutting with a pulling chain gives the operator better control over the chain saw and the position of the kickback zone.

9 Follow the instructions on sharpening and maintaining your bar and chain. When you replace the bar and chain use only combinations that are recommended by us. See instructions under the headings Cutting equipment and Technical data.
Basic cutting technique

WARNING! Never use a chain saw by holding it with one hand. A chain saw is not safely controlled with one hand. Always have a secure, firm grip around the handles with both hands.
General
Always use full throttle when cutting!
- Reduce the speed to idle after every cut (running the engine for too long at full throttle without any load, i.e. without any resistance from the chain during cutting, can lead to serious engine damage).
Cutting from above = Cutting with a pulling chain.
Cutting from below = Cutting with pushing chain.
Cutting with a pushing chain increases the risk of kickback. See instructions under the heading How to avoid kickback.
Terms
Cutting = General term for cutting through wood.
Limbing = Cutting branches off a felled tree.
Splitting = When the object you are cutting breaks off before the cut is complete.
There are five important factors you should consider before making a cut:
1 Make sure the cutting equipment will not jam in the cut.

2 Make sure the object you are cutting will not split.

3 Make sure the chain will not strike the ground or any other object during or after cutting.

4 Is there a risk of kickback?

5 Do the conditions and surrounding terrain affect how safely you can stand and move about?
Two factors decide whether the chain will jam or the object that you are cutting will split: the first is how the object is supported before and after cutting, and the second is whether it is in tension.
In most cases you can avoid these problems by cutting in two stages; from the top and from the bottom. You need to support the object so that it will not trap the chain or split during cutting.
IMPORTANT! If the chain jams in the cut: stop the engine! Don't try to pull the chain saw free. If you do you may be injured by the chain when the chain saw suddenly breaks free. Use a lever to open up the cut and free the chain saw.
The following instructions describe how to handle the common situations you are likely to encounter when using a chain saw.
Limbing
When limbing thick branches you should use the same approach as for cutting.
Cut difficult branches piece by piece.

Cutting

WARNING! Never attempt to cut logs while they are in a pile or when a couple of logs are lying together. Such procedures drastically increase the risk of kickback which can result in a serious or fatal injury.
If you have a pile of logs, each log you attempt to cut should be removed from the pile, placed on a saw horse or runners and cut individually.
Remove the cut pieces from the cutting area. By leaving them in the cutting area, you increase the risk for inadvertently getting a kickback, as well as increasing the risk of losing your balance while working.


The log is lying on the ground. There is little risk of the chain jamming or the object splitting. However there is a risk that the chain will touch the ground when you finish the cut.

Cut all the way through the log from above. Avoid letting the chain touch the ground as you finish the cut. Maintain full throttle but be prepared for what might happen.

If it is possible (can you turn the log?) stop cutting about 2/3 of the way through the log.
Turn the log and finish the cut from the opposite side.

The log is supported at one end. There is a high risk that it will split.

Start by cutting from below (about 1/3 of the way through). Finish by cutting from above so that the two cuts meet.

The log is supported at both ends. There is a high risk that the chain will jam.

Start by cutting from above (about 1/3 of the way through). Finish by cutting from below so that the two cuts meet.

Tree felling technique
IMPORTANT! It takes a lot of experience to fell a tree. Inexperienced users of chain saws should not fell trees. Do not attempt any task beyond your experience level!
Safe distance
The safe distance between a tree that is to be felled and anyone else working nearby is at least 2 1/2 tree lengths. Make sure that no-one else is in this "risk zone" before or during felling.

Felling direction
The aim is to fell the tree in a position where you can limb and cross-cut the log as easily as possible. You want it to fall in a location where you can stand and move about safely.
Once you have decided which way you want the tree to fall, you must judge which way the tree would fall naturally.
Several factors affect this:
- Lean of the tree
Bend
Wind direction - Arrangement of branches
Weight of snow - Obstacles within the reach of the tree: for example, other trees, power lines, roads and buildings.
- Look for signs of damage and rot in the stem, this makes it more probably that the tree will break and start to fall before you expect it to.

You may find you are forced to let the tree fall in its natural direction because it is impossible or dangerous to try to make it fall in the direction you first intended.
Another very important factor, which does not affect the felling direction but does affect your safety, is to make sure the tree has no damaged or dead branches that might break off and hit you during felling.
The main point to avoid is letting the tree fall onto another tree. It is very dangerous to remove a trapped tree and there is high accident risk. See instructions under the heading Freeing a tree that has fallen badly.

IMPORTANT! During critical felling operations, hearing protectors should be lifted immediately when sawing is completed so that sounds and warning signals can be heard.
Clearing the trunk and preparing your retreat
Delimb the stem up to shoulder height. It is safer to work from the top down and to have the tree between you and the saw.

Remove any undergrowth from the base of the tree and check the area for obstacles (stones, branches, holes, etc.) so that you have a clear path of retreat when the tree starts to fall. Your path of retreat should be roughly 135 degrees away from the intended felling direction.

Felling

WARNING! Unless you have special training we advise you not to fell trees with a diameter larger than the bar length of your saw!
Felling is done using three cuts. First you make the directional cuts, which consist of the top cut and the bottom cut, then you finish with the felling cut. By placing these cuts correctly you can control the felling direction very accurately.
Directional cuts
To make the directional cut you begin with the top cut. Aim using to the saw's felling direction mark (1) toward a goal further forward in the terrain, where you would like the tree to fall (2). Stand on the right-hand side of the tree, behind the saw, and cut with a pull stroke.
Next make the bottom cut so that it finishes exactly at the end of the top cut.

The directional cuts should run 1/4 of the diameter through the trunk and the angle between the top cut and bottom cut should be 45^ .
The line where the two cuts meet is called the directional cut line. This line should be perfectly horizontal and at right angles (90^) to the chosen felling direction.

Felling cut
The felling cut is made from the opposite side of the tree and it must be perfectly horizontal. Stand on the left side of the tree and cut on the pull stroke.
Make the felling cut about 1.5-2 inches (3-5 cm) above the bottom directional cut.

Finish the felling cut parallel with the directional cut line so that the distance between them is at least 1/10 of the trunk diameter. The uncut section of the trunk is called the felling hinge.
The felling hinge controls the direction that the tree falls in.

All control over the felling direction is lost if the felling hinge is too narrow or non-existent, or if the directional cuts and felling cut are badly placed.

When the felling cut and directional cut are complete the tree should start to fall by itself or with the aid of a felling wedge or breaking bar.

We recommend that you use a bar that is longer than the diameter of the tree, so that you can make the felling cut and directional cuts with single cutting strokes. See instructions under the heading Technical data section to find out which lengths of bar are recommended for your saw.

There are methods for felling trees with a diameter larger than the bar length. However these methods involve a much greater risk that the kickback zone of the bar will come into contact with the tree.

Freeing a tree that has fallen badly
Freeing a "trapped tree"
It is very dangerous to remove a trapped tree and there is high accident risk.
Never try to fell the tree that is trapped.
Never work in the risk zone of the hanging trapped tree.

The safest method is to use a winch.
- Tractor-mounted

- Portable

Cutting trees and branches that are in tension
Preparations: Work out which side is in tension and where the point of maximum tension is (i.e. where it would break if it was bent even more).

Decide which is the safest way to release the tension and whether you are able to do it safely. In complicated situations the only safe method is to put aside your chain saw and use a winch.
General advice:
Position yourself so that you will be clear of the tree or branch when the tension is released.

Make one or more cuts at or near the point of maximum tension. Make as many cuts of sufficient depth as
necessary to reduce the tension and make the tree or branch break at the point of maximum tension.

Never cut straight through a tree or branch that is in tension!
If you must cut across tree/limb, make two to three cuts, one inch apart, one to two inches deep.

Continue to cut deeper until tree/limb bends and tension is released.

Cut tree/limb from outside the bend, after tension has been released.
How to avoid kickback

WARNING! Kickback can happen very suddenly and violently; kicking the chain saw, bar and chain back at the user. If this happens when the chain is moving it can cause very serious, even fatal injuries. It is vital you understand what causes kickback and that you can avoid it by taking care and using the right working technique.
What is kickback?
The word kickback is used to describe the sudden reaction that causes the chain saw and bar to jump off an object when the upper quadrant of the tip of the bar, known as the kickback zone, touches an object.


Kickback always occurs in the cutting plane of the bar. Normally the chain saw and bar are thrown backwards and upwards towards the user. However, the chain saw may move in a different direction depending on the way it
was being used when the kickback zone of the bar touched the object.

Kickback only occurs if the kickback zone of the bar touches an object.

Limbing

WARNING! A majority of kickback accidents occur during climbing. Do not use the kickback zone of the guide bar. Be extremely cautious and avoid contacting the log, other limbs or objects with the nose of the guide bar. Be extremely cautious of limbs under tension. They can spring back toward you and cause loss of control resulting in injury.
Make sure that you can stand and move about safely. Work on the left side of the trunk. Work as close as possible to the chain saw for maximum control. If possible, let the weight of the chain saw rest on the trunk.

Keep the trunk between you and the chain saw as you move along the trunk.
Cutting the trunk into logs
See instructions under the heading Basic cutting technique.
General
The user must only carry out the maintenance and service work described in this manual. More extensive work must be carried out by an authorised service workshop.
Carburetor adjustment
Your Husqvarna product has been designed and manufactured to specifications that reduce harmful emissions.
Function
- The carburetor governs the engine's speed via the throttle control. Air and fuel are mixed in the carburetor. The air/fuel mixture is adjustable. Correct adjustment is essential to get the best performance from the machine.
- The T-screw regulates the throttle setting at idle speed. If the T-screw is turned clockwise this gives a higher idle speed; turning it anti-clockwise gives a lower idle speed.
Basic settings and running in
The basic carburetor settings are adjusted during testing at the factory. Fine adjustment should be carried out by a skilled technician.
Rec. idle speed: See the Technical data section.
Fine adjustment of the idling speed T
Adjust the idle speed with the T-screw. If it is necessary to re-adjust, turn the T-screw clockwise while the engine is running, until the chain starts to rotate. Then turn counterclockwise until the chain stops. A correctly adjusted idle speed setting occurs when the engine runs smoothly in every position. It should also be good margin to the rpm when the chain starts to rotate.

WARNING! Contact your servicing dealer, if the idle speed setting cannot be adjusted so that the chain stops at idle. Do not use the chain saw until it has been properly adjusted or repaired.
Correctly adjusted carburetor
When the carburetor is correctly adjusted the machine accelerates without hesitation and the machine 4-cycles a little at max. speed. It is also important that the chain does not rotate at idle. If the L-jet is set too lean it may cause starting difficulties and poor acceleration. If the H-jet is set too lean the machine will have less power, poor acceleration and could suffer damage to the engine.
Checking, maintaining and servicing chain saw safety equipment
Note! All servicing and repair work on the machine requires special training. This is especially true of the machine's safety equipment. If your machine fails any of the checks described below we recommend you to contact our servicing dealer.
Chain brake and front hand guard
Checking brake band wear


Brush off any wood dust, resin and dirt from the chain brake and clutch drum. Dirt and wear can impair operation of the brake.

Regularly check that the brake band is at least 0.024 inch (0.6 mm) thick at its thinnest point.
Checking the front hand guard


Make sure the front hand guard is not damaged and that there are no visible defects such as cracks.

Move the front hand guard forwards and back to make sure it moves freely and that it is securely anchored to the clutch cover.

Checking the inertia brake release

With the engine turned off, hold the chain saw over a stump or other firm object. Let go of the front handle so that the bar drops towards the stump as the chain saw rotates around the rear handle.

When the bar hits the stump the brake should be applied.

Checking the brake trigger
Place the chain saw on firm ground and start it. Make sure the chain does not touch the ground or any other object. See the instructions under the heading Start and stop.

Grasp the chain saw firmly, wrapping your fingers and thumbs around the handles.

Apply full throttle and activate the chain brake by tilting your left wrist forward onto the front hand guard. Do not let go of the front handle. The chain should stop immediately.

Throttle lockout

- Make sure the throttle control is locked at the idle setting when the throttle lockout is released.

- Press the throttle lockout and make sure it returns to its original position when you release it.

- Check that the throttle control and throttle lockout move freely and that the return springs work properly.

- Start the chain saw and apply full throttle. Release the throttle control and check that the chain stops and remains stationary. If the chain rotates when the throttle control is in the idle position you should check the carburetor idle adjustment.
Chain catcher


Check that the chain catcher is not damaged and is firmly attached to the body of the chain saw.

Right hand guard



Check that the right hand guard is not damaged and that there are no visible defects, such as cracks.

Vibration damping system



Regularly check the vibration damping units for cracks or deformation.

Make sure the vibration damping units are securely attached to the engine unit and handle unit.

Stop switch

Start the engine and make sure the engine stops when you move the stop switch to the stop setting.

CAUTION! The start/stop switch automatically returns to run position. In order to prevent unintentional starting, the spark plug cap must be removed from the spark plug when assembling, checking and/or performing maintenance.
Muffler



Never use a machine that has a faulty muffler.

Regularly check that the muffler is securely attached to the machine.

Some mufflers are equipped with a special spark arrester screen. If your machine has this type of muffler, you should clean the screen at least once a week. This is best done with a wire brush. A blocked screen will cause the engine to overheat and may lead to serious damage.
Note! The screen must be replaced if it is damaged. If the screen is blocked the machine will overheat and this will cause damage to the cylinder and piston. Never use a machine with a muffler that is in poor condition. Never
use a muffler if the spark arrestor screen is missing or defective.

The muffler is designed to reduce the noise level and to direct the exhaust gases away from the operator. The exhaust gases are hot and can contain sparks, which may cause fire if directed against dry and combustible material.
Starter

WARNING! When the recoil spring is wound up in the starter housing it is under tension and can, if handled carelessly, pop out and cause personal injury.
Care must be exercised when replacing the return spring or the starter cord. Wear protective glasses and protective gloves.
Replacing the starter cord



- Loosen the screws that hold the starter against the crankcase and remove the starter.

Pull out the cord approx. 30 cm (12 inches) and hook it into the notch in the rim of the pulley. Release the recoil spring by letting the pulley rotate slowly backwards.


- Undo the bolt in the centre of the pulley and remove the drive disc (A), drive disc spring (B) and the pulley (C). Insert and secure a new starter cord in the starter pulley. Wind approx. 3 turns of the starter cord on the starter pulley. Fit the starter pulley so that the end of the recoil spring (D) hooks into the starter pulley. Now assemble the drive disc spring, drive disc and the bolt in the centre of the pulley. Carry the starter cord through the hole in the starter housing and the starter handle. Tie a good knot on the starter cord.

Tensioning the recoil spring
- Hook the starter cord in the notch in the pulley and turn the starter pulley about 2 turns clockwise.
Note! Check that the pulley can be turned an additional 1/2 turn when the starter cord is pulled all the way out.

Stretch the line with the handle. Move your thumb and release the line. See the figure below.

Replacing the return and drive springs



Recoil spring (A)
- Lift up the starter pulley. See instructions under the heading Changing a broken or worn starter cord. Remember that the recoil spring is coiled under tension in the starter housing.
- Remove the cassette with the recoil spring from the starter.
- Lubricate the recoil spring with light oil. Fit the cassette with recoil spring in the starter. Fit the starter pulley and tension the recoil spring.
Drive disc spring (B)
- Undo the bolt in the centre of the pulley and remove the drive disc and the drive disc spring.
- Replace the drive disc spring and fit the drive disc above the spring.

Fitting the starter
- To fit the starter, first pull out the starter cord and place the starter in position against the crankcase. Then slowly release the starter cord so that the pulley engages with the paws.
- Fit and tighten the screws that hold the starter.

Air filter


The air filter must be regularly cleaned to remove dust and dirt in order to avoid:
Carburettormalfunctions
Starting problems
Loss of engine power
- Unnecessary wear to engine parts
- Excessive fuel consumption.
- Remove the air filter after taking off the air filter cover. When refitting make sure that the air filter seals tightly against the filter holder. Clean the filter by brushing or shaking it.

The filter can be cleaned more thoroughly by washing it in water and detergent.
An air filter that has been in use for a long time cannot be cleaned completely. The filter must therefore be replaced with a new one at regular intervals. A damaged air filter must always be replaced.
A HUSQVARNA chain saw can be equipped with different types of air filters according to working conditions, weather, season, etc. Contact your dealer for advice.
Spark plug

The spark plug condition is influenced by:
Incorrect carburetor adjustment.
- An incorrect fuel mixture (too much or incorrect type of oil).
A dirty air filter.
These factors cause deposits on the spark plug electrodes, which may result in operating problems and starting difficulties.
If the machine is low on power, difficult to start or runs poorly at idle speed: always check the spark plug first before taking any further action. If the spark plug is dirty, clean it and check that the electrode gap is 0.020 inch (0.5 mm). The spark plug should be replaced after about a month in operation or earlier if necessary.

Note! Always use the recommended spark plug type! Use of the wrong spark plug can damage the piston/cylinder. Check that the spark plug is fitted with a suppressor.
Lubricating the bar tip sprocket



Lubricate the bar tip sprocket each time you refuel. Use the special grease gun and a good quality bearing grease.

Needle bearing lubrication

The clutch drum has a needle bearing on the output shaft. This needle bearing must be lubricated regularly.
When lubricating, remove the clutch cover by loosening the two bar nuts. Lay the saw on its side with the clutch drum upwards.
Lubrication involves engine oil dripping into the centre of the clutch drum as it rotates.

Cooling system

To keep the working temperature as low as possible the machine is equipped with a cooling system.
The cooling system consists of:
1 Air intake on the starter.
2 Air guide plate.
3 Fins on the flywheel.
4 Cooling fins on the cylinder.
5 Cylinder cover (directs cold air over the cylinder).

Clean the cooling system with a brush once a week, more often in demanding conditions. A dirty or blocked cooling system results in the machine overheating which causes damage to the piston and cylinder.
"Air Injection" centrifugal cleaning
Centrifugal cleaning means the following: All air to the carburetor passes through the starter. Dirt and dust is pushed out by the cooling fan.

IMPORTANT! In order to maintain operation of the centrifugal cleaning system it must be regularly maintained. Clean the air intake to the starter, the fins on the flywheel, the space around the flywheel, inlet pipe and carburetor compartment.
Winter use
Running problems can occur when using the machine in the cold and snowy conditions caused by:
- Too low engine temperature.
- Icing of the air filter and carburetor.
Special measures are therefore often required:
- Partly mask the air inlet on the starter to increase the working temperature of the engine.
Temperature -5^ (23^) or colder:

For running the machine in cold weather or powder snow, a special cover is available, which is mounted on the starter housing. This reduces the intake of cold air and prevents large amounts of snow from being sucked in.

CAUTION! If the special winterising kit has been fitted or any measures have been taken to increase the temperature these changes must be reversed before the machine is used in normal temperature conditions. Otherwise there is a risk of overheating, resulting in severe damage to the engine.
IMPORTANT! Any maintenance other than that described in this manual must be carried out by your servicing dealer (retailer).
Maintenance schedule
The following is a list of the maintenance that must be performed on the machine. Most of the items are described in the Maintenance section.
| Daily maintenance | Weekly maintenance | Monthly maintenance |
| Clean the outside of the machine. | On chain saws without a catalytic converter, check the cooling system weekly. | Check the brake band on the chain brake for wear. Replace when less than 0.024 inch (0.6 mm) remains at the most worn point. |
| Check that the components of the throttle control work safely. (Throttle lockout and throttle control.) | Check the starter, starter cord and return spring. | Check the clutch centre, clutch drum and clutch spring for wear. |
| Clean the chain brake and check that it operates safely. Make sure that the chain catcher is undamaged, and replace it if necessary. | Check that the vibration damping elements are not damaged. | Clean the spark plug. Check that the electrode gap is 0.020 inch (0.5 mm). |
| The bar should be turned regularly for more even wear. Check the lubrication hole in the bar, to be sure it is not clogged. Clean the bar groove. If the bar has a sprocket tip, this should be lubricated. | Lubricate the clutch drum bearing. | Clean the outside of the carburetor. |
| Check that the bar and chain are getting sufficient oil. | File off any burrs from the edges of the bar. | Check fuel hose for cracks or other damage. Change if necessary. |
| Check the saw chain with regard to visible cracks in the rivets and links, whether the saw chain is stiff or whether the rivets and links are abnormally worn. Replace if necessary. | Clean or replace the spark arrester screen on the muffler. | Empty the fuel tank and clean the inside. |
| Sharpen the chain and check its tension and condition. Check the drive sprocket for excessive wear and replace if necessary. | Clean the carburetor compartment. | Empty the oil tank and clean the inside. |
| Clean the starter units air intake. | Clean the air filter. Replace if necessary. | Check all cables and connections. |
| Check that nuts and screws are tight. | ||
| Check that the stop switch works correctly. | ||
| Check that there are no fuel leaks from the engine, tank or fuel lines. | ||
| On chain saws with a catalytic converter, check the cooling system daily. |
TECHNICAL DATA
Technical data
| 435 | 435e | 440e | |
| Engine | |||
| Cylinder displacement, cu.in/cm3 | 2,49/40,9 | 2,49/40,9 | 2,49/40,9 |
| Cylinder bore, inch/mm | 1,61/41 | 1,61/41 | 1,61/41 |
| Stroke, inch/mm | 1,22/31 | 1,22/31 | 1,22/31 |
| Idle speed, rpm | 2900 | 2900 | 2900 |
| Power, kW/HP @ rpm | 1,6/2,2 @ 9000 | 1,6/2,2 @ 9000 | 1,8/2,4 @ 9000 |
| Ignition system | |||
| Manufacturer of ignition system | Walbro | Walbro | Walbro |
| Type of ignition system | MBU-33 | MBU-33 | MBU-33 |
| Spark plug | NGK BPMR 7A/ Champion RCJ 7Y/ Husqvarna PR 17Y | NGK BPMR 7A/ Champion RCJ 7Y/ Husqvarna PR 17Y | NGK BPMR 7A/ Champion RCJ 7Y/ Husqvarna PR 17Y |
| Electrode gap, inch/mm | 0,02/0,5 | 0,02/0,5 | 0,02/0,5 |
| Fuel and lubrication system | |||
| Manufacturer of carburetor | Zama | Zama | Zama |
| Carburetor type | EL 41 | EL 41 | EL 41 |
| Fuel tank capacity, US pint/litre | 0,78/0,37 | 0,78/0,37 | 0,78/0,37 |
| Oil pump capacity at 9,000 rpm, ml/min | 13 | 13 | 13 |
| Oil tank capacity, US pint/litre | 0,53/0,25 | 0,53/0,25 | 0,53/0,25 |
| Type of oil pump | Not adjustable | Not adjustable | Not adjustable |
| Weight | |||
| Chain saw without bar or chain, empty tanks, lb/kg | 9,3/4,2 | 9,7/4,4 | 9,7/4,4 |
| Chain/bar | |||
| Standard bar length, inch/cm | 13"/33 | 13"/33 | 13"/33 |
| Recommended bar lengths, inch/cm | 13-18"/33-46 | 13-18"/33-46 | 13-18"/33-46 |
| Usable cutting length, inches/cm | 12-17"/31-43 | 12-17"/31-43 | 12-17"/31-43 |
| Pitch, inch/mm | 0,325/8,25 | 0,325/8,25 | 0,325/8,25 |
| Thickness of drive links, inch/mm | 0,050/1,3 | 0,050/1,3 | 0,050/1,3 |
| Drive sprocket type/teeth | Spur/7 | Spur/7 | Spur/7 |
| Chain speed at max. power, m/sec | 17,3 | 17,3 | 17,3 |
TECHNICAL DATA
Recommended original and replacement bar and chain combinations
Following is a list of recommended cutting equipment for the Husqvarna chain saw models 435, 435e and 440e. The combinations of power head, bar and chain have been tested and found to be in accordance with the kickback and vibration requirements of ANSI B175.1-2000.
The guide bar nose radius is determined by either the maximum number of teeth in the nose sprocket or the corresponding maximum nose radius of a solid bar.
The following list is the chain saw manufacturers recommendations. There may be other combinations available, which will also achieve kickback reduction.
As we are listing the maximum guide bar nose radius, you may use a guide bar with smaller nose radius than in our list. For guide bars of the same length, all sprocket-nose guide bars of the same pitch and having the same number of sprocket teeth may be considered to have equivalent kickback energy. A hard nose bar having the same length and nose radius as a sprocket-nose bar may be considered to have equivalent or less kickback energy than the sprocket-nose bar.
Bar and chain combinations
Chain saw models Husqvarna 435, 435e and 440e met the kickback performance requirements of ANSI B 175.1-2000 when tested with the combinations of bars and saw chains listed below. The saw chain Husqvarna H30 is also classified as a low kickback saw chain since it met the requirements for low kickback saw chain outlined in ANSI B 175.1-2000. We recommend to use only the listed combinations of bars and chains for chain saw models Husqvarna 435, 435e and 440e. Other chain saw models may not meet the kickback requirements when equipped with the listed bar and chain combinations.
| Bar | Chain | ||||
| Length, inch | Pitch, inch | Thickness of drive links, inch/mm | Max. nose radius | Type | Drive link count |
| 13 | 0,325 | 1,3 | 10T | Husqvarna H30 | 56 |
| 15 | 0,325 | 10T | 64 | ||
| 16 | 0,325 | 10T | 66 | ||
| 18 | 0,325 | 10T | 72 | ||
Saw chain filing and file gauges
| xx inch/mm | ∅ | inch/mm | |||||
| H30 | 3/16 / 4,8 | 85° | 30° | 10° | 0,025 / 0,65 | 5056981-00 | 5056981-08 |
YOUR WARRANTY RIGHTS AND OBLIGATIONS
The EPA (U.S. Environmental Protection Agency), CARB (California Air Resources Board), Environment Canada and Husqvarna Forest & Garden are pleased to explain the emissions control system's warranty on your 2009 and later small off-road engine. In U.S. and Canada, new equipment that use small off-road engines must be designed, built, and equipped to meet the applicable Federal or Californian stringent anti-smog standards. Husqvarna Forest & Garden must warrant the emissions control system on your small off-road engine for the period listed below provided there has been no abuse, neglect or improper maintenance of your equipment. Your emissions control system may include parts such as the carburetor, ignition system, catalytic converter, fuel tank, filters and other associated components. Also, included may be hoses, belts, connectors, sensors, and other emission-related assemblies. Where a warrantable condition exists, Husqvarna Forest & Garden will repair your small off-road engine at no cost to you including diagnosis, parts and labor.
MANUFACTURER'S WARRANTY COVERAGE
The emissions control system is warranted for two years. If any emissions-related part on your equipment is defective, the part will be repaired or replaced by Husqvarna Forest & Garden.
OWNER'S WARRANTY RESPONSIBILITIES
- As the small off-road engine owner, you are responsible for performance of the required maintenance listed in your operator's manual. Husqvarna Forest & Garden recommends that you retain all receipts covering maintenance on your small off-road engine, but Husqvarna Forest & Garden cannot deny warranty solely for the lack of receipts or your failure to ensure the performance of all scheduled maintenance.
- As the small off-road engine owner, you should however be aware that Husqvarna Forest & Garden may deny you warranty coverage if your small off-road engine or a part has failed due to abuse, neglect, or improper maintenance or unapproved modifications.
- You are responsible for presenting your small off-road engine to a Husqvarna Forest & Garden distribution center or service center as soon as the problem exists. The warranty repairs should be completed in a reasonable amount of time, not to exceed 30 days. If you have any questions regarding your warranty coverage, you should contact Husqvarna Forest & Garden at 1-800-487-5951 or visit www.usa.husqvarna.com.
WARRANTY COMMENCEMENT DATE
The warranty period begins on the date the engine or equipment is delivered to an ultimate purchaser.
LENGTH OF COVERAGE
Husqvarna Forest & Garden warrants to the ultimate purchaser and each subsequent owner that the engine or equipment is designed, built, and equipped so as to conform with all applicable regulations adopted by EPA and CARB, and is free from defects in materials and workmanship that causes the failure of a warranted part for a period of two years.
WHAT IS COVERED
REPAIR OR REPLACEMENT OF PARTS Repair or replacement of any warranted part under the warranty must be performed at no charge to the owner at a warranty station. Warranty services or repairs will be provided at all Husqvarna Forest & Garden distribution centers that are franchised to service the subject engines. Throughout the emissions warranty period of two years, Husqvarna Forest & Garden must maintain a supply of warranted parts sufficient to meet the expected demand for such parts.
WARRANTY PERIOD Any warranted part that is scheduled for replacement as required in the maintenance schedule, is warranted for the period of time prior to the first scheduled replacement point for that part. If the part fails prior to the first scheduled replacement, the part will be repaired or replaced by Husqvarna Forest & Garden at no cost. Any such part repaired or replaced under warranty is warranted for the remainder of the period prior to the first scheduled replacement point for the part. Any warranted part that is not scheduled for replacement as required in the maintenance schedule, is warranted for two years. If any such part fails during the period of warranty coverage, it will be repaired and replaced by Husqvarna Forest & Garden at no cost. Any such part repaired or replaced under the warranty is warranted for the remaining warranty period. Any warranted part that is scheduled only for regular inspection in the maintenance schedule will be warranted for a period of two years. A statement in such written instructions to the effect of "repair or replace as necessary" will not reduce the period of warranty coverage. Any such part repaired or replaced under warranty will be warranted for the remaining warranty period.
DIAGNOSIS The owner must not be charged for diagnostic labor that leads to the determination that a warranted part is in fact defective, provided that such diagnostic work is performed at a warranty station.
CONSEQUENTIAL DAMAGES Husqvarna Forest & Garden is liable for damages to other engine components proximately caused by a failure under warranty of any warranted part.
EMISSION WARRANTY PARTS LIST
1 Carburetor and internal parts
2 Intake pipe, airfilter holder and carburetor bolts.
3 Airfilter and fuelfilter covered up to maintenance schedule.
4 Spark Plug, covered up to maintenance schedule
5 Ignition Module
6 Muffler with catalytic converter
7 Fuel tank
WHAT IS NOT COVERED
All failures caused by abuse, neglect or improper maintenance are not covered.
ADD -ON OR MODIFIED PARTS
Add-on or modified parts that are not exempted by CARB or EPA may not be used. The use of any non-exempted add-on or modified parts will be grounds for disallowing a warranty claim. Husqvarna Forest & Garden will not be liable to warrant failures of warranted parts caused by the use of a non-exempted add-on or modified part.
HOW TO FILE A CLAIM
If you have any questions regarding your warranty rights and responsibilities, you should contact your nearest authorized servicing dealer or call Husqvarna Forest & Garden at 1-800-487-5951 or visit www.usa.husqvarna.com.
WHERE TO GET WARRANTY SERVICE
Warranty services or repairs are provided through all Husqvarna Forest & Garden authorized servicing dealers.
MAINTENANCE, REPLACEMENT AND REPAIR OF EMISSION-RELATED PARTS
Any replacement part may be used in the performance of any warranty maintenance or repairs and must be provided without charge to the owner. Such use will not reduce the warranty obligations of the manufacturer.
MAINTENANCE STATEMENT
The owner is responsible for the performance of all required maintenance, as defined in the operator's manual.
Safety precautions for chain saw users
(ANSI B175.1-2000 Annex C)
Kickback safety precautions

WARNING! Kickback may occur when the nose or tip of the guide bar touches an object, or when the wood closes in and pinches the saw chain in the cut.
Tip contact in some cases may cause a lightning fast reverse reaction, kicking the guide bar up and back towards the operator.
Pinching the saw chain along the top of the guide bar may push the guide bar rapidly back towards the operator.
Either of these reactions may cause you to lose control of the saw which could result in serious personal injury.
Do not rely exclusively upon the safety devices built into your saw. As a chain saw user, you should take several steps to keep your cutting jobs free from accident or injury.
With a basic understanding of kickback, you can reduce or eliminate the element of surprise. Sudden surprise contributes to accidents.
Keep a good firm grip on the saw with both hands, the right hand on the rear handle, and the left hand on the front handle, when the engine is running. Use a firm grip with thumbs and fingers encircling the chain saw handles. A firm grip will help you reduce kickback and maintain control of the saw. Don't let go.
Make sure that the area in which you are cutting is free from obstacles. Do not let the nose of the guide bar contact a log, branch, or any other obstacle which could be hit while you are operating the saw.
Cut at high engine speeds.
Do not overreach or cut above shoulder height.
Follow manufacturer's sharpening and maintenance instructions for the saw chain.
Only use replacement bars and chains specified by the manufacturer or the equivalent.
Other safety precautions

WARNING! Do not operate a chain saw with one hand! Serious injury to the operator, helpers, bystanders or any combination of these persons may result from one-handed operation. A chain saw is intended for two-handed use.
Do not operate a chain saw when you are fatigued.
Use safety footwear; snug-fitting clothing, protective gloves, and eye, hearing and head protection devices.
Use caution when handling fuel. Move the chain saw at least 10 feet (3 m) from the fueling point before starting the engine.
Do not allow other persons to be near the chain saw when starting or cutting with the chain saw. Keep bystanders and animals out of the work area.
Do not start cutting until you have a clear work area, secure footing and a planned retreat path from the falling tree.
Keep all parts of your body away from the saw chain when the engine is running.
Before you start the engine, make sure that the saw chain is not contacting anything.
Carry the chain saw with the engine stopped, the guide bar and saw chain to the rear, and the muffler away from your body.
Do not operate a chain saw that is damaged, improperly adjusted, or not completely and securely assembled. Be sure that the saw chain stops moving when the throttle control trigger is released.
Shut off the engine before setting the chain saw down.
Use extreme caution when cutting small size brush and saplings because slender material may catch the saw chain and be whipped toward you or pull you off balance. When cutting a limb that is under tension be alert for springback so that you will not be struck when the tension in the wood fibers is released.
Keep handles dry, clean and free of oil or fuel mixture.
Operate the chain saw only in well-ventilated areas.
Do not operate a chain saw in a tree unless you have been specifically trained to do so.
Do not operate a chain saw above shoulder height.
All chain saw service, other than the items listed in the operator's/owner's safety and maintenance instructions, should be performed by competent chain saw service personnel. (For example, if improper tools are used to remove the flywheel or if an improper tool is used to hold the flywheel in order to remove the clutch, structural damage to the flywheel could occur and subsequently cause the flywheel to burst.)
When transporting your chain saw, use the appropriate guide bar guard.
Note: This Annex is intended primarily for the consumer or occasional user.
Épuration centrifuge "Air Injection" 81
Épuration centrifuge "Air Injection"
This saw is capable of severe kickback.
Now all safety precautions in the Operator's Manual (s). Failure to follow instructions could result in serious personal injury. Recommended cutting equipment see Operator's Manual. Other low or reduced kickback combinations in Operator's Manual (s).

LISTED 54L 1.
LISTED IN ACCORDANCE WITH AMERICAN NATIONAL STANDARD SAFETY SPECIFICATIONS FOR GASOLINE POWERED CHAIN SAWS (ANSI B175.1, 2-000)
EPA III

Husqvarma
HUSQVARNA AB HUSKVARNA SWEDEN
EMISSION CONTROL INFORMATION
THIS ENGINE MEETS US EPA AND
CALIFORNIA EXH/EVP REPS EOR
SORE, REFER TO OPERATOR'S
MANUAL FOR MAINTENANCE SP
CIFICATIONS AND ADJUSTMENTS
EMISSION COMPLIANCE PERIOD
HRS
NoASFJFJFJFJFJFJFJFJFJFJFJFJFJFJFJFJFJFJFJFJFJFJFJFJFJFJFJFJFJFJFJFJFJFJFJFJFJFJFJFJFJFJFJFJ
El atasco de laadena y la partación del的对象o de corteSEOSEOSEOSEOSEOSEOSEOSEOSEOSEOSEOSEOSEOSEOSEOSEOSEOSEOSEOSEOSEOSEOSEOSEOSEOSEOSEOSEOSEOSEOSEOSEOSEOSEOSEOSEOSEOSEOSEOSEOSEOSEOSEOSEOSEOSEOSEOSEOSEOSEOSEOSEOSEOSEOSEOSEOSEOSEOSEOSEOSEOSEOSEOSEOSEOSEOSEOSEOSEOSEOSEOSEOSEOSEOSEOSEOSEOSEOSEOSEOSEOSEOSEOSEOSEOSEOSEOSEOSEOSEOSEOSEOSEOSEOSEOSEOSEOSEOSEOSEO SEO
EasyManual