DHD30U990WMDA - Basket Dacor - Free user manual and instructions
Find the device manual for free DHD30U990WMDA Dacor in PDF.
Download the instructions for your Basket in PDF format for free! Find your manual DHD30U990WMDA - Dacor and take your electronic device back in hand. On this page are published all the documents necessary for the use of your device. DHD30U990WMDA by Dacor.
USER MANUAL DHD30U990WMDA Dacor
Important Safety Instructions 4
Installation Requirements 7
Electrical requirements 7
Venting requirements 8
Venting methods 8
Ducting options 9
What is in the box 10
Tools and parts 11
Dimetions and clearances 12
Accessories - Sold Separately 12
Installation 13
Installation instructions 13
Wall installation 13
Vent cover bracket installation 14
Complete preparation 14
Installing the single fan hood 14
Connect vent system 15
Electrical connection 15
16
Connect vent system 17
Electrical connection 17
Install duct covers 18
Completing the installation 19
AttachDacor badge 20
Important Notes
Installer
- In the interest of safety and to minimize problems, read this manual thoroughly before starting the installation.
- Leave this manual with the customer.
- Show the owner how to shut off power to the hood.
Customer
Keep this manual for personal and professional reference.
Customer Service
To resolve questions and installation issues, contact your Dacor dealer or Dacor customer service. Before calling, have the hood's model and serial number available. (See the data label inside the hood above the filters on the chassis' rear wall).
All specifications are subject to change without notice. Dacor assumes no liability for such changes. ©2022 Dacor, all rights reserved.
APPROVED FOR RESIDENTIAL APPLIANCES
READ AND SAVE THESE INSTRUCTIONS
PLEASE READ ENTIRE INSTALLATION GUIDE BEFORE PROCEEDING.
INSTALLATION MUST COMPLY WITH ALL LOCAL CODES.
IMPORTANT: Save these instructions for the local electrical inspector's use.
INSTALLER: Please leave these instructions with this unit for the owner.
OWNER: Please retain these instructions for future reference.
Symbols used in this manual
WARNING
Hazards or unsafe practices that may result in severe personal injury or death.
WARNING
Turn off power circuit at service panel and lock out panel before wiring this appliance.
CAUTION
Hazards or unsafe practices that may result in electric shock, personal injury, or property damage.
NOTE
Useful tips and instructions.
These warning icons and symbols are here to prevent injury to you and others.
Please follow them explicitly. After reading this section, keep it in a safe place for future reference.
State of California Proposition 65 warning (US only)
WARNING
This product contains chemicals known to the State of California to cause cancer and birth defects or other
reproductive harm - www.p65 warnings.ca.gov
- FCC Notice
CAUTION
FCC CAUTION:
Any changes or modifi cations not expressly approved by the party responsible for compliance could void the user's authority to operate the equipment.
This device complies with Part 15 of FCC Rules. Operation is subject to following two conditions:
-
This device may not cause harmful interference, and
-
This device must accept any interference received including interference that cause undesired operation.
For products sold in the US and Canadian markets, only channels 1~11 are available. You cannot select any other
channels.
FCC STATEMENT:
This equipment has been tested and found to comply within the limits for a Class B digital device, pursuant to part 15 of the FCC Rules. These limits are designed to provide reasonable protection against harmful interference in a residential installation.
This equipment generates, uses, and can radiate radio frequency energy and, if not installed and used in accordance with the instructions, may cause harmful interference to radio communications.
However, there is no guarantee that interference will not occur in a particular installation. If this equipment does cause harmful interference to radio or television reception, which can be determined by turning the equipment off and on, the user is encouraged to try to correct the interference by one or more of the following measures:
- Reorienting or relocating the receiving antenna
- Increasing the separation between the equipment and receiver
- Connecting the equipment to an outlet that is on a different circuit than the radio or TV
- Consulting the dealer or an experienced radio/TV technician for help
FCC RADIATION EXPOSURE STATEMENT:
This equipment complies with FCC radiation exposure limits set forth for an uncontrolled environment. This equipment should be installed and operated so there is at least 8 inches (20 cm) between the radiator and your body. This device and its antenna(s) must not be co-located or operated in conjunction with any other antenna or transmitter.
2. IC Notice
The term "IC" before the radio certificaton number only signifi es that Industry Canada technical specifie cations were met. Operation is subject to the following two conditions: (1) this device may not cause interference, and (2) this device must accept any interference, including interference that may cause undesired operation of the device.
This Class B digital apparatus complies with Canadian ICES-003. For products sold in the US and Canadian markets, only channels 1~11 are available. You cannot select any other channels.
IC RADIATION EXPOSURE STATEMENT:
This equipment complies with IC RSS-102 radiation exposure limits set forth for an uncontrolled environment. This equipment should be installed and operated so there is at least 8 inches (20 cm) between the radiator and your body. This device and its antenna(s) must not be co-located or operated in conjunction with any other antenna or transmitter.
WARNING
TO REDUCE THE RISK OF FIRE, ELECTRIC SHOCK, OR INJURY TO PERSONS, OBSERVE THE FOLLOWING PRECAUTIONS:
- Use this unit only in the manner intended by the manufacturer. If you have questions, contact the manufacturer.
- Before servicing or cleaning the unit, switch the power off at the service panel and lock the service panel to prevent power from being switched on accidentally. If the service panel cannot be locked, securely fasten a prominent warning device, such as a tag to the service panel.
- Installation work and electrical wiring must be done by qualified person(s) in accordance with all applicable codes and standards, including fire-rated construction.
- Sufficient air is needed for proper combustion and exhausting of gases through the flue (chimney) of fuel burning equipment to prevent backdrafting. Follow the heating equipment manufacturer's guideline and safety standards such as those published by the National Fire Protection Association (NFPA), the American Society for Heating, Refrigeration and Air Conditioning Engineers (ASHRAE), and the local code authorities.
- When cutting or drilling into the wall or ceiling; do not damage electrical wiring and other hidden utilities.
- Ducted fans must always be vented outdoors.
CAUTION
For general ventilating use only. Do not use to exhaust hazardous or explosive materials and vapors.
CAUTION
To reduce risk of fire and to properly exhaust air, be sure to duct air outside - do not vent exhaust air into spaces within walls or ceilings, attics or into crawl spaces, or garages.
WARNING
TO REDUCE THE RISK OF FIRE, USE ONLY METAL DUCTWORK
WARNING
TO REDUCE THE RISK OF A RANGE TOP GREASE FIRE:
- Never leave surface units unattended at high settings. Boilovers cause smoking and greasy spillovers that may ignite. Heat oils slowly on low or medium settings.
Always turn the hood ON when cooking at high heat or when flambeing food (i.e. Crepes Suzette, Cherries Jubilee, Peppercorn Beef Flambé).
Clean ventilating fans frequently. Grease should not be allowed to accumulate on the fan or filter. - Use proper pan sizes. Always use cookware appropriate for the size of the surface element.
WARNING
TO REDUCE THE RISK OF INJURY TO PERSONS IN THE EVENT OF A RANGE TOP GREASE FIRE, OBSERVE THE FOLLOWING PRECAUTIONS:*
SMOTHER FLAMES with a close fitting lid, cookie sheet, or metal tray, then turn off the burner. BE CAREFUL TO PREVENT BURNS. If the fl ames do not go out immediately, EVACUATE AND CALL THE FIRE DEPARTMENT.
- NEVER PICK UP A FLAMMING PAN - you may get burned.
DO NOT USE WATER, including wet dishcloths or towels - a violent steam explosion will result.
- Use an extinguisher ONLY if:
- You know you have a class ABC extinguisher, and you already know how to operate it.
- The fire is small and contained in the area where it started.
- The fire department is being called.
- You can fight the fire with your back to an exit.
*Based on "Kitchen Fire Safety Tips" published by NFPA.
WARNING
To reduce the risk of fire or electrical shock, do not use this fan with any solid-state speed control device.
WARNING
Do not let children near this appliance. Do not let children play with this appliance.
Keep all packaging materials out of children's reach. Properly dispose the packaging materials after this appliance is unpacked.
NOTE
Suitable for use in household cooking area.
Read and save these Instructions
Electrical requirements
IMPORTANT
Observe all governing codes and ordinances.
It is the customer's responsibility:
- To contact a qualified electrical installer.
To assure that the electrical installation is adequate and in conformance with National Electrical Code, ANSI/NFPA 70 - latest edition, or CSA Standards C22.1-94, Canadian Electrical Code, Part 1 and C22.2 No.0-M91 - latest edition* and all local codes and ordinances.
If codes permit and a separate ground wire is used, it is recommended that a qualified electrician determine that the ground path is adequate.
A copy of the above code standards can be obtained from: National Fire Protection Association
1 Batterymarch Park
Quincy, MA 02169-7471
CSA International
8501 East Pleasant Valley Road
Cleveland, OH 44131-5575
-
A 120 volt, 60Hz , AC only, 15-amp, fused electrical circuit is required.
If the house has aluminum wiring, follow the procedure below. -
Connect a section of solid copper wire to the pigtail leads.
-
Connect the aluminum wiring to the added section of copper wire using special connectors and/or tools designed and UL listed for joining copper to aluminum.
-
Follow the electrical connector manufacturer's recommended procedure. Aluminum/copper connection must conform with local codes and industry accepted wiring practices.
- Wire sizes and connections must conform with the rating of the appliance as specified on the model/ serial rating plate. The model/serial plate is located behind the filter on the rear wall of the hood.
- Wire sizes must conform to the requirements of the National Electrical Code, ANSI/NFPA 70 (latest edition), or CSA Standards C22.1-94, Canadian Electrical Code, Part 1 and C22.2 No. 0-M91 (latest edition and all local codes and ordinances).
Installation Requirements
Venting requirements
- Vent system must terminate outdoors.
- Do not terminate the vent system in an attic or other enclosed area.
- Do not use a 4'' (10.2 cm) laundry-type wall cap.
- Use metal vent only. Rigid metal vent is recommended.
- Plastic or metal foil vent is not recommended.
-
The length of the vent system and the number of elbows should be kept to a minimum to provide efficient performance. For the most efficient and quiet operation:
-
Use no more than three 90^ elbows.
- Make sure there is a minimum of 30^ (76.2 cm) of straight vent between the elbows if more than 1 elbow is used. Do not install 2 elbows together.
Venting methods
To use the hood's top outlet to vent your hood, a 10'' (25.4 cm) round vent system is required. This vent system is not included and must be purchased separately.
NOTE
Flexible vent is not recommended. Flexible vent creates back pressure and air turbulence that greatly reduces performance. The vent system can terminate either through the roof or wall.
Always install a metal vent cover where the ductwork exits the house. Hood must be vented to the outside of building only
Discharge direction
This hood is factory set for venting through the roof (vertical discharge) or wall (horizontal discharge).
To vent through a wall, a 90^ elbow is needed.
Ductwork installation guidelines
For safety reasons, ducting should vent directly outdoors (not into an attic, underneath the house, into the garage or into any enclosed space). Do not exceed 50 ft (15.24m) of duct. Keep duct runs as short and straight as possible. Elbows and transition fittings reduce air flow efficiency.
Back to back elbows and "S" turns give very poor delivery and are not recommended. A short straight length of duct at the inlet of a remote fan gives the best delivery.
- Use clamps to seal all joints in the vent system.
- The vent system must have a damper. If the roof or wall cap has a damper, do not use the damper supplied with the hood.
- Use caulking to seal the exterior wall or roof opening around the cap.
- The size of the vent should be uniform.
Ducting recommendations
Proper performance is dependent upon proper ducting.
Cold weather
Cold weather installations should have an additional backdraft damper installed to minimize backward cold air flow and a nonmetallic thermal break to minimize conduction of outside temperatures as part of the ductwork. The damper should be on the cold air side of the thermal break. The break should be as close as possible to where the ducting enters the heated portion of the house.
Make-up air
Local building codes may require the use of make-up air systems when using ducted ventilation systems greater than specified CFM of air movement. The specified CFM varies from locale to locale. It is the responsibility of the owner and the installer to determine if additional requirements and/or standards apply to specific installations.
Ducting options
The hood is equipped with a 10^ (25.4 cm) round transition for discharge of fumes to the outside.
Closely follow the instructions set out in this manual. Dacor is not responsible for any eventual inconveniences, damages or fires caused by not complying with the instructions in this manual.
Preparation
Do not cut a joist or stud unless absolutely necessary. If a joist or stud must be cut, then a supporting frame must be constructed.
Fittings material is provided to secure the hood to most types of walls/ceilings.
However, a qualified technician must verify suitability of the materials in accordance with the type of wall/ceiling.
Before making cutouts, make sure there is proper clearance within the ceiling or wall for the exhaust vent.
Mounting height
CAUTION
Mount this hood so that the bottom edge above the cooking surface is at 30^ (76.2 cm) minimum for a gas cooking surface or 24^ (60.9 cm) for an electric cooking surface.
There is no maximum mounting height, however, we recommend mounting the hood no greater than 36^ (91.4 cm) above the cooking surface. For every inch (2.54 cm) above 36^ (91.4 cm), fume and moisture capture efficiency diminishes at an increasing rate and may not deliver an acceptable level of ventilating performance.
This hood is intended for household use.
Check your ceiling height and hood height before selecting your hood.
Horizontal discharge
A 90^ elbow may be installed immediately above the hood.

Roof Venting Wall Venting
A. Roof Cap B.10" (25.4 cm) Round Vent

A.Wall Cap B.10" (25.4 cm) Round Vent
Installation Requirements

What is in the box
Installation Requirements
Tools and parts
Remove the packaging.
CAUTION
Remove the carton carefully. Wear gloves to protect against sharp edges.
WARNING
Remove the protective film before putting into operation.
Parts supplied
- Hardware bag includes:
| Part Qty | |
| 5 x 45 mm | 6 |
| 8 x 40 mm | 4 |
| 3.5 x 9.5 mm | Single fan model (10) Double fan model (2) |
| 4.2 x 8 mm | Single fan model (10) Double fan model (6) |
| 10 x 60 mm | 4 |
| 5.4 x 75 mm | 4 |
| Torx 20 adapter | 1 |
| Duct cover bracket | 1 |
| Mounting template | 1 |
Parts not supplied
Tools/materials required
Level
- Drill with 3 / 16'' (4.76 mm) drill bit
- Pencil
- Wire stripper or utility knife
- Tape measure or ruler
- Pliers
- Caulking gun and weatherproof caulking compound
- Vent clamps
Jigsaw
Metal snips
- Screwdrivers:
-
Phillips
-
Flat -blade
Parts needed
Home power supply cable
- 12'' (12.7 mm) UL listed or CSA approved strain relief
3 UL listed wire connectors
- 1 wall or roof cap
Metal vent system
Dimetions and clearances

| 30" 36" 48" | |||
| A 30" (76 cm) 36" (91.2 cm) 48" (121.7 cm) | |||
| B 19"15/16" (50.6 cm) | |||
| C | max. 53 5/16" (135.4 cm) min. 31 3/4" (80.7 cm) | ||
| D 10" (25.4 cm) | |||
| E 14"1/16" (37.3 cm) | |||
| F 16/2" (42 cm) | |||
| G 23/8" (6 cm) | |||
Accessories - Sold Separately
Installation instructions
We recommend that a qualified technician install the hood. It is the installer's responsibility to ensure the hood complies with the installation clearances specified for the product.
It is recommended that the vent system be installed before the hood is installed.
- If possible, disconnect and remove any cooking appliance from beneath the hood area to provide easier access to the rear wall.
- Before making cutouts, make sure there is proper clearance within the ceiling or wall for the exhaust vent.
- Confirm that all installation parts have been removed from the shipping carton.
Wall installation
- Turn power OFF at the service panel. Lock service panel to prevent power from being turned ON.
- Ensure that the installation height from the bottom of the hood to the cooking surface will be maintained.
- Mark a reference centerline on the wall.
- Tape template in place, aligning the template centerline (B) and bottom of template (C) with hood bottom line and with the centerline marked on the wall (A).

- Turn off the power at the circuit breaker panel or fuse box.
- Determine which venting method to use: vertical or horizontal.
NOTE
This hood is factory set to vent through the top air exit.
-
Select a flat surface for assembling the hood. Place a covering over that surface.
-
Mark centers of the fastener locations through the template to the wall.
IMPORTANT: All screws must be installed into wood. If there is no wood to screw into, additional wall framing supports may be required.
- Remove the template.
- Drill 3 / 16'' (4.8 mm) pilot holes at all locations where screws are being installed into wood.
- Install the 2 - 5 × 45 mm mounting screws with 2 8-40 mm anchors. Leave a 1/4'' (6.4 mm) gap between the wall and the back of the screw head to slide hood into place.

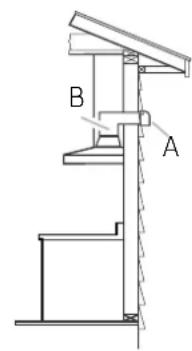
Vent cover bracket installation
- Assemble the 3 pieces of the vent cover bracket with 4 - 4.2 × 8 mm screws provided using the Torx 20 adapter. The assembled bracket should be sized to fit inside the upper vent cover.


A. Vent cover bracket assembly C. 4 - 4.2 × 8 mm screws
B. Upper vent cover D. Centerline
- Position vent cover bracket on wall about 1/8 (3.0 mm) away from the ceiling.
- Mark the hole locations.

A. 2 - 8 × 40 drywall anchors D. 2 - 5 × 45 ~mm screws
B. Centerline on wall E. Centerline of bracket
C. Vent cover support bracket
- Drill 3/8 (9.5 mm) holes for wall anchors and insert anchors flush with the wall.
Complete preparation
We recommend that a qualified technician install the hood. It is the installer's responsibility to ensure the hood complies with the installation clearances specified for the product.
- Determine and make all necessary cuts in the wall for the vent system. Install the vent system before installing the hood. See "Venting Requirements" section.
-
Determine the required height for the home power supply cable and drill a 114 (3.2 cm) hole at this location.
-
Run the home power supply cable according to the National Electrical Code or CSA Standards and local codes and ordinances. There must be enough 12 conduit and wires from the fused disconnect (or circuit breaker) box to make the connection in the hood's electrical terminal box.

NOTE
Do not reconnect power until installation is complete.
Installing the single fan hood
- Using 2 or more people, hang hood on 2 mounting screws through the mounting slots on back of hood.

- Mark with a pencil the lower mounting holes location (C).
- Uninstall the hood assembly, and drill 3 / 16'' (4.8 mm) pilot holes at marked locations.
- Hang the hood again on 2 upper mounting screws (A).
- Level the hood and tighten upper mounting screws (A).
- Install 2 - 5 x 45 mm lower mounting screws and tighten (C). Use the optional wall anchors if needed.
Connect vent system
- Fit vent system over the transition adapter
- Fit the transition adapter over the exhaust outlet.

A. 10" round transition
B. Transition adapter
C. Hood assembly
D. 4 - 3.5 × 9.5 ~mm screws
E. 4 - 4.2 × 8 ~mm screws
- Measure from the wall or roof outlet to the to the top ceiling. Cut the ductwork at the measured dimension and place it over the transition.

- Seal connection with clamps.
- Use caulk to seal all openings.
Electrical connection
WARNING
ELECTRICAL SHOCK HAZARD.
WARNING
DISCONNECT POWER BEFORE SERVICING.
REPLACE ALL PARTS AND PANELS BEFORE OPERATING.
FAILURE TO DO SO CAN RESULT IN DEATH OR
ELECTRICAL SHOCK.
- Disconnect power.
- Remove terminal box cover.
- Remove the knockout in the terminal box cover and install a UL listed or CSA approved 1 / 2 strain relief.

- Run home power supply cable through strain relief, into terminal box.

A. Home power supply cable
B. Black wires
C. UL listed wire connectors
D. White wires
E. Green (or bare) and yellow-green ground wires
F. Power board ground wires
G. Fan ground wires
- Use UL listed wire connectors and connect black wires (B) together.
- Use UL listed wire connectors and connect white wires (D) together.
WARNING
ELECTRICAL SHOCK HAZARD.
WARNING
- Connect green (or bare) ground wire from home power supply to yellow-green ground wire (E) in terminal box using UL listed wire connectors.
- Tighten strain relief screw.
- Install terminal box cover.
- Reconnect power.
Installing the double fan hood
- Using 2 or more people, hang the fan housing on 2 mounting screws through the mounting slots on back of hood.

A. Mounting screws
B. Mounting slots
C. Low mounting screws
- Mark with a pencil the lower mounting holes location (C).
- Uninstall the fan housing, and drill 3 / 16'' (4.8 mm) pilot holes at marked locations.
- Hang the fan housing again on 2 upper mounting screws (A).
- Level the fan housing and tighten upper mounting screws (A).
-
Install 2 - 5 x 45 mm lower mounting screws and tighten (C). Use the optional wall anchors if needed.
-
Using 2 or more people, lift the hood base beneath the motor housing. Insert the hood base pins into the housing lower slots. Once the four pins are already inserted, the hood base stands hanging.

- Release the base connector wire from the strap. Plug with the fan housing wire connector.

Connect vent system
- Measure from the wall or roof outlet to the to the top ceiling. Cut the ductwork at the measured dimension and place it over the transition.
- Seal connection with clamps.
- Use caulk to seal all openings.

Electrical connection
WARNING
ELECTRICAL SHOCK HAZARD.
WARNING
DISCONNECT POWER BEFORE SERVICING.
REPLACE ALL PARTS AND PANELS BEFORE OPERATING.
FAILURE TO DO SO CAN RESULT IN DEATH OR
ELECTRICAL SHOCK.
- Disconnect power.
- Remove terminal box cover.
- Remove the knockout in the terminal box cover and install a UL listed or CSA approved 1/2 strain relief.

- Run home power supply cable through strain relief, into terminal box.

A. Home power supply cable
B. UL listed or CSA approved strain relief
C. Black wires
D. UL listed wire connectors
E. White wires
F. Green (or bare) and yellow-green ground wires
- Use UL listed wire connectors and connect black wires (C) together.
- Use UL listed wire connectors and connect white wires (E) together.
WARNING
- Connect green (or bare) ground wire from home power supply to yellow-green ground wire (F) in terminal box using UL listed wire connectors.
- Tighten strain relief screw.
- Install terminal box cover.
- Reconnect power.
Install duct covers
- When using both upper and lower vent covers, push lower cover down onto hood and lift upper cover to ceiling and install with two mounting screws.

NOTE
The upper vent cover may be reversed to hide slots.
- Place a tissue or soft cloth between duct covers to prevent scratching while installing.
- Insert the complete duct cover at an angle and swivel toward the wall.
- Remove the tissue or soft cloth.

- Carefully pull the top part of the extension upwards. Screw the left and right sides of the extension to the mounting bracket with 2 - 3.5 × 9.5 mm screws.

- Secure the bottom of the duct with 2 - 4.2 × 8 mm screws.

Completing the installation
Place the filters and check the operation of the hood.
- Grasp the filter handles with both hands and then place the front edge of the filter into the hood.
- Push up on the back of the handle, and then set rear of filter into the drip tray to secure. Repeat for each filter.

Model shown for reference only, features may vary
- To get the most efficient use from your new hood, read the "Use and Care" manual.
- Keep these Installation Instructions and Use and Care Guide close to hood for easy reference.
Installation
AttachDacor badge
Use the template on this page for alignment of the badge. Cut out the template and tape it onto the duct cover front surface, aligned with the bottom part of the hood and verify the template is aligned with the right side of the duct cover and within the bottom part of the hood. Practice placing the badge first before removing the adhesive release paper.

| NOTE: The badge has very high retention adhesive - once the badge is attached its extremely difficult to remove. | After this practice, remove the release paper from the back of the badge, and attach the badge to the hood without any overlap of the badge to this template. |
| Before removing the release paper from the back of the badge, practice placing the badge in the proper position on the hood without any overlap between the badge and this template. | Remove and discard this template. |
Sommaire
Installation murale 32
State of California Proposition 65 warning (US only)
A AVERTISSEMENT
National Fire Protection Association
1 Batterymarch Park
Quincy, MA 02169-7471
CSA International
8501 East Pleasant Valley Road
Cleveland, OH 44131-5575
This hood is factory set for venting through the roof (vertical discharge) or wall (horizontal discharge).
Important Safety Instructions 42
National Fire Protection Association
1 Batterymarch Park
Quincy, MA 02169-7471
CSA International
8501 East Pleasant Valley Road
Cleveland, OH 44131-5575
EasyManual