XR-L500V - Radio SONY - Free user manual and instructions
Find the device manual for free XR-L500V SONY in PDF.
Questions des utilisateurs sur XR-L500V SONY
0 question sur cet appareil. Repondez a celles que vous connaissez ou posez la votre.
Poser une nouvelle question sur cet appareil
Download the instructions for your Radio in PDF format for free! Find your manual XR-L500V - SONY and take your electronic device back in hand. On this page are published all the documents necessary for the use of your device. XR-L500V by SONY.
USER MANUAL XR-L500V SONY
FM/MW/LW Cassette Car Stereo
Operating Instructions
GB
Bedienungsanleitung
DE
Mode d'emploi
FR
For installation and connections, see the supplied installation/connections manual.
Thank you for purchasing this Sony Cassette Player. You can enjoy its various features even more with:
- Optional controller accessories
Rotary commander RM-X4S
Card remote commander RM-X114
XR-CA600X/CA600V/CA600 only
- Optional CD/MD units (both changers and players)*1.
- CD TEXT information (displayed when a CD TEXT disc*2 is played on a connected optional CD unit with the CD TEXT function).
1 This unit works with Sony products only.
2 A CD TEXT disc is an audio CD that includes information such as the disc name, artist name, and track names. This information is recorded on the disc.
Table of Contents
Location of controls 4
Precautions 6
Notes on Cassettes. 6
Getting Started
Resetting the unit. 7
Detaching the front panel 7
Setting the clock 8
Cassette Player
Listening to a tape 9
Playing a tape in various modes 9
Radio
Storing stations automatically Best Tuning Memory (BTM). 10
Receiving the stored stations. 10
Storing only the desired stations 11
Tuning in a station through a list (XR-CA600X/CA600V/CA600 only) -- List-up 11
RDS
Overview of RDS 12
Automatic retuning for best reception results AF function 12
Receiving traffic announcements TA/TP 13
Presetting RDS stations with AF and TA setting. 14
Tuning in stations by programme type PTY 14
Setting the clock automatically CT 15
Other Functions
Using the rotary commander. 16
Adjusting the sound characteristics. 17
Quickly attenuating the sound. 17
Changing the sound and display settings
— Menu 18
Selecting the sound position My Best sound Position (MBP)....19
Setting the equalizer 19
CD/MD Unit (optional) (XR-CA600X/CA600V/CA600 only)
Playing a CD or MD 20
Display items 21
Playing tracks repeatedly -Repeat Play. 21
Playing tracks in random order Shuffle Play. 21
Labelling a CD
— Disc Memo 22
Locating a disc by name -List-up. 23
Selecting specific tracks for playback Bank 23
Additional Information
Maintenance 24
Removing the unit. 25
Specifications 26
Troubleshooting 27
Error displays 28
Location of controls
Refer to the pages listed for details.
TAPE : During tape playback RADIO : During radio reception MENU : During menu mode
CD/MD : During CD/MD playback (optional) (XR-CA600X/CA600V/CA600 only)

Volume control dial 13
2 MBP button 19
3 SOURCE (Power on/Tape/Radio/CD*1/ MD*1) button 5,9,10,11,13,19,20, 22
4 Display window
5 (eject) button (located on the front side of the unit, behind the front panel) 9
6 Receptor for the card remote commander
7 MENU button 8,9,10,14,15,18,19,20,22,23,24
3 DISPLAY/PTY (display mode change/programme type) button1 12, 15, 21, 22
9 SCROLL button1 21
10 OPEN button 7,9
XR-CA600X/CA600V/CA600: LIST button
RADIO 11
CD/MD 22, 23
XR-L500X/L500V/L500:
PTY/DSPL button 12, 15
EQ7 button 19
13 RESET button (located on the front side of the unit, behind the front panel) 7
14 Number buttons
TAPE
(3) REP 9
RADIO 10, 11, 13, 14
CD/MD
③ REP 21
(6) SHUF 21
15 MODE (▶) button
TAPE 9
RADIO 10, 11, 13
CD/MD 20, 22
16 SOUND button 17, 19
17 AF button 12, 14
18 TA button 13, 14
19 OFF (Stop/Power off) button*2 5,7,9, 20
20 ENTER button
RADIO 11, 14
8,9,10,15,18,19,20,22,23 24
CD/MD 22,23
1 XR-CA600X/CA600V/CA600 only
2 Warning when installing in a car without an ACC (accessory) position on the ignition switch
After turning off the ignition, be sure to press OFF on the unit for 2 seconds to turn off the clock display.
Otherwise, the clock display does not turn off and this causes battery drain.

21 XR-CA600X/CA600V/CA600:
DISC/PRESET buttons (+ / - )
XR-L500X/L500V/L500:
PRESET buttons (+ / - )
RADIO 10,11,15
MENU 8,9,10,14,15,18,19,20,22
23, 24
CD/MD 20,22,23
SEEK buttons (- / +)
TAPE 9
RADIO 10, 11, 13
MENU 8,9,15,17,18,19,20,24
CD/MD 20, 22, 23
Card remote commander RM-X114 (optional)

The corresponding buttons of the card remote commander control the same functions as those on this unit.
1 DSPL button
2 MENU button
3 SOURCE button
4 SEEK ( / ) buttons
5 SOUND button
6 OFF button
7 VOL (- / +) buttons
8 MODE button
9 LIST button3
DISC3/PRESET(↑/↓) buttons
11 ENTER button
12 ATT button
*3 Not available for XR-L500X/L500V/L500
Note
If the units is turned off by pressing OFF for 2 seconds, it cannot be operated with the card remote commander unless SOURCE on the unit is pressed, or a cassette is inserted to activate the unit first.
Tip
Refer to "Replacing the lithium battery" for details on how to replace the batteries (page 25).
Precautions
- If your car was parked in direct sunlight, allow the unit to cool off before operating it.
- If no power is being supplied to the unit, check the connections first. If everything is in order, check the fuse.
- If no sound comes from the speakers of a two-speaker system, set the fader control to the centre position.
- When a tape is played back for a long period, the cassette may become warm because of the built-in power amplifier. However, this is not a sign of malfunction.
If you have any questions or problems concerning your unit that are not covered in this manual, please consult your nearest Sony dealer.
To maintain high quality sound
Be careful not to splash juice or other soft drinks onto the unit or tapes.

Notes on Cassettes
Cassette care
- Do not touch the tape surface of a cassette, as any dirt or dust will contaminate the heads.
- Keep cassettes away from equipment with built-in magnets such as speakers and amplifiers, as erasure or distortion on the recorded tape could occur.
- Do not expose cassettes to direct sunlight, extremely cold temperatures, or moisture.
- Slack in the tape may cause the tape to be caught in the machine. Before you insert the tape, use a pencil or similar object to turn the reel and take up any slack.

Distorted cassettes and loose labels can cause problems when inserting or ejecting tapes. Remove or replace loose labels.

- The sound may become distorted while playing the cassette. The cassette player head should be cleaned after each 50 hours of use.
The use of cassettes longer than 90 minutes is not recommended except for long continuous play
The tape used for these cassettes is very thin and tends to stretch easily.
Frequent playing and stopping of these tapes may cause them to become entangled in the cassette deck mechanism.

Getting Started
Resetting the unit
Before operating the unit for the first time or after replacing the car battery, you must reset the unit.
Remove the front panel and press the RESET button with a pointed object, such as a ballpoint pen.

Note
Pressing the RESET button will erase the clock setting and some stored contents.
Detaching the front panel
You can detach the front panel of this unit to protect the unit from being stolen.
Caution alarm
If you turn the ignition switch to the OFF position without removing the front panel, the caution alarm will beep for a few seconds.
If you connect an optional amplifier and do not use the built-in amplifier, the beep sound will be deactivated.
1 Press (OFF)*.
Tape playback or radio reception stops (the key illumination and display remain on).
- If your car has no ACC position on the ignition switch, be sure to turn the unit off by pressing (OFF) for 2 seconds to avoid car battery drain.
2 Press , then slide the front panel to the right, and gently pull out the left end of the front panel.

Notes
- If you detach the panel while the unit is still turned on, the power will turn off automatically to prevent the speakers from being damaged.
- Do not drop or put excessive pressure on the front panel and its display window.
- Do not subject the front panel to heat/high temperature or moisture. Avoid leaving it in parked cars or on dashboards/rear trays.
Tip
When carrying the front panel with you, use the supplied front panel case.
continue to next page
Attaching the front panel
Place hole A of the front panel onto the spindle B on the unit, then lightly push the left side in.

Note
Do not put anything on the inner surface of the front panel.
Setting the clock
The clock uses a 24-hour digital indication.
Example: To set the clock to 10:08
1 Press (MENU), then press either side of DISC/PRESET or PRESET repeatedly until "CLOCK" appears.

Press ENTER. The hour indication flashes.
Press either side of DISC/PRESET or PRESET to set the hour.
Press the (+) side of (SEEK). The minute indication flashes.
4 Press either side of DISC/PRESET or PRESET to set the minute.
2 Press ENTER).

The clock starts. After the clock setting is completed, the display returns to normal play mode.
Tips
- You can set the clock automatically with the RDS feature (page 15).
- When D.INFO mode is set to ON, the time is always displayed (page 18).
Cassette Player
Listening to a tape
1 Press and insert a cassette. Playback starts automatically.

2 Close the front panel.
If a cassette is already inserted, press SOURCE repeatedly until "FORWARD" or "REVERSE" appears to start playback.
FORWARD: The side facing up is played.
REVERSE: The side facing down is played.
| To | Press |
| Change the tape's playback direction | MODE (▲▶) |
| Stop playback | OFF |
| Eject the cassette | OPEN then ▲ |
| Skip tracks | SEEK (▲▼/▲▶) [once for each track] |
| - Automatic Music Sensor | |
| Fast-forward/reverse | SEEK (▲▼/▲▶) [hold to desired point] |
| - Manual Search |
Note
The AMS function may not work when:
- the blanks between tracks are shorter than 4 seconds.
- there is noise between tracks.
- there are long sections of low volume or quiet sections.
Playing a tape in various modes
You can play the tape in various modes:
- METAL lets you play a metal or CrO_2 tape.
- BL.SKP (Blank Skip) skips blanks longer than 8 seconds.
- ATA (Automatic Tuner Activation) turns on the tuner automatically when fast-winding the tape.
1 During tape playback, press (MENU).
2 Press either side of DISC/PRESET or PRESET repeatedly until the desired mode appears.
3 Press (+) side of (SEEK) to select "ON."
Example: ATA mode

Play mode starts.
4 Press ENTER
To return to normal playback mode, select "OFF" in step 3.
Playing tracks repeatedly
—RepeatPlay
During playback, press ③ (REP) repeatedly until "REP-ON" in the display appears.
To return to normal playback mode, select "REPOFF."
Tip
During repeat playback, press (MODE). "REP" disappears from the display and repeat mode is cancelled.
Radio
The unit can store up to 6 stations per band (FM1, FM2, FM3, MW, and LW).
Caution
When tuning in stations while driving, use Best Tuning Memory to prevent accidents.
Storing stations automatically
Best Tuning Memory (BTM)
The unit selects the stations with the strongest signals within the selected band, and stores them in the order of their frequency.
1 Press (SOURCE) repeatedly to select the radio.
2 Press MODE repeatedly to select the band.
3 Press (MENU), then press either side of (DISC/PRESET) or (PRESET) repeatedly until "BTM" appears.
4 Press ENTER
A beep sounds when the setting is stored.
Notes
- If only a few stations can be received due to weak signals, some number buttons will retain their former settings.
- When a number is indicated in the display, the unit starts storing stations from the one currently displayed.
Receiving the stored stations
1 Press (SOURCE) repeatedly to select the radio.
2 Press MODE repeatedly to select the band.
3 Press the number button (1 to 6) on which the desired station is stored.
Tip
Press either side of DISC/PRESET or PRESET to receive the stations in the order they are stored in the memory (Preset Search function).
If preset tuning does not work
Press either side of (SEEK) to search for the station (automatic tuning).
Scanning stops when the unit receives a station. Repeat until the desired station is received.
Tips
- If automatic tuning stops too frequently, turn on the Local Seek to limit seek to stations with stronger signals (see "Changing the sound and display settings" on page 18).
- If you know the frequency of the station you want to listen to, press and hold either side of (SEEK) to locate the approximate frequency, then press (SEEK) repeatedly to fine adjust to the desired frequency (manual tuning).
If FM stereo reception is poor
Select monaural reception mode.
(see "Changing the sound and display settings" on page 18). The sound improves, but becomes monaural ("ST" disappears).
Storing only the desired stations
You can manually preset the desired stations on any chosen number button.
1 Press (SOURCE) repeatedly to select the radio.
2 Press MODE repeatedly to select the band.
3 Press either side of (SEEK) to tune in the station that you want to store.
4 Press the desired number button (① to ⑥) for 2 seconds until “MEM” appears.
The number button indication appears in the display.
Note
If you try to store another station on the same number button, the previously stored station will be erased.
Tuning in a station through a list (XR-CA600X/CA600V/ CA600 only)
List-up
1 During radio reception, press LIST momentarily.
The frequency or the name assigned to the station currently tuned in flashes.

2 Press either side of DISC/PRESET repeatedly until you find the desired station.
If no name is assigned to the selected station, the frequency appears in the display.
3 Press ENTER to tune in the desired station.
Overview of RDS
FM stations with Radio Data System (RDS) service send inaudible digital information along with the regular radio programme signal. For example, one of the following will be displayed upon receiving a station with RDS capability.

| To | Press |
| Switch display item | DISPLAY/PTY or PTV/DSPL |
RDS services
RDS data offers you other conveniences, such as:
Automatic retuning of a programme, helpful during long-distance drives. — AF → page 12
- Receiving traffic announcements, even when enjoying another programme/source. — TA → page 13
- Selecting stations by the type of programme it broadcasts. — PTY → page 14
Automatic clock time setting. — CT → page 15
Notes
- Depending on the country or region, not all of the RDS functions are available.
- RDS may not work properly if the signal strength is weak or if the station you are tuned to is not transmitting RDS data.
Automatic retuning for best reception results
— AF function
The alternative frequencies (AF) function allows the radio to always tune into the area's strongest signal for the station you are listening to.

1 Select an FM station (page 10).
2 Press repeatedly until "AF-ON" appears.
The unit starts searching for an alternative frequency with a stronger signal in the same network.
If "NO AF" flashes, the currently tuned into station does not have an alternative frequency.
Note
When there is no alternative frequency in the area or when you do not need to search for one, turn the AF function off by selecting "AF-OFF."
For stations without alternative frequencies
Press either side of (SEEK) while the station name is flashing (within 8 seconds).
The unit starts searching for another frequency with the same PI (Programme Identification) data ("PI SEEK" appears). If the unit cannot find the same PI, the unit returns to the previously selected frequency.
Staying with one regional programme
When AF function is on: this unit's factory-set setting restricts reception to a specific region, so you won't be switched to another regional station with a stronger frequency.
If you leave this regional programme's reception area or would like to take advantage of the whole AF function, select "REG-OFF" from the MENU (page 18).
Note
This function does not work in the United Kingdom and in some other areas.
Local Link function (United Kingdom only)
This function enables you to select other local stations in the area, even if they are not stored on your number buttons.
1 Press a number button (① to ⑥) that has a local station stored on it.
2 Within 5 seconds, press the number button of the local station again.
3 Repeat this procedure until the desired local station is received.
Receiving traffic announcements
— TA/TP
By activating the Traffic Announcement (TA) and Traffic Programme (TP), you can automatically tune in an FM station broadcasting traffic announcements. These settings function regardless of the current FM programme/source, CD/MD; the unit switches back to the original source when the bulletin is over.
Press repeatedly until "TA-ON" appears.
The unit starts searching for traffic information stations.
"TP" indicates reception of such stations, and "TA" flashes during an actual traffic announcement. The unit will continue searching for stations available with TP if "NO TP" is indicated.
To cancel all traffic announcements, select "TA-OFF."
| To | Press |
| Cancel current announcement | TA |
Tip
You can also cancel the current announcement by pressing SOURCE or MODE
Presetting the volume of traffic announcements
You can preset the volume level of the traffic announcements so you won't miss hearing them.
1 Turn the volume control dial to adjust the desired volume level.
2 Press for 2 seconds.
"TA" appears and the setting is stored.
Receiving emergency announcements
If either AF or TA is on, the unit will switch to emergency announcements, if one comes in while listening to an FM station, a tape, or optional CD/MD.
Presetting RDS stations with AF and TA setting
When you preset RDS stations, the unit stores each station's AF/TA setting (on/off) as well as its frequency. You can select a different setting (for AF, TA, or both) for individual preset stations, or the same setting for all preset stations. If you preset stations with "AF-ON" the unit automatically stores stations with the strongest radio signal.
Presetting the same setting for all preset stations
1 Select an FM band (page 10).
2 Press AF and/or TA to select "AF-ON" and/or "TA-ON." Note that selecting "AF-OFF" or "TA-OFF" stores not only RDS stations, but also non-RDS stations.
3 Press (MENU), then press either side of DISC/PRESET or PRESET repeatedly until "BTM" appears.
4 Press ENTER until "BTM" flashes.
Presetting different settings for each preset station
1 Select an FM band, and tune in the desired station (page 11).
2 Press AF and/or TA to select "AF-ON" and/or "TA-ON."
3 Press the desired number button (① to ⑥) until “MEM” appears.
Repeat from step 1 to preset other stations.
Tuning in stations by programme type
—PTY
You can tune in a station by selecting the type of programme you would like to listen to.
| Programme types | Display |
| News | NEWS |
| Current Affairs | AFFAIRS |
| Information | INFO |
| Sports | SPORT |
| Education | EDUCATE |
| Drama | DRAMA |
| Culture | CULTURE |
| Science | SCIENCE |
| Varied | VARIED |
| Popular Music | POP M |
| Rock Music | ROCK M |
| Easy Listening | EASY M |
| Light Classical | LIGHT M |
| Classical | CLASSICS |
| Other Music Type | OTHER M |
| Weather | WEATHER |
| Finance | FINANCE |
| Children's Programmes | CHILDREN |
| Social Affairs | SOCIAL A |
| Religion | RELIGION |
| Phone In | PHONE IN |
| Travel | TRAVEL |
| Leisure | LEISURE |
| Jazz Music | JAZZ |
| Country Music | COUNTRY |
| National Music | NATION M |
| Oldies Music | OLDIES |
| Folk Music | FOLK M |
| Documentary | DOCUMENT |
Note
You cannot use this function in some countries where no PTY (Programme Type selection) data is available.
1 Press (DISPLAY/PTY) or (PTY/DSPL) during FM reception until "PTY" appears.

The current programme type name appears if the station is transmitting the PTY data.
"---" appears if the received station is not an RDS station, or if the RDS data is not received.
2 Press (DISC/PRESET) or (PRESET) repeatedly until the desired programme type appears.
The programme types appear in the order shown in the table.
"---" appears if the programme type is not specified in the RDS data.
3 Press ENTER.
The unit starts searching for a station broadcasting the selected programme type.
Setting the clock automatically
-CT
The CT (Clock Time) data from the RDS transmission sets the clock automatically.
1 During radio reception, press (MENU), then press either side of DISC/PRESET or PRESET repeatedly until "CT-OFF" appears.

2 Press the (+) side of repeatedly until "CT-ON" appears.
The clock is set.
3 Press ENTER to return to the normal display.
To cancel the CT function, select "CT-OFF" in step 2.
Notes
- The CT function may not work even though an RDS station is being received.
- There might be a difference between the time set by the CT function and the actual time.
Other Functions
You can also control the unit (and optional CD/ MD units*1) with a rotary commander (optional).
Using the rotary commander
First, attach the appropriate label depending on how you want to mount the rotary commander. The rotary commander works by pressing buttons and/or rotating controls.



By pressing buttons
Rotate the VOL control to adjust the volume.
| Press | To |
| SOURCE | Change source (radio/CD*2/MD*2/Tape) |
| MODE | Change operation (radio band/CD unit*2/MD unit*2/tape playback direction) |
| ATT | Attenuate sound |
| OFF*3 | Stop playback or radio reception |
| SOUND | Adjust the sound menu |
| DSPL | Change the display item |
1 XR-CA600X/CA600V/CA600 only
2 Only if the corresponding optional equipment is connected (XR-CA600X/CA600V/CA600 only).
*3 If your car has no ACC (accessory) position on the ignition key switch, be sure to press OFF for 2 seconds to turn off the clock indication after turning off the ignition.

By rotating the control
Rotate and release to:
-Locate the beginning of tracks on the tape.
- Tune in stations automatically.
- Skip tracks on the disc.*2
Rotate, hold, and release to:
- Fast-wind the tape.
Find a station manually. - Fast-forward/reverse a track.*2
Tip
To start playback while fast-winding the tape, press MODE.

By pushing in and rotating the control
Push in and rotate the control to:
-Receive preset stations.
- Change the disc*2.
Changing the operative direction
The operative direction of controls is factory-set as shown below.

If you need to mount the rotary commander on the right hand side of the steering column, you can reverse the operative direction.

Press SOUND for 2 seconds while pushing the VOL control.
Tip
You can also change the operative direction of these controls with the unit (see "Changing the sound and display settings" on page 18).
Adjusting the sound characteristics
You can adjust the bass, treble, balance, and fader.
The bass and treble levels can be stored independently for each source.
1 Select the item you want to adjust by pressing SOUND repeatedly.
Each time you press (SOUND), the item changes as follows:
BAS (bass) TRE (treble) BAL (left-right) FAD (front-rear)
2 Adjust the selected item by pressing either side of (SEEK).
When adjusting with the rotary commander, press (SOUND) and rotate the VOL control.
Note
Adjust within 3 seconds after selecting the item.
Quickly attenuating the sound
(With the rotary commander or the card remote commander)
Press ATT on the rotary commander or card remote commander.
After "ATT-ON" momentarily appears, the "ATT" appears in the display.
To restore the previous volume level, press ATT again.
Tip
When the interface cable of a car telephone is connected to the ATT lead, the unit decreases the volume automatically when a telephone call comes in (Telephone ATT function).
Changing the sound and display settings
—Menu
The following items can be set:
SET(SetUp)
CLOCK (page 8)
- CT (Clock Time) (page 15)
- BEEP — to turn the beeps on or off.
- RM (Rotary Commander) — to change the operative direction of the controls of the rotary commander.
- Select "NORM" to use the rotary commander as the factory-set position.
- Select "REV" when you mount the rotary commander on the right side of the steering column.
DSPL(Display)
D INFO (Dual Information) to display the clock and the play mode at the same time (ON).
- AMBER/GREEN — to change the illumination colour to amber or green (XR-CA600/L500 only).
- DIM (Dimmer) — to change the brightness of the display (XR-CA600V/L500V only).
- Select "ON" to dim the display.
- Select "OFF" to deactivate the Dimmer.
- M.DSPL (Motion Display) — to select the Motion Display mode from "1," "2," and "OFF."
- Select "1" to show decoration lines in the display and activate Demo display.
- Select "2" to show decoration lines in the display and deactivate Demo display.
- Select "OFF" to deactivate the Motion Display.
A.SCRL (Auto Scroll)* - Select "ON" to scroll all automatically displayed names exceeding 8 characters.
- When Auto scroll is set to off and the disc/ track name is changed, the disc/track name does not scroll.
- When no CD or MD is playing, this item will not appear. (XR-CA600X/CA600V/CA600 only)
SND (Sound)
- LOUD (Loudness) — to enjoy bass and treble even at low volumes. The bass and treble will be reinforced (XR-CA600V/CA600/L500V/L500 only).
P/M (Play Mode)
- LOCAL-ON/OFF (Local seek mode) (page 10) - Select "ON" to only tune into stations with stronger signals.
-
MONO-ON/OFF (Monaural mode) (page 10)
-
Select "ON" to hear FM stereo broadcast in monaural. Select "OFF" to return to normal mode.
-
REG-ON/OFF (Regional) (page 13)
1 Press (MENU).
To set A.SCRL, press (MENU) during CD/ MD Playback.
2 Press either side of DISC/PRESET or PRESET repeatedly until the desired item appears.
3 Press the (+) side of (SEEK to select the desired setting (Example: ON or OFF).
4 Press ENTER.
After the mode setting is completed, the display returns to normal play mode.
Note
The displayed item will differ depending on the source.
Tip
You can easily switch among categories ("SET," "DSPL," "SND," "P/M," and "EDIT") by pressing either side of (DISC/PRESET) or (PRESET) for 2 seconds.
Selecting the sound position
My Best sound Position (MBP)
When you drive without passengers, you can enjoy the most comfortable sound environment with "My Best sound Position."
"My Best sound Position" has two presets, which adjust the sound level of balance and fader. You can select one very easily with the MBP button.
| Display window | Balance Level | Fader Level | ||
| Right | Left | Front | Rear | |
| MBP-A | -4dB | 0 | 0 | -4dB |
| MBP-B | 0 | -4dB | 0 | -4dB |
| MBP-OFF | 0 | 0 | 0 | 0 |
Press MBP repeatedly for the desired listening position.
The mode of "My Best sound Position" is shown in the display in order of the table.

After one second, the display goes back to the normal playback mode.
If you want to adjust the sound level of balance and fader more precisely, you can do it using the SOUND button (see "Adjusting the sound characteristics" on page 17).
Notes
- When the BAL (balance) or FAD (fader) in "Adjusting the sound characteristics" (page 17) is adjusted, the MBP setting returns to OFF.
- When MBP is set to OFF, the BAL and FAD setting is activated.
Setting the equalizer
You can select an equalizer curve for seven music types (XPLOD, VOCAL, CLUB, JAZZ, NEW AGE, ROCK, CUSTOM, and OFF (equalizer OFF)).
You can store and adjust the equalizer settings for frequency and level.
Selecting the equalizer curve
1 Press (SOURCE) to select a source (radio, CD, MD, or tape).
2 Press (EQ7) repeatedly until the desired equalizer curve.
Each time you press (EQ7), the item changes.

To cancel the equalizing effect, select "OFF." After 3 seconds, the display returns to the normal playback mode.
Adjusting the equalizer curve
1 Press (MENU).
2 Press either side of DISC/PRESET or PRESET repeatedly until "EQ7 TUNE" appears, then press ENTER.
3 Press either side of SEEK to select the desired equalizer curve, then press ENTER. Each time you press SEEK, the item changes.
continue to next page
4 Select the desired frequency and level.
Press either side of (SEEK) to select the desired frequency.
Each time you press (SEEK), the frequency changes.
62 (Hz) 157 (Hz) 396 (Hz) 1k (Hz) 2.5k (Hz) 6.3k (Hz) 16k (Hz)
Press either side of DISC/PRESET or PRESET to adjust the desired volume level.
The volume level is adjustable by 1 dB steps from -10dB to +10dB .

To restore the factory-set equalizer curve, press ENTER for 2 seconds.
5 Press (MENU) twice.
When the effect setting is complete, the normal playback mode appears.
CD/MD Unit (optional)
(XR-CA600X/CA600V/CA600 only)
This unit can control external CD/MD units. If you connect an optional CD unit with the CD TEXT function and the custom file function, the CD TEXT information will appear in the display when you play a CD TEXT disc.
Playing a CD or MD
1 Press SOURCE repeatedly to select "CD" or "MD."
2 Press MODE repeatedly until the desired unit appears. CD/MD playback starts.
| To | Press |
| Stop playback | OFF |
| Skip discs | DISC/PRESET (+/-) |
| -Disc selection | |
| Skip tracks | SEEK (I▶/▶) [once for each track] |
| -Automatic Music Sensor | |
| Fast-forward/reverse | SEEK (▲▼/▲▼) [hold to desired point] |
| -Manual Search |
Display items
When the disc/track changes, any prerecorded title*1 of the new disc/track is automatically displayed (if the Auto Scroll function is set to "ON," names exceeding 8 characters will be scrolled (page 18)).

| To | Press |
| Switch display item | DISPLAY/PTY |
| Scroll display item | SCROLL |
1 "NO NAME" indicates there is no Disc Memo (page 22) or prerecorded name to display.
2 Only for CD TEXT discs with the artist name.
Notes
- Some characters cannot be displayed.
- For some CD TEXT discs with very many characters, information may not scroll.
- This unit cannot display the artist name for each track of a CD TEXT disc.
Tip
When Auto scroll is set to OFF and the disc/track name is changed, the disc/track name does not scroll.
Playing tracks repeatedly
— Repeat Play
You can select:
- REP-1 — to repeat a track.
- REP-2 - to repeat a disc.
During playback, press ③ (REP) repeatedly until the desired setting appears in the display.
Repeat Play starts.
To return to normal play mode, select "REPOFF."
Playing tracks in random order
Shuffle Play
You can select:
- SHUF-1 — to play the tracks on the current disc in random order.
- SHUF-2 — to play the tracks in the current optional CD (MD) unit in random order.
-
SHUF-ALL* — to play all the tracks in all the connected CD (MD) units in random order.
-
Available only when two or more optional CD/MD units are connected.
During playback, press (6) (SHUF) repeatedly until the desired setting appears in the display.
Shuffle Play starts.
To return to normal play mode, select "SHUF-OFF."
Note
"SHUF-ALL" will not shuffle tracks between CD units and MD units.
Labelling a CD
—Disc Memo (For a CD unit with the CUSTOM FILE function)
You can label each disc with a custom name (Disc Memo). You can enter up to 8 characters for a disc. If you label a CD, you can locate the disc by name (page 23).
1 Start playing the disc you want to label.
2 Press (MENU), then press either side of (DISC/PRESENT) repeatedly until "NAMEEDIT" appears.
3 Press ENTER.

The unit will repeat the disc during the labelling procedure.
4 Enter the characters.
Press the (+) side of DISC/PRESET repeatedly to select the desired character.
$$ \begin{array}{l} \mathsf {A} \to \mathsf {B} \to \mathsf {C} \dots \to 0 \to 1 \to 2 \dots \to + \to \ - \to * \dots \to_ {-} ^ {* 2} \to \mathsf {A} \end{array} $$
1 For reverse order, press the (-) side of DISC/PRESET.
2 (blank space)
Press the (+) side of (SEEK) after locating the desired character.

If you press the (-) side of (SEEK), you can move back to the left.
Repeat steps 1 and 2 to enter the entire name.
5 To return to normal CD play mode, press ENTER.
Tips
- Simply overwrite or enter " _ " to correct or erase a name.
- There is another way to start labelling a CD: Press (LIST) for 2 seconds instead of performing steps 2 and 3. You can also complete the operation by pressing (LIST) for 2 seconds instead of step 5.
- You can label CDs on a unit without the CUSTOM FILE function if that unit is connected along with a CD unit that has the function. The Disc Memo will be stored in the memory of the CD unit with the CUSTOM FILE function.
Note
REP-1/shuffle play is suspended until the Name Edit is complete.
Viewing the Disc Memo
As a display item, the Disc Memo always takes priority over any original CD TEXT information.
| To | Press |
| View | DISPLAY/PTY during CD/ CD TEXT disc playback |
Tip
To find out about other items that can be displayed, see page 21.
Erasing the Disc Memo
1 Press SOURCE repeatedly to select "CD."
2 Press MODE repeatedly to select the CD unit storing the Disc Memo.
3 Press (MENU), then press either side of (DISC/PRESET) repeatedly until "NAME DEL" appears.
4 Press ENTER).
The stored names will appear in order from the earliest entered.
5 Press either side of DISC/PRESET repeatedly to select the disc name you want to erase.
The stored names will appear from the earliest ones entered.
6 Press ENTER for 2 seconds.
The name is erased.
Repeat steps 5 and 6 if you want to erase other names.
7 Press (MENU) twice.
The unit returns to normal CD play mode.
Notes
- When the Disc Memo for a CD TEXT disc is erased, the original CD TEXT information is displayed.
- If you cannot find the Disc Memo you want to erase, try selecting a different CD unit in step 2.
Locating a disc by name
List-up (For a CD unit with the CD TEXT/ CUSTOM FILE function, or an MD unit)
You can use this function for discs that have been assigned custom names*1 or for CD TEXT discs*2.
1 Locating a disc by its custom name: when you assign a name for a CD (page 22) or an MD.
2 Locating discs by the CD TEXT information: when you play a CD TEXT disc on a CD unit with the CD TEXT function.
1 Press LIST.
The name assigned to the current disc appears in the display.

2 Press either side of DISC/PRESET repeatedly until you find the desired disc.
3 Press ENTER to play the disc.
Note
Some letters cannot be displayed (exception: Disc Memo).
Selecting specific tracks for playback
Bank (For a CD unit with the CUSTOM FILE function)
If you label the disc, you can set the unit to skip or play the tracks of your choice.
1 Start playing the disc you want to label.
2 Press (MENU), then press either side of (DISC/PRESET) repeatedly until "BANK SEL" appears.
3 Press ENTER

4 Label the tracks.
Press either side of (SEEK) repeatedly to select the track you want to label.
2 Press ENTER repeatedly to select "PLAY" or "SKIP."
5 Repeat step 4 to set "PLAY" or "SKIP" for all the tracks.
6 Press (MENU) twice.
The unit returns to normal CD play mode.
Notes
- You can set "PLAY" and "SKIP" for up to 24 tracks.
- You cannot set "SKIP" for all the tracks on a CD.
continue to next page
Playing specific tracks only
You can select:
- "BANK-ON" — to play the tracks with the "PLAY" setting.
- "BANK-INV" (Inverse) — to play the tracks with the "SKIP" setting.
1 During playback, press (MENU), then press either side of (DISC/PRESET) repeatedly until "BANK-ON," "BANK-INV," or "BANK-OFF" appears.
2 Press the (+) side of repeatedly until the desired setting appears.

3 Press ENTER
Playback starts from the track following the current one.
To return to normal play mode, select "BANK-OFF" in step 2.
Additional Information
Maintenance
Fuse replacement
When replacing the fuse, be sure to use one matching the amperage rating stated on the original fuse. If the fuse blows, check the power connection and replace the fuse. If the fuse blows again after replacement, there may be an internal malfunction. In such a case, consult your nearest Sony dealer.

Warning
Never use a fuse with an amperage rating exceeding the one supplied with the unit as this could damage the unit.
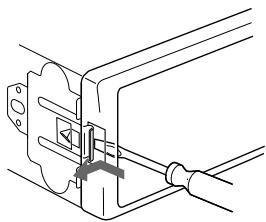
Cleaning the connectors
The unit may not function properly if the connectors between the unit and the front panel are not clean. In order to prevent this, detach the front panel (page 7) and clean the connectors with a cotton swab dipped in alcohol. Do not apply too much force. Otherwise, the connectors may be damaged.

Main unit

Back of the front panel
Notes
- For safety, turn off the ignition before cleaning the connectors, and remove the key from the ignition switch.
- Never touch the connectors directly with your fingers or with any metal device.
Replacing the lithium battery
Under normal conditions, batteries will last approximately 1 year. (The service life may be shorter, depending on the conditions of use.) When the battery becomes weak, the range of the card remote commander becomes shorter. Replace the battery with a new CR2025 lithium battery.


↓
Notes on lithium battery
- Keep the lithium battery out of the reach of children. Should the battery be swallowed, immediately consult a doctor.
- Wipe the battery with a dry cloth to assure a good contact.
- Be sure to observe the correct polarity when installing the battery.
- Do not hold the battery with metallic tweezers, otherwise a short-circuit may occur.
WARNING
Battery may explode if mistreated.
Do not recharge, disassemble, or dispose of in fire.
Removing the unit
1 Remove the front cover
Detach the front panel (page 7).
Press the clip inside the front cover with a thin screwdriver.

Repeat step 2 for the other side.
2 Remove the unit
Use a thin screwdriver to push in the clip on the left side of the unit, then pull out the left side of the unit until the catch clears the mounting.

Repeat step 1 for the right side.
③ Slide the unit out of its mounting.
Specifications
Cassette Player section
Tape track 4-track 2-channel stereo
Wow and flutter 0.08% (WRMS)
Frequency response
Signal-to-noise ratio
30 - 18,000Hz
| Cassette type | |
| TYPE II, IV | 61 dB |
| TYPE I | 58 dB |
Tuner section
FM
Tuning range 87.5-108.0 MHz
Aerial terminal External aerial connector
Intermediate frequency 10.7 MHz/450 kHz
Usable sensitivity 8 dBf
Selectivity 75 dB at 400kHz
Signal-to-noise ratio 66 dB (stereo),
72 dB (mono)
Harmonic distortion at 1kHz
0.6% (stereo),
0.3% (mono)
Separation 35 dB at 1kHz
Frequency response 30 - 15,000Hz
MW/LW
Tuning range MW: 531 - 1,602 kHz
LW: 153 - 279kHz
Aerial terminal
External aerial connector
Intermediate frequency
10.7 MHz/450 kHz
Sensitivity
MW: 30 V
LW: 40~ V
Power amplifier section
Outputs Speaker outputs
Speaker impedance 4-8 ohms
Maximum power output 50W× 4 (at 4 ohms)
General
| Outputs | Audio outputs (Rear) |
| Power aerial relay control | |
| Power amplifier control | |
| Inputs | Telephone ATT control |
| BUS control input | |
| connector* | |
| BUS audio input connector* | |
| Remote controller input | |
| connector | |
| Aerial input connector | |
| Tone controls | Bass ±8 dB at 100 Hz |
| Treble ±8 dB at 10 kHz | |
| Loudness | 100 Hz +8 dB |
| 10 kHz +2 dB | |
| Power requirements | 12 V DC car battery |
| (negative earth) | |
| Dimensions | Approx. 178 × 50 × 176 mm (w/h/d) |
| Mounting dimensions | Approx. 182 × 53 × 161 mm (w/h/d) |
| Mass | Approx. 1.2 kg |
| Supplied accessories | Parts for installation and connections (1 set, except for the power connecting cord) |
| Front panel case (1) | |
| Optional accessories | Rotary commander |
| RM-X4S | |
| Card remote commander | |
| RM-X114 | |
| BUS cable (supplied with an RCA pin cord) | |
| RC-61 (1 m), RC-62 (2 m) | |
| Optional equipment | CD changer (10 discs) |
| CDX-848X, CDX-646 | |
| MD changer (6 discs) | |
| MDX-65 | |
| Source selector | |
| XA-C30 |
- XR-CA600X/CA600V/CA600 only
Note
This unit cannot be connected to a digital preamplifier or an equalizer.
Design and specifications are subject to change without notice.
Troubleshooting
The following checklist will help you remedy problems you may encounter with your unit. Before going through the checklist below, check the connection and operating procedures.
General
No sound.
- Rotate the volume control dial clockwise to adjust the volume.
- Cancel the ATT function.
- Set the fader control to the centre position for a 2-speaker system.
The contents of the memory have been erased.
- The RESET button has been pressed. Store again into the memory.
- The power cord or battery has been disconnected.
- The power connecting cord is not connected properly.
No beep sound.
The beep sound is cancelled (page 18).
Indications disappear from/do not appear in the display.
- The clock display disappears if you press OFF for 2 seconds.
Press again for 2 seconds to display the clock. - Remove the front panel and clean the connectors. See "Cleaning the connectors" (page 24) for details.
Stored stations and correct time are erased. The fuse has blown.
Makes noise when the ignition key is in the ON, ACC, or OFF position.
The leads are not matched correctly with the car's accessory power connector.
No power is being supplied to the unit.
- Check the connection. If everything is in order, check the fuse.
- The car does not have an ACC position. Press SOURCE (or insert a cassette) to turn on the unit.
The power is continuously supplied to the unit.
The car does not have an ACC position.
The power aerial does not extend.
The power aerial does not have a relay box.
Tape playback
The sound is distorted.
The tape head is contaminated.
Clean the head with a commercially available dry-tape cleaning cassette.
The AMS does not operate correctly.
- There is noise in the space between tracks.
- A blank space is too short (less than 4 seconds).
- A long pause, or a passage of low frequencies or very low sound level is treated as a blank space.
Radio reception
Preset tuning is not possible.
- Store the correct frequency in the memory.
The broadcast signal is too weak.
The stations cannot be received.
The sound is hampered by noises.
- Connect a power aerial control lead (blue) or accessory power supply lead (red) to the power supply lead of a car's aerial booster. (Only when your car has built-in FM/MW/LW aerial in the rear/side glass.)
- Check the connection of the car aerial.
- The auto aerial will not go up.
Check the connection of the power aerial control lead.
- Check the frequency.
Automatic tuning is not possible.
- The local seek mode is set to "ON."
Set the local seek mode to "OFF" (page 18).
The broadcast signal is too weak.
Perform manual tuning.
The "ST" indication flashes.
- Tune in the frequency accurately.
- The broadcast signal is too weak.
Set to the monaural reception mode (page 18).
A programme broadcast in stereo is heard in monaural.
The unit is in monaural reception mode.
Cancel monaural reception mode (page 18).
continue to next page
RDS
The SEEK starts after a few seconds of listening.
The station is non-TP or has weak signal.
Press () or () repeatedly until "AF-OFF" or "TA-OFF" appears.
No traffic announcements.
- Activate "TA."
- The station does not broadcast any traffic announcements despite being TP.
Tune in another station.
PTY displays "---"
- The current station is not an RDS station.
- RDS data has not been received.
- The station does not specify the programme type.
XR-CA600X/CA600V/CA600 only
CD/MD playback
The sound skips.
Dirty or defective disc.
Error displays
XR-CA600X/CA600V/CA600 only
(when an optional CD/MD unit is connected)
Error displays
The following indications will flash for about 5 seconds, and an alarm sound will be heard.
NO MAG
The disc magazine is not inserted in the CD/ MD unit.
Insert the magazine in the CD/MD unit.
NO DISC
No disc is inserted in the CD/MD unit.
Insert discs in the CD/MD unit.
ERROR\*1
- A CD is dirty or inserted upside down.*2
Clean or insert the CD correctly.
An MD does not playback because of some problem.*2
Insert another MD. - A CD/MD cannot play because of some problem.
Insert another CD/MD.
BLANK*1
No tracks have been recorded on an MD.*2
Play an MD with recorded tracks on it.
RESET
The CD/MD unit cannot be operated because of some problem.
Press the RESET button on the unit.
NOT READ
The lid of the MD unit is open or the MDs are not inserted properly.
Close the lid or insert the MDs properly.
HI TEMP
The ambient temperature is more than 50^
Wait until the temperature goes down below 50^
1 When an error occurs during playback of a CD or MD, the disc number of the CD or MD does not appear in the display.
2 The disc number of the disc causing the error appears in the display.
If these solutions do not help improve the situation, consult your nearest Sony dealer.
Willkommen!
7 Taste MENU 9, 10, 14, 16, 19, 20, 22, 23, 24, 25
3 Taste DISPLAY/PTY (Ändern des
Anzeigemodus/
③ REP 10
RADIO 11, 13, 14
CD/MD
REP 22
⑥ SHUF 22
15 Taste MODE (▶)
TAPE 9,10
RADIO 10, 11, 14
CD/MD 21, 23
16 Taste SOUND 18, 19
17 Taste AF 13, 14
18 Taste TA 14
19 Taste OFF (Stop/Ausschalten)*2
5,8,9,21
20 Taste ENTER
RADIO 12, 14
MENU 9,10
25
CD/MD 23,24
9, 10, 11, 14, 16, 19, 20, 22, 23
24, 25
CD/MD 21, 22, 23, 24
22 Tasten SEEK (- + )
TAPE 9
RADIO 11, 13
MENU 9,10,16,18,19,20,25
CD/MD 21, 22, 24
Katastrophen warnings
A.SCRL (Auto Scroll)*
My Best sound Position (Beste Klangposition) (MBP)
Lecture repeteedepistes Lecture repeteed 22
Touche PTY/DSPL 12, 15
TAPE
③ REP 10
RADIO 11, 13, 14
CD/MD
(3) REP 22
(6) SHUF 22
15 Touche MODE (▶)
TAPE 9,10
RADIO 10, 11, 14
CD/MD 21, 23
16 Touche SOUND 18, 19
17 Touche AF 13, 14
18 Touche TA 14
19 Touche OFF (Arrêt/Mise hors tension)*2 5,8,9,21
20 Touche ENTER
RADIO 12, 14
MENU 9,10
25
CD/MD 23,24
9, 10, 11, 14, 16, 19, 20, 22, 23, 24, 25
CD/MD 21, 22, 23, 24
22 Touches SEEK (- + )
TAPE 9
RADIO 11, 13
9, 10, 16, 18, 19, 20, 25
CD/MD 21, 22, 24
La lecture CD/MD commence.
Impossible de receivevoir les stations.
Tasto PTY/DSPL 12, 15
TAPE
③ REP 9
RADIO 10, 11, 13, 14
CD/MD
(3) REP 21
⑥ SHUF 21
15 Tasto MODE (▶)
TAPE 9
RADIO 10, 11, 13
CD/MD 20,22
16 Tasto SOUND 17, 19
17 Tasto AF 12, 14
18 Tasto TA 13, 14
19 Tasto OFF (arresto/spegnimento)*2 5, 7, 9, 20
20 Tasto ENTER
RADIO 11, 14
8,9,10,15,18,19,20,22,23 24
CD/MD 22,23
(3) REP 9
RADIO 10, 11, 13, 14
CD/MD
③ REP 21
(6) SHUF 21
15 MODE (▶) toets
TAPE 9
RADIO 10, 11, 13
CD/MD 20, 22
EasyManual