XR-L500V - Radio SONY - Manuale utente e istruzioni gratuiti
Trova gratuitamente il manuale del dispositivo XR-L500V SONY in formato PDF.
Questions des utilisateurs sur XR-L500V SONY
0 question sur cet appareil. Repondez a celles que vous connaissez ou posez la votre.
Poser une nouvelle question sur cet appareil
Scarica le istruzioni per il tuo Radio in formato PDF gratuitamente! Trova il tuo manuale XR-L500V - SONY e riprendi in mano il tuo dispositivo elettronico. In questa pagina sono pubblicati tutti i documenti necessari per l'utilizzo del tuo dispositivo. XR-L500V del marchio SONY.
MANUALE UTENTE XR-L500V SONY
Istruzioni per l'uso
IT
Gebruiksaanwijzing
NL
Wichtig!
Si dichiara che l'apparecchio è stato fabbricato in conformità all'art. 2, Comma 1 del D.M. 28.08. 1995 n. 548.
Per l'installazione e i collegamenti, fare riferimento al manuale di istruzioni per l'installazione e i collegamenti in dotazione.
Grazie per aver acquistato quellolettore di cassette Sony. Utilizzato i seguenti accessori sera inoltre possibile usfuriere di ulteriori funzioni:
- Accessori di controllo opzionali
Comando a rotazione RM-X4S
Telecomando a性和 RM-X114
Solo XR-CA600X/CA600V/CA600
- Unità CD/MD opzionali (lettori e cambia CD/ MD)*1.
- Informazioni CD TEXT (visualizzate quando viene riprodotto un disco CD TEXT*2 su unlettore CD opzionale collegato con la funzione CD TEXT).
1 Questo apparecchio funzione unicamente con prodotti Sony.
2 Un disco CD TEXT è un CD audio che contiene informazioni quali il nome del disco, dell'autore e dei brani. Tali informazioni sono registrate sul disco.
Indice
Posizione dei comandi 4
Precauzioni 6
Note sulle cassette 6
Operazioni preliminari
Azzeramento dell'apparecchio 7
Estrazione del pannello frontale 7
Impostazione dell'orologio 8
ettore di cassette
Ascolto di nastri. 9
Vari modi di riproduzione di nastri 9
Radio
Memorizzazione automatica delle stazioni Best Tuning Memory - BTM (memorizzazione automatica delle emittenti con sintonia migliorare) 10
Ricezione delle stazioni memorizzate. 10
Memorizzazione delle stazioni desiderate 11
Sintonizzazione di una stazione da un elenco (solo XR-CA600X/CA600V/CA600) — Funzione di elenco 11
RDS
Presentazione della funzione RDS 12
Risintonizzazione automatica per la risizione ottimale
— Funzione AF 12
Ascolto dei notiziari sul traffico
— TA/TP 13
Preselezione di stazioni RDS con l'impostazione AF e TA 14
Sintonizzazione delle stazioni in base al tipo di programma PTY 14
Impostazione automatica dell'orologio CT 15
Altre funzioni
Uso del telecomando a rotazione. 16
Regolazione delle caratteristiche dell'audio 17
Attenuazione dell'audio. 17
Modifica delle impostazioni dell'audio e del display
— Menu 18
Selezione della posizione dell'audio — My Best sound Position (Posizione ottimale dell'audio) (MBP). 19
Impostazione dell'equalizzatore 19
Unità CD/MD (opzionale) (solo XR-CA600X/CA600V/CA600)
Riproduzione di CD o MD 20
Voci del display 21
Riproduzione ripetuta dei brani — Riproduzione ripetuta 21
Riproduzione dei brani in ordine casuale — Riproduzione in ordine casuale. 21
Assegnazione di un nome a un CD
— Funzione di promemoria disco . . . 22
Ricerca di un disco in base al nome — Funzione di elenco 23
Selezione di brani specifici per la riproduzione — Memoria programma. 23
Informazioni aggiuntive
Manutenzione 24
Estrazione dell'apparecchio 25
Caratteristiche tecniche 26
Guida alla soluzione dei problemi 27
Indicazioni di erre 28
Posizione dei comandi
Per ulteriori dettagli fare riferimento alle pagine indicate.
TAPE
durante la riproduzione di un nastro
RADIO
durante la ricezione radio
MENU
durante il modo menu
CD/MD
durante la riproduzione di CD/MD (opzionale) (solo XR-CA600X/CA600V/CA600)

1 Manopola controlo volume 13
2 Tasto MBP 19
3 Tasto SOURCE (Accensione/Nastro/ Radio/CD*1/MD*1) 5,9,10,11,13,19, 20,22
4 Finestra del display
5 Tasto (espulsione) (situato sul lato anteriore dell'apparecchio, dietro al pannello frontale) 9
6 Ricettore del telecomando a scheda
7 Tasto MENU 8,9,10,14,15,18,19,20,22,23,24
8 Tasto DISPLAY/PTY (modo display/ tipo programma)1 12, 15, 21, 22
9 Tasto SCROLL1 21
10 Tasto OPEN 7,9
XR-CA600X/CA600V/CA600: Tasto LIST
RADIO 11
CD/MD 22,23
XR-L500X/L500V/L500:
12 Tasto EQ7 19
Tasto RESET (situato sul lato anteriore dell'apparecchio, dietro al pannello frontale) 7
Tasti numerici
1 Solo XR-CA600X/CA600V/CA600
2 Informazioni importanti per quando si effettua l'installazione su un'auto sprovvista della posizione ACC (accessorio) sull'interruttore di accensione
Assicurarsi di premere OFF sull'apparecchio per 2 secondi per spegnere il display dell'orologio dopo che si è spento il motore.
Diversamente, il display dell'orologio non si spegne causando lo scaricamento della batteria.

21 XR-CA600X/CA600V/CA600:
Tasti DISC/PRESET (+/-)
XR-L500X/L500V/L500:
Tasti PRESET (+ / - )
RADIO 10,11,15
MENU 8,9,10,14,15,18,19,20,22
23, 24
CD/MD 20, 22, 23
22 Tasti SEEK (- / + )
TAPE 9
RADIO 10, 11, 13
MENU 8,9,15,17,18,19,20,24
CD/MD 20, 22, 23
Telecomando a性和 RM-X114 (opzionale)

I tasti del telecomando a性和 corrispondenti a quelli dell'apparecchio controllano le stesse funzioni.
Tasto DSPL
2 TastiO MENU
3 Tasto SOURCE
4 Tasti SEEK ( / )
5 Tasto SOUND
6 Tasto OFF
7 Tasti VOL (- / +)
8 Tasto MODE
9 Tasto LIST*3
10 Tasti DISC*3/PRESENT (↑/↓)
11 Tasto ENTER
Taste ATT
*3 Non disponible per XR-L500X/L500V/ L500
Nota
Se l'apparecchio viene spento premendo OFF per 2 secondi, non sare possible farlo funzionare con il telecomando a scheda a meno che non venga premuto (SOURCE) sull'apparecchio o venga prima inserta una cassetta per attivare l'apparecchio.
Suggerimento
Per i dettagli sui come sostituire le batterie,fare riferimento alla sezione relativa alla sostituzione della batteria al litio (pagea 25).
Precauzioni
- Se l'auto rimane parcheggiata molto la luce diretta del sole, attendere che l'apparecchio si raffreddi prima di utilizzato.
- Se l'apparecchio non è alimentato, controllare prima di tutto i collegamenti. Se i collegamenti sono stati effettuati correttamente, controllare il fusibile.
- Se dai diffusori di un sistema a due diffusori non proviene alcun suono, impostare il commando di attenuazione nella posizione centrale.
- Se un nastro viene riproduotto a lungo, la cassetta potrebbe surriscaldarsi a causa dell' amplificatore di potenza incorp.orato. Cio non costituisce un problema di funzionamento.
Per eventuali domande o problemi riguardanti l'apparecchio non trattati in quello manuale, rivolgersi al più vicino rivenditore Sony.
Per mantenere un audio di qualità elevata
Fare attentzione a non versare liquidi o bibite sull'apparecchio o sui nastri.

Note sulle cassette
Cura delle cassette
- Non toccare la superficie del nastro di una cassetta, in quanto le testine potrebbero venire contaginate da sporco o polvere.
- Conservare le cassette lontano da apparecchiature con magneti incorpatori quali diffusori e amplificatori, in quanto sul nastro registrato potrebbero verificarsi cancellature o distorsioni.
- Non esporre le cassette alla luce solare diretta, a temperature extremamente basse né a eccessiva umidità.
- Un allentamento del nastro potrebbe causare il blocco del nastro stesso all'interno dell'apparechio. Prima di insertire il nastro, utilizzare una matita o un oggetto simile per ruotere la bobina eliminando agli eventuale allentamento.

- Cassette deformi e etichette adesive incollate in modo non corretto possono causare problemi durante l'insertimento o l'espulsione dei nastri. Rimuovere o sostituire le etichette adesive.

- Durante la riproduzione di una cassetta potrebbero verificarsi disturbi dell'audio. É necessario pulire la testina dellettore身后 ogni 50 ore d'utilizzo.
L'utilizzo di cassette della durata superiore ai 90 minuti non è consigliato ad eccezione della riproduzione continua prolongata Il nastro utilizzato per tali cassette è molto sottile e tende ad allungarsi lavorante.
La riproduzione e l'arresto frequenti di questi nostri potrebbero causarne il blocco all'interno del meccanismo della piastra a cassette.


Operazioni preliminari
Azzeramento dell'apparecchio
Se si utilizes l'apparecchio per la prima volta o si è sostituita la batteria dell'auto, è necessario azzerare l'apparecchio.
Rimuovere il pannello frontale e premere il tasto RESET con un oggetto appuntito, quale una penna a sfera.

Nota
Premendo il tasto RESET verranno cancellate le impostazioni dell'orologio e alcune funzioni memorizzate.
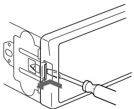
Estrazione del pannello frontale
Il pannello frontale più essere estratto per evitare il furto dell'apprecchio.
Segnale di averporto
Se la chiave di accensione si trovava nella posizione OFF perché che il pannello frontale sia stato rimioso, viene emesso per alcuni secondi un segnale acustico di averporto.
Se si collega un amplificatore di potenza opzionale e non si utilizza l'amplificatore incorporado, il segnale di averporto viene disattivato.
1 Premere (OFF)*.
La riproduzione del nastro o la ricezione radio si arresta (il tasto e il display rimangono illuminati).
- Se la chiave di accensione dell'auto non è dotata di positioninge ACC, assicurarsi di spegnere l'apparecchio premendo (OFF) per 2 secondi per evitare di scaricare la batteria.
2 Premere , quindi far scorrere il pannello frontale versuso destra e tirare delicatamente versus l'esterno il lato sinistro del pannello.

Note
- Se si estrae il pannello quando l'apparecchio è acceso, l'alimentazione viene disattività automaticamente per evitare di danneggiare i diffusori.
- Evitare di far cadere il pannello frontale e di esercitare una forza eccessiva su diesso e sul display.
- Non esporre il pannello frontale a calore, temperature elevate o umidità. Evitare di lasciarlo all'interno di auto parcheggiate, sui cruscotti o sui ripiani posteriori.
Suggerimento
Durante il trasporto insere il pannello frontale nell'apposita custodia in dotazione.
continua alla pagina successiva
Applicazione del pannello frontale
Allineare il foro del pannello frontale con il perno dell'apparecchio, quindi spingere leggermente il lato sinistro verso l'interno.

Nota
Non collocare nulla sulla superficie interna del pannello frontale.
Impostazione dell'orologio
L'orologio alla l'indicazione digitale dell'ora in base alsystema delle 24 ore.
Esembio: per impostare l'ora sulle 10:08
1 Premere (MENU), quando premere più volte uno dei lati di (DISC/PRESET) o PRESET fino a visualizzare "CLOCK".
Le cîfre dell'ora lampeggiano.
2 Premere uno dei lati di
DISC/PRESET o PRESET per impostare I'ora.
3 Premere il lato (+) di (SEEK).
Le cîfre dei minuti lampeggiano.
4 Premere uno dei lati di
DISC/PRESET o PRESET per impostare i minuti.
2 Premere (ENTER).

L'orologio viene attivato. Quando
l'impostazione dell'orologio è completata, il display ritorna a visualizzare il normale modo di riproduzione.
Suggerimenti
- É possible impostare l'orologio automaticamente tramite la funzione RDS (pagea 15).
- Quando il modo D.INFO è impostato su ON, l'ora viene sempre visualizzata (pagea 18).
Lettore di cassette
Ascolto di nastri
1 Premere e inserire una cassetta.
La riproduzione inizia automaticamente.

2 Chidere il pannello frontale.
Se è già inserta una cassetta, per avviare la riproduzione premei più volte (SOURCE) sono a quando non compare "FORWARD" o "REVERSE".
FORWARD: viene riprodotto il lato rivolto.
verso l'alto.
REVERSE: viene riproduotto il lato rivolto verso il basso.
| Per | Premere |
| Cambiare la direzione di riproduzione del nastro | MODE (▲▲) |
| Interrompere la riproduzione | OFF |
| Espellere la cassetta | OPEN quindi ▲ |
| Saltare brani - Sensore musicale automatico | SEEK (▲▲/▲▲) [una volta per agli brano] |
| Avanzamento veloce/ riavvolgimento - Ricerca manuale | SEEK (▲▲/▲▲) [tenere premuto sono al punto desiderato] |
Nota
La funzione AMS potrebbe non essere disponibile quando:
- le parti non registrar tra i brani sono di durata inferiore a 4 secondi.
-non esistono parti completeness prive di audio tra i brani. - esistonosezionilunghe di registrazioniabasso volume o prive di registrazione.
Vari modi di riproduzione di nastri
É possible riproduire nastri in vari modi:
METAL, per la riproduzione di un nastro metal o CrO2.
- BL.SKP (salto dellesezioniononregister),per saltare le parti non register di durata superiore a 8 secondi.
- ATA (Automatic Tuner Activation), per attivare automaticamente la radio durante l'avanzamento o il riavvolgimento veloce del nastro.
1 Durante la riproduzione del nastro, premere (MENU).
2 Premere più volte uno dei lati di DISC/PRESET o PRESET sino a visualizzare il modo desiderato.
3 Premere il lato (+) di (SEEK) per selezionare "ON".
Esemblio: modo ATA

Viene avviato il modo di riproduzione.
4 Premere ENTER
Per tornare al modo di riproduzione normale, selezionare "OFF" al punto 3.
Riproduzione ripetuta dei brani
Riproduzione ripetuta
Durante la riproduzione, premere più volte (3) (REP) sino a quando non compare "REP-ON" nel display.
Per ritornare al modo di riproduzione normale, selezionare "REP-OFF".
Suggerimento
Durante la riproduzione ripetuta, premere MODE). "REP" scompare dal display e il modo di riproduzione ripetuta viene annullato.
Radio
Questo apparecchio può memorizzare fino a 6 stazioni per banda (FM1, FM2, FM3, MW, e LW).
Avverenza
Quando si sintonizzano le stazioni nelle segu, usare la funzione Best Tuning Memory per evitare incidenti.
Memorizzazione automatica delle stazioni
Best Tuning Memory - BTM (memorizzazione automatica delle emittenti con sintonia migliorare)
Questa funzione selezione le stazioni che trasmettono i segnali più forti nella banda selezionata e le memorizza nell'ordine di frequenza.
1 Premere (SOURCE) più volte per selezionare la radio.
2 Premere MODE) più volte per selezionare la banda.
3 Premere (MENU), quindi premere più volte un dato di (DISC/PRESET) o PRESET sino a quando non compare "BTM".
4 Premere (ENTER).
Quando l'impostazione è stata memorizzata viene emesso un segnale acustico.
Note
- Se a causa di segnali deboli si ricevono solo poche stazioni, alcuni tasti numerici manterranno la loro impostazione iniziale.
- Se il display visualizza un numero, l'apparecchio inizia a memorizzare le stazioni a partir da quella correntente selezionata.
Ricezione delle stazioni memorizzate
1 Premere (SOURCE) più volte per selezionare la radio.
2 Premere MODE) più volte per selezionare la banda.
3 Premere il tasto numero (da 1 a 6) su cui è memorizzata la stazione desiderata.
Suggerimento
Premere un dato di DISC/PRESET o PRESET per ricevere le stazioni nell'ordine in cui sono state memorizzate (funzione di ricerca delle stazioni preselezionate).
Se non è possibile sintonizzare una stazione preselezionata
Premere un lato di (SEEK) per ricercare la stazione (sintonizzazione automatica).
La ricerca si arrasta non appena l'apparecchio riceve una stazione. Ripetere sono a che la stazione desiderata non viene ricevuta.
Suggerimenti
- Se la sintonizzazione automatica si arresta troppo frequentemente, attivare la funzione di ricerca locale per limitare la ricerca alle stazioni con i segnali più forti (vedere "Modifica delle impostazioni dell'audio e del display" a pagina 18).
- Se si conosce la frequenza della stazione che si vuole ascoltare, premere e tenere premuto un lato di (SEEK) per trovare la frequenza approssimativa, quando premere (SEEK) più volte per sintonizzarsi esattamente sulla frequenza desiderata (sintonizzazione manuale).
Se la riscione FM stereo è scadente
Selezionare il modo di ricezione monofonico.
(vedere "Modifica delle impostazioni dell'audio e del display" a pagina 18). Il suono migliorata, ma diventa monofonico ("ST" scompare).
Memorizzazione delle stazioni desiderate
É possible preselezionare manually le stazioni desiderate su qualsi numero prescelto.
1 Premere (SOURCE) più volte per selezionare la radio.
2 Premere MODE) più volte per selezionare la banda.
3 Premere un lato di (SEEK) per sintonizzare la stazione che si desidera memorizzare.
4 Premere il tasto numero desiderato (da ① a ⑥) per 2 secondi fino a quando non compare "MEM".
L'indicazione del tasto numerico appeare nel display.
Nota
Se si memorizza un'altra stazione sullo stesso tasto numero, la stazione memorizzata precedentamente viene cancellata.
Sintonizzazione di una stazione da un elenco (solo XR-CA600X/CA600V/ CA600)
— Funzione di elenco
1 Durante la riscione, premere LIST per un momento.
La frequenza o il nome assegnato alla stazione corrente sintonizzata lampeggia.

2 Premere più volte un lato di DISC/PRESET) fino a quando non viene sintonizzata la stazione desiderata.
Se alla stazione selezionata non è stato assegnato alcun nome, sul display appara la frequenza.
3 Premere ENTER per sintonizzato la stazione desiderata.
Presentazione della funzione RDS
L'RDS (sistema dati radio) è un servizio che consente alle stazioni radio FM di trasmettere informazioni digitali aggintive或者其他 normale segnale in radiofrequenza. Quando viene ricevuta una stazione con la funzione RDSiene visualizzata, ad esempio, una delle seguenti voci.
Voci visualizzate
Sorgente musicale
- Orologic
- Funzione

| Per | Premere |
| Cambiare la voce visualizzata | DISPLAY/PTY o PTV/DSPL |
Servizi RDS
I dati RDS offrono altre funzioni quali:
- Risintonizzazione automatica di un programma; funzione utile durante lunghi viaggi in auto. — Funzione AF (frequenza alternatively) → pagina 12
- Ricezione dei notiziari sul traffico, although duringe l'ascolto di un programma o di una sorgente diversi. — Funzione TA → pagina 13
- Selezione delle stazioni per tipo di programma trasmesso. — Funzione PTY → pagina 14
- Impostazione automatica dell'orologio. — Funzione CT → pagina 15
Note
- In funzione del paese o della zona geografica, non tutte le funzioni RDS potrebbero essere disponibili.
- La funzione RDS potrebbe non funzionare correttamente quando il segnale è debole o se la stazione sintonizzata non trasmette dati RDS.
Risintonizzazione automatica per la ricezione ottimale
— Funzione AF
La funzione AF (frequenza alternatively) consente la sintonizzazione sulla stazione con il segnale più forte.

Le frequenze cambiano automaticamente.
1 Selezionare una stazione FM (pagina 10).
2 Premere AF piu volta fina a visualizzare "AF-ON".
L'apparecchio inizia a ricercare una frequenza alternatively con un segnale più forte nella stessa rete.
Se "NO AF" lampeggia, significa che la stazione attualmente sintonizzata non ha una frequenza alternatively.
Nota
Quando nell'area non esiste una frequenza alternativa o quando non ne viene ricercata una, disattivare la funzione AF selezionando "AF-OFF".
Per le stazioni prive di frequenza alternatively
Premere un lato di SEEK ), ),), nome della stazione lampeggia (entro 8 secondi).
L'apparecchio inizia a ricercare un'altra frequenza con gli stessi dati PI (identificazione programma) (appare "PI SEEK").
Se l'apparecchio non trova gli stessi dati PI, ritorna alla frequenza selezionata in precedenza.
Mantenimento del programma regionale
Quando la funzione AF è attivata: le impostazioni predefinite di quello apparecchio limitano la riscione alla regione specifica, in modo che la stazione sintonizzata non venga cambiata con una stazione regionale dal segnale più potente.
Quando ci si allontana dall'area regionale di ricezione di programmi o quando si desidera usfuriere di tutti i servizi della funzione AF, selezionare "REG-OFF" dal MENU (pagina 18).
Nota
Questa funzione non è disponibile nel Regno Unito e in altre aree.
Funzione Local Link (solo per il Regno Unito)
Questa funzione consente di selezionare altre stazioni locali della stessa area,anche se non sono memorizzate sui tasti numerici.
1 Premere un tasto numero (da ① a ⑥) su cui è memorizzata una stazione locale.
2 Entro 5 secondi, premere nuovamente il tasto numero della stazione locale.
3 Ripetere esta procedura fino alla ricezione della stazione locale desiderata.
Ascolto dei notiziari sul traffico
— TA/TP
Attivando la funzione TA (notiziari sul traffico) e TP (programma sul traffico), è possibile sintonizzarri automaticamente su una stazione FM che trasmette notiziari sul traffico. Queste impostazioni funzionano a prescindere dal programma FM/sorgente CD/MD correnti; al termine del notiziario l'apparecchio ritorna alla sorgente originale.
Premere TA piu volta fino a visualizzare "TA-ON".
L'apparecchio inizia a ricercare le stazioni con le informazioni sul traffico. "TP" indica la riscione di tali stations e "TA" lampeggia durante un notiziario sul traffico. L'apparecchio continua a ricercare le stationsi disponibili con TP se viene visualizzato "NO TP".
Per annullare tutti i notiziari sul traffico, selezionare "TA-OFF".
| Per | Premere |
| Annullare il notiziario corrente | TA |
Suggerimento
É inoltre possible cancellare il notiziario currente premendo (SOURCE) o (MODE).
Preimpostazione del volume dei notiziari sul traffico
È possibile preimpostare il livello del volume dei notiziari sul traffico in modo da poterli udire chiaramente.
1 Girare la manopola di controllo del volume per regolare il volume sul livello desiderato.
2 Premere per 2 secondi.
Appare "TA" e l'impostazione viene memorizzata.
Ascolto di notiziari di emergenza
Se la funzione AF o TA è attivata, l'apparecchio riceve un notiziario di emergenza se trasmesso durante l'ascolto di una stazione FM, di un nastro o di un CD/MD.
Preselezione di stazioni RDS con l'impostazione AF e TA
Quando vengono preselezionate stazioni RDS, l'appareccchio memorizza l'impostazione (attivata/disattivata) AF/TA di ogni stazione nelle alla relativa frequenza. è possible selezionare una impostazione diversa (per AF, TA o per entrambe) per singole stazioni preselezionate o la stessa impostazione per tutte le stazioni preselezionate. Se si preselezionano stazioni con "AF-ON" l'appareccchio memorizza automaticamente le stazioni con il segnale radio più forte.
Preselezione della stessa impostazione per tutte le stazioni preselezionate
1 Selezionare una banda FM (pagina 10).
2 Premere AF e/o TA per selezionare "AF-ON" e/o "TA-ON".
Notare che la selezione di "AF-OFF" o di "TA-OFF" non solo memorizza stazioni RDS, maanche stazioni non RDS.
3 Premere (MENU), quindi premere più volte un lato di (DISC/PRESET) o (PRESET) sino a quando non compare "BTM".
4 Premere ENTER finché "BTM" non lampeggia.
Preselezione di impostazioni diverse per agli stazione preselezionata
1 Selezionare una banda FM e sintonizzarsi sulla stazione desiderata (pagina 11).
2 Premere e/o per selezionare "AF-ON" e/o "TA-ON".
3 Premere il tastingo numerico desiderato (da ① a ⑥ ) fino a visualizzare "MEM".
Ripetere la procedura dal punto 1 per preselezionare及其他 stazioni.
Sintonizzazione delle stazioni in base al tipo di programma
-PTY
È possibile sintonizzarsi su una stazione selezionando il tipo di programma che si desidera ascoltare.
| Tipi di programma | Display |
| Giornale radio | NEWS |
| Attualità | AFFAIRS |
| Informazioni | INFO |
| Sport | SPORT |
| Istruzione | EDUCATE |
| Teatro | DRAMA |
| Cultura | CULTURE |
| Scienza | SCIENCE |
| Vario | VARIED |
| Musica pop | POP M |
| Musica rock | ROCK M |
| Musica leggera | EASY M |
| Classica leggera | LIGHT M |
| Classica | CLASSICS |
| Altri tipi di musica | OTHER M |
| Bollettino meteorologico | WEATHER |
| Finanza | FINANCE |
| Programmi per bambini | CHILDREN |
| Sociale | SOCIAL A |
| Religione | RELIGION |
| Chat show | PHONE IN |
| Viaggi | TRAVEL |
| Diversivi | LEISURE |
| Musica Jazz | JAZZ |
| Musica Country | COUNTRY |
| Musica nazionale | NATION M |
| Musica degli anni‘50/'60 | OLDIES |
| Musica folk | FOLK M |
| Documentari | DOCUMENT |
Nota
Questa funzione non è disponibile in alcune nazioni dove i dati PTY (sezione tipo di programma) non sono disponibili.
1 Premere DISPLAY/PTY o PTY/DSPL durante la ricezione FM sino a visualizzare "PTY".

Se la stazione sta trasmettendo dati PTY appeare il nome del tipo di programma corrente.
"---appare se la stazione ricevuta non è una stazione RDS o se i dati RDS non vengono ricevuti.
2 Premere più volte (DISC/PRESET) o PRESET sino a quando non compare il tipo di programma desiderato.
I tipi di programma appaiano nell'ordine indicato alla tabella.
"---apparareseiltipodiprogramma non èspecificatenoi dataRDS.
3 Premere ENTER
L'apparecchio inizia a ricercare una stazione che trasmette il tipo di programma selezionato.
Impostazione automatica dell'orologio
-CT
I dati CT (Clock Time) della trasmissione RDS impostano l'orologio automaticamente.
1 Durante la riscione radio, premere (MENU), quando premere un lato di DISC/PRESET o PRESET più volte fino a visualizzare "CT-OFF".

2 Premere il lato (+) di (SEEK) più volte fino a visualizzare "CT-ON". L'orologio è impostato.
3 Premere ENTER per ritornare al display normale.
Per cancellare la funzione CT, selezionare "CT-OFF" al punto 2.
Note
- La funzione CT potrebbe non essere disponibileanche in presenza di una stazione RDS.
- Ci potrebbe essere una differenza fra l'ora impostata alla funzione CT e l'ora reale.
Altre funzioni
É inoltre possibile controllare l'apparecchio (e le unità CD/MD opzionali*1) tramite un telecomando a rotazione (opzionale).
Uso del telecomando a rotazione
Innanzitutto, apporre l'etichetta appropriata a seconda di come si vuole montare il telecomando a rotazione.
Il telecomando a rotazione funziona tramite pressione dei tasti e/o rotazione dei comandi.



Pressione dei tasti
Ruotare il dato VOL per regolare il volume.
| Premere | Per |
| SOURCE | Cambiare sorgente (radio/CD*2/MD*2/nastro) |
| MODE | Cambiare operazione (banda radio/unità CD*2/ unità MD*2/direzione di riproduzione del nastro) |
| ATT | Attenuare il suono |
| OFF*3 | Interrompere la riproduzione o la ricezione radio |
| SOUND | Regolare il menu audio |
| DSPL | Cambiare la voce del display |
1 Solo XR-CA600X/CA600V/CA600
2 Solo se l'apparecchiatura opzionale correspondente è collegata (solo XR-CA600X/CA600V/CA600).
*3 Se la chiave d'accensione dell'auto non è dotata della posizione ACC (accessorio), assicurarsi di premere OFF per 2 secondi per spagnere l'indicazione dell'orologio dopo ave spento il motore.

Tramite rotazione del commando
Ruotare rilasciare per:
- Individuare l'inizio dei brani sul nastro.
- Sintonizzare stazioni automaticamente.
- Saltare brani sul disco.*2
Ruotare il dato, mantenerlo ruotato e rilasciarlo per:
- Avvolgere velocemente il nastro.
Trovare una stazione manualmente. - Scorrere rapidamente in avanti/all'indietro su un brano.*2
Suggerimento
Per avviare la produzione durante l'avolgimento veloc e del nastro, premere MODE

Spingendo versus l'interno e ruotando il commande
Spingere versus l'interno e ruotare il commande per:
Riceveredstazionipreselezionate.
- Cambiare il disco*2.
Modifica della direzione operativa
La direzione operativa dei comandi è impostata in fabbrica come illustrato tutto.

Per augmentare
Per diminuire
Se si desidera montare il telecommando a rotazione sul lato destro del pianitone di guida, è possibile invertire la direzione operativa dei comandi.

Premere SOUND per 2 secondi premendo contemporaneamente il dato VOL.
Suggerimento
E inolte possiblere modificare la direzione operativa di questi comandi tramite l'apparecchio (vedere "Modifica delle impostazioni dell'audio e del display" a pagina 18).
Regolazione delle caratteristiche dell'audio
Épossibleregolarebassi,acuti,bilanciamentoe attenuatore.
I livelli dei bassi e degli acuti possono essere memorizzati indipendente per ciascuna sorgente.
1 Selezionare la voce che si desidera regolare premendo (SOUND) più volte.
Ogni volta che viene premuto (SOUND), le
indicazioni scorrono come segue:
BAS (bassi) TRE (acuti) BAL
(sinistra-destra) FAD (anteriore-posteriore)
2 Regolare la voce selezionata premendo un lato di (SEEK).
Quando si efectua una regolazione tramite il telecommando a rotazione, premere e ruotare il comando VOL.
Nota
Effettuare la regolazione entro 3 secondi dopo aver selezionato la voce.
Attenuazione dell'audio
(tramite il telecomando a rotazione o il telecomando a scheda)
Premere ATT sul telecomando a rotazione o sul telecomando a scheda.
Viene visualizzato brevamente "ATT-ON",\ quindi appeare "ATT" nel display.
Per ripristinare il livello di volume precedente, premere di nuovo ATT.
Suggerimento
Se al cavo ATT è collegato un cavo di interfaccia per telecomi per auto, quando vi è una Telefonata in arrivò il volume viene abbassato automaticamente (funzione ATT di esclusione del volume).
Modifica delle impostazioni dell'audio e del display
—Menu
- CLOCK (pagea 8)
CT (orologio) (agina 15) - BEEP — per attivare o disattivare i segnali acustici.
-
RM (telecomando a rotazione) — per modificare la direzione operativa dei comandi del telecomando a rotazione.
-
Selezionare "NORM" per usare il telecomando a rotazione con le impostazioni di fabbrica.
- Selezionare "REV" quando si monta il telecomando a rotazione sul lato destro del pianitone di guida.
DSPL (display)
D. INFO (informazione dopbia) — per visualizzare contemporaneamente (ON) l'orologio e il modo di riproduzione.
- AMBER/GREEN — perambiare il colore dell'illuminazione in ambra o verde (solo XR-CA600/L500).
- DIM (attenuatore di luminosità) — per modificare la luminosità del display (solo XR-CA600V/L500V).
- Selezionare "ON" per ridurre la luminosità del display.
- Selezionare "OFF" per disattivare l'attenuatore di luminosità.
- M.DSPL (display in movimento) — per selezionare il modo Motion Display fra “1”, “2” e “OFF.”
- Selezionare "1" per visualizzare strisce decorative nel display e attivare il modo Demo del display.
- Selezionare "2" per visualizzare strisce decorative nel display e disattivare il modo Demo del display.
- Selezionare "OFF" per disattivare il modo Motion Display.
A.SCRL (scorrimento automatico)* - Selezionare "ON" per far scorrere automaticamente i nomi visualizzati di altre 8 caratteri.
- Quando la funzione di scorrimento automatico viene disattivata e il nome del disco o del brano viene cambiato, il nome del disco o del brano non viene fatto scorrere.
- Questa você non appeare se non viene riprodotto alcun CD/MD (solo XR-CA600X/CA600V/CA600).
SND (audio)
- LOUD (enfasi dei bassi) — consente di udire i bassi e gli acutianche quando il volume è basso. I bassi e gli acuti verranno potenziati (solo XR-CA600V/CA600/L500V/L500).
P/M (modo di riproduzione)
- LOCAL-ON/OFF (modo di ricerca locale) (pagina 10)
- Selezionare "ON" per sintonizzare solo le stazioni con i segnali più forti.
- MONO-ON/OFF (modo monofonico) (pagina 10)
- Selezionare "ON" per ascoltare trasmissioni FM stereo in monofonia. Selezionare "OFF" per ritornare al modo normale.
- REG-ON/OFF (locale) (pagina 13)
1 Premere (MENU).
Per impostare A.SCRL, premere (MENU) durante la riproduzione di CD/MD
2 Premere piu volte un lato di
DISC/PRESET o PRESET sino a quando non compare la vcse desiderata.
3 Premere il lato (+) di (SEEK) per selezionare l'impostazione desiderata (ad esempio: ON o OFF).
4 Premere ENTER
Dopo aveo impostato il modo desiderato, il display ritorna al modo di riproduzione normale.
Nota
La voce visualizzata cambia in funzione della sorgente.
Suggerimento
Épossiblespostarsifacilitamentetralediversecategory("SET","DSPL","SND","P/M"e“EDIT") premendo unlatodi DISC/PRESETo PRESETper 2secondi.
Selezione della posizione dell'audio
My Best sound Position (Posizione ottimale dell'audio) (MBP)
Quando si viaggio da soli, è possibile ottener e'effetto sonoro ottimale tramite la funzione "Posizione ottimale dell'audio".
La "Posizione ottimale dell'audio" dispone di due impostazioni per regolare il livello del bilanciamento e dell'attenuatore. É possible selezioneare un'impostazione molto fácilmente premendo il tasto MBP.
| Finestre del display | Livello del bilanciamento | Livello dell'attenuatore | ||
| Destro | Sinistro | Anteriore | Posteriore | |
| MBP-A | - 4dB | 0 | 0 | - 4dB |
| MBP-B | 0 | - 4dB | 0 | - 4dB |
| MBP-OFF | 0 | 0 | 0 | 0 |
Premere MBP più volte per ottener la posizione di ascolto desiderata.
Il modo della "Posizione ottimale dell'audio" èindicato nel display secondo l'ordine della tabella.

Dopo un secondo, il display ritorna al modo di riproduzione normale.
Per regolare il livello dell'audio del bilanciamento e dell'attenuatore con maggiore precisione, si può usare il tasto (SOUND) (vedere "Regolazione delle caratteristiche dell'audio" a pagina 17).
Note
- Dopo aveo completato la regolazione di BAL (bilanciamento) o FAD (attenuatore) alla sezione "Regolazione delle caratteristiche dell'audio" (pagina 17), le impostazioni MBP tornano su OFF.
- Quando MBP è impostato su OFF, le impostazioni BAL e FAD sono attive.
Impostazione dell'equalizzatore
E possibile selezionale una curva di equalizzazione per sette tipi diversi di musica (XPLOD, VOCAL, CLUB, JAZZ, NEW AGE, ROCK, CUSTOM, e OFF (equalizzatore OFF)). E possibile memorizzare e regolare frequenza e livello delle impostazioni dell'equalizzatore.
Selezione della curva di equalizzazione
1 Premere (SOURCE) per selezionare una sorgente (radio, CD, MD, o TAPE).
2 Premere più volte (EQ7) fino a quando non compare la curva desiderata.
Ad agli pressione di (EQ7), la你可以 cambia.

Per annullare l'effetto di equalizzazione, selezionare "OFF".Dopo 3 secondi, il display torna al modo di riproduzione normale.
Regolazione della curva dell'equalizzatore
1 Premere (MENU).
2 Premere più volte un lato di DISC/PRESET o PRESET sino a quando non compare "EQ7 TUNE", quindi premere ENTER.
3 Premere un lato di (SEEK) per selezionare la curva di equalizzazione desiderata, quando premere ENTER. Ad agli pressione di (SEEK), la voce cambia.
continua alla pagina successiva
4 Selezionare la frequenza e il livello desiderati.
1 Premere un lato di SEEK per selezionare la frequenza desiderata. Ad agli pressione di SEEK, la frequenza cambia.
$$ \begin{array}{l} 6 2 \left(\text {H z}\right) \longleftrightarrow 1 5 7 \left(\text {H z}\right) \longleftrightarrow 3 9 6 \left(\text {H z}\right) \longleftrightarrow \ 1 k \left(\text {H z}\right) \longleftrightarrow 2. 5 k \left(\text {H z}\right) \longleftrightarrow 6. 3 k \left(\text {H z}\right) \longleftrightarrow \ 1 6 k \left(\text {H z}\right) \end{array} $$
Premere un lato di DISC/PRESET o PRESET per regolare il livello di volume desiderato.
Il livello del volume è regolabile in incrementi di 1 dB da -10 dB a +10 dB.

Per ripristinare la curva di equalizzazione preimpostata, premere (ENTER) per 2 secondi.
5 Premere (MENU) due volta.
Dopo aver terminato l'impostazione dell'effetto, appeare il modo di riproduzione normale.
Unità CD/MD (opzionale) (solo XR-CA600X/CA600V/ CA600)
Questo appearecchio è in grado di controllare unità CD/MD esterne.
Se si collega un'unità CD opzionale dotata di funzioni CD TEXT e di personalizzazione dei file, durante la riproduzione di CD TEXT nel display appaiano le informazioni CD TEXT.
Riproducione di CD o MD
1 Premere (SOURCE) più volte per selezionare “CD” o “MD”.
2 Premere MODE più volte fino a visualizzare l'apparecchio desiderato. La riproduzione di CD/MD viene avviata.
| Per | Premere |
| Interrompere la riproduzione | OFF |
| Saltare dischi – Selezione dischi | DISC/PRESET (+/-) |
| Saltare brani – Sensore musicale automatico | SEEK (↓/▶) [una volta per agli brano] |
| Avanzamento veloce/ riavvolgimento – Ricerca manuale | SEEK (↓/▶) [tenere premuto sono al punto desiderato] |
Voci del display
Quando il disco/brano cambia, i titoli preregistrati* del nuovo disco/brano vengono visualizzati automaticamente (se la funzione di scorrimento automatico è impostata su "ON", i nomi più lunghi di 8 caratteri vengono fatti scorrere (pagea 18)).

| Per | Premere |
| Cambiare la voce visualizzata | DISPLAY/PTY |
| Scorrere tra le voci visualizzate | SCROLL |
1 "NO NAME" indica che non ci sono la funzione di promemoria disco (pagea 22) o un nome preregistrato da visualizzare.
2 Solo per dischi CD TEXT con il nome dell'autore.
Note
- Certi caratteri non possono essere visualizzati.
- Le informazioni di alcuni dischi CD TEXT con molti caratteri potrebbero non essere visualizzate.
- Questo apparecchio non può visualizzare il nome dell'autore di ogni brano del disco CD TEXT.
Suggerimento
Quando lo scorrimento automatico è impostato su OFF e il nome del disco/brano non viene visualizzato quando cambia.
Riproducione ripetuta dei brani
Riproduzione ripetuta
- REP-1 — per ripetere un brano.
- REP-2 — per ripetere un disco.
Durante la riproduzione, premere (3) (REP) più volte fino a visualizzare l'impostazione desiderata nel display.
La riproduzione ripetuta ha inizio.
Per ritornare alla riproduzione normale, selezionare "REP-OFF".
Riproroduzione dei brani in ordine casuale
Riproduzione in ordine casuale
- SHUF-1 — per riproduire in ordine casuale i brani del disco corrente.
- SHUF-2 — per riproduire in ordine casuale i brani del disco corrente dell'unità CD (MD) opzionale.
- SHUF-ALL* — per riproduire in ordine casuale tutti i brani di tutte le unità collegate.
- Disponibile solo quando sono collegati due o più apparecchi CD/MD opzionali.
Durante la riproduzione, preme 6 (SHUF) più volte fino a visualizzare l'impostazione desiderata nel display.
La riproduzione in ordine casuale ha inizio.
Per ritornare al modo di riproduzione normale, selezionare "SHUF-OFF".
Nota
La funzione "SHUF-ALL" riproduce in ordine casuale solo i brani dell'unità CD o dell'unità MD e non entrambi contemporaneamente.
Assegnazione di un nome a un CD
— Funzione di promemoria disco (per unlettore CD dotato di funzione CUSTOM FILE)
É possible assegnare un nome a un disco (funzione di promemoria disco). É possible insere fine a 8 caratteri per agli disco. Se si assegna un nome a un CD, è possible individuarlo per nome (pagea 23).
1 Iniziare a riproduire il disco cui si desidera assegnare un nome.
2 Premere (MENU), quindi premere un lato di (DISC/PRESET) più volte fino a visualizzare "NAMEEDIT".
3 Premere ENTER

L'apparecchio ripete la riproduzione del disco durante la procedura di assegnazione del nome.
4 Inserire i caratteri.
Premere più volte il lato (+)*1 di DISC/PRESET per selezionare il carattere desiderato.
$$ \begin{array}{l} \mathsf {A} \to \mathsf {B} \to \mathsf {C} \dots \to 0 \to 1 \to 2 \dots \to + \to \ - \to * \dots \to_ {-} ^ {* 2} \to \mathsf {A} \end{array} $$
1 Per tornare indietro, premere il lato (-) di DISC/PRESET.
2 (spazio vuoto).
Premere il lato (+) di (SEEK) dopo averere trovato il carattere desiderato.

Premendo il lato (-) di (SEEK), è possibile retrocedere verso sinistra.
Ripetere i punti e 2 per insere l'intero nome.
5 Per ritornare al modo normale di riproduzione CD, premere (ENTER).
Suggerimenti
- Per correggere o cancellare un nome basta sovrascrivere o insertire “.”
- Esiste un altro modo per assegnare un nombre a un CD: premere (LIST) per 2 secondirieve di eseguire i puniti 2 e 3. Inoltre l'opération cui essere completata premendo (LIST) per 2 secondirieve di eseguire il punto 5.
- É possiblo assegnare un nome a un CD in un appearecchio sprovvisto della funzione CUSTOM FILE se tale appearecchio è collegato ad unlettore CD dotato di tale funzione. Il promemoria disco verrà conservato nella memoria dellettore CD provvisto della funzione CUSTOM FILE.
Nota
Le funzioni REP-1/riproduzione casuale sono sospese fino al termine della procedura di modifica del nome.
Visualizzazione del promemoria disco
In quanto voce del display, la funzione di promemoria disco ha sempre la priorità sulle informazioni originali CD TEXT.
| Per | Premere |
| Visualizzare | DISPLAY/PTY) durante la riproduzione di un CD/CD TEXT |
Suggerimento
Per sapere quali altre voci possono essere visualizzate,fare riferimento a pagina 21.
Cancellazione della funzione promemoria disco
1 Premere (SOURCE) più volte per selezionare "CD".
2 Premere MODE) più volte per selezionare illettore CD con la funzione di promemoria disco.
3 Premere (MENU), quindi premere un lato di (DISC/PRESET) più volte fino a visualizzare "NAME DEL".
4 Premere ENTER
I nomi memorizzati appaioni in ordine partendo dal primo nome inserito.
5 Premere un lato di DISC/PRESET più volte per selezionare il nome del disco che si desidera cancellare.
I nomi memorizzati appaioni in ordine partendo dal primo nome inserto.
6 Premere ENTER per 2 secondi.
Il nome viene cancellato.
Ripetere i punti 5 e 6 per cancellare和其他 nomi.
7 Premere (MENU) due volta.
Illettoretironaalmodonormale di riproduzione CD.
Note
- Quando viene cancellata la funzione di promemoria di un disco CD TEXT, vengono visualizzate le informazioni originali del CD TEXT.
- Se non si trovà il promemoria disco che si considera cancellare, selezionare un diversolettore CD al punto 2.
Ricerca di un disco in base al nome
Funzione di elenco (per unlettore CD con la funzione CD TEXT/CUSTOM FILE o unlettore MD)
Questa funzione è disponibile per i dischi cui sono stati assegnati dei nomi* o per CD TEXT*2.
1 Individuzione di un disco in base al nome assegnato: quando si assegni un nome a un CD (pagea 22) o a un MD.
2 Individuzione di un disco tramite le informazioni CD TEXT: quando si riproduce un disco CD TEXT su unlettore CD con la funzione CD TEXT.
1 Premere LIST.
Il nome assegnato al disco corrente appeare nel display.

2 Premere un lato di DISC/PRESET più volte fino a individuire il disco desiderato.
3 Premere ENTER per riproduire il disco.
Nota
Non è possibile visualizzare alcune lettere, ad eccezione di: Disc memo (promemoria disco).
Selezione di brani specifici per la riproduzione
Memoria programma (per unlettore CD dotato di funzione CUSTOM FILE)
Se è stato assegnato un nome al disco, è possibile impostare l'apprecchio in modo che salti o riproduca dei brani a scelta.
1 Iniziare a riproduire il disco cui si desidera assegnare un nome.
2 Premere (MENU), quindi premere un lato di (DISC/PRESET) più volte fino a visualizzare "BANK SEL".
3 Premere ENTER

4 Assegnazione di nomi ai brani.
Premere un lato di (SEEK) più volte per selezionare il brano cui si desidera assegnare un nome.
Premere ENTER piu voite per selezionare "PLAY" o "SKIP".
5 Ripetere il punto 4 per impostare "PLAY" o "SKIP" per tutti i brani.
6 Premere (MENU) due voite.
Illettoretironaalmodonormale di riproduzione CD.
Note
- É possible impostare "PLAY" e "SKIP" per 24 brani al massimo.
- Non è possibile impostare "SKIP" per tutti i brani di un CD.
continua alla pagina successiva
Riproduzione di brani specifici
- "BANK-ON" — per riproduire i brani con l'impostazione "PLAY".
"BANK-INV" (inversa) — per riproduire i brani con l'impostazione "SKIP".
1 Durante la riproduzione, premere (MENU), quando premere un dato di DISC/PRESET) più volte fino a visualizzare "BANK-ON", "BANK-INV" o "BANK-OFF".
2 Premere il lato (+) di (SEEK) più volte fino a visualizzare l'impostazione desiderata.

3 Premere ENTER.
La riproduzione inizia dal brano successivo al brano corrente.
Per ritornare al modo di riproduzione normale, selezionare "BANK-OFF" al punto 2.
Informazioni aggintive
Manutenzione
Sostituzione del fusibile
Quando si sostituisce il fusibile, assicurarsi di utilizzare un fusibile dello stesso amperaggio di quello originale. Se il fusibile si brucia, controllare i collegamenti e sostituire il fusibile. Se dove la sostuzione si verifica un altro cortocircuito, potrebbe trattarsi di un problema interno. In tal caso, rivolgersi al più vicino rivenditore Sony.

Avverenza
Non usare mai un fusibile con un amperaggio superiore a quello del fusibile fornito con l'apparecchio. Cio potrebbe danneggiare l'apparecchio.
Pulizia dei connettori
Se i connettori fra l'apparecchio e il pannello frontale sono sporchi, l'apparecchio potrebbe non funzionare correttamente. Per evitare quello problema, après il pannello frontale, asportarlo (pageina 7) e pulire i connettori con un batuffolo di cotone imbevuto d'alcol. Non esercitare forza eccessiva. Diversamente, i connettori potrebbero essere danneggiati.

Unità principale

Lato posteriore del pannello frontale
Note
Per motivi di sicurezza, spegnere il motore prima di pulire i connettori e rimuovere la chiave dal disposativo di accensione.
- Non toccare mai direttamente i connettori con le dita o con altri oggetti di metallo.
Sostituzione della batteria al litio
In condizioni normali, le batterie durano circa un anno. (Il ciclo di vita può essere minore in funzione delle condizioni di utilizzo.) Quando la batteria si scarica, il raggio d'azione del telecommando a scheda diventa più corto. Sostituire la batteria con una batteria al litio nuova CR2025.


Note sulla batteria al litio
- Tenere la batteria al litio lontana alla portata dei bambini. Se la batteriaiene inghiottita, consultare immediamente un medico.
- Pulire la batteria con un panno asciutto per assicurare un perfetto dato.
- Assicurarsi di osservare la corretta polarità durante l'insertimento della batteria.
- Non afferrare la batteria con pinze di metallo, in quanto si potrebbe causare un corto circuito.
AVVERTENZA
La batteria può esplodere se usata scorrettamente. Pertanto, non deve essere ricaricata, smontata ogettata nel fuoco.
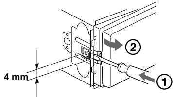
Estrazione dell'apparecchio
1 Estrarre il coperchio frontale
Staccare il pannello frontale (pagina 7).
Premere il morsetto all'interno del pannello frontale con un cacciavite sottile.

Ripetere il punto 2 sull'alto lato.
2 Estrarre l'apparecchio
1 Usare un cacciavite sottile per spingere il morsetto sul lato sinistro dell'apparecchio, quando tirare verso l'esterno il lato sinistro fino a che il fermo non lascia la struttura.

Ripetere il punto 1 per il lato destro.
Estrarre l'apparecchio alla struttura facendolo scorrere.
Caratteristiche tecniche
Sezionelettorecassette
Pista del nastro 4 piste 2 canali stereo
Wow e flutter 0,08% (WRMS)
Rispostainfrequenza
Rapporto segnale-rumore
30 - 18.000Hz
| Tipo cassetta | |
| TYPE II, IV | 61 dB |
| TYPE I | 58 dB |
Sintonizzatore*1
FM
Gamma di frequenze
87.5-108.0MHz
Terminale dell'antenna
Connettore esterno dell'antenna
Frequenza intermedia
10,7 MHz/450 kHz
Sensibilitàutilizzabile
8 dBf
Selettivita
75 dB a 400 kHz
Rapporto segnale-rumore
66 dB (stereo),
72 dB (mono)
Distorsione armonica a 1kHz
0,6% (stereo),
0,3% (mono)
Separazione
35 dB a 1 kHz
Rispostainfrequenza
10 - 15.000Hz
MW/LW
Gamma di frequenze
MW: 531 - 1.602kHz
LW: 153 - 279kHz
Terminale dell'antenna
Connettore esterno
dell'antenna
Frequenza intermedia
10,7 MHz/450 kHz
Sensibilità
MW: 30~ V
LW: 40~ V
Amplificatore di potenza
Uscite
Uscite diffusori
(connettori a tenuta)
Impedenza diffusori
4-8ohm
Uscita di potenza massima
50W× 4 (a 4ohm
Generali
Uscite
Uscite audio (posteriori)
Controllo a relè
dell'antenna elettrica
Controllo dell'amplificatore di potenza
Ingressi
Controllo della funzione
ATT (funzione di esclusione del Telefono)
Connette ingress control BUS*2
Connettore ingresso audio BUS*2
Connette ingresso telecome
Connettore ingresso antenna
Comandi tono
Bassi ± 8 dB a 100Hz
Alti ± 8 dB a 10kHz
Enfasi dei bassi
100Hz + 8dB
10kHz + 2dB
Alimentazione
Batteria auto 12 V CC
(massa negativa)
Dimensioni
Circa 17× 50× 176mm (l / a / p)
Dimensioni struttura
Circa 182× 53× 161mm (l/a/p)
Peso
Circa 1,2kg
Accessor in dotazione
Elementi per l'installazione
e i collegamenti (1 set, ad
eccezione del cavo di
collegamento
dell'alimentazione)
Custodia pannello frontale
(1)
Accessorio ponzionali
Telecommando a rotazione RM-X4S
Telecomando a lista RM-X114
Cavo BUS (in dotazione con un cavo a piedini RCA)
RC-61 (1 m), RC-62 (2 m) Cambia CD (10 dischi)
CDX-848X, CDX-646
Cambia MD (6 dischi) MDX-65
Selettore di sorgente
XA-C30
*1 di cui al par. 3 dell'Allegato A al D.M. 25/06/85 e al par. 3 dell'Allegato 1 al D.M. 27/08/87
*2 Solo XR-CA600X/CA600V/CA600
Nota
Questo apparecchio non più essere collegato a un preamplificatore digitale o a un equalizzatore.
Il design e le caratteristiche tecniche sono soggetti a modifiche alla preavviso.
Guida alla soluzione dei problemi
Fare riferimento alla segunte lista di verifica per risolverve la maggior parte dei problemi che si potrebbero verificare nell'uso di quello appearecchio.
Prima di esaminare l'elenco che segue, rileggere le struzioni per il collegamento e l'uso dell'apparecchio.
Generali
Non viene prodotto alcun suono.
- Ruotare la manopola di controllo del volume in senso orario per regolare il volume.
- Annullare la funzione ATT.
- Per il sistema a 2 diffusori, impostare il commande dell'attenuatore sulla posizione centrale.
Il contentuto della memoria è stato cancellato.
- É stato premuto il tasto RESET.
Reinserire i dati in memoria. - Il cavo di alimentazione o la batteria sono stati scollegati.
- Il cavo di alimentazione non è collegato correttamente.
Nessun segnale acustico.
Il segnale acustico è disattivato (pagea 18).
II display non visualizza alcuna indicazione.
L'indicazione dell'orologio scompare se si preme OFF per 2 secondi. Premere di nuovo OFF per 2 secondi per visualizzare l'orologio.
- Estrarre il pannello frontale e pulire i connettori. Per ulteriori dettagli videere "Pulizia dei connettori" (pagea 24).
Le stazioni memorizzate e l'ora esatta sono cancellate.
Si è bruciato il fusibile.
L'audio è disturbato quando la chiave di accensione è sulla posizione ON, ACC o OFF.
I cavi non sono abbinati correttamente al connettore di alimentazione accessori dell'auto.
L'apparecchio non riceve l'alimentazione.
- Verificare il collegamento. Se i collegamenti sono stati effettuali correttamente, controllare il fusibile.
L'auto è priva della posizione ACC. →Premere (SOURCE) (o insertire una cassetta) per accendere l'apparecchio.
L'alimentazione viene fornita all'apparecchio continuamente.
L'auto è priva della posizione ACC.
L'antenna elettrica non si estende. L'antenna elettrica non ha un relié.
Riproduzione di nastri
L'audio è difettoso.
La testina dellettore è sporca.
Pulire la testina con una cassetta pulisci testine disponibile in commercio.
La funzione AMS non funziona correttamente.
- Le parti tra i brani non sono completamente prive di registrazioni.
- La durata della parte priva di registrazioni è troppo breve (inferiore a 4 secondi).
- Una lunga pausa o un passaggio a basso frequenze o con un livello audio molto basso viene scambiato per una parte priva di registrazioni.
Ricezione radiofonica
Non è possibile effettuare la sintonizzazione preselezionata.
- Memorizzare la frequenza corretta.
- Il segnale di trasmissione è troppo debole.
Le stazioni non possono essere ricevute. Il suono è disturbato.
- Collegare il cavo di controllo (blu) dell'antenna elettrica o il cavo di alimentazione accessorio (rosso) al cavo di alimentazione di un preamplificatore dell'antenna per auto. (Solo se l'auto dispone di antenna FM/MW/LW incorpora sul vetro posteriore/laterale.)
- Verificare il collegamento dell'antenna dell'auto.
L'antenna dell'auto non si estende. Verificare il collegamento del cavo di controllo dell'antenna elettrica. - Verificare la frequenza.
La sintonizzazione automatica non è possible.
- Il modo di ricerca locale è impostato su "ON."
Impostare il modo di ricerca locale su "OFF" (pagea 18). - Il segnale di trasmissione è troppo debole.
Eseguire la sintonizzazione manuale.
L'indicazione "ST" lampeggia.
- Sintonizzare la frequenza con precisione.
- Il segnale di trasmissione è troppo debole.
Impostare il modo di ricezione monofonico (pagea 18).
Un programma trasmesso in stereo viene ricevuto in modo monofonico.
L'apparecchio è impostato sul modo di ricezione monofonica.
Annullare il modo di ricezione monofonica (pagina 18).
RDS
Si avvia SEEK dopo alcuni secondi di ascolto.
La stazione non è TP oppure il segnale è debole.
Premere o TA piu volte forn a visualizzare "AF-OFF"o "TA-OFF".
Nessun notiziario sul traffico.
Attivare "TA".
- La stazione non trasmette notiziari sul traffico pur esendo una stazione TP.
Sintonizzarsi su un'altra stazione.
PTY visualizza "---".
- La stazione corrente non è una stazione RDS.
- I dati RDS non vengono ricevuti.
- La stazione non specifica il tipo di programma.
Solo XR-CA600X/CA600V/CA600
Riproduzione di CD/MD
Il suono salute.
Il disco è sporco o difettoso.
Indicazioni di erre
Solo XR-CA600X/CA600V/CA600
( quando è collegato unlettore CD/MD opzionale)
Indicazioni di erre
Le seguenti indicazioni lampeggiano per circa 5 secondi e viene emesso un segnale acustico.
NO MAG
Il contentitore di dischi non è inserto nell'apparecchio CD/MD.
Inserire il contentitore di dischi nell'apparecchio CD/MD.
NO DISC
Non è stato inserto alcun disco nell'apparecchio CD/MD.
Inserire un disco nell'apparecchio CD/MD.
ERROR\*1
- Il CD è sporco o è stato inserito in senso contrario.*2
Pulire il CD o inserirlo correttamente. - Un MD non viene riproduotto a causa di un problema.*2
Inserire un alto MD. - Un CD/MD non viene riprodotto a causa di un problema.
Inserire un alto CD/MD.
BLANK*1
Non sono stati registrati brani sull'MD.*2
Riproduire un MD contentente brani registrati.
RESET
L'apparecchio CD/MD non funziona per un problema non specificato.
Premere il tastingo RESET sull'apparecchio.
NOT READ
Il coperchio dell'apparecchio MD è aperto o gli MD non sono inserti correttamente.
→Chiudere il coperchio o inserire gli MD correttamente.
HI TEMP
La temperatura ambiente è superiore a 50^ .
Attendere sono a che la temperatura non sia scesa molto i 50^ .
1 Quando si verifica un erreore durante la riproduzione di un CD o di un MD, il numero di disco del CD o MD non viene visualizzato nel display.
2 Il numero del disco che causa l'erreore viene visualizzato nel display.
Se le soluzioni qui riportare non risolvono il problema, rivolgersi al più vicino rivenditore Sony.
ManualeFacile