XR-L500V - Radio SONY - Gratis gebruiksaanwijzing en handleiding
Vind de handleiding van het apparaat gratis XR-L500V SONY in PDF-formaat.
Questions des utilisateurs sur XR-L500V SONY
0 question sur cet appareil. Repondez a celles que vous connaissez ou posez la votre.
Poser une nouvelle question sur cet appareil
Download de handleiding voor uw Radio in PDF-formaat gratis! Vind uw handleiding XR-L500V - SONY en neem uw elektronisch apparaat weer in handen. Op deze pagina staan alle documenten die nodig zijn voor het gebruik van uw apparaat. XR-L500V van het merk SONY.
GEBRUIKSAANWIJZING XR-L500V SONY
Zie voor het monteren en aansluiten van het apparaat de bijgeleverde handleiding "Installatie en aansluitingen".
XR-CA600X
XR-L500X
XR-CA600V
XR-L500V
XR-CA600
XR-L500
Welcome!
Dank u voor aankoop van deze Sony Cassette Player. Dit toestel biedt u tal van möglichkheden die u nog beter kut benutten met behulp van:
- Los verknijgbaar toebehoren
Bedieningssatelliet RM-X4S Kaartafstandsbediening RM-X114
allyen XR-CA600X/CA600V/CA600
- Los verkrijgbare CD/MD-apparatuur (wisselaars en spelers)*1.
- CD TEXT informatie (verschijnt wanner een CD TEXT disc*2 wordt afgespeeld op aangesloten, los verkrijgbare CD-apparatuur met CD TEXT functie).
1 Dit toestel werkkt alleen met Sony-producten.
2 Een CD TEXT disc is een audio CD die informatatie bevat zoals disc-naam, artiestennaam en tracknamen. Deze informatatie is opgenomen op de disc.
Inhoudsopgave
Bedieningselementen 4
Voorzorgsmaatregelen. 6
Opmerkingen bij cassettes. 6
Aandeslag
Installingen wissen 7
Het frontpaneel verwijderen 7
Klok instellen. 8
Cassette Player
Een cassette beluisteren. 9
Diverse weergavestanden 9
Radio
Zenders automatisch opslaan
— Best Tuning Memory (BTM). 10
Opgeslagen zenders ontvangen 10
Alleen bepaalde zenders vastleggen .11
Afstemmen op een zender uit een lijst (alleen XR-CA600X/CA600V/CA600) - List-up 11
RDS
Overzicht van RDS 12
Automatisch herafstemmen voor optimale ontvangst — AF functie 12
Verkeersinformatie beluisteren — TA/TP 13
RDS-zenders instellen met AF- en TA-gegevens. 14
Afstemmen op zenders volgens programmatype PTY 14
Klok automatisch instellen CT 15
Andere functies
Gebruik van de bedieningsssatelliet 16
De geluidskarakteristieken wijzigen 17
Het geluid snel dempen 17
Instellingen voor het geluid en het display wijzigen -Menu 18
Geluids positie kiezen
— My Best sound Position (Mijn Beste Geluidspositie) (MBP) 19
De equalizer instellen 19
CD/MD-apparatuur
(los verkrijgbaar)
(allyen XR-CA600X/CA600V/CA600)
Een CD of MD afspelen 20
Weergave via het display 21
Tracks herhaaldelijk afspelen -Repeat Play. 21
Tracks afspelen in willekeurige volgorde Shuffle Play. 21
Een CD benoemen
— Disc Memo 22
Een disc zoeken op naam -List-up. 23
Bepaalde tracks kiezen voor weergave Bank 24
Aanvullende informatatie
Onderhoud 25
Het toestel verwijderen 26
Technische gegevens 27
Verhulpen van storingen 28
Foutweergave 29
Bedieningselementen
Raadpleeg de volgende paging's vooreer details.
TAPE : Tijdens cassetteweergave RADIO : Tijdens radio-ontvangst MENU : In de menustand CD/MD : Tijdens CD/MD-weergave (los verkrijgbaar) (alleen XR-CA600X/CA600V/CA600)

1 Volumeregelknop 13
2 MBP toets 19
3 SOURCE (aanschakelen/Tape/Radio/ CD*1/MD*1) toets 5,9,10,11,13,19, 20,22
4 Display
5 (uitwerp) toets (op de voorzijde van het toestel, awhile het frontpaneel) 9
6 Sensor voor kaartafstandsbediening
7 MENU toets 8,9,10,14,15,18,19,20, 22,24
3 DISPLAY/PTY (installing display/programmatype) toets*1 12, 15, 21, 22
9 SCROLL toets*1 21
10 OPEN toets 7,9
XR-CA600X/CA600V/CA600:
LIST toets
RADIO 11
CD/MD 22,23
XR-L500X/L500V/L500:
PTY/DSPL toets 12, 15
12 EQ7 toets 19
13 RESET toets (op de voorzijde van het toestel,chter het frontpaneel) 7
14 Cijfertoetsen
TAPE
16 SOUND toets 17, 19
17 AF toets 12, 14
18 TA toets 13, 14
19 OFF (Stop/uitschakelen) toets*2 5,7, 9,20
20 ENTER toets
RADIO 11, 14
8,9,10,15,18,19,20,22,23 24
CD/MD 22,24
1 XR-CA600X/CA600V/CA600 alleen
2 Opgelet bij het monteren in een auto waarvan het contactslot geen ACC (accessory) stand heeft
Druk OFF op het toestel gedurende 2 seconden in om de klokweergave uit te schakenen nadat de motor is afgezet.
Indien u dat nicht doet, worden de klokweergaveniet afgezet en raakt de batterijuitgeput.

21 XR-CA600X/CA600V/CA600:
DISC/PRESET toetsen (+ / - )
XR-L500X/L500V/L500:
PRESET toetsen (+ / - )
RADIO 10,11,15
MENU 8,9,10,14,15,18,19,20,22
24
CD/MD 20, 22, 23
22 SEEK toetsen (- + )
TAPE 9
RADIO 10, 11, 13
MENU 8,9,15,17,18,19,20,24
CD/MD 20,22,24
Kaartafstandsbediening RM-X114 (los verkrijgbaar)

De overeenkomstige toetsen op de kaartafstandsbediening bedieren bezelfde functies als die op het toestel.
1 DSPL toets
2 MENU toets
3 SOURCE toets
4 SEEK ( / ) toetsen
5 SOUND toets
6 OFF toets
7 VOL (- / +) toetsen
8 MODE toets
9 LIST toets*3
DISC*3/PRESET(↑/↓) toetsen
11 ENTER toets
12 ATT toets
*3 Niet beschikbaar voor XR-L500X/L500V/L500
Opmerking
Wanneer het toestel worden afgezet door OFF gedurende 2 seconden in te drukken, kan het Niet worden bediend met de kaartafstandsbediening tenzij (SOURCE) op het toestel worden ingedrukt of er eerst een cassette worden ingebracht om het toestel te activeren.
Tip
Zie "De lithiumbatterij verrangen" voor details omtrent het verrangen van de batterijen (pageina 25).
Voorzorgsmaatregelen
- Wannerew uw auto in de volle zon geparkeerd stond, moet u eerst het toestel lately afkoelen alvorens het in gebruik te nemen.
- Controller eerst de aansluitingen wonneer het toestel Niet functioneert. Controller de zekering wonneer alles in orde is.
- Wanner een systeem met twee luidsprekers Niet functioneert, zet dan de faderregelaar in het midden.
- Wonneer een cassette gedurende langeijd worden afgespeeld, kan ze worden opgewärmd door de ingebouwde versterker. Dat is normalen duidt Niet op een defect.
Met alle vragen of problemen met betrekking tot dit toestel die nicht aan bod komen in deze gebruiksaanwijzing=kunt u steeds terecht bij uw Sony handelaar.
Behoud van een optimale geluidskwaliteit
Let op dat u geen drankjes op het toestel of cassettes morst.

Opmerkingen bij cassettes
Zorg voor cassettes
- Raak de cassetteband Niet aan om te voorkomen dat vuil of stof op de koppen terechtkomt.
- Hou cassettes uit de buurt van apparatuur met ingebouwde magneten, Zoals luidsprekers en versterkers om te voorkomen dat opnames worden gewist of verrormd.
- Stel cassettes nicht bloot aan directe zonnestraling, extreme koude noch vocht.
- Een slappe band kan in het toestel verstrikt raken. Draaiaarom de cassetteband strak met een potlood of dergelijk alvorens hem in het toestel teplaatsen.

- Vervormde cassettes en loszittende labels können problemen geben bij het inbrengen of uitwerpen van cassettes. Loszittende labels verwijderen of verrangen.

Tijdens de weergave van een cassette kan het geluid verrormen. De cassettekop要去 worden gereinigd om de 50 gebruiksuren.
Het gebruik van cassettes met een speelduur van meer dan 90 minutes is af teraden, behalte voor langdurige ononderbroken weergave.
Dergelijkce cassetteband is heel dun en rekt makkelijk.
Door frequent afspelen en stoppen kan deze band verstrekt raken in het loopwerk.


Aandeslag
Installingen wissen
Voor u het toestel voor het eerst in gebruik neemt of na het verrangen van de autobatterij, dient u de instellenen van het toestel te wissen.
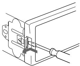
Verwijder het frontpaneel en druk met een puntig voorwerp zoals bijvoorbeeld een balpen op de RESET knop.

Opmerking
Door op de RESET knop te drukken, worden de kloinstelling en bepaalde geheugenfuncties gewist.
Het frontpaneel verwijderen
Het frontpaneel van dit toestel kan worden verwijderd ter beveiliging gegen diefstal.
Waarschuwingstoon
Wonneer u het contact in de stand OFF zet zichonder het Voorpaneel te verwijderen, werklijk de waarschuwingstoon gedurende enkele seconden.
Wanner u een los verkrijgbare versterker aansluit en de ingebouwde versterker Niet gebruikt, worden de pieptoon uitgeschakeld.
1 Druk op OFF\*.
Cassetteweergave of radio-ontvangst stopt (sleutelverlichting en display blijven aan).
- Indien uw auto Niet is voorzien van een contactslot met ACC stand, moet u het toestel afzetten door OFF 2 seconden lang in te drukken om te voorkomen dat de batterijuitgeput raakt.
2 Druk op (OPEN), schuif het frontpaneel maar rechts en trek voorzichtig aan de linkerkant van het frontpaneel.

Opmerkingen
- Als u het frontpaneel losmaakt terwijl het toestel nog aan staat, worden het automatisch uitgeschakeld om te voorkomen dat de luidsprekers worden beschadigd.
- Druk Niet te hard op het frontpaneel en het display.
- Stel het frontpaneel Niet bloot aan hitte/hoge temperaturen of vocht. Laat het Niet awhile in een gesparkeerde auto of op het dashboard/de hoedenplank.
Tip
Neem het frontpaneel mee in het meegeleverde etui.
vervolg op volgende pagina
Het frontpaneel bevestigen
Plaats de opening A in het frontpaneel op de stift 8 op het toestel en drukervoigens Lichtjes op de linkerkant.

Opmerking
Plaats niets op de binnenkant van het frontpaneel.
Klok instellen
De digitale klok werkt met het 24-urensystem.
Voorbeeld: Stel de klok in op 10:08
1 Druk op (MENU) en verwolgens herhaaldelijk op een van beiden+zijden van (DISC/PRESET) of (PRESET) tot "CLOCK"verschijnt.
SET
CLOCK

ENTER
1 Druk op ENTER
De uren knipperen.
Druk op een van beiden zichden van
DISC/PRESET of PRESET om de uren in te stellen.
Druk op de (+) ziche van SEEK
De minutes knipperen.
Druk op een van beiden zichden van
DISC/PRESET of PRESET om de minutes in te stellen.
2 Druk op ENTER.
140
De klok begint te lopen. Na het instellen van de klok keert het display terug maar de normale weergavestand.
Tips
- U kurz de klok automatisch instellen met de RDS functie (pagea 15).
- Als D.INFO op ON staat, worden dearendigt weergegeven (pagina 18).
Cassette Player
Een cassette beluisteren
1 Druk op (OPEN) en breng een cassette in.
Het afsplen begint automatisch.

2 Sluit het frontpaneel.
Indien er al een cassette in het toestel zit, drukt u herhaaldelijk op SOURCE) tot "FORWARD" of "REVERSE" verschijnt om de weergave te starten.
FORWARD: de kant die bovenaan zit worden afgespeeld.
REVERSE: de kant die onderaan zit worden afgespeeld.
| Om | Druk op |
| De cassetteweergave-richting te wijzigen | MODE (▲▶) |
| De weergave te stoppen | OFF |
| De cassette uit te werpen | OPEN en verwolgens op ▲ |
| Tracks over te slaan - Automatic Music Sensor | SEEK (▲/▲▶) [eenmaal voor elke track] |
| Snel vooruit/chteruit te spoelen - Manual Search | SEEK (▲/▲▶) [tot gewenst punt] |
Opmerking
De AMS functie werkt eventueel nicht wanner:
- er minder dan 4 seconden hijd is:tussen tracks.
- er ruis is tussen tracks.
- er lange stukken met laag volume of stilte zich.
Diverse weergavestanden
U kunt een cassette afspelen in verschlende standen:
- METAL voor weergave van een metal of CrO_2 cassette.
- BL.SKP (Blank Skip) slaat blanco's van meer dan 8 seconden automatisch over.
- ATA (Automatic Tuner Activation) schakelt de tuner automatisch aan bij snel spoelen.
1 Druktijdens de cassetteergave op (MENU).
2 Druk herhaaldelijk op een van beiden杞den van DISC/PRESET of PRESET tot het gewenste item verschijnt.
3 Druk op de (+) zichde van (SEEK) om "ON" te kiezen.
Voorbeeld: ATA stand

De weergave start.
4 Druk op ENTER
Kies "OFF" in stap 3 omtering te keren maar normale weergave.
Tracks herhaaldelijk afspelen
— Repeat Play
Druktijdens de weergave herhaaldelijk op ③ (REP) tot "REP-ON" verschijnt in het display.
Kies "REP-OFF" omtering te keren maar normale weergave.
Tip
Druktijdens herhaalde weergave op MODE). "REP" verdwijnt van het display en herhaalde weergave stopt.
Radio
Er können maximum 6 zenders per band (FM1, FM2, FM3, MW (MG) en LW (LG)) worden opgeslagen.
Opgelet
Maik bij het afstemmenijdens het rijden gebruik van Best Tuning Memory om ongevallen te vermijden.
Zenders automatisch opslaan
Deze functie selecteert de zenders met de sterkste signalen in de gekozen golfband en slaat ze op in volgorde van frequentie.
1 Druk herhaaldelijk op SOURCE om de radio te kiezen.
2 Druk herhaaldelijk op MODE om de golfband te kiezen.
3 Druk op MENU en verwolgens herhaaldelijk op een van beiden zichden van DISC/PRESET of PRESET tot "BTM" verschijnt.
4 Druk op ENTER.
Er werkklassen een pieptoon wonneer de instelling is opgeslagen.
Opmerkingen
- Indien er slechts enkele zenders können worden ontvangen wegens te zwakke signalen, za voor een aantal Voorkeuzetoetsen de vroegere instelling behouden bijlven.
- Wanner een voorkeuzezender in het display worden weergegeven, worden zenders opgeslagen vanaf deze voorkeuzezender.
Opgeslagen zenders ontvangen
1 Druk herhaaldelijk op (SOURCE) om de radio te kiezen.
2 Druk herhaaldelijk op MODE om de golfband te kiezen.
3 Druk op de cijfertoets (① tot ⑥) waaronder de gewenste zender is opgeslagen.
Tip
Druk op een van beiden zijden van (DISC/PRESET) or (PRESET) om de zenders te ontvangen in de volgorde waarin ze in het geheugen zijn opgeslagen (Preset Search functie).
Indien u Niet=kunt afstemmen op een voorkeuzender
Druk op een van beiden zichden van (SEEK) om de zender te zoeken (automatisch afstemmen).
Het zoeken stocht van zodra een zender worden ontvangen. Herhaal dit tot de gewenste zender worden ontvangen.
Tips
- Indien automatisch afstemmen te vaak stopt, zet dan Local Seek aan om het zoeken te beperken tot zenders met sterke signalen (zie "Instelingen voor het geluid en het display wijzigen" op page 18).
- Als u de frequentie kent van de zender die u wilt beluiisteren, hou dan een van beiden zichden van (SEEK) ingedrukt tot de frequentie ongeveer is bereikt en druk dan herhaaldelijk op (SEEK) om nauwkeurig af te stemmen op de gewenste frequentie (handmatig afstemmen).
Bij slechte FM stereo-ontvangst
Kies mono ontvangst.
(zie "Instellingen voor het geluid en het display wijzigigen" op pagina 18). Het geluid verbeternt maar is mono ("ST" verwijnt).
Alleen bepaalde zenders vastleggen
U kunt zenders handmatig opslaan onder een bepaalde cijfertoets.
1 Druk herhaaldelijk op (SOURCE) om de radio te kiezen.
2 Druk herhaaldelijk op MODE om de golfband te kiezen.
3 Druk op een van de zijden van (SEEK) om af te stemmen op de zender die u wilt opslaan.
4 Hou de gewenste cijfertoets (① tot ⑥) 2 seconden lang ingedrukt tot "MEM" verschijnt.
De cijfertoetsindicatie verschijnt in het display.
Opmerking
Alsopnieuweenzenderopslaatondereenzelfdevoorkeuzetoets,worddeeerderopgeslagenzendergewist.
Afstemmen op een zender uitem een lijst (alleen XR-CA600X/CA600V/ CA600)
List-up
1 Druktijdens radio-ontvangst even op (LIST).
De frequentie of de naam van de zender waarop momenteel is afgestemd, knippert.

2 Druk herhaaldelijk op een van beiden杞den van (DISC/PRESET) tot u de gewenste zender hebt gezonden.
Indien aan de gekozen zender geen naam is toegekend, verschijnt de_freqie in het display.
3 Druk op (ENTER) om af te stemmen op de gewenste zender.
Overzicht van RDS
FM-zenders met de Radio Data System (RDS) service sturen digitale informatie mee met het gewone radioprogrammasignaal. Bij ontvangst van een RDS zender verschijnt bijvoorbeeld het volgende.
Weergavemogelijkheden
Muziekbron
Klok
- Functie

| Om | Druk op |
| Displayweergave te wijzigen | DISPLAY/PTY of PTY/DSPL |
RDS-diensten
RDS biodt tal van interessante möglichkheden, zoals:
- Automatisch herafstemmen, wat vooral handig isijdens Lange ritten. — AF → pagina 12
- Ontvangen van verkeersinformatie, zichs tijdens het beluisteren van andere programme's/bronnen. — TA → pagina 13
Zenders kiezen volgens programmatype. PTY pagina 14 - Automatische kloinstelling. — CT → pagina 15
Opmerkingen
In bepaalde landen of gebieten着眼elijk nicht alle RDS-functions beschikbaar.
- RDS zal möglichnestiet goed werkken als het ontvangstsgnaal zwak is, of als de zender waarup u heb afgestemd geen RDS-gegevens meestuurt.
Automatisch herafstemmen voor optimale ontvangst
— AF functie
Met de Alternative Frequencies (AF) functie stemt de radio aktijd af op het krachtigste signal van de zender die u beluistert.

Frequencies worden automatisch gekozen.
1 Kies een FM-zender (pagea 10).
2 Druk herhaaldelijk op AF tot "AFON"verschijnt.
Het toestel begint te zoekenaar een alternatieve zender met een krachtiger signal in hetzelfde netwerk.
Als "NO AF" knippert, heeft de zender waarop is afgestemd geen alternatieve frequente.
Opmerking
Als er geen alternative zender is in het gebied waar u zich bevindt of u wilt geen andere zender zoeken,zet dan de AF functie at door "AF-OFF" te kiezen.
Voor zenders zicher alternatieve frequencies
Druk op een van beiden zichden van (SEEK) terwijl de zendernaam knippert (binnen de 8 seconden).
Het toestel begint te zoeken aan een andere frequentie met bezelfde PI (Programme Identification) gegevens ("PI SEEK" verschijnt).
Als het toestel Niet bezelfde PI gegevens kan vinden, keert hettering湃 de vorige frequente.
Een regionalaalprogramma beluisteren
AF functie aangeschakeld: de fabrieksinstelling van het toestel beperkt ontvangst tot een bepaalde regio, zodate u Niet=kunt overschakenaar een regionale zender met een krachtiger frequentie.
Wanner u het ontvangstgebied van het regionale programme verlaat of de AF functie volledig wilt benutten, kies dan "REG-OFF" in het MENU (pageina 18).
Opmerking
Deze functie werkt nicht in Groot-Brittanniè en bepaalde andere gebieden.
Local Link functie
(alleen Groot-Brittanniè)
Met deze functie=kunt u andere lokale zenders in het gebied kiezen, ook al+zijn ze Niet opgeslagen onder de cijfertoetsen.
1 Druk op een cijfertoets (① tot ⑥) waaronder een lokale zender is opgeslagen.
2 Druk binnen de 5 seconden nogmaals op de cijfertoets van de lokale zender.
3 Herhaal dit tot de gewenste zender worden ontvangen.
Verkeersinformationbeluisteren
— TA/TP
Met Traffic Announcement (TA) en Traffic Programme (TP) worden automatisch afgestemd op een FM-zender die verkeersinformatie uitzendt. Deze instelingen werken ongeacht het huidige FM programma/bron, CD/MD; na de verkeersinformatie schakelt het toestel wer over maar de oorspronkelijke bron.
Druk herhaaldelijk op tot "TA-ON" verschijnt.
Het toestel begint te zoekenaar zenders die verkeersinformatie uitzenden.
"TP" geeft de ontvangst van dergelijkke zenders aan en "TA" knippertijdens de ontvangst van verkeersinformatie. Het toestel blijft beschikbare TP zenders zoeken zolang "NO TP" is aangegeven.
Kies "TA-OFF" om alle verkeersinformatie te annuleren.
| Om | Druk op |
| Het huidige verkeersbericht te annuleren | TA |
Tip
U kunt de huidige informatie ook annuleren door op SOURCE of MODE te drukken.
Het volume van verkeersinformationie vooraf instellen
U kunt het volume van de verkeersinformatie vooraf instellen, zodate u geen enkel bericht mist.
1 Regel het volume met de volumeregelknop.
2 Hou gedurende 2 seconden ingedrukt.
"TA" verschijnt en de instelling worden opgeslagen.
Noodberichten ontvangen
Indien AF of TA aan is, schakelt het toestel over maar noodberachten bij het luisteren maar een FM zender, een cassette of optionele CD/MD.
RDS-zenders instellen met AF- en TA-gegevens
Wanneer u RDS-zenders voorinstelt, slaat het toestel de AF/TA-instelling (aan/uit) en de freiagentie van elke zender op. U(Int, TA of beide)oor elke zender afzonderlijk of voor alle voorinstelzenders samen bepalen. Wanneer u zenders voorinstelt met "AFON", slaat het toestel automatisch zenders met het krachtigste radiosignaal op.
Alle voorkeuzegers opdezelfdewijze instellen
1 Kies een FM-band (pagea 10).
2 Druk op AF en/of TA om "AF-ON" en/of "TA-ON" te kiezen. Merk op dat wonneer u "AF-OFF" of "TA-OFF" kiest, zowel RDS- als nicht-RDS-zenders worden opgeslagen.
3 Druk op MENU en verwolgens herhaaldelijk op een van beiden zichden van DISC/PRESET of PRESET tot "BTM" verschijnt.
4 Druk op ENTER tot "BTM" knippert.
Voor elke voorkeuzezender een andere instelling verrichten
1 Kies een FM-band en stem af op degewenste zender (pagina 11).
2 Druk op AF en/of TA om "AF-ON" en/of "TA-ON" te kiezen.
3 Druk op de gewenste cijfertoets (① tot ⑥) tot “MEM” verschijnt.
Herhaal vanaf stap 1 om andere zenders op te slaan.
Afstemmen op zenders volgens programmatype
—PTY
U kunt afstemmen op een zender door het soortprogramma te kiezen dat u wilt beluisteren.
| Programmatypes | Display |
| Nieuws | NEWS |
| Actuel | AFFAIRS |
| Informatie | INFO |
| Sport | SPORT |
| Educatie | EDUCATE |
| Drama | DRAMA |
| Cultuur | CULTURE |
| Wetenschap | SCIENCE |
| Diversen | VARIED |
| Popmuziek | POP M |
| Rockmuziek | ROCK M |
| Easy Listening | EASY M |
| Licht klassiek | LIGHT M |
| Klassiek | CLASSICS |
| Andere muziek | OTHER M |
| Weer | WEATHER |
| Finanziën | FINANCE |
| Kinderprogramma's | CHILDREN |
| Sociale zaken | SOCIAL A |
| Religie | RELIGION |
| Inkomende telefoontjes | PHONE IN |
| Reizen | TRAVEL |
| Vrijeijd | LEISURE |
| Jazz muziek | JAZZ |
| Country muziek | COUNTRY |
| Nationale muziek | NATION M |
| Oldies muziek | OLDIES |
| Folk muziek | FOLK M |
| Documentaire | DOCUMENT |
Opmerking
Ukest Ende functie Niet gebruiken in een aantal landen waar geen gevevens over PTY (programmatypekeuze) beschikbaar zijn.
1 Druk tijdens FM-ontvangst op DISPLAY/PTY of PTY/DSPL tot "PTY" versuschijnt.

De naam van het huidige programmatype verschijnt als de zender PTY gegevens meestuurt.
"---" versusRCT as de ontvangen zender geen RDS zender is of wanner er geen RDS gegevens worden ontvangen.
2 Druk herhaaldelijk op DISC/PRESET of PRESETtot het gewenste programmatype verschijnt.
De programmatypes verschijnen in de volgorde zoals aangegeven in de tabel.
"--------" verschijnt als het programmatype Niet is opgenomen in de RDS gegevens.
3 Druk op ENTER. Het toestel begint te zoeken aan een zender die het gekozen programmatype uitzendt.
Met de CT (Clock Time) gegevens van de RDSuitzending worden de klok automatisch ingesteld.
1 Druktijdens radio-ontvangst op MENU en verwolgens herhaaldelijk op een van beiden zijden van DISC/PRESET of PRESET tot "CT-OFF"verschijnt.

2 Druk herhaaldelijk op de (+) zichde van (SEEK) tot "CT-ON" verschijnt. De klok is ingesteld.
3 Druk op ENTER omtering te keren\
aar de normale indicatie.
Kies "CT-OFF" in stap 2 om de CT functie te annuleren.
Opmerkingen
- Het is möglichd dat de CT functie Niet werkt, ook al worden er wel een RDS-zender ontvangen.
- Er kan een verschil bestaanCUSSENtijd van de CT-functione en de werkelijkke tijd.
Andere functies
U kunt het toestel (en los verkrijgbare CD/MD-appearatuur ^*1 ) ook bedieren met een bedieningssatelliet (los verkrijgbaar).
Gebruik van de bedieningssatelliet
Bevestig eerst het juiste label afhankelijk van de manier waarop u de bedieningssatelliet wilt monteren.
De bedieningssatelliet werkt met knoppen en/of draairegelaars.



Knoppen indrukken
Draai aan de VOL regelaar om het volume te regelen.
| Druk op | Om |
| SOURCE | Van bron te veranderen (radio/CD*2/MD*2/cassette) |
| MODE | Van bediening te veranderen (radioband/CD unit*2/MD unit*2/cassetteweergaverichting) |
| ATT | Het geluid te dempen |
| OFF*3 | De weergave of radio-ontvangst te stoppen |
| SOUND | Het guluidsmenu in te stellen |
| DSPL | Het weergave-item te wijzigien |
1 alleen XR-CA600X/CA600V/CA600
2 Alleen indien de juiste les verkrijgbare apparatuur is aangesloten (alleen XR-CA600X/CA600V/ CA600).
*3 Indien het contactslot van uw wagen geen ACC (accessory) positie heeft, hou dan OFF 2 seconden lang ingedrukt om de klokindicatie uit te schakenen nadat u het contact heb afbezet.

Aan de bedieningssatelliet draaien
Draaien en loslaten om:
- Te Zoekenaar het begin van tracks op een cassette.
- Handmatig af te stemmen op een zender.
- Tracks op de disc over te slaan.*2
Draaien, vasthouden en loslaten om:
- De cassette snel vooruit te spoelen.
- Handmatig een zender te zoeken.
- Snel vooruit/achteruit maar een track te gaan.*2
Tip
Druk op (MODE) om de weergave te starten verwijl u een band snel vooruit ofchteruit spoelt.

Regelaar indrukken en verdraien
Draai aan de regelaar en druk hem tegelijkkertijd in om:
-Voorinstelzenders te ontvangen.
- De disc te verrangen*2.
De werkingsrichting wijdigen
De werkingsrichting van de bedieningselementen is af fabriek ingesteld zoals hieronder aangegeven.

Als u de bedieningssatelliet rechts op de stuurkolom moet monteren, kan de werkingsrichting worden omgekeerd.

Druk (SOUND) gedurende 2 seconden verwijl u VOL ingedrukt houdt.
Tip
U kunt ook de werkingsrichting van deze bedieningselementen met het toestel wijzigen (zie "Instelingen voor het geluid en het display wijzigen" op pagina 18).
De geluidskarakteristieken wijzigen
U kunt de hoge en lage tonen, balans en fader regelen.
U kunt de hoge en lage tonen voor elke bron afzonderlijk regelen.
1 Kies het item dat u wilt regelen door herhaaldelijk op (SOUND) te drukken. Bij elke druk op (SOUND), verandert het item als volgt: BAS (lage tonen) TRE (hoge tonen) BAL (links-rechts) FAD (voor-achter)
2 Regel het gekozen item door op een van beiden zichden van (SEEK) te drukken.
Wanner u gebruik maakt van de bedieningssatelliet, drukt u op SOUND en draait u aan VOL.
Opmerking
Regel het item binnen de 3 seconden nadat u het hebt gekozen.
Het geluid snel dempen
(met de bedieningssatelliet of kaartafstandsbediening)
Druk op ATT op de bedieningssatelliet of de kaartafstandsbediening.
"ATT-ON" verschijnt even in het display, gevolgd door "ATT".
Druk nogmaals op () om het vorige geluidsniveau te herstellen.
Tip
Wanner de interfacekabel van een autotelefoon is aangeslopen de atkabel, worden het volume automatisch verlaagd wanner een telefoongesprek binnenkomt (Telephone ATT-function).
Instellingen voor het geluid en het display wijzigen
—Menu
De volgende instellungen zijn möglichk:
SET (installing)
- CLOCK (pagea 8)
- CT (Clock Time) (pagea 15)
- BEEP — schakelt de pieptoon aan en uit.
- RM (bedieningssatelliet) — wijzigt de werkingsrichting van de bedieningssatelliet.
Kies "NORM" om de bedieningssatelliet te gebruiken met de fabrieksinstelling.
-Kies "REV" wanneer u de bedieningssatelliet rechts op de stuurkolom monteert.
DSPL(Display)
D. INFO (dubbele informatatie) — om klok en weergavestand samen wee te geven (ON).
- AMBER/GREEN — schakelt de verlichtingskleur:tussen amber en groen (alleen XR-CA600/L500).
- DIM (dimmer) — regelt de holderheid van het display (alleen XR-CA600V/L500V).
- Kies "ON" om het display te dimmen.
- Kies "OFF" om de dimmer te deactiveren.
M.DSPL (bewegingsdisplay) — om Motion Display op “1,” “2” en “OFF” tezetten.
-Kies "1" om decoratieve strepen in het display te latent verschijnen en demonstratie te activeren.
-Kies "2" om decoratieve strepen in het display te latent verschijnen en demonstratie te deactiveren.
-Kies "OFF" om Motion Display te deactiveren.
A.SCRL (Auto Scroll)*
-Kies "ON" om nomen van meer dan 8 tekens automatisch in het display te lately rotten. - Als Auto Scroll uit staat en de disc/track-naam worden gewijzigd, rolt de disc/track-naam Niet.
- Wonneer er geen CD of MD speelt, verschijnt dit nicht. (alleen XR-CA600X/CA600V/CA600)
SND (Sound)
- LOUD (Loudness) — voor een volle bass en treble, zichs bij laag volume. Lage en hoge tonen+zijn versterkt (alleen XR-CA600V/ CA600/L500V/L500).
P/M (weergavestand)
- LOCAL-ON/OFF (Local seek mode)
(pagina 10)
-Kies "ON" om alleen af te stemmen op krachtige zenders. - MONO-ON/OFF (mono stand) (pagea 10)
-Kies "ON' voor FM stereo ontvangst in mono. Kies "OFF' om terug te keren maar de normale stand. - REG-ON/OFF (regional) (page 13)
1 Druk op (MENU).
Om A.SCRL in te stellen, drukt u op MENU tijdens het afspelen van een CD/ MD.
2 Druk herhaaldelijk op een van beiden zichden van (DISC/PRESET) of (PRESET) tot de gewenste stand verschijnt.
3 Druk op de (+) zichde van (SEEK) om de gewenste instelling te kiezen (voorbeeld: ON of OFF).
4 Druk op ENTER.
Na het instellen keert het displaytering maar de normale weergavestand.
Opmerking
Het getoonde item hangt af van de bron.
Tip
U kunt makkelijk omschakelenussen categorieen ("SET," "DSPL," "SND," "P/M," en "EDIT") door een van beide zijden van (DISC/PRESET) of PRESET gedurende 2 seconden in te drukken.
Geluidspositiekiezen
My Best sound Position (Mijn Beste Geluidspositie) (MBP)
Wanner u zicher passagiers rijdt,kest u met "Mijn Beste Geluidspositie" genieten van de ideale geluidsomgeving.
"Mijn Beste Geluidspositie" heeft twee voorinstellenen met een bepaalde balans- en faderregeling. U(Int)kmt makkelijk kiezen met de MBP-toets.
| Display | Balansniveau | Faderniveau | ||
| Rechts | Links | Voor | Achter | |
| MBP-A | -4dB | 0 | 0 | -4dB |
| MBP-B | 0 | -4dB | 0 | -4dB |
| MBP-OFF | 0 | 0 | 0 | 0 |
Druk herhaaldelijk op (MBP) voor degewenste luisterpositie.
De "Mijn Beste Geluidspositie" stand verschijnt in volgorde van de tabel in het display.

Het display keert na een secondetering maar de normale weergavestand.
Het niveau van balans en fader kan nauwkeuriger worden geregeld met de (SOUND) knop (zie “De geluidskarakteristieken wijzigen” op pagina 17).
Opmerkingen
- Wanneer BAL (balans) of FAD (fader) onder "De geluidskarakteriesteken wijzigen" (pageina 17) worden gewijzigd, keert de MBP instelling terug maar OFF.
- Met MBP op OFF, worden de BAL en FAD instelling geactiveerd.
De equalizer instellen
U kunt een equalizercurve kiezen voor zeven soorten muziek (XPLOD, VOCAL, CLUB, JAZZ, NEW AGE, ROCK, CUSTOM en OFF (equalizer OFF)).
Frequentie en niveau können worden geregeld en opgeslagen.
Equalizercurve kiezen
1 Druk op (SOURCE) om een bron te kiezen (radio, CD, MD of cassette).
2 Druk herhaaldelijk op 7 tot de gewenste equalizercurve verschijnt. Bij elke druk op 7 , verandert het item.

Kies "OFF" om het equalizereffect te annuleren. Het display keert na 3 seconden terug maar de normale weergavestand.
De equalizercurve regelen
1 Druk op (MENU).
2 Druk herhaaldelijk op een van beiden zichden van (DISC/PRESET) of (PRESET) tot "EQ7 TUNE"verschijnt, en druk verwolgens op (ENTER).
3 Druk op een van beiden zijden van (SEEK) om de gewenste equalizer curve te kiezen en druk verwolgens op (ENTER). Bij elke druk op (SEEK), verandert het item.
vervolg op volgende pagina
4 Kies frequenta en niveau.
1 Druk op een van beiden zichden van (SEEK) om de gewenste freiagentie te kiezen. Bij elke druk op (SEEK), verandert de freiagentie.
62 (Hz) 157 (Hz) 396 (Hz) 1k (Hz) 2.5k (Hz) 6.3k (Hz) 16k (Hz)
Druk op een van beiden zichden van DISC/PRESET of PRESET om het gewenste volume in te stellen. Het volume is in stappen van 1 dB regelbaar van -10dB tot +10dB

Om de af fabriek ingestelde equalizercurve te herstellen, houdt u ENTER 2 seconden ingedrukt.
5 Druk tweemaal op (MENU).
Na het instellen van de geluidseffecten, keert het displayteringaar de normale weergavestand.
CD/MD-apparatuur (los verkrijgbaar) (aileen XR-CA600X/CA600V/ CA600)
Met dit toestel kan externe CD/MD-apparatuur worden bediend.
Wanner u los verkrijgbare CD-apparatuur aansluit met CD TEXT en custom file functie, verschijnt de CD TEXT informatie in het display wanner u een CD TEXT disc aftspeelt.
Een CD of MD afspelen
1 Druk herhaaldelijk op SOURCE om "CD" of "MD" te kiezen.
2 Druk herhaaldelijk op MODE) tot het gewenste toestel verschijnt. CD/MD-weergave start.
| Om | Druk op |
| De weergave te stoppen | OFF |
| Discs over te slaan | DISC/PRESET (+/-) |
| -Disc-keuze | |
| Tracks over te slaan | SEEK (↓/▶) [eenmaal voor elke track] |
| -Automatic Music Sensor | |
| Snel vooruit/chteruijt te spoelen | SEEK (↓/▶) [tot gewenst punt] |
| -Manual Search |
Weergave via het display
Bij het veranderen van disc/track verschijt een geregistreeerde titel*1 van deijke disc/track automatisch (als de Auto Scroll functie "ON" staat, rollen namen van meer dan 8 tekens in het display (pagea 18)).

| Om | Druk op |
| De weergave via het display te wijzigen | DISPLAY/PTY |
| Het display lately rotten | SCROLL |
1 "NO NAME" betekent dat er geen Disc Memo (pagea 22) of geregistreerde naam kan worden weergegeven.
2 Alleen voor CD TEXT discs met de artiestennaam.
Opmerkingen
- Sommige tekens können nicht worden getoond.
- Bij somige CD TEXT discs met zeer veel tekens kan de informatatie nicht rollen.
- Dit toestel kan de artiestennaam voor elke track van een CD TEXT disc Niet weergeven.
Tip
Als Auto Scroll OFF staat en de disc/track-naam worden gewijzigd, rolt de disc/track-naam Niet.
Tracks herhaaldelijk afspelen
— Repeat Play
U kunt kiezen UIT:
- REP-1 — om een track te herhalen.
- REP-2 — om een disc te herhalen.
Druktijdens de weergave herhaaldelijk op ③ (REP) tot de gewenste instelling verschijnt in het display.
Repeat Play start.
Kies "REP-OFF" om'erug te keren maar normale weergave.
Tracks afspelen in willekeurige volgorde
Shuffle Play
U kunt kiezen uit:
- SHUF-1 — om de tracks op de huidige disc in willekeurige volgorde af te spelen.
- SHUF-2 — om de tracks in de huidige los verkrijgbare CD (MD) apparatuur in willekeurige volgorde af te spelen.
-
SHUF-ALL* — om alle tracks in alle aangesloten CD (MD) apparatuur in willekeurige volgorde af te spelen.
-
Alleen beschikbaar wanseer twee ofmeer los verkriijgbare CD/MD-apparaten zich aangesloten.
Druktijdens de weergave herhaaldelijk op ⑥ (SHUF) tot de gewenste instelling verschijnt in het display.
Shuffle Play start.
Kies "SHUF-OFF" om谈起 te keren maar normale weergave.
Opmerking
"SHUF-ALL" werkt nicht met een CD- en MD-speler samen.
Een CD benoemen
—Disc Memo (Voor CD-apparatuur met CUSTOM FILE functie)
U aunt elke disc zelf benoemen (Disc Memo). Een disc-naam kan uit maximum 8 tekens bestaan. Een benoemde CD kunt u zoeken op naam (pagea 23).
1 Start de weergave van de disc die u wilt benoemen.
2 Druk op (MENU) en verwolgens herhaaldelijk op een van beiden杞den van (DISC/PRESET) tot “NAMEEDIT” verschijnt.
3 Druk op ENTER.

Het toestel herhaalt de disc tijdens de benoemingsprocedure.
4 Voer de tekens in.
Druk herhaaldelijk op de (+) zijde van DISC/PRESET om het gewenste teken te kiezen.
$$ \begin{array}{l} \mathsf {A} \to \mathsf {B} \to \mathsf {C} \dots \to 0 \to 1 \to 2 \dots \to + \to \ - \to * \dots \to_ {-} ^ {* 2} \to \mathsf {A} \end{array} $$
1 Om de volgorde om te keren, drukt u op de (-) zijde van (DISC/PRESET).
2 (blanco spatie)
Druk op de (+) zichde van (SEEK)\ nadat u het gewenste teken hebts\ gevonden.

Wanner u op de (-) zijde van (SEEK) drukt, kurz u weer maar links gaan.
Herhaal stappen 1 en 2 om de volledige naam in te voeren.
5 Druk op ENTER om'erug te keren\ aar normale CD-weergave.
Tips
- Overschrijf of voer “_” in om een naam te corrigeren of te wissen.
- Een CD kan nog op een andere manier worden benoemand: Druk (LIST) gedurrende 2 seconden in in plaatsvan stap 2 en 3 te doen. U kunt de handeling ookbeeindigen doore (LIST) gedurrende 2 seconden in te drukken in plaatsvan stap 5.
- U kunt CD's benoemen met een toestel zonder CUSTOM FILE (gebruikersbestand) functie indien dat toestel is aangesloten samen met CD-aparatuur die wel met deze functie is uitgerust. De Disc Memo wird opgeslagen in het geheugen van de CD-aparatuur met CUSTOM FILE functie.
Opmerking
REP-1/willekeurige weergave worden onderbroken tot Name Edit is voltooid.
Disc Memo bekijken
Disc Memo—heeft bij weergave via het display alsijd voorrang op originele CD TEXT informatie.
| Om | Druk op |
| Informatie te bekijken | DISPLAY/PTY tijdens het afspelen van een CD/CD TEXT disc |
Tip
Zie pagina 21 voor meer informatie over andere weergavemogelijkheden.
Disc Memo wissen
1 Druk herhaaldelijk op SOURCE om "CD" te kiezen.
2 Druk herhaaldelijk op MODE om de CD-apparatuur te kiezen waar in de Disc Memo is opgeslagen.
3 Druk op (MENU) en verwolgens herhaaldelijk op een van beiden+zijden van (DISC/PRESET) tot "NAME DEL" verschijnt.
4 Druk op ENTER.
De opgeslagen namen verschijnen in volgorde vanaf de eerst ingevoerde.
5 Druk herhaaldelijk op een van beiden杞den van (DISC/PRESET) om de disc-naam te kiezen die u wilt worden.
De opgeslagen namen verschijnen vanaf de eerst ingevoerde.
6 Hou ENTER gesturende 2 seconden ingedrukt.
De naam worden gewist.
Herhaal stap 5 en 6 om andere name tewissen.
7 Druk tweeemaal op (MENU).
Het toestel keert'erug maar normale CDweergave.
Opmerkingen
- Wonneer de Disc Memo voor een CD TEXT disc worden gewist, verschijt de originele CD TEXT informatie.
- Indien u de Disc Memo die u wilt wissen nicht vindt, probeer dan een ander CD-apparaat te kiezen in stap 2.
Eendisc Zoeken op naam
List-up (Voor CD-apparatuur met CD TEXT/ CUSTOM FILE functie of MD-apparatuur)
U kunt deze functie gebruiken voor discs die u zichl heb benoemd* of voor CD TEXT discs2.
1 Een zichl benoemde disc zoeken: wanner u zichl een CD (pagina 22) of MD benoemt.
2 Discs Zoeken aan de hand van de CD TEXT informatie: bij het afspelen van een CD TEXT disc met CD-apparatuur met CD TEXT functie.
1 Druk op (LIST).
De naam die aan de huidige disc is toegekend, verschijnt in het display.

2 Druk herhaaldelijk op een van beiden杞den van (DISC/PRESET) tot u de gewenste disc hebt gezonden.
3 Druk op ENTER om de disc af te spelen.
Opmerking
Sommige letters können nicht worden getoond (uitgezonderd: Disc Memo).
Bepaalde tracks kiezen voor weergave
Bank (Voor CD-apparatuur met CUSTOM FILE functie)
Wanner u een disc benoemt, kurz u bepaalde tracks laden overslaan of afspelen.
1 Start de weergave van de disc die u wilt benoemen.
2 Druk op (MENU) en verwolgens herhaaldelijk op een van beiden zichden van (DISC/PRESET) tot “BANK SEL” verschijnt.
3 Druk op ENTER.

4 Tracks benoemen.
Druk herhaaldelijk op een van beiden zichden van (SEEK) om de track te kiezen die u wilt benoemen.
Druk herhaaldelijk op ENTER om "PLAY" of "SKIP" te kiezen.
5 Herhaal stap 4 om "PLAY" of "SKIP" in te stellen voor alle tracks.
6 Druk tweeemaal op (MENU).
Het toestel keert'erug maar normale CDweergave.
Opmerkingen
- "PLAY" en "SKIP" können worden ingesteld voor maximum 24 tracks.
"SKIP" kan nicht worden ingesteld voor alle tracks op een CD.
Alleen bepaalde tracks afspelen
U kunt kiezen UIT:
- "BANK-ON" — om tracks af te spelen met de instelling "PLAY".
"BANK-INV" (Inverse) — om tracks af te spelen met de instilling "SKIP".
1 Drukijdens de weergave op MENU enervoigens herhaaldelijk op een van beide zichden van DISC/PRESET tot "BANK-ON", "BANK-INV" of "BANK-OFF"verschijnt.
2 Druk herhaaldelijk op de (+) zichde van (SEEK) tot de gewenste instelling verschijnt.

3 Druk op ENTER
De weergave start vanaf de track die volgt op de huidige.
Kies "BANK-OFF" in stap 2 omtering te keren\ aar normale weergave.
Aanvullende informatatie
Onderhoud
Zekeringenvervangen
Vervang een zekering algijd door een identiek exemplaar. Als de zekering doorbrandt, contrôleer dan de voedingsansluiting en verrang de zekering. Als de zekering verrolgens nogmaals doorbrandt, kan er spreke zichen van een defect in de spelere. Raadpleeg in dat geval de dichtstbijzijnde Sony dealer.

Opgelet
Gebruik nooit een zekering die zwaarder is dan de standardzekering van het toestel odomat dit hierdoor beschadigd kan raken.
Aansluitingen schoonmaken
De werkung van het toestel kan worden verstoord als de aansluitingen:tussen toestel en frontpaneel nicht proper zijn. Om dit te voorkomen, maakt u het frontpaneel (pagina 7) los en reinigt u de aansluitingen met een in alcohol gedrenkt wattenstaafje. Gebruik hierbij Niet teveel kracht. Hierdoor kunden de aansluitingen immers worden beschadigd.

Hoofdtoestel

Achterkant frontpaneel
Opmerkingen
Voor alle veiligheidClient u de motor af te zetten en de sleutel uit het contactslot te halen alvorens de aansluitingen te reinigen.
- Raak de aansluitingen nooit rechtstreeks aan met de vingers of een metalen voorwerp.
De lithiumbatterij verrangen
In normale omstandigheden gaan de batterijen ongeveer 1aar mee. (Afhankelijk van de gebruiksomstandigheden kan de levensduur korter zich.) Wanner de batterij verzwakt, worden het bereik van de kaartafstandsbediening kleiner. Vervang de batterij door een neue CR2025 lithiumbatterij.



+ zijde omhoog
Opmerkingen bij de lithiumbatterij
- Hou de lithiumbatterij buiten het bereik van kinderen. Raadpleeg meteen een arts wanner een batterij worden ingeslikt.
- Wrijf de batterij schoon met een droge doek voor een goed contact.
- Hou bij hetplaatsen van de batterij rekening met de juiste polariteit.
- Hou de batterij Niet vast met een metalen tang om kortsluiting te voorkomen.
WAARSCHUWING
Bij oneigenlijk gebruik kan de batterij ontploffen.
Probeer Niet de batterij op te laden of te openen; werp ook een lege batterij nooit in het vuur.

Voor de Klanten in Nederland
Gooi de batterij Niet weg, maar lever hem in als KCA
Het toestel verwijderen
1 Verwijder het frontdeksel
Maak het frontpaneel los (pagea 7).
Druk met een platte schroevendraier op de clip in het frontdeksel.

Herhaal stap 2 voor de andere kant.
2 Verwijder het toestel
Duw de clip links op het toestel in met eenkleine schroevendraaier en trek dan de linkerkant van het toesteluit tot de vergrendeling vrijkomt.

Herhaal stap 1 voor de rechterkant.
Schuif het toesteluit+zijn houder.
Technische gegevens
Cassettespelergedeelte
Band 4-sporen 2-kanalen stereo
Snelheidsfluctuations 0.08% (WRMS)
Frequentiebereik
Signaal/ruis-afstand
Cassettetype
| TYPE II, IV | 61 dB |
| TYPE I | 58 dB |
Tunergedeelte
FM
Afstembereik 87,5-108,0 MHz
Antenne-aansluiting Aansluiting voor externe
Tussenfrequentie
Bruikbare gevoeligheid
Selectiviteit
Signaal/ruis-afstand
Harmonische verrorming bij 1kHz
0,6% (stereo),
0,3% (mono)
35 dB bij 1 kHz
30 - 15.000Hz
Scheiding
Frequentiebereik
MW(MG)/LW(LG)
Afstembereik MW:531-1.602kHz
LW:153-279kHz
Antenne-aansluiting Aansluiting voor externe antennene
Tussenfrequentie 10,7 MHz/450 kHz
Gevoeligheid
Versterkergedeelte
Uitgangen Luidsprekeruitgangen (sure seal)
Luidsprekerimpedantie 4-8 ohm
Maximum uitgangsvermogen
50W× 4 (bij 4 ohm)
Algemeen
| Uitgangen | Audio-uitgangen (achter)Relaissturing elektrischeantenneSturingsvermögensversterker |
| Ingangen | Sturing telefoondempingBUS bedieningsingang*BUS audioingang*Afstandsbedieningsingangoentenne-ingang |
| Toonregelingen | Bass ±8 dB bij 100 HzTreble ±8 dB bij 10 kHz |
| Loudness | 100 Hz +8 dB10 kHz +2 dB |
| Voeding | 12 V DC autobatterij(negatieve aarde) |
| Afmetingen | Ong. 178 × 50 × 176 mm(b/h/d) |
| Afmetingen | Ong. 182 × 53 × 161 mm(b/h/d) |
| Gewicht | Ong. 1,2 kg |
| Meegeleverde accessoires | Onderdelen voor installationen aansluitingen (1 set,behalve voedingskabel)Beschemhoes frontpaneel(1) |
| Los verkrijgbare accessoires | BedieningsssatelloitRM-X4SKaartafstandsbedieningRM-X114BUS-kabel (geleverd metRCA-kabel)RC-61 (1 m), RC-62 (2 m) |
| Los verkrijgbare apparatus | |
| CD-wisselaar (10 discs)CDX-848X, CDX-646MD-wisselaar (6 discs)MDX-65BronkeuzeschakelaarXA-C30 |
- alleen XR-CA600X/CA600V/CA600
Opmerking
Dit toestel kan nicht worden aangesloten op een digitale voorversterker of een equalizer.
Wijzigingen in ontwerp en technische gegevens voorbehonden zonder Voorafgaande kennisgeving.
Verhelpen van storingen
De onderstaande checklist kan u helpen bij het oplossen van problemen die zich met het toestel konnen voordoen.
Lees voor u de onderstaande checklist overloopt eerst de aanwijzingen voor aansluiting en gebruik.
Algemeen
Geen geluid.
- Draai de volumeregelaar rechtsom om het volume te regelen.
- Zet de ATT-functie af.
- Zet de faderregelaar in het midden voor een systeme met 2 luidsprekers.
De geheugeninhoud is gewist.
- De RESET knop werk ingedrukt. Sla opnieuw op in het geheugen.
- De voedingskabel of de accu werden losgekoppeld.
- De voedingskabel is nicht goed aangesloten.
Geen pieptoon.
De piepto n is afgezet (pagina 18).
Aanduidingen verdwijnen van/verschijnen nicht in het display.
- De klokweergave verdwijnt wanneer u OFF 2 seconden ingedrukt houdt.
Druk (OFF) nogmaals 2 seconden in om de klok te latent verschijnen. - Verwijder het frontpaneel en reinig de aansluitingen. Zie "Aansluitingen schoonmaken" (pageina 25) voor details.
Voorkeuzezenders enijd zijn gewist.
Zekering doorgebrand.
Maakt geluid met de contactsleutel op ON, ACC of OFF.
De kabels zijn nicht goed verbonden met de hulpvoedingsaansluiting van de auto.
Het toestel worden nicht van stroom voorzien.
- Controller de aansluiting. Controller de zekering wanner alles in orde is.
- De auto—heeft geen ACC stand. Druk op (SOURCE) (of plaatse een cassette) om het toestel te lately werken.
Het toestel worden constant van stroom voorzien.
De auto heeft geen ACC stand.
De elektrisch bediende antenne heeft geen relaisdoos.
Cassettweergave
Het geluid is verrormd.
De bandkop is vuil.
Reinig de kop met een in de handel verkrijgbare reinigingscassette van het droge type.
- Er is ruis tussen tracks.
- De blanco ruimte is te kort (minder dan 4 seconden).
- Een lange pauze of een laagfrequent/stil gedeelte worden beschouwd als een blanco ruimte.
Radio-ontvangst
Er kan nicht worden afgestemd op voorkeuzegers.
- Sla de juiste frequente op in het geheugen.
- Het ontvangstsignaal is te zwak.
Het geluid is gestoord.
- Sluit een elektrische antennebedieningskabel (blauw) of hulpvoedingskabel (rood) aan op de voedingskabel van de autoantenneversterker. (Alleen indien uw wagon is uitergerust met een FM/MW(MG)/LW(LG)-antenne in dechter-/zijrucht.)
- Controleer de aansluiting van de autoantenne.
- De auto-antenne schuift nicht uit. Controller de aansluiting van de voedingskabel van de auto-antenne.
- Controller de frequente.
Er kan nicht automatisch worden afgestemd op zenders.
- De lokale Zoekfunctie staat op "ON". Zet de lokale Zoekfunctie op "OFF" (pagina 18).
- Het ontvangstsignaal is te zwak.
→Stemhandmatigaf.
"ST" knippert in het display.
- Stem nauwkeurig af op de frequentie.
- Het ontvangstsignaal is te zwak. Schakel over maar mono-ontvangst (pagina 18).
Een stereo uitzending werkklinkt in mono.
Het toestel staat in de mono-ontvangststand.
Annuleer mono-ontvangst (pagea 18).
RDS
SEEK begint na enkele seconden weergave.
De zender is Niet van het TP-type of heeft een zwak signaal.
→Druk herhaaldelijk op of tot
"AF-OFF" of "TA-OFF" verschijnt.
Geen verkeersinformatie.
Schakel "TA" in.
- Ondanks TP zendt de zender geen verkeersinformatie UIT.
→Stem af op een andere zender.
PTY toont "---
- De huidige zender is geen RDS zender.
- Geen RDS gegevens ontvangen.
- De zender geeft het programmatype nicht door.
allyen XR-CA600X/CA600V/CA600
CD/MD-weergave
Het geluid verspringt.
(wanneer los verkrijgbare CD/MD-apparatuur is aangesloten)
Foutweergave
De volgende aanduidingen knipperen gedurende ongeveer 5 seconden en er werkblinkt een alarmsignaal.
NO MAG
Er zit geen disc-magazijn in de CD/MD-appearatuur.
→Plaats het magazijn in de CD/MD- apparatusuur.
NO DISC
Er zit geen disc in de CD/MD-apparatuur.
Plaats een disc in de CD/MD-apparatuur.
ERROR\*1
- Een CD is vuil of omgekeerd ingebracht.*2
Reinig de CD of breng hem juist in. - Een MD speelt nicht wegen een of ander problemem.*2
Plaats een andere MD. - Een CD/MD kan om de een of andere reden nicht worden afgespeeld.
Breng een andere CD/MD in.
BLANK*1
Er zijn geen tracks opgenomen op een MD.*2
Speel een MD af waarop tracks zich opgenomen.
RESET
De CD/MD-apparatuur werkt nicht om de een of andere reden.
Druk op de RESET toets op het toestel.
NOT READ
De klep van de MD-apparatuur is open of de MD's zich nicht juist ingebracht.
→Sluit de klep of breng de MD's juist in.
HI TEMP
De omgevingstemperatuur bedraagt meer dan 50^
Wacht tot de temperatuur onder 50^ is gedaald.
Indien deze oplossingen Niet helpen, raadpleeg dan de dichtstbijzijnde Sony dealer.
SimpelGids