XR-L500V - Radio SONY - Notice d'utilisation et mode d'emploi gratuit
Retrouvez gratuitement la notice de l'appareil XR-L500V SONY au format PDF.
| Type d'appareil | Autoradio cassette |
| Bandes radio | FM / MW / LW |
| Lecture cassette | Oui |
| Alimentation | 12 V DC (courant continu) |
| Compatibilité cassette | Standard |
| Affichage | Non précisé |
| Contrôle du volume | Manuel |
| Fonction recherche | Oui |
| Prise antenne | Standard |
| Dimensions | Non précisées |
| Poids | Non précisé |
| Installation | Tableau de bord voiture |
| Langues du manuel | GB, DE, FR, IT, NL |
| Année de fabrication | 2001 |
| Fonction mémoire | Non précisé |
FOIRE AUX QUESTIONS - XR-L500V SONY
Questions des utilisateurs sur XR-L500V SONY
0 question sur cet appareil. Repondez a celles que vous connaissez ou posez la votre.
Poser une nouvelle question sur cet appareil
Téléchargez la notice de votre Radio au format PDF gratuitement ! Retrouvez votre notice XR-L500V - SONY et reprennez votre appareil électronique en main. Sur cette page sont publiés tous les documents nécessaires à l'utilisation de votre appareil XR-L500V de la marque SONY.
MODE D'EMPLOI XR-L500V SONY
En ce qui concerne l'installation et les connexions, consulter le manuel d'installation/ raccordement fourni.
Nous vous remercions d'avoir fait l'acquisition de ce lecteur de cassettes Sony. Vous pourrez optimier les multiples fonctions de cet apparéil à l'aide des accessoires ci-dessous:
- Accessoires de commande en option
Satellite de commande RM-X4S
Mini-télécommande RM-X114
Modèles XR-CA600X/CA600V/CA600 uniquely
- Appareils CD/MD en option (changeurs et lecteurs)*1.
- Informations CD TEXT (affichées lorsqu'un disque CD TEXT*2 est écoute sur un lecteur CD en option raccordé disposant de la fonction CD TEXT).
1 Cet apparéil fonctionne uniquement avec des produits Sony.
2 Un disque CD TEXT est un CD audio contenant des informations telles que le nom du disque, le nom de l'artiste et le nom des pistes. Ces informations sont enregistrées sur le disque.
Table des matieres
Emplacement des commandes 4
Precautions 6
Remarques concernant les cassettes 6
Preparation
Réinitialisation de l'appareil 7
Dépose de la façade 8
Réglage de l'horloge 9
Lecteur de cassettes
Ecoute d'une cassette 9
Lecture d'une cassette avec différents modes 10
Radio
Mémorisation automatique des stations — Mémorisation des salariés émetteurs (BTM) 10
Réception de stations méorises 11
Mémorisation des stations souhaitées
uniquement 11
Syntonisation d'une station via une liste (modèles XR-CA600X/CA600V/CA600 uniquement)
— List-up 12
Fonctions RDS
Aperçu de la fonction RDS 12
Resyntonisation automatique pour une
meilleure reception Fonction AF. 13
Ecoute des messages de radioguidage — TA/TP 14
Présélection des stations RDS avec les réglages AF et TA. 14
Syntonisation d'une station en fonction du type d'émission
— PTY 15
Réglage automatique de l'hourne — CT 16
Autres fonctions
Utilisation du satellite de commande 16
Réglage des caractéristiques du son 18
Attenuation rapide du son 18
Modification des réglages du son et de l'affichage
— Menu 18
Selection de la position du son
— My Best sound Position (Meilleure position du son) (MBP). 19
Réglage de l'égaliseur 20
Lecteur CD/MD (en option) (modèles XR-CA600X/CA600V/ CA600 uniquement)
Lecture d'un CD ou d'un MD. 21
Rubriques d'affichage. 21
Lecture de pistes dans un ordre aléatoire — Lecture aléatoire 22
Identification d'un CD Fonction Disc Memo. 22
Localisation d'un disque par son nom -List-up. 24
Selection de pistes spécifiques pour la lecture — Bank 24
Informations complémentaires
Entretien 25
Démontage de l'appareil 26
Specifications 27
Dépannage 28
Affichage des erreurs 29
Emplacement des commandes
Pour plus de détails, reportez-vous aux pages indiquées.
TAPE
pendant la lecture d'une cassette
RADIO : pendant une réception radio
MENU
enmode menu
CD/MD
pendant une lecture CD/MD (en option) (modèles XR-CA600X/CA600V/CA600 uniquely)

1 Molette de contrôle du volume 14
2 Touche MBP 19
3 Touche SOURCE (Mise sous tension/ Cassette/Radio/CD*1/MD*1) 5,9,10, 11,14,20,21,23
4 Fenêtre d'affichage
5 Touche (eject) (située sur la partie avant de l'appareil, derrière la façade) 9
6 Récepteur pour la mini-télécommande
7 Touche MENU 9, 10, 14, 16, 19, 20, 22, 23, 24, 25
3 Touche DISPLAY/PTY (modification du mode d'affichage/type d'émission)*1 12, 15, 21, 23
9 Touche SCROLL*1 21
10 Touche OPEN 8,9
11 modèles XR-CA600X/CA600V/CA600: Touche LIST
RADIO 12
CD/MD 23,24
XR-L500X/L500V/L500:
12 Touche EQ7 20
13 Touche RESET (située sur la partie avant de l'appareil, derrière la façade) 7
14 Touches numériques
1 modèles XR-CA600X/CA600V/CA600 uniquely
2 Avertissement en cas d'installation de l'appareil dans une voiture dont le contact ne comporte pas de position ACC (Accessoires).
Après avoir coupé le moteur, n'oubliez pas d'appuyer sur OFF pendant 2 secondes pour désactiver l'affichage de l'horloge.
Dans le cas contraire, l'affichage n'est pas déactivé et cela risque de décharger la batterie.

21 modèles XR-CA600X/CA600V/CA600: Touches DISC/PRESET (+/-)
XR-L500X/L500V/L500:
Touches PRESET (+/-)
RADIO 10, 12, 15
Mini-télécommande RM-X114 (en option)

Les touches correspondantes de la mini-télécommande pilotent les mêmes fonctions que celles de l'appareil.
1 Touche DSPL
2 Touche MENU
3 Touche SOURCE
4 Touches SEEK ( / )
5 Touche SOUND
6 Touche OFF
7 Touches VOL (- / +)
8 Touche MODE
9 Touche LIST*3
10 Touches DISC*3/PRESET(↑/↓)
11 Touche ENTER
12 Touche ATT
*3 Non disponible pour les modèles XR-L500X/L500V/L500
Remarque
Si l'appareil est mis hors tension en appuyant sur OFF) pendant 2 secondes, il ne peut plus etre commande avec la telecommande a moins que la touche SOURCE de I'appareil ne soit enforcée ou qu'une cassette ne soit insereee pour activer I'appareil.
Conseil
Pour obtenir des informations détaillées sur la façon de replacer la pile, reportez-vous à "Remplacement de la pile au lithium" (page 26).
Précautions
- Si votre voiture est restée garée en plein soleil, laissez refroidir l'appareil avant de l'utiliser.
- Si I'appareil n'est pas alimenté, commencez par vérifier les raccordements. Si tout est en ordre, vérifie le fusible.
- Sieldom n'est émis par un système à deux haut-parleurs, réglez la commande de balance avant/arrête sur la position mediane.
- Lorsqu'une cassette est lue pendant une période prolongée, elle peut s'échauffer à cause de l'amplificateur de puissance intégré. Cependant, ceci n'est pas un signe de dysfonctionnement de l'appareil.
Si vous avez des questions ou des problèmes concernant le fonctionnement de cet apparéil, qui ne sont pas abordés dans ce manuel, consultez votre revendeur Sony le plus proche.
Pour conserver un son de haute qualité
Veillez à ne pas renverser de jus de fruit ou de boissons sucrees sur l'appareil ni sur les cassettes.

Remarques concernant les cassettes
Précautions à prendre
- Ne touchez pas la surface de la bande d'une cassette car des saletés ou des poussières pourrait ensuite encrasser les têtes de lecture.
Tenez les cassettes éloignées d'appareils contenant des aimants, comme les haut-parleurs et les amplificateurs, sinon la bande enregistrree peut être partiellement effacée ou des distorsions sonores peuvent se produit sur la bande enregistrree. - N'exposez pas les cassettes au rayonnement direct du soleil, à des températures extrémentement froides ou à l'humidité.
- Si la bande est détenue, la cassette peut rester coïncée dans l'appareil. Avant d'insérer la cassette, utilisez un crayon ou un objet similaire pour tourner l'enrouleur et retendre la bande.

- Des cassettes déformées et des étiquettes décollées peuvent cause des problèmes lors de l'insertion ou de l'éjection des cassettes. Retirez ou remplacez les étiquettes décollées.

- Le son peut être déformé lorsque vous écoutez la cassette. Les têtes du lecteur de cassette doivent être nettoyées toutes les 50 heures d'écoute.
L'utilisation de cassettes d'une durée supérieure à 90 minutes n'est pas recommandée, sauf pour une lecture continue de longue durée.
La bande utilise pour ces cassettes est très fine et se détend facilement.
En cas de lectures et d'arrêts repétés, ces cassettes risquent de s'emmêler dans le mécanisme de la platine cassette.



Preparation
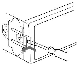
Réinitialisation de l'appareil
Avant la première mise en service de l'appareil ou après avoir remplaced la batterie de la voiture, vousdez réinitialiser l'appareil.
Retirez la façade et appuyez sur la touche RESET avec un objet pointu comme un stylo à bille.

Touche RESET
Remarque
Lorsque vous appuyez sur la touche RESET, l'heure et certaines fonctions mémorisées sont effacées.
Dépose de la façon
Vous pouvez-retirer la façade de cet appeareil pour le protégger contre le vol.
Avertisseur
Si vous mettez la clé de contact en position OFF sans 0ter la façade, l'alarme retentit pendant quelques secondes.
Si vous raccordez un amplificateur en option et que vous n'utilise pas l'amplificateur intégré, le bip sonore est désactisé.
1 Appuyez sur OFF\*.
La lecture de la cassette ou la réception radio s'arrête (l'éclairage des touches et l'affichage restent apparents).
- Si le contact de votre voiture ne possède pas de position ACC, assurez-vous que vous éteignez l'appareil en appuyant sur OFF pendant 2 secondes afin d'évitier que la batterie ne se décharge.
2 Appuyez sur , puis faites légèrement glisser la façade vers la droite et dégagez le côte gauche.

Remarques
- Si vous retirez la façade alors que l'appareil est toujours sous tension, l'alimentation est automatiquement coupée de manière à éviter une dépréciation des haut-parleurs.
- N'exercez pas de pression excessive sur la façade ni sur la fenêtre d'affichage.
- N'exposez pas la façade à la chaleur, à des températures élevées ou à l'humidité. Evitez de la laisser dans une voiture en stationnement, sur le tableau de bord ou la plage arrière.
Conseil
Lorsque vous emportez la façon, glissez-la dans l'étui fourni à cet effet.
Mise en place de la façon
Placez l'orifice A de la façade sur la broche B de I'appareil, puis poussez doucement la façade vers le côte gauche.

Remarque
Ne posez rien sur la surface interne de la façade.
Réglage de l'horloge
L'horloge à affichage numérique fonctionne suivant un cycle de 24 heures.
Exemple: pour régler l'horloge sur 10:08
1 Appuyez sur la touche (MENU), puis appuyez plusieurs fois sur l'un des cotés de (DISC/PRESET) ou de (PRESET) jusqu'à ce que l'indication "CLOCK" apparaisse.

1 Appuyez sur ENTER. L'indication des heures clignote.
2 Appuyez sur l'un des cots de DISC/PRESET ou de PRESET pour régler l'heure.
3 Appuyez sur le cote (+) de (SEEK). L'indication des minutes clignote.
4 Appuyez sur l'un des cots de DISC/PRESET ou de PRESET pour régler les minutes.
2 Appuyez sur ENTER.

L'horloge est activée. Une fois le réglage de l'horloge terminé, l'affichage revient en mode de lecture normal.
Conseils
- Vous pouvez régler l'horloge automatiquement au moyen de la fonction RDS (page 16).
- Lorsque le mode D.INFO est activé (ON), l'heure reste affichée en permanence (page 18).
Lecteur de cassettes
Ecoute d'une cassette
1 Appuyez sur la touche (OPEN), puis insérez une cassette. La lecture commence automatiquement.

2 Refermez la façade.
Si une cassette est déjà insérée, appuyez plusieurs fois sur SOURCE jusqu'à ce que l'indication "FORWARD" ou "REVERSE" apparaisse pour commencer la lecture.
FORWARD: la face supérieure est lue.
REVERSE: la face inférieure est lue.
| Pour | Appuyez sur |
| changer le sens de lecture de la cassette | MODE (▲▲) |
| interrompre la lecture | OFF |
| éjecter la cassette | OPEN puis▲ |
| sauter des pistes | SEEK (▲▼/▲■) |
| - Accès direct et rapide aux titres | [une fois pour chaque piste] |
| Activer l'avance rapide/le retour | SEEK (▲▼/▲■) [maintenir la touche enforcée jusqu'à l'endroit souhaité] |
| - Recherche manuelle |
Remarque
La fonction AMS peut ne pas fonctionner lorsque:
- l'espace blanc entre les pistes dure moins de 4 secondes.
- il y a du bruit entre les pistes.
- il y a de longues sections à faible volume ou silencieuses.
Lecture d'une cassette avec différents modes
Vous pouvez dire la cassette avec differents modes:
- Le mode METAL vous permet de dire une cassette métal ou CrO2.
- Le mode BL.SKP (Blank Skip) ignore les espaces blancs supérieurs à 8 secondes.
- Le mode ATA (Automatic Tuner Activation) met automatiquement le symponiseur sous tension lorsque la bande est rembobinée à vitesse rapide.
1 Pendant la de lecture de la cassette, appuyez sur la touche (MENU).
2 Appuyez plusieurs fois sur l'un des côtes de DISC/PRESET ou de PRESET jusqu'à ce que le mode souhaité apparaisse.
3 Appuyez sur le côté (+) de (SEEK) pour sélectionner "ON".
Example: mode ATA

Le mode de lecture commence.
4 Appuyez sur ENTER
Pour revenir en mode de lecture normal, selectionnez "OFF" à l'etape 3.
Lecture repétée de pistes
— Lecture repétée
En cours de lecture, appuyez plusieurs fois sur ③ (REP) jusqu'à ce que l'indication "REP-ON" apparaisse dans la fenêtre d'affichage.
Pour revenir en mode de lecture normal, selectionnez "REP-OFF".
Conseil
Pendant une lecture repétée, appuyez sur la touche MODE). L'indication "REP" disparait de l'affichage et le mode de répetition est annulé.
Radio
L'appareil peut mémoriser jusqu'à 6 stations pour chaque bande (FM1, FM2, FM3, MW et LW).
Attention
Pour symponiser des stations pendant que vous conduisez, nous vous conseillons d'utiliser la fonction de mémorisation des salariés émetteurs (Best Tuning Memory) de façon à éviter les accidents.
Mémorisation automatique des stations
— Mémorisation desassageurs émetteurs (BTM)
L'appareil sélectionne les stations émettant les signaux les plus puissants pour la bande sélectionnée et les mémorise selon l'ordre des fréquences.
1 Appuyez plusieurs fois sur SOURCE pour selectionner la radio.
2 Appuyez plusieurs fois sur MODE pour sélectionner la bande de fréquence.
3 Appuyez sur la touche MENU, puis appuyez plusieurs fois sur l'un des cotes de DISC/PRESET ou de PRESET jusqu'à ce que l'indication "BTM" apparaisse.
4 Appuyez sur ENTER. Un bip retentit lorsque le réglage est méorisé.
Remarques
- Si quelques stations seulement peuvent être capétées en raison de faibles signaux, certaines touches numériques conserveront leur réglage précédent.
- Si un nombre est indiqued dans la fenetre d'affichage, l'appareil commence la mémorsation des stations à partir de la station affichée.
Réception de stations mémorisées
1 Appuyez plusieurs fois sur SOURCE pour selectionner la radio.
2 Appuyez plusieurs fois sur MODE pour selectionner la bande.
3 Appuyez sur la touche numérique (1 à 6) sur laquelle la station souhaitation est mémorisée.
Conseil
Appuyez sur l'un des cots de DISC/PRESET ou de PRESET pour écouter les stations dans l'ordre où elles sont stockées dans la mémoire (Fonction Preset Search).
Si la syntonisation de la station présélectionnée ne fonctionne pas
Appuyez sur l'un des cots de (SEEK) pour rechercher la station (syntonisation automatique).
Le balayage s'arrête lorsqu l'appareil capte une station. Repetez l'opération jusqu'à ce que la station souhaitee soit captee.
Conseils
Si la symtonisation automatique s'arrête trop fréquement, activé la recherche locale pour limiter la recherche aux stations ayant les signaux les plus puissants (voir "Modification des réglages du son et de l'affiche" page 18).
- Si vous connaissiez la fréquence de la station que vous désirez écouter, appuyez et maintainez enforcé l'un des côtes de (SEEK) pour localiser la fréquence approximative, puis appuyez plusieurs fois sur (SEEK) pour trouver la fréquence souhaïée (syntonisation manuelle).
Si la réception FM stéreo est mauvaise
Selectionnez le mode de réception monaural.
(voir "Modification des réglages du son et de l'affichage" page 18). La qualité sonore est améliorée, mais le son est diffusé en mode monaural (l'indication "ST" disparait).
Mémorisation des stations souhaitées uniquement
Vous pouvez préselectionner manuelles le stations souhaitées sur n'importe qu'elle touche numérique.
1 Appuyez plusieurs fois sur SOURCE pour selectionner la radio.
2 Appuyez plusieurs fois sur MODE pour selectionner la bande.
3 Appuyez sur l'un des cots de (SEEK) pour symponiser la station que vous voulez memoriser.
4 Appuyez sur la touche numérique (① à ⑥) souhaïée pendant 2 secondes jusqu'à ce que l'indication "MEM" apparaisse.
L'indication de la touche numérique apparait dans la fenetre d'affichage.
Remarque
Si vous essayez de mémoriser une autre station sur la même touche, la station mémorisée précédemment est effacée.
Syntonisation d'une station via une liste (modèles XR-CA600X/ CA600V/CA600 uniquement)
List-up
1 Pendant la réception radio, appuyez brievement sur LIST.
La fréquence ou le nom attribué à la station que vous syntonisez clignote.

2 Appuyez plusieurs fois sur l'un des côtes de DISC/PRESET jusqu'à ce que vous trouvie la station souhaitée.
Si aucun nom n'est attribué à la station seLECTIONnée, la fréquence apparait dans la fenêtre d'affichage.
3 Appuyez sur ENTER pour symponiser la station souhaitee.
Fonctions RDS
Aperçu de la fonction RDS
Les stations FM disposant du système RDS (Radio Data System) émettent des informations numériques inaudibles en même temps que le signal normal de leurs émissions radiophoniques. Par exemple, l'une des informations suivantes s'affiche lors de la réception d'une station disposant de la fonction RDS.

| Pour | Appuyez sur |
| passer d'une rubrique d'affichage à une autre | DISPLAY/PTY ou PTY/DSPL |
Services RDS
Les données RDS vous proposent d'autres services, comme suit:
- La resyntonisation automatique d'une émission, très pratique pour les longs trajets. — AF → page 13
La réception des messages de radioguidage, même si vous écoutez une autre émission ou une autre source. — TA → page 14 - La sélection de stations selon le type d'émission diffusé. — PTY → page 15
- Le réglage automatique de l'horloge. — CT → page 16
Remarques
- Selon le pays ou la région où vous vous trouvez, toutes les fonctions RDS peuvent ne pas etre disponibles.
- La fonction RDS peut ne pas fonctionner correctement si le signal de retransmission est faible ou si la station symtonisée ne transmet pas de données RDS.
Resyntonisation automatique pour une meilleure réception
— Fonction AF
La fonction Frequences alternatives (AF) permet à l'appareil de tous jours rechercher le signal le plus puissant de la zone où vous vous trouvez pour la station que vous écoutez.

Changement automatique de fréquences.
1 Sélectionnez une station FM (page 10).
2 Appuyez plusieurs fois sur la touche AF jusqu'à ce que l'indication "AFON" apparaisse.
L'appareil lance la recherche d'une fréquence alternative émettant un signal plus puissant dans le même réseau de radiodiffusion.
Si l'indication "NO AF" clignote, la station en cours de syntonisation ne dispose pas de fréquence alternative.
Remarque
Sil n'existe pas de fréquence alternative dans la région ou si vous n'avez pas besoin d'en rechercher une, désactéz la fonction AF en scélectionnant "AF-OFF".
Pour les stations sans fréquence alternative
Appuyez sur l'un des cots de (SEEK) tandis que le nom de la station clignote (pendant 8 secondes).
L'appareil commence à rechercher une autre fréquence avec les mêmes données d'identification de programme (PI) (l'indication "PI SEEK" apparait).
Si l'appareil ne parvient pas à tracer la même PI, il revient à la fréquence selectionnée précédemment.
Ecoute continue d'une émission régionale
Lorsque la fonction AF est activée: ce réglage effectué en usine restreint la réception à une région spécifique, de façon à ce qu'une station régionale ayant une féquence plus puissant ne soit pas captée.
Si vous quitte la zone de réception de cette émission régionale ou si vous souhaitez profiter pleinement de la fonction AF, sélectionnez "REG-OFF" à partir du MENU (page 19).
Remarque
Cette fonction est inactive au Royaume-Uni et dans certaines régions.
Fonction de liaison locale (Royaume-Uni uniquement)
Cette fonction vous permet de selectionner d'autres stations locales de la région, même si elles ne sont pas associées à vos touches numériques.
1 Appuyez sur une touche numérique (① à ⑥) associée à une station locale méorisée.
2 Dans les 5 secondes qui suivent, appuyez à nouveau sur la touche numérique de correspondant à station locale.
3 Repetez l'opération jusqu'à ce que vous captiez la station locale souhaitation.
Ecoute des messages de radioguidage
—TA/TP
En activant les fonctions Traffic Announcement (TA) et Traffic Programme (TP), you pouvez automatiquement écouter une station FM diffusant des messages de radioguidage. Ces fonctions ne tiennent pas compte de l'émission, de la source FM ou du CD/MD en cours; l'appareil revient à la source d'origine lorsque le bulletin d'information est terminé.
Appuyez plusieurs fois sur la touche (TA) jusqu'à ce que l'indication "TATON" apparaisse.
L'appareil commence à rechercher les stations diffusant des messages de radioguidage.
L'indication "TP" indique la réception de ces stations et l'indication "TA" clignote pendant la diffusion d'un message de radioguidage.
L'appareil continue à rechercher les stations diffusant des messages de radioguidage (stations TP) si l'indication "NO TP" apparait.
Pour annuler tous les messages de radioguidage, seLECTIONnez "TA-OFF".
| Pour | Appuyez sur |
| interrompre le bulletin en cours | TA |
Conseil
Vous pouvez également interrompre le bulletin en cours en appuyant sur SOURCE ou MODE
Présélection du volume des messages de radioguidage
Vous pouvez préregler le niveau de volume des messages de radioguidage de façon à ne manquer aucune information.
1 Tournez la molette de commande du volume pour régler le niveau de volume souhaïte.
2 Appuyez sur TA pendant 2 seconds.
L'indication "TA" apparait et le réglage est méorisé.
Réception de messages urgents
Si la fonction AF ou TA est activée, l'apparéil passera aux messages d'urgence si l'un d'entre eux est diffusé pendant que vous écoutez une station FM, une cassette ou un CD/MD en option.
Présélection des stations RDS avec les réglages AF et TA
Lorsque you préselectionnez des stations RDS, l'appareil mé memorise le réglage AF/TA (on/off) de chaque station ainsi que que sa fréquence. Vous pouvez effectuer un réglage différent (pour AF, TA ou les deux) pour chaque station préselectionnée ou vous pouvez effectuer le même réglage pour toutes les stations préselectionnées. Si vous préselectionnez des stations avec "AF-ON", l'appareil mé memorise automatiquement des stations dont le signal radio est le plus puissant.
Présélection du même réglage pour toutes les stations présélectionnées
1 Sélectionnez une bande FM (page 10).
2 Appuyez sur la touche AF et/ou TA pour selectionner "AF-ON" et/ou "TA-ON".
Notez que la seLECTION de "AF-OFF" ou "TA-OFF" mémorise les stations RDS, mais permet également de mémoriser les stations ne disposant pas de cette fonction.
3 Appuyez sur la touche (MENU), puis appuyez plusieurs fois sur l'un des cots de (DISC/PRESET) ou de
PRESET jusqu'à ce que l'indication "BTM" apparaisse.
4 Appuyez sur la touche (ENTER) jusqu'à ce que l'indication "BTM" clignote.
Présélection de réglages différents pour chaque station présélectionnée
1 Sélectionnez une bande FM et syntonisez la station souhaitation (page 11).
2 Appuyez sur la touche AF et/ou TA pour selectionner "AF-ON" et/ou "TA-ON".
3 Appuyez sur la touche numérique (① à ⑥) souhaitée jusqu'à ce que l'indication "MEM" apparaisse.
Répétez les opérations à partir de l' étape 1 pour la préselection d'autres stations.
Syntonisation d'une station en fonction du type d'émission
-PTY
Vous pouvez rechercher une station en selectionnant le type d'émission que vous souhaitez écouter.
| Types d'émission | Affichage |
| Actualités | NEWS |
| Dossiers d'actualité | AFFAIRS |
| Informations | INFO |
| Sports | SPORT |
| Education | EDUCATE |
| Théâtre | DRAMA |
| Culture | CULTURE |
| Science | SCIENCE |
| Divers | VARIED |
| Musique populaire | POP M |
| Musique rock | ROCK M |
| Musique légère | EASY M |
| Musique classique légère | LIGHT M |
| Musique classique | CLASSICS |
| Autres types de musique | OTHER M |
| Météo | WEATHER |
| Finance | FINANCE |
| Emissions pour enfants | CHILDREN |
| Affaires sociales | SOCIAL A |
| Religion | RELIGION |
| Émissions à ligne ouverte | PHONE IN |
| Voyages | TRAVEL |
| Loisirs | LEISURE |
| Musique jazz | JAZZ |
| Musique country | COUNTRY |
| Musique nationale | NATION M |
| Musiques d'autrefois | OLDIES |
| Musique folk | FOLK M |
| Documentaires | DOCUMENT |
Remarque
Vous ne pouvez pas utiliser cette fonction dans certains pays ou les données PTY (sLECTION du type d'émission) ne sont pas disponibles.
1 Appuyez sur la touche DISPLAY/PTY ou PTY/DSPL en cours de reception FM jusqu'à ce que l'indication "PTY" apparaisse.

Le nom du type d'émission diffusé apparait si la station transmet des données PTY.
"---apparait si la station captee n'est pas une station RDS ou si aucune donnée RDS n'est captee.
2 Appuyez plusieurs fois sur
DISC/PRESET ou PRESET jusqu'à ce que le type d'émission souhaité apparaisse.
Les types d'émission apparaissent dans l'ordre indiqué dans le tableau.
"---apparait si le type d'émission n'est pas spécifique dans les données RDS.
3 Appuyez sur ENTER
L'appareil commence à rechercher une station diffusant le type d'émission sélectionné.
Réglage automatique de l'heure
-CT
Les données CT (Clock Time) accompagnant la transmission RDS permettent un réglage automatique de l'horloge.
1 Pendant une réception radio, appuyez sur (MENU), puis appuyez plusieurs fois sur l'un des côtes de DISC/PRESET ou PRESET jusqu'à ce que l'indication "CT-OFF" apparaite.

2 Appuyez plusieurs fois sur le cotoé (+) de (SEEK) jusqu'à ce que l'indication "CT-ON" apparaisse. L'horloge est reglee.
3 Appuyez sur ENTER pour revenir à l'affichage normal.
Pour annuler la fonction CT, selectionnez "CT-OFF" dans 1'etape 2.
Remarques
- Il se peut que la fonction CT ne fonctionne pas, même si une station RDS est captée.
- Il peut y avoir une différence entre l'heure régée par la fonction CT et l'heure réelle.
Autres fonctions
Vou pouve égarlement commander l'appareil (et les appareils CD/MD en option*1) avec un satellite de commande (en option).
Utilisation du satellite de commande
Commencez par apposer l'étiquette appropriée suivant la position de montage du satellite de commande.
Le satellite de commande fonctionne en appuyant sur les touches et/ou en tournant les commandes.



En appuyant sur les touches
Tournez la commande VOL pour régler le volume.
| Appuyez sur | Pour |
| SOURCE | changer de source (radio/CD*2/MD*2/cassette) |
| MODE | changer de mode de fonctionnement (fréquence radio/lecteur CD*2/lecteur MD*2/sens de lecture de la cassette) |
| ATT | atténuer le son |
| OFF*3 | interrompre la lecture d'un disque ou la réception radio |
| SOUND | régler le menu son |
| DSPL | changer de rubrique d'affichage |
1 Modèles XR-CA600X/CA600V/CA600 uniquement
2 Uniquement si l'appareil en option correspondant est raccordé (modèlees modèlex XR-CA600X/ CA600V/CA600 unquèlement).
*3 Si votre voiture ne possède pas de position ACC (accessoire) au niveau du contact, voirlez à appuyer sur OFF pendant 2 secondes pour désactiver l'affichage de l'horloge après avoir coupé le moteur.
En tournant la commande

Tournez la commande et relâchéz-la pour:
- localiser le début de pistes sur la bande;
- syntoniser automatiquement des stations de radio;
- sauter des pistes du disque.*2
Tournez le satellite, maintenance-le et relâchéz-le pour:
- rembobiner la bande à vitesse rapide;
trouver une station manuellement; - avancer à vitesse rapide/changer le sens de lecture d'une piste.*2
Conseil
Pour commencer la lecture alors que vous rembobinez la cassette à vitesse rapide, appuyez sur MODE).
En exerçant une pression sur la commande et en la tournant

Exercez une pression sur la commande et tournez-la pour:
- receivevoir les stations méorises;
- changer de disque*2.
Modification du sens de fonctionnement
Le sens de fonctionnement des commandes est régèle par défaut comme indiqué sur l'illustration ci-dessous.

Pour augmenter
Pour diminuer
Si vous nevez monter le satellite de commande du cote croit de la colonne de direction, vous pouvez inverser le sens de fonctionnement des commandes.

Appuyez sur SOUND pendant 2
seconds tout en maintainant la commande VOL enforcée.
Conseil
Vouspouvezegalementmodifierlesens de fonctionnementdeces commandesau moyen de l'appareil(voir"Modificationdesreglagesdu sonet de I'affichage"page18).
Réglage des caractéristiques du son
Vou puez regler les graves, les aigus ainsi que la balance gauche/droite et la balance avant/ arrriere.
Vous pouvez memoriser les niveaux de graves et d'aignus independament pour chaque source.
1 Sélectionnez le paramètre que vous souhaitez régler en appuyant plusieurs fois sur (SOUND).
A cheque pression sur la touche (SOUND), le paramètre change comme suit:
BAS (graves) TRE (aigus)
BAL (balance gauche/droite)
FAD (balance avant/arrière)
2 Ajustez le paramètre sélectionné en appuyant sur l'un des côtés de (SEEK).
Pour effectuer le réglage à l'aide du satellite de commande, appuyez sur (SOUND) et tournez la commande VOL.
Remarque
Effectuez ce réglage dans les 3 secondes suivant la sélection du paramètre.
Attenuation rapide du son
(via le satellite de commande ou la mini-télécommande)
Appuyez sur la touche ATT du satellite de commande ou de la mini-telecommande.
Après l'affichage momentané de "ATT-ON", l'indication "ATT" apparait.
Pour restaurer le niveau de volume précédent, appuyez à nouveau sur ATT.
Conseil
Lorsque le cable de jonction d'un téléphone de voiture est raccordé au fil ATT, l'appareil réduit le volume automatique lorsqu'un appel téléphonique est reçu (fonction ATT Telefonique).
Modification des réglages du son et de l'affichage
—Menu
Les rubriques suivantes peuvent être régées:
SET (réglage)
CLOCK (page 9)
- CT (Clock Time) (page 16)
- BEEP — pour activer ou désactiver le bipsonore.
- RM (Satellite de commande) — pour modifier le sens de fonctionnement des commandes du satellite.
- Sélectionnez "NORM" pour utiliser le satellite de commande dans la position définie par défaut.
- Sélectionnez "REV" si vous montez le satellite de commande du côté droit de la colonne de direction.
DSPL (affichage)
D.INFO (Double information) — pour afficher simultanément l'horloge et le mode de lecture (ON).
- AMBER/GREEN — pour modifier la couleur d'affichage (ambre ou vert) (XR-CA600/L500 uniquement).
- DIM (Dimmer) — pour modifier la luminosité de l'affiche (XR-CA600V/L500V uniquement).
- Sélectionnez "ON" pour modifier la luminosité de l'affichage.
- Sélectionnez "OFF" pour désactiver le variateur de lumière.
M.DSPL (Affichage animé) — pour selectionner le mode d'affichage animé à partir de “1”, “2” et “OFF”.
- Sélectionnez "1" pour que les lignes décoratives apparaissent dans la fenêtre d'affichage et pour activer l'affichage Demo.
- Sélectionnez "2" pour que les lignes décoratives apparaissent dans la fenêtre d'affichage et pour désactiver l'affichage Demo.
- Sélectionnez "OFF" pour désactiver la fonction d'affichage animé.
A.SCRL (défilament automatique)*
- Sélectionnez "ON" pour faire défilier automatiquement tous les noms affichés composés de plus de 8 caractères.
-
Lorsque le défilament automatique est régèle sur off et que le nom du disque/de la piste est modifié, ce dernier ne défile pas.
-
Cette rubrique n'apparait pas lorsque aucun CD ou MD n'est en cours de lecture (modèlexR-CA600X/ CA600V/CA600 uniquement).
SND (Son)
- LOUD (intensité sonore) — pour appréciencer les graves et les aiguès même à des volumes peu élevés. Les graves et les aiguès sont renforcés (modèles XR-CA600V/CA600/L500V/L500 uniquement).
P/M (mode lecture)
- LOCAL-ON/OFF (mode de recherche local) (page 11)
- Sélectionnez "ON" pour syntoniser uniquement les stations ayant des signaux puissants.
- MONO-ON/OFF (mode monaural) (page 11)
- Sélectionnez "ON" pour écouter l'émission FM stéreo en monaural. Sélectionnez "OFF" pour revenir en mode normal.
- REG-ON/OFF (régional) (page 13)
1 Appuyez sur (MENU).
Pour régler A.SCRL, appuyez sur (MENUPendant la lecture du CD/MD.
2 Appuyez plusieurs fois sur l'un des cotés de DISC/PRESET ou de PRESET jusqu'à ce que l'options souhaïée apparaissée.
3 Appuyez sur le côté (+) de (SEEK) pour sélectionner le réglage souhaité (Exemple: ON ou OFF).
4 Appuyez sur ENTER.
Une fois que le réglage du mode est terminé, la fénètre d'affchage revient en mode de lecture normal.
Remarque
La rubrique affichée diffère selon la source.
Conseil
Vous pouvez facilement basculer entre les catégories ("SET", "DSPL", "SND", "P/M" et "EDIT") en Maintenant l'un des cotés de DISC/PRESET ou de PRESET appuyé pendant 2 secondes.
Sélection de la position du son
My Best sound Position (Meilleure position du son) (MBP)
Lorsque vous conduisiez sans passager, vous pouvez profiter de l'environnement sonore le plus agreable avec la fonction "Meilleure position du son".
"Meilleure position du son" dispose de deux réglages qui permettent d'ajuster le niveau sonore de la balance gauche/droite et de la balance avant/arrière. La selection s'effectue très facilement à l'aide de la touche MBP.
| Fenêtre d'affichage | Niveau de la balance gauche/droite | Niveau de la balance avant/ arrêté | ||
| Droite | Gauche | Avant | Arrière | |
| MBP-A | - 4dB | 0 | 0 | - 4dB |
| MBP-B | 0 | - 4dB | 0 | - 4dB |
| MBP-OFF | 0 | 0 | 0 | 0 |
Appuyez plusieurs fois sur MBP pour Obtir la position d'écoute souhaitée.
Le mode "Meilleure position du son" apparait dans la fenetre d'affichage dans l'ordre indiquedans le tableau.

Après une seconde, l'affichage revient en mode de lecture normal.
Si vous souhaitez régler plus précisé le niveau sonore de la balance gauche/droite et de la balance avant/arroire, utilisez la touche (SOUND). (voir "Réglage des caractéristiques du son" page 18)
Remarques
Lorsque les options BAL (balance gauche/droite) ou FAD (balance avant/arrête) de "Réglage des caractéristiques du son" (page 18) sont régles, le réglage MBP est désactifé.
Lorsque MBP est regle sur OFF, le réglage de BAL et FAD est activé.
Réglage de l'égaliseur
Il est possible de selectionner une courbe de l'égaliseur pour sept types de musique (musique XPLOD, VOCAL, CLUB, JAZZ, NEW AGE, ROCK, CUSTOM et OFF (égaliseur désactivi)). Vous pouvez memoriser et ajuster les réglages de fréquence et de niveau de l'égaliseur.
Sélection de la courbe de l'égaliser
1 Appuyez sur SOURCE pour selectionner une source (radio, CD, MD ou cassette).
2 Appuyez plusieurs fois sur (EQ7) pour sélectionner la courbe de l'égaliser souhaitée.
A cheque pression sur 7 , la rubrique change.

Pour annuler l'effect de l'égaliseur, sélectionnez "OFF". ÀpRES 3 secondes, l'affichage revient en mode de lecture normal.
Réglage de la courbe de l'égaliseur
1 Appuyez sur MENU.
2 Appuyez plusieurs fois sur l'un des côtés de DISC/PRESET ou de PRESET jusqu'à ce que l'indication "EQ7 TUNE" apparaisse, puis appuyez sur ENTER.
3 Appuyez sur l'un des cots de SEEK pour selectionner la courbe d'égaliser souhaitée, puis appuyez sur ENTER. A chaque pression sur SEEK, la rubrique change.
4 Sélectionnez la fréquence et le niveau souhaités.
1 Appuyez sur l'un des cots de (SEEK) pour selectionner la fréquence souhaïée.
A cheque pression sur SEEK , la fréquence change.
$$ \begin{array}{l} 6 2 \left(\text {H z}\right) \longleftrightarrow 1 5 7 \left(\text {H z}\right) \longleftrightarrow 3 9 6 \left(\text {H z}\right) \longleftrightarrow \ 1 k \left(\text {H z}\right) \longleftrightarrow 2. 5 k \left(\text {H z}\right) \longleftrightarrow 6. 3 k \left(\text {H z}\right) \longleftrightarrow \ 1 6 k \left(\text {H z}\right) \end{array} $$
2 Appuyez sur l'un des cots de DISC/PRESET ou de PRESET pour régler le niveau de volume souhaité. Le niveau de volume peut être régé par pas de 1 dB, de -10 à +10 dB.

Pour restaurer la courbe par défaut de l'égaliseur, appuyez sur la touche (ENTER) pendant 2 secondes.
5 Appuyez deux fois sur (MENU).
Lorsque le réglage de l'effet est terminé, le mode de lecture normal apparait.
Lecteur CD/MD (en option)
(modèles XR-CA600X/ CA600V/CA600 uniquement)
Cet appeareil peut commander des lecteurs CD/ MD externes.
Si vous raccordez un lecteur CD en option disposant des fonctions CD TEXT et CUSTOM FILE, les informations CD TEXT apparaissent dans la fenêtre d'affichage lorsque vous lisez un disque CD TEXT.
Lecture d'un CD ou d'un MD
1 Appuyez plusieurs fois sur la touche (SOURCE) pour sélectionner "CD" ou "MD".
2 Appuyez plusieurs fois sur MODE jusqu'à ce que l'appareil souhaite apparaisse.
| Pour | Appuyez sur |
| interrompre la lecture | OFF |
| passer d'un disque à l'autre – Sélection d'un disque | DISC/PRESET (+/-) |
| sauter des pistes – Accès direct et rapide aux titres | SEEK (↓←/→↑) [une fois pour chaque piste] |
| activer l'avance rapide/le retour – Recherche manuelle | SEEK (←←/→↑) [maintenir la touche enforcée jusqu'à l'endetroit souhaïté] |
Rubriques d'affichage
Lorsque le disque/la piste change, tout titre préenregistré*1 du nouveau disque/de la nouvelle piste est automatique affiché (si la fonction de défilement automatique, Auto Scroll, est réglée sur "ON", les noms dépassant 8 caractères défilent dans la fenêtre d'affichage (page 18)).

| Pour | Appuyez sur |
| passer d'une rubrique d'affichage à l'autre | DISPLAY/PTY |
| faire défiler la rubrique d'affichage | SCROLL |
1 L'indication "NO NAME" indique qu'il n'existe pas de fonction Disc Memo (page 22) ou de nom préenregistré à afficher.
2 Uniquement pour les disques CD TEXT complenant le nom de l'artiste.
Remarques
- Certains caractères ne peuvent pas être affichés.
Pour certains disques CD TEXT contenant beaucoup de caractères, le défilament automatique peut ne pas fonctionner. - Cet apparéil ne peut pas afficher le nom de l'artiste de chaque piste d'un disque CD TEXT.
Conseil
Lorsque la fonction Auto scroll est déactivée (OFF), et que le nom du disque ou de la piste est modifié, celui-ci ne défille pas.
Lecture repétée de pistes
— Lecture répétée
Vous pouvez selectionner:
- REP-1 — pour répéter une piste.
- REP-2 — pour répéter un disque.
En cours de lecture, appuyez plusieurs fois sur ③ (REP) jusqu'à ce que le réglage souhaité apparaisse dans la fenêtre d'affichage.
La lecture repétée commence.
Pour revenir en mode de lecture normal, selectionnez "REP-OFF".
Lecture de pistes dans un ordre aléatoire
— Lecture aléatoire
Vous pouvez selectionner:
- SHUF-1 — pour écouter les pistes du disque en cours de lecture dans un ordre aléatoire.
- SHUF-2 — pour écouter les pistes du lecteur CD (MD) en option utilisé dans un ordre aléatoire.
- SHUF-ALL* — pour écouter toutes les pistes des apparèils CD (MD) (y compris celles de cet apparéil) dans un ordre aléatoire.
- Disponible uniquement lorsque deux ou plusieurs lecteurs CD/MD en option sont raccordés.
En cours de lecture, appuyez plusieurs fois sur ⑥ (SHUF) jusqu'à ce que le réglage souhaïte apparaissé dans la fenêtre d'affichage.
La lecture aléatoire commence.
Pour revenir en mode de lecture normal, selectionnez "SHUF-OFF".
Remarque
"SHUF-ALL" ne passera pas de façon aléatoire des pistes de lecteurs CD à des pistes de lecteurs MD.
Identification d'un CD
— Fonction Disc Memo (Pour un lecteur CD disposant de la fonction CUSTOM FILE)
Vous pouvez identifier chaque disque avec un nom personnelisé (fonction Disc Memo). Vous pouvez saisir jusqu'à 8 caractères pour un disque. Si vous identifiez un CD, vous pouvez localiser le disque par son nom (page 24).
1 Lancez la lecture du disque que vous souhaitez identifier.
2 Appuyez sur la touche (MENU), puis appuyez plusieurs fois sur l'un des côtés de (DISC/PRESET) jusqu'à ce que l'indication "NAMEEDIT" apparaisse.
3 Appuyez sur ENTER

L'appareil repete la lecture du disque au cours de la procEDURE d'identification.
4 Saisissez les caractères.
1 Appuyez sur le cote (+)^*1 de DISC/PRESET plusieurs fois pour selectionner le caractere souhaite.
$$ \begin{array}{l} \mathsf {A} \to \mathsf {B} \to \mathsf {C} \dots \to 0 \to 1 \to 2 \dots \to + \to \ - \to * \dots \to_ {-} ^ {* 2} \to \mathsf {A} \end{array} $$
1 Pour aller l'autre sens, appuyez sur le côte (-) de DISC/PRESET.
2 (espace)
2 Appuyez sur le côté (+) de (SEEK) après avoir repéré le caractère souhaïte.

Si you appuyez sur le cote (-) de (SEEK), vous pouvez revenir vers la gauche.
3 Repetez les étapes 1 et 2 pour saisir la totalité du nom.
5 Pour revenir en mode de lecture CD normal, appuyez sur ENTER.
Conseils
- Procedez par écrasement ou saisissez " _ " pour corriger ou effacer un nom.
- Il existe une autre méthode pour identifier un CD: appuyez sur (LIST) pendant deux secondes au lieu d'effectuer les étapes 2 et 3. Vous pouvez également achever l'opération en appuyant sur (LIST) pendant 2 secondes au lieu d'effectuer l'étape 5.
- Vous pouvez identifier les CD d'un apparéil ne disposant pas de la fonction CUSTOM FILE si cet apparéil est raccordé à un lecteur CD disposant de cette fonction. La fonction Disc Memo est enregistrée dans la mémoire du lecteur CD avec la fonction CUSTOM FILE.
Remarque
REP-1/la lecture aléatoire est interrompue jusqu'à ce que l'édition du nom soit terminée.
Affichage de la fonction Disc Memo
En tant que rubrique d'affichage, la fonction Disc Memo est always prioritaire sur toutes les informations CD TEXT d'origine.
| Pour | Appuyez sur |
| Afficher la fonction | DISPLAY/PTY en cours de lecture du disque CD/CD TEXT |
Conseil
Pour en savoir plus sur les autres rubriques affichables, reportez-vous à la page 21.
Suppression de la fonction Disc Memo
1 Appuyez plusieurs fois sur SOURCE pour selectionner "CD".
2 Appuyez plusieurs fois sur MODE pour selectionner le lecteur CD contenant la fonction Disc Memo.
3 Appuyez sur la touche (MENU), puis appuyez plusieurs fois sur l'un des côtés de (DISC/PRESET) jusqu'à ce que l'indication "NAME DEL" apparaisse.
4 Appuyez sur ENTER
Les noms mémorisés apparaissent dans l'ordre chronologique de leur saisie.
5 Appuyez plusieurs fois sur l'un des côtés de DISC/PRESET pour sélectionner le nom du disque que vous pouze effacer.
Les noms mémorisés apparaissent dans l'ordre chronologique de leur saisie.
6 Appuyez sur ENTER pendant 2 secondes.
Le nom est efface.
Répétez les étapes 5 et 6 si vous souhaitez effacer d'autres noms.
7 Appuyez deux fois sur (MENU).
Le lecteur revient en mode de lecture CD normal.
Remarques
Lorsque la fonction Disc Memo d'un disque CD TEXT est effacée, les informations CD TEXT d'origine sont affichées.
- Si vous ne trouvez pas la fonction Disc Memo que vous souhaitez effacer, essayez de sélectionner un autre lecteur CD à l'étape 2.
Localisation d'un disque par son nom
List-up (Pour un lecteur CD disposant de la fonction CD TEXT/CUSTOM FILE ou pour un lecteur MD)
Vou puevez utiliser cette fonction pour les disques dont vous avez personnalisé les noms*1 ou pour les disques CD TEXT*2.
1 Localisation d'un disque par son nom: lorsque vous attribuez un nom au CD (page 22) ou au MD.
2 Localisation des disques grâce aux informations CD TEXT: lorsque vous écoutez un disque CD TEXT sur un lecteur CD équipé de la fonction CD TEXT.
1 Appuyez sur (LIST).
Le nom attribué au disque en cours de lecture apparait dans la fenêtre d'affichage.

2 Appuyez plusieurs fois sur l'un des côtés de DISC/PRESET jusqu'à ce que vous ayez trouvez le disque souhaïte.
3 Appuyez sur ENTER pour écouter le disque.
Remarque
Certaines lettres ne peuvent pas etre affichees (exception:fonction Disc Memo).
Selection de pistes spécifiques pour la lecture
Bank (Pour un lecteur CD disposant de la fonction CUSTOM FILE)
Si vous identifiez le disque, vous pouvez regler l'appareil pour passer d'une piste à l'autre ou pour écouter les pistes de votre choix.
1 Lancez la lecture du disque que vous souhaitez identifier.
2 Appuyez sur la touche (MENU), puis appuyez plusieurs fois sur l'un des côtés de DISC/PRESET jusqu'à ce que l'indication "BANK SEL" apparaite.
3 Appuyez sur ENTER.

4 Identifie les pistes.
1 Appuyez plusieurs fois sur l'un des côtés de (SEEK) pour sélectionner la piste que vous souhaitez identifier.
2 Appuyez plusieurs fois sur la touche (ENTER) pour sélectionner "PLAY" ou "SKIP".
5 Repetez l'etape 4 pour activer "PLAY" ou "SKIP" pour toutes les pistes.
6 Appuyez deux fois sur MENU.
Le lecteur revient en mode de lecture CD normal.
Remarques
- Vous pouvez régler "PLAY" et "SKIP" pour 24 pistes au maximum.
- Vous ne pouvez pas activer "SKIP" pour toutes les pistes d'un CD.
Ecoute de pistes spécifiques uniquely
Vous pouvez selectionner:
"BANK-ON" — pour dire les pistes avec le réglage "PLAY".
- "BANK-INV" (Inverse) — pour écouter les pistes avec le réglage "SKIP".
1 En cours de lecture, appuyez sur (MENU), puis appuyez plusieurs fois sur l'un des côtés de (DISC/PRESET) jusqu'à ce que “BANK-ON”, “BANK-INV” ou “BANK-OFF” apparaisse.
2 Appuyez plusieurs fois sur le côté (+) de (SEEK) jusqu'à ce que le réglage souhaïte apparaisse.

3 Appuyez sur ENTER
La lecture recommence à partir de la piste suivant la piste en cours.
Pour revenir en mode de lecture normal, selectionnez "BANK-OFF" à l'objet 2.
Informations complémentaires
Entretien
Remplacement du fusible
En cas de remplacement du fusible, veillez à utiliser un fusible dont l'intensité correspond à celle inscrite sur le fusible d'origine. Si le fusible grille, vérifiez le branchement de l'alimentation et replaceze le fusible. Si le fusible grille une nouvelle fois après avoir été replacé, cela peut révêler une défaillance interne de l'appareil. Le cas échéant, consultez un revendeur Sony.

Avertissement
N'utilisez jamais defuse dont I'intensité dépasse celle du fuseble fourni avec l'appareil car vous risqueriez d'endommager l'applieil.
Nettoyage des connecteurs
L'appareil peut ne pas fonctionner correctement si les connecteurs entre l'appareil et la façade sont souillés. Pour éviter cela, enlevez la façade (page 8) et nettoyez les connecteurs à l'aide d'un coton-tige imbibé d'alcool. N'exerce pas une pression trop facile. Vous risquez d'endommager les connecteurs.

Appareil principal

Arrière de la façon
Remarques
- Pour plus de sécurité, fouce le moteur avant de nettoyer les connecteurs et retirrez la clé de contact.
- Ne touchez jamais les connecteurs directement avec les doits ou avec un outil métallique.
Remplacement de la pile au lithium
Dans des conditions normales d'utilisation, les piles duront environ 1 an. (La durée de vie peut être plus courte, selon les conditions d'utilisation.) Lorsque la pile est décharge, la portée de la mini-telecommande diminue. Remplacez la pile par une nouvelle pile CR2025 au lithium.


↓
Remarques sur la pile au lithium
- Conservez la pile au lithium hors de portée des enfants. En cas d'ingestion de la pile, consultez immédiatement un médecin.
- Essuyez la pile avec un chiffon sec pour assurer un bon contact.
- Veillez à respecter la polarité lors de l'installation de la pile.
- Ne la tenez pas avec des pinces métalliques, car cela pourrait entraîner un court-circuit.
ATTENTION
Utilisée de façon incorrecte, la pile peut exploser. Ne pas la recharger, la démonter ni la jeter au feu.
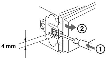
Démontage de l'appareil
1 Demontez le panneau avant
1 Otez la façade (page 8).
2 Appuyez sur l'attache du panneau avant à l'aide d'un tournevis fin.

3 Répétez l' étape 2 de l'autre côté.
2 Demontez l'appareil
Utilisez un tournevis fin pour enforcer l'attache du cotoé gauche de l'appareil, puis tirez ce même cotoé de l'appareil jusqu'au dégagement complet du cotoé gauche.

2 Repetez l'etape 1 du cote croit.
Faites glisser l'appareil en dehors de son support.
Specifications
Lecteur de cassettes
Piste cassette Stéreo 4 pistes 2 canaux
Pleurage et scintillage 0,08% (WRMS)
Réponse en fréquence 30 - 18.000Hz
Rapport signal/bruit
Type de cassette
| TYPE II, IV | 61 dB |
| TYPE I | 58 dB |
Syntoniseur
FM
Plage de syntonisation 87,5-108,0 MHz
Borne d'antenne
Connecteur d'antenna externe
Fréquence intermédiaire 10,7 MHz/450 kHz
Sensibilité utile
8 dBf
75 dB à 400 kHz
Rapport signal-bruit
66 dB (stereo),
72 dB (mono)
Distorsion harmonique à 1 kHz
0,6% (stereo),
35 dB à 1 kHz
30 - 15.000Hz
Réponse en fréquence
MW/LW
Plage de syntonisation MW: 531 - 1.602 kHz
LW: 153 - 279kHz
Borne d'antenne
Connecteur d'antenne
Fréquence intermédiaire 10,7 MHz/450 kHz
Sensibilité
external
10,7 MHz/450 kHz
MW: 30~ V
LW: 40~ V
Amplificateur de puissance
Sorties Sorties des haut-parleurs (connecteurs de sécurité)
Impedance des haut-parleurs 4-8 ohms
Puisance maximale utilisee 50W× 4 (a 4 ohms)
Généralités
| Sorties | Sorties audio (arrière)Commande de relais de l'antenne électriqueCommande del'amplificateur de puissance |
| Entrées | Commande d'atténuation téléphoniqueConnecteur d'entrée de commande BUS*Connecteur d'entrée audio BUS*Connecteur d'entrée de la télécommandeConnecteur d'entrée de l'antenne |
| Commandes de tonalité | Graves ± 8 dB à 100 HzAigus ± 8 dB à 10 kHz |
| Intensité sonore | 100 Hz + 8 dB10 kHz + 2 dB |
| Puissance de raccordement | batterie de voiture 12 V CC (masse négative) |
| Dimensions | Approx. 178 × 50 × 176 mm (l/h/p) |
| Dimensions du support | Approx. 182 × 53 × 161 mm (l/h/p) |
| Poids | Approx. 1,2 kg |
| Accessoires fournis | Éléments d'installation et de raccordement (1 jeu, sauf pour le cordon d'alimentation)Etu pour la façade (1) |
| Accessoires en option | Satellite de commande RM-X4SMini-télécommandeRM-X114Câble BUS (fourni avec un cordon RCA)RC-61 (1 m), RC-62 (2 m) |
| Appareils optionnels | Changeur de CD(10 disques)CDX-848X, CDX-646Changeur de MD(6 disques)MDX-65Sel lecteur de sourceXA-C30 |
- modèles XR-CA600X/CA600V/CA600 uniquement
Remarque
Cet appeareil ne peut pas etre branché sur un préamplificateur numérique ou un égaliseur.
La conception et les specifications sont sujettes à modification sans préavis.
Dépannage
La liste de contrôle suivante vous aidera à remédier aux problèmes que vous pourriez rencontres avec cet apparéil.
Avant de passer en revue la liste de contrôle cédssous, vérifie les procédures de raccordement et d'utilisation.
Généralités
Pas de son.
- Faites tournier la molette dans le sens horaire pour régler le volume.
Annules la fonction ATT. - Réglez la commande de balance avant/ arrrière sur la position mediane pour un système à 2 haut-parleurs.
Le contenu de la mémoire a été effacé.
- La touche de réinitialisation (RESET) a été enforcée.
Recommencez la procEDURE d'enregistrement dans la mémoire.
- Le cordon d'alimentation ou la batterie a ete deconnectee(e).
- Le cordon d'alimentation n'est pas raccordé correctement.
Aucun bip sonore.
Le bip sonore a eté désactivé (page 18).
Aucune indication n'apparait dans la fenetre d'affichage.
L'affichage de l'horloge disparait si vous appuyez sur OFF pendant 2 secondes.
Appuyez à nouveau sur (OFF) pendant 2 secondes pour afficher l'horloge.
- Enlevez la façade et nettoyez les connecteurs. Voir "Nettoyage des connecteurs" (page 25) pour plus de détails.
Les stations méorisées et l'heure correcte sont effacées.
Le fusible est defaillant.
Emission de bruit lorsque la clé de contact est en position ON, ACC ou OFF.
Les fils ne sont pas raccordés correctement au connecteur d'alimentation de la voiture destiné aux accessoires.
L'appareil n'est pas alimenté.
- Vérifiez le raccordement. Si tout est en ordre, vérifiez le fusible.
- La voiture n'est pas équipée d'une position ACC.
Appuyez sur SOURCE (ou inserez une cassette) pourmettre l'appareil sous tension.
L'appareil est alimenté en continu.
La voiture ne possède pas de position ACC.
L'antenne electrique ne se déploie pas.
L'antenne électrique n'est pas équipée d'un relais.
Lecture d'une cassette
Le son est déformé.
La tete de lecture est encrassée.
Nettoyez-la avec une cassette de nettoyage disponible dans le commerce.
La fonction AMS ne fonctionne pas correctement.
- Il y a du bruit entre les pistes.
- L'espace blanc est trop court (moins de 4 secondes).
- Une longue pause, un passage de basses fréquences ou un niveau de volume très faible est considéré comme un espace blanc.
Réception radio
Impossible de symponiser une presélection.
- Enregistrez la fréquence correcte dans la mémoire.
- Le signal d'émission est trop faible.
Le son comporte des parasites.
Raccordez un fil de commande d'antenne électrique (bleu) ou un fil d'alimentation d'accessoire (rouge) au cable d'alimentation de l' amplificateur d'antenne de la voiture. (Uniquement si vous voiture est équipée d'une antenne FM/MW/LW intégrée dans la vitre arrêté/laterale)
- Vérifiez le raccordement de l'antenne de la voiture.
L'antenne automatique ne se déploie pas. Vérifiez le raccordement du fil de commande de l'antenne électrique.
- Vérifiez la fréquence.
La syntonisation automatique est impossible.
- Le mode de recherche locale est régée sur "ON".
Reglez le mode de recherche locale sur "OFF". (page 19) - Le signal d'émission est trop faible.
Utilisez la syntonisation manuelle.
L'indication "ST" clignote.
- Syntonisez la fréquence correctement.
- Le signal d'émission est trop faible.
Activez le mode de réception monaural (page 19).
Une émission de programme en stéreo est entendue en monaural.
L'appareil est en mode de réception monaural.
Désactive le mode de réception monaural (page 19).
Fonctions RDS
Une recherche (SEEK) commence après quelques secondes d'écoute.
La station ne diffuse pas de messages TP ou émet un signal faible.
Appuyez plusieurs lors sur la touche () ou () jusqu'à ce que l'indication "AF-OFF" ou "TA-OFF" apparaisse.
Aucun message de radioguidage.
Activez "TA".
- La station n'émet pas de messages de radioguidage malgré le message TP.
Recherche une autre station.
PTY affiche "---".
- La station n'est pas une station RDS.
- Les données RDS n'ont pas ete reçues.
- La station ne spécifie pas le type d'émission.
Modèles XR-CA600X/CA600V/CA600 uniquely
Lecture de CD/MD
Le son est irrégulier.
Le disque est encrassé ou défectueux.
Affichage des erreurs
Modèles XR-CA600X/CA600V/CA600 uniquely
(lorsqu'un lecteur CD/MD en option est raccordé)
Affichage des erreurs
Les indications suivantes clignotent pendant environ 5 secondes et une alarme retentit.
NO MAG
Le chargeur de disques n'a pas ete insere dans le lecteur CD/MD.
Insérez-le dans le lecteur CD/MD.
NO DISC
Aucun disque n'a ete insere dans le lecteur CD/MD.
Insérez des disques dans le lecteur CD/ MD.
ERROR*1
Le CD est sale ou inséré à l'envers.*2
Nettoyez-le ou insérez-le correctement.
- Un MD n'est pas lu en raison de certains problèmes.*2
Insérez un autre MD.
- Un CD/MD ne peut pas etre lu en raison de certains problèmes.
Insérez un autre CD/MD.
BLANK*1
Aucune piste n'a ete enregistrree sur un MD.*2
Effectuez la lecture d'un MD avec des pistes enregistrées.
RESET
Le lecteur de CD/MD ne peut pas fonctionner en raison de certains problèmes.
Appuyez sur la touche RESET de l'appareil.
NOT READ
Le couvercle du lecteur de MD est ouvert ou les MD ne sont pas insérés correctement.
Fermez le couvercle ou inserez correctement les MD.
HI TEMP
La température ambiente est supérieure à 50^
Patientez jusqu'à ce qu'elle descende en dessous de 50^
1 Lorsqu'une erreur survient pendant la lecture d'un CD ou d'un MD, le numero du CD ou du MD n'appearait pas dans la fenetre d'affichage.
2 Le numéro du disque qui a provoqué l'erreur apparait dans la fenêtre d'affichage.
Si ces solutions ne permettent pas d'améliorer la situation, consultez votre revendeur Sony le plus proche.
Notice Facile