SFMEH210 - Drill STANLEY - Free user manual and instructions
Find the device manual for free SFMEH210 STANLEY in PDF.
Questions des utilisateurs sur SFMEH210 STANLEY
0 question sur cet appareil. Repondez a celles que vous connaissez ou posez la votre.
Poser une nouvelle question sur cet appareil
Download the instructions for your Drill in PDF format for free! Find your manual SFMEH210 - STANLEY and take your electronic device back in hand. On this page are published all the documents necessary for the use of your device. SFMEH210 by STANLEY.
USER MANUAL SFMEH210 STANLEY
natural_image
Line drawing of a Stanley FatMAX electric drill (no text or symbols on the device body)www.stanley.eu
SFMEH200
SFMEH210

text_image
STANLEY FATMAX 1 2 3 4 5 6 7 8 9 10 11
text_image
B ⑤
text_image
C1 4 4 C2
natural_image
Line drawing of a worker operating a drill bit, no text or symbols present
text_image
11 12 7 E
natural_image
Line drawing of a person using a power tool to lift a rope, no text or symbols presentIntended use
STANLEY® FATMAX® SFMEH200 and SFMEH210 SDS-Plus rotary hammer is intended to drill holes in concrete, bricks, wood, and steel, light chipping demolition applications and for carbide tipped core drilling. This tool is intended for professional and private, non professional use.
Safety instructions
General power tool safety warnings

Warning! Read all safety warnings and all instructions. Failure to follow the warnings and instructions listed below may result in electric shock, fire and/or serious injury.
Save all warnings and instructions for future reference.
The term "power tool" in all of the warnings listed below refers to your mains operated (corded) power tool or battery operated (cordless) power tool.
1. Work area safety
a. Keep work area clean and well lit. Cluttered or dark areas invite accidents.
b. Do not operate power tools in explosive atmospheres, such as in the presence of flammable liquids, gases or dust. Power tools create sparks which may ignite the dust or fumes.
c. Keep children and bystanders away while operating a power tool. Distractions can cause you to lose control.
2. Electrical safety
a. Power tool plugs must match the outlet. Never modify the plug in any way. Do not use any adapter plugs with earthed (grounded) power tools.

text_image
7 6 14 13 GUnmodified plugs and matching outlets will reduce risk of electric shock.
b. Avoid body contact with earthed or grounded surfaces such as pipes, radiators, ranges and refrigerators. There is an increased risk of electric shock if your body is earthed or grounded.
c. Do not expose power tools to rain or wet conditions. Water entering a power tool will increase the risk of electric shock.
d. Do not abuse the cord. Never use the cord for carrying, pulling or unplugging the power tool. Keep cord away from heat, oil, sharp edges or moving parts. Damaged or entangled cords increase the risk of electric shock.
e. When operating a power tool outdoors, use an extension cord suitable for outdoor use. Use of a cord suitable for outdoor use reduces the risk of electric shock.
f. If operating a power tool in a damp location is unavoidable, use a residual current device (RCD) protected supply. Use of an RCD reduces the risk of electric shock.
3. Personal safety
a. Stay alert, watch what you are doing and use common sense when operating a power tool. Do not use a power tool while you are tired or under the influence of drugs, alcohol or medication. A moment of inattention while operating power tools may result in serious personal injury.
b. Use personal protective equipment. Always wear eye protection. Protective equipment such as dust mask, non-skid safety shoes, hard hat, or hearing protection used for appropriate conditions will reduce personal injuries.
c. Prevent unintentional starting. Ensure the switch is in the off-position before connecting to power source and/or battery pack, picking up or carrying the tool. Carrying power tools with your finger on the switch or energising power tools that have the switch on invites accidents.
d. Remove any adjusting key or wrench before turning the power tool on. A wrench or a key left attached to a rotating part of the power tool may result in personal injury.
e. Do not overreach. Keep proper footing and balance at all times. This enables better control of the power tool in unexpected situations.
f. Dress properly. Do not wear loose clothing or jewellery. Keep your hair, clothing and gloves away from moving parts. Loose clothes, jewellery or long hair can be caught in moving parts.
g. If devices are provided for the connection of dust extraction and collection facilities, ensure these are connected and properly used. Use of dust collection can reduce dust-related hazards.
- Power tool use and care
a. Do not force the power tool. Use the correct power tool for your application. The correct power tool will do the job better and safer at the rate for which it was designed.
b. Do not use the power tool if the switch does not turn it on and off. Any power tool that cannot be controlled with the switch is dangerous and must be repaired.
c. Disconnect the plug from the power source and/or the battery pack from the power tool before making any adjustments, changing accessories, or storing power tools. Such preventive safety measures reduce the risk of starting the power tool accidentally.
d. Store idle power tools out of the reach of children and do not allow persons unfamiliar with the power tool or these instructions to operate the power tool. Power tools are dangerous in the hands of untrained users.
e. Maintain power tools. Check for misalignment or binding of moving parts, breakage of parts and any other condition that may affect the power tools operation. If damaged, have the power tool repaired before use. Many accidents are caused by poorly maintained power tools.
f. Keep cutting tools sharp and clean. Properly maintained cutting tools with sharp cutting edges are less likely to bind and are easier to control.
g. Use the power tool, accessories and tool bits etc. in accordance with these instructions, taking into account the working conditions and the work to be performed. Use of the power tool for operations different from those intended could result in a hazardous situation.
- Service
a. Have your power tool serviced by a qualified repair person using only identical replacement parts. This will ensure that the safety of the power tool is maintained.
Additional power tool safety warnings

Warning! Warning! Additional safety warnings for rotary and chiselling hammers.
◆ Wear ear protectors. Exposure to noise can cause hearing loss.
◆ Use auxiliary handles supplied with the tool. Loss of control can cause personal injury.
- Hold power tool by insulated gripping surfaces when performing an operation where the cutting accessory may contact hidden wiring or its own cord. Cutting accessory contacting a "live" wire may make exposed metal parts of the power tool "live" and could give the operator an electric shock
- Never use a chisel accessory in rotary mode. The accessory will bind in the material and rotate the drill.
- Use clamps or another practical way to secure and support the workpiece to a stable platform. Holding the work by hand or against your body leaves it unstable and may lead to loss of control.
Before drilling into walls, floors or ceilings, check for the location of wiring and pipes.
- Avoid touching the tip of a drill bit just after drilling, as it may be hot.
- The intended use is described in this instruction manual. The use of any accessory or attachment or performance of any operation with this tool other than those recommended in this instruction manual may present a risk of personal injury and/or damage to property.
Safety of others
- This appliance is not intended for use by persons (including children) with reduced physical, sensory or mental capabilities, or lack of experience and knowledge, unless they have been given supervision or instruction concerning use of the appliance by a person responsible for their safety.
◆ Children should be supervised to ensure that they do not play with the appliance.
Residual risks.
Additional residual risks may arise when using the tool which may not be included in the enclosed safety warnings. These risks can arise from misuse, prolonged use etc.
Even with the application of the relevant safety regulations and the implementation of safety devices, certain residual risks can not be avoided. These include:
◆ Injuries caused by touching any rotating/moving parts.
◆ Injuries caused when changing any parts, blades or accessories.
- Injuries caused by prolonged use of a tool. When using any tool for prolonged periods ensure you take regular breaks.
◆ Impairment of hearing.
- Health hazards caused by breathing dust developed when using your tool (example:- working with wood, especially oak, beech and MDF.)
Vibration
The declared vibration emission values stated in the technical data and the declaration of conformity have been measured in accordance with a standard test method provided by EN 60745 and may be used for comparing one tool with another. The declared vibration emission value may also be used in a preliminary assessment of exposure.
Warning! The vibration emission value during actual use of the power tool can differ from the declared value depending on the ways in which the tool is used. The vibration level may increase above the level stated.
When assessing vibration exposure to determine safety measures required by 2002/44/EC to protect persons regularly using power tools in employment, an estimation of vibration exposure should consider, the actual conditions of use and the way the tool is used, including taking account of all parts of the operating cycle such as the times when the tool is switched off and when it is running idle in addition to the trigger time.
Labels on tool
The following pictograms are shown on the tool, along with the date code:

Warning! To reduce the risk of injury, the user must read the instruction manual.

Wear safety glasses or goggles.

Wear ear protection.
Electrical safety

This tool is double insulated; therefore no earth wire is required. Always check that the power supply corresponds to the voltage on the rating plate.
If the supply cord is damaged, it must be replaced by the manufacturer or an authorised Stanley Fat Max Service Centre in order to avoid a hazard.
Using an extension cable
Always use an approved extension cable suitable for the power input of this appliance (see technical data).
The extension cable must be suitable for outdoor use and marked accordingly. Up to 30 m of 1.5 mm2 HO5VV-F extension cable can be used without loss of product performance. Before use, inspect the extension cable for signs of damage, wear and ageing. Replace the extension cable if damaged or defective. When using a cable reel, always unwind the cable completely.
Features
This tool includes some or all of the following features.
- Main handle
- Lock-on button
- Variable speed switch
- Forward/Reverse lever
- Mode selector switch
- Sleeve
- SDS + Drill Chuck
- Depth Stop
- Side handle
- Date code
- SDS-Plus bit
- Dust collector
- Keyless chuck
Assembly
Warning! Before attempting any of the following operations, make sure that the tool is switched off and unplugged.
Attaching the side handle (Fig A)
Warning! When using the tool, please use the side handle (9) for your safety.
The side handle can be fitted to suit both right-handed and left-handled users.
- Turn the grip counter-clockwise until you can slide the side handle onto the front of the tool.
◆ Rotate the side handle into the desired position.
◆ Tighten the side handle by turning the grip clockwise.
Warning! When using the tool, remember to install the side handles properly.
Fitting an accessory (Fig A)
◆ Clean and grease the shank (11) of the SDS Plus bit.
◆ Insert the accessory bar into the SDS + Chuck (7).
- Push the accessory down and turn it slightly until it fits into the slots.
◆ Pull on the accessory to check if it is properly locked.
The hammering and drilling function requires the accessory to be able to move axially several centimetres when locked in the tool clamp.
ENGLISH
(Original instructions)
- To remove the accessory, pull back the sleeve (6) and pull out the accessory from the tool clamp.
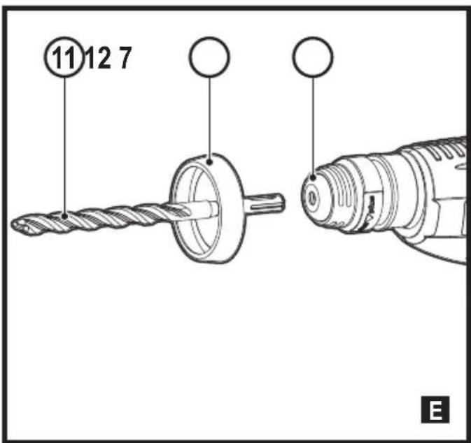
Fitting dust collector (Fig E)
◆ Insert the SDS Plus bit (11) into dust collector (14), then insert the bit (11) with dust collector into tool clamp (7).
- Use the dust collector only when the unit is used for upright drilling (Fig F).
Use
Warning! Always wear gloves when you change accessories. The exposed metal parts on the tool and accessory may become extremely hot during operation. Please operate tool with normal load. Do not overload. Do not abuse the tool, please refer instruction manual to use the tool correctly.
Warning! Before drilling into walls, floors or ceilings, check for the location of wiring and pipes.
Setting the drilling depth (Fig A)
The depth stop is a convenient feature to ensure uniformity in drilling depth. Loosen the side handle to adjust the depth gauge according to the required depth. After that, tighten the side handle.
- Slacken the side handle (9) by turning the grip counterclockwise.
- Set the depth stop (8) to the required position. The maximum drilling depth is equal to the distance between the tip of the drill bit and the front end of the depth stop.
◆ Tighten the side handle by turning the grip clockwise.
Switching on and off (Fig A)
Warning! Before plugging in to the power source, make sure the variable speed switch can be flipped freely, and can return to its original position once released. Please check switch lock on position before turn on and make sure switch lock off before plugging in to the power source.
◆ To switch the tool on, press the variable speed switch (3). The tool speed depends on how far you press the switch.
- As a general rule, use low speeds for large diameter drill bits and high speeds for smaller diameter drill bits.
- For continuous operation, press the lock-on button (2) and release the variable speed switch.
- To switch the tool off, release the variable speed switch. To switch the tool off when in continuous operation, press the variable speed switch once more and release it.
Replacing the SDS-Plus tool holder with the key-less chuck (SMEH210 - Fig G)
- Turn the locking collar (6) into the unlocking position and pull the SDS Plus Tool Holder (7) off.
◆ Push the keyless chuck (13) onto the spindle and turn the locking collar (14) to the locking position.
To replace the keyless chuck with the SDS Plus tool holder, first remove the keyless chuck the same way the tool holder was removed. Then place the tool holder the same way the keyless chuck was placed making sure to turn the locking collar to the locking position.
Warning! Never use standard chucks in the hammer-drilling mode.
Selecting the operating mode (Fig B)
The tool can be used in the following operating modes:

Rotary drilling: for drilling into steel, wood and plastics.

Hammer drilling: for concrete and masonry drilling operations. Bit rotation: non-working position used only to rotate a flat chisel into the desired position.

Hammering only: for light chipping and chiselling. In this mode the tool can also be used as a lever to free a jammed drill bit.
- To select the operating mode, press the mode selector button and rotate the mode selector switch (5) until it points to the symbol of the required mode.
- Release the mode selector button and check that the mode selector switch is locked in place.
Warning! Do not select the operating mode when the tool is running.
Proper hand position (Fig D, Fig F)
Warning! To reduce the risk of serious personal injury, ALWAYS use proper hand position as shown.
Warning! To reduce the risk of serious personal injury, ALWAYS hold securely in anticipation of a sudden reaction. Proper hand position requires one hand on the side handle (9), with the other hand on the main handle (1).
Rotary drilling (Fig B, Fig D, Fig C1/C2, Fig G)
- For drilling in steel, wood and plastics, set the operating mode selector (5) to the 🔊 position.
◆ Fit the drill chuck assembly. Depending on your tool, follow either of the following instructions:
SFMEH210: Replace the SDS Plus tool holder (7) with the keyless chuck (13).
Warning! Never use drill chucks in the hammer drilling mode.
Hammer drilling (Fig B)
- For hammer drilling in masonry and concrete, set the operating mode selector (5) to the ⬤ position.
- The drill bit has to be placed accurately onto the drill hole position. After that, pull the switch for optimal effects.
Make sure the tool is in the correct position to prevent the drill from deviating from the hole.
- When the drill hole is clogged with debris or fine powder, please don't exert any more pressure. Tool should be put in free-running state before removing part of the drill bit from the hole. If repeated a few times, the blockage in the hole would be cleared, and normal drilling can resume.
Warning! When the drill bit hits the steel rebar in the cement, the tool may recoil dangerously. Please hold the tool tightly in a balanced and stable position at all times to prevent it from recoiling dangerously.
Safety clutch
All rotary hammer are equipped with a safety clutch that reduces the maximum torque reaction transmitted to the operator in case of jamming of a drill bit. This feature also prevents the gearing and electric motor from stalling. The torque limiting clutch has been factory-set and cannot be adjusted.
Overload coupling device
If the drill bit is caught or hooked, the driving force transmitted to the drill shaft will be cut off. This would generate a strong recoil, so it would be necessary to hold the tool tightly with both hands to remain in a stable position.
Chipping and chiselling (Fig B)
- Set the mode selector switch (5) to the "hammering only" position.
◆ Insert the appropriate chisel and rotate it by hand to lock it into position. - Adjust the side handle (9) as required.
- Switch on the tool and start working.
- Always switch off the tool when work is finished and before unplugging.
Warning! Do not use this tool to mix or pump easily combustible or explosive fluids (benzine, alcohol, etc.). Do not mix or stir inflammable liquids labelled accordingly.
Accessories
The performance of your tool depends on the accessory used. Stanley Fat Max and Piranha accessories are engineered to high quality standards and designed to enhance the performance of your tool. By using these accessories you will get the very best from your tool.
Maintenance
Your Stanley Fat Max corded/cordless appliance/tool has been designed to operate over a long period of time with a minimum of maintenance. Continuous satisfactory operation depends upon proper tool care and regular cleaning.
Warning! Before performing any maintenance on corded/cordless power tools:
◆ Switch off and unplug the appliance/tool.
- Or switch off and remove the battery from the appliance/tool if the appliance/tool has a separate battery pack.
- Or run the battery down completely if it is integral and then switch off.
◆ Unplug the charger before cleaning it. Your charger does not require any maintenance apart from regular cleaning. - Regularly clean the ventilation slots in your appliance/tool/charger using a soft brush or dry cloth.
◆ Regularly clean the motor housing using a damp cloth. Do not use any abrasive or solvent-based cleaner.
◆ Regularly open the chuck and tap it to remove any dust from the interior (when fitted).
Mains plug replacement (U.K. & Ireland only)
If a new mains plug needs to be fitted:
◆ Safely dispose of the old plug.
- Connect the brown lead to the live terminal in the new plug.
◆ Connect the blue lead to the neutral terminal.
Warning! No connection is to be made to the earth terminal. Follow the fitting instructions supplied with good quality plugs. Recommended fuse: 10 A.
Protecting the environment

Separate collection. Products and batteries marked with this symbol must not be disposed of with normal household waste.
Products and batteries contain materials that can be recovered or recycled reducing the demand for raw materials. Please recycle electrical products and batteries according to local provisions. Further information is available at www.2helpU.com
Technical data
| SFMEH200(Type 1) | SFMEH210(Type 1) | ||
| Voltage V | 230 230 | ||
| Frequency Hz | 50 50 | ||
| Power input W | 780 800 | ||
| No-load speed min | -1 | 0 - 1250 0 - 1250 | |
| Impact rate bpm | 0 - 4670 0 - 4670 | ||
| Impact energy (EPTA / Max) J | 2.2 / 23.1 2.4 / 2.4 | ||
| Max drilling capacity | |||
| - Wood mm | 30 30 | ||
| - Metal | mm | 13 13 | |
| - Concrete | mm | 24 26 | |
| Weight | kg | 2.6 | 2.7 |
| SFMEH200 Level of sound pressure according to EN60745: | ||
| Sound pressure ( L_pA ) dB(A) 92.5 | ||
| Sound pressure uncertainty ( K_pA ) dB(A) 3 | ||
| Sound power ( L_wA ) dB(A) 103.5 | ||
| Sound power uncertainty ( K_wA ) dB(A) 3 | ||
| Vibration emission value ah: | ||
| (a_h,CHod) m/s | ^2 | 16.3 |
| (a_h,HD) m/s | ^2 | 17.2 |
| Uncertainty (K) m/s | ^2 | 1.5 |
| SFMEH210 Level of sound pressure according to EN60745: | ||
| Sound pressure (L _PA ) dB(A) 90.7 | ||
| Sound pressure uncertainty (K _PA ) dB(A) 3 | ||
| Sound power (L _WA ) dB(A) 101.7 | ||
| Sound power uncertainty (K _WA ) dB(A) 3 | ||
| Vibration emission value ah: | ||
| (a _n,CHed ) m/s | ^2 | 17.6 |
| (a _n,HD ) m/s | ^2 | 17.4 |
| Uncertainty (K) m/s | ^2 | 1.5 |
EC declaration of conformity
MACHINERY DIRECTIVE
CE
SMEH200, SMEH210 Rotary Hammer Stanley Europe declares that these products described under "technical data" are in compliance with: 2006/42/EC, EN 60745-1, EN 60745-2-6
These products also comply with Directive 2014/30/EU and 2011/65/EU. For more information, please contact Stanley Europe at the following address or refer to the back of the manual.
The undersigned is responsible for compilation of the technical file and makes this declaration on behalf of Stanley Europe.

Stanley Fat Max Europe, Egide Walschaertsstraat14-18, 2800 Mechelen, Belgium
27/06/2019
Guarantee
Stanley Europe is confident of the quality of its products and offers consumers a 12 month guarantee from the date of purchase. This guarantee is in addition to and in no way prejudices your statutory rights. The guarantee is valid within the territories of the Member States of the European Union and the European Free Trade Area.
To claim on the guarantee, the claim must be in accordance with Black&Decker Terms and Conditions and you will need to submit proof of purchase to the seller or an authorised repair agent. Terms and conditions of the Stanley Europe 1 year guarantee and the location of your nearest authorised repair agent can be obtained on the Internet at www.2helpU.com, or by contacting your local Stanley Europe office at the address indicated in this manual.
Please visit our website www.stanley.eu/3 to register your new Stanley Fat Max product and receive updates on new products and special offers.
.stanley.eu/3
EasyManual