Stream SO410 - Radio SONORO - Free user manual and instructions
Find the device manual for free Stream SO410 SONORO in PDF.
| Technical Features | DAB+/FM digital radio, Bluetooth, built-in Wi-Fi |
|---|---|
| Dimensions | Compact dimensions for easy placement |
| Weight | Lightweight, easy to carry |
| Usage | Listening to online and local radio stations, audio streaming via Bluetooth |
| Maintenance | Regular cleaning with a soft cloth, firmware updates via Wi-Fi |
| Safety | Use only with a compatible power adapter, avoid exposure to water |
| General Information | Compatible with streaming apps, intuitive user interface |
Frequently Asked Questions - Stream SO410 SONORO
User questions about Stream SO410 SONORO
0 question about this device. Answer the ones you know or ask your own.
Ask a new question about this device
Download the instructions for your Radio in PDF format for free! Find your manual Stream SO410 - SONORO and take your electronic device back in hand. On this page are published all the documents necessary for the use of your device. Stream SO410 by SONORO.
USER MANUAL Stream SO410 SONORO
2 Getting to know your sonoroSTREAM 54
2.1 Scope of delivery. 54
2.2 Controls and ports 55
2.3 Technical data 58
2.4 Marks of approval and certificates 60
3 Getting started. 61
3.1 Unpacking sonoroSTREAM 61
3.2 Connecting the power supply 61
3.3 Inserting the battery in the remote control 61
3.4 Using the antennas 62
3.5 Performing initial setup 62
4 Basic operation 64
5 Using the menus. 65
6 Display icons. 66
7 FM Radio mode 67
7.1 Operation 67
7.2 Setup menu 68
8 DAB Radio mode. 69
8.1 Operation 69
8.2 Setup menu 70
9 Internet Radio mode 71
9.1 Operation 71
9.2 Setup menu 72
9.3 Station list 72
9.4 Using the web portal 73
10 Bluetooth mode 74
10.1 Pairing 74
10.2 Operation 74
10.3 Setup menu 75
11 AUX In mode. 76
11.1 Operation 76
11.2 Setup menu 76
12 Streaming services 77
12.1 Operation 78
12.2 Setup menu 79
13 My Music mode 80
13.1 Operation 80
13.2 Setup menu 81
14 Alarms 83
14.1 Setting alarms 83
14.2 Turning the alarms on or off 84
14.3 Deactivating a sounding alarm 84
14.4 Snooze 84
15 Sleep timer 85
16 System Settings 86
16.1 Accessing the system settings 86
16.2 Streaming audio quality 86
16.3 Equalizer 86
16.4 Network 86
16.5 Time/date 87
16.6 Inactive Standby 87
16.7 Language 87
16.8 Factory Reset 88
16.9 Software update 88
16.10 Setup Wizard 88
16.11 Info 88
16.12 Privacy police 88
16.13 Backlight 88
17 Using UNDOK™ app to control sonoroSTREAM 89
18 Troubleshooting 91
19 Cleaning 93
20 Warranty. 94
1. Introduction
Thank you for purchasing sonoroSTREAM. This operating manual and safety manual provide all the information required for trouble-free and safe operation of sonoroSTREAM.
- Read the operating manual and the safety manual in their entirety before using sonoproSTREAM.
- Keep the operating manual for future reference.
If you pass sonoroSTREAM on to a third party, please provide them with the operating manual and safety manual as well. - Failure to follow the operating manual and safety manual can result in serious injury or damage to sonoroSTREAM.
We assume no liability for damage resulting from failure to observe the instructions in this operating manual and safety manual.
The images in this operating manual are intended to illustrate the actions necessary to operate sonoroSTREAM.
Enjoy your sonoroSTREAM!
1.1 Contact data
| Address | sonoro audio GmbH, Hammer Landstraße 45, 41460 Neuss, Germany |
| Phone | +49 2131 8834-141 |
| Fax | +49 2131 7517-599 |
| support@sonoro.de | |
| Internet | www.sonoro.de |
1.2 Intended use
sonoroSTREAM is intended for personal use only. It is not intended for commercial use. sonoroSTREAM is solely intended for the following tasks:
- Playback of FM/DAB+/Internet radio and streaming services.
Audio playback from external devices connected via AUX
Audio playback from Bluetooth-enabled devices (e.g. mobile phones). - Charging of external devices that are connected via the USB port.
Any other use is considered improper use and is prohibited. We assume no liability for damages resulting from improper use.
2 – Getting to know your sonoroSTREAM
2.1 Scope of delivery
In addition to sonoroSTREAM itself, the following accessories are also included in the scope of delivery:
Remote control
One button cell (CR2025, 3 V)
VDE power adapter
Quick start guide
- Operating manual
- Safety manual
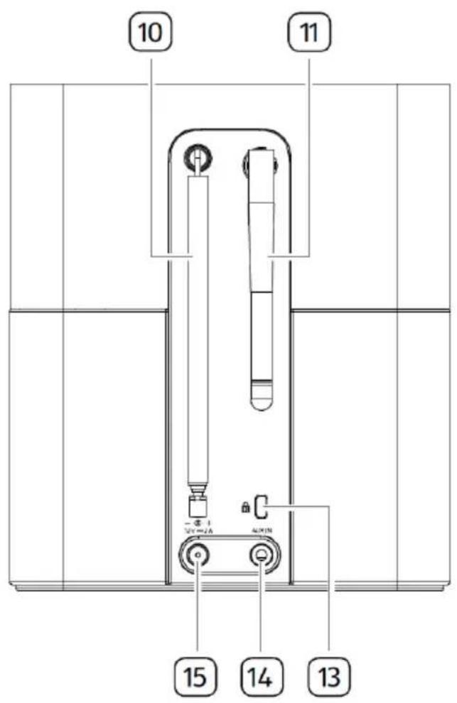
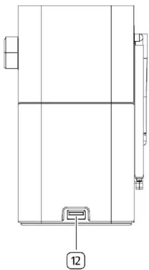
2.2 Controls and ports
Front view

GB
-
Display
-
Back button (←)
-
Setup button (SETUP)
-
Infra-red sensor and ambinet light sensor (behind the logo)
-
Menu button (MENU)
-
Standby-button (O)
-
Volume knob, navigation knob, OK button (press the knob)
9 Favourite button (☆)
- Play/pause button (


- FM/DAB antenna
- Wi-Fi-Antenna
- USB port
- Key Lock, anti-theft port
- Auxiliary input jack (3.5 mm)
- DC power input jack

GB
- Alarm button (
- Volume up button (+)
- Standby-button (O)
- Right button ()
- Menu button (MENU)
- Infra-red transmitter
- Strap hole
-
Battery compartment
-
Information button (INFO)
- Preset station buttons (1-5)
26 Setup button (SETUP) - Favourite button (☆)
- Volume down button (-)^*
29.Left button ()^ - Pay/pause button (▶), OK button
*Navigation buttons ( , ,+, - )
2.3 Technical data
| Specification | Value |
| Dimensions (W×D×H) | approx. 149 x 102 x 171 mm |
| Weight | approx. 1.1 kg |
| Operating temperature | 0°C ~ +40°C |
| Display | 2.4" TFT colour display |
| Frequency range, FM | 87.50 MHz-108.00 MHz |
| DAB/DAB+ | Band III, 174.928 MHz-239.200 MHz |
| Internet radio | More than 25,000 stations worldwide |
| Station presets | 30 for each FM | DAB/DAB+ | Internet radio | 10 for Spotify | 8 for each Deezer | Amazon Music| |
| Music player support media formats | AAC, AAC+, MP3, WAV, WMA, FLAC Max. 16 bits, 2 channels, sample rate 48KHz |
| USB charging | Output: DC 5V = = = 2.1A |
| AUX-IN | Port: 3.5mm jack Sensitivity: 300 mV |
| Streaming | Bluetooth | Spotify | Deezer | Amazon Music | DLNA | UPnP |
| Network supported | IEEE 802.11 b/g/n, 2.4G 2.412GHz-2.472GHz z |
| Max. transmitted power | < 20dBm |
| Encrypted key | WEP, WPA, WPA2 (PSK), WPS |
| Bluetooth | Version 4.0, Profile : AVRCP v1.4, A2DP 1.2 2.402GHz-2.480GH |
| Max. transmitted power | < 4dBm |
| Battery | CR2025 (remote control) |
| Standby Power | < 1.0W |
| Network Standby | < 2.0W |
| AC/DC adapter | Information |
| Manufacturer's name, commercial registration number and address | Ten Pao Industrial Co., Ltd. 10738198 Rm 10-11 6/F Kwong Sang Hong Ctr., 151-153 Hi Bun Road, Kwun Tong, Kowloon, Hong Kong |
| Model identifier | S024AMV1200200 |
| Input voltage | AC 100-240V |
| Input AC frequency 50/60Hz | |
| Output voltage DC 12.0V | |
| Output current 2.0A | |
| Output power 24.0W | |
| Average active efficiency | >86.2% @115VAC/60Hz / @230V / 50Hz |
| Efficiency at low load (10%) | >83.0% @115VAC/60Hz / @230V / 50Hz |
| No-load power consumption | <0.10W @115VAC/60Hz / @230V / 50Hz |
2.4 Marks of approval and certificates

The Bluetooth® word mark and logos are registered trademarks owned by the Bluetooth SIG, Inc. and any use of such marks by sonoro audio GmbH is under license. Other trademarks and trade names are those of their respective owners.

UPnP ^TM is a trademark of the UPnP ^TM Forum.


The Spotify software is subject to third party licenses found here: http://www.spotify.com/connect/third-party-licenses


Deezer and Deezer logo are international trademarks of Deezer S.A., registered in France and other countries.

Amazon, Amazon Music Unlimited and all related logos are trademarks of Amazon.com, Inc. or its affiliates.
3 Getting started
3.1 Unpacking sonoroSTREAM
- Take sonoroSTREAM out of the packaging and check whether sonoroSTREAM or the individual parts exhibit damages. If this is the case, do not use sonoroSTREAM. Should you detect any damage, contact your dealer or sonoro audio GmbH customer support immediately.
- Check to make sure that the delivery is complete (see chapter "Scope of delivery").
- Place sonoroSTREAM at a suitable location. If you want to put your sonoroSTREAM on a natural wood surface, please make sure that it is suitable. On oiled and waxed surfaces may possibly cause stains
- Remove the protective film from the display.
3.2 Connecting the power supply
- Insert the connector of the power adapter into the DC power input jack on the back of sonoroSTREAM.
- Insert the power plug into a wall socket. sonoroSTREAM is turned on.

Remove the protective cover before inserting the DC connector.
3.3 Inserting the battery in the remote control
- Open the battery compartment cover on the back of the remote control by turning it anticlockwise using a small coin.
- Insert the supplied batteries (CR2025, 3 V) with the label (+) side up.
- Replace and close the battery compartment cover by turning the cover clockwise using a small coin.


Do not block the infra-red sensor on the sonoroSTREAM and the infra-red transmitter on the remote control during use.
3.4 Using the antennas
- Pull the arms of the rod antenna apart and align the FM/DAB antenna so that you have the best possible reception.
- Lift Wi-Fi antenna upwards.
3.5 Performing initial setup
When sonoroSTREAM is powered on for the first time, the "Language" (to be used in the display) selection appears on the display. Then, the "Setup wizard" appears on the display. Follow the instructions below to configure some basic settings.
- When the "Setup Wizard" is displayed, press + or - on the remote control (or rotate the navigation knob) to select "YES" and then press OK to start the setup.

- You are then prompted to select:
Time format(12 or 24-hour)
Source of auto update(Update from radio, Internet or no update).
Depending on the selection you have made, follow the instructions on the display to further set up date and time, time zone, daylight saving or wireless network. Rotate the navigation knob on sonoroSTREAM or press the navigation buttons on the remote control to make selections and then press OK to confirm (see chapter "Using the menus").
When Update from Internet is selected, Wi-Fi connection must be first established. When entering the key of your wireless network, rotate the navigation knob on sonoroSTREAM or press the navigation buttons on the remote control to select a character and then press OK to confirm. To delete the last entry, select [BKSP]. To cancel entering the key, select [CANCEL]. To confirm the entered key, select [OK].

- When "Setup wizard completed" appears, press OK to exit the setting.


To run the setup wizard again, go to [System Settings] and then select [Setup Wizard] (See chapter "System Settings").
4 Basic operation
| To turn on, | Press ∅ sonoroSTREAM starts operation from the last selected playback mode. |
| To turn off (standby mode), | Press ∅ The time and date (if set) are displayed. sonoroSTREAM will automatically turn off without playback and operation after 15 minutes. |
| To select a playback mode, | Press MENU once, then ← or ➔ (or rotate the navigation knob) to select a playback mode and then press OK to confirm. Mode sequence: FM-Radio > DAB-Radio > Internet-Radio > Bluetooth > Aux In > Spotify> Deezer > Amazon Music > My Music |
| To control the volume, | Press + or - on the remote control or rotate the volume knob on sonoroSTREAM. |
5 Using the menus
There are three types of menus in sonoroSTREAM.
- Setup menu (For specific settings in a playback mode, e.g. [Recall from Preset] in FM mode)
System Settings (For general settings, e.g. time/date, language etc.) - Main menu (For accessing the playback modes, sleep timer and alarms)
| To access the menus, Press SETUP. Contents of the menus may differ in different playback modes. | |
| To select an option in the menus, | Rotate the navigation knob on sonoroSTREAM or press + or - on the remote control. |
| To confirm a selection in the menus, | Press OK. (On sonoroSTREAM, press the navigation knob) |
| To go back one level in the menu, | Press ↦. |
6 Display icons
Refer to the table below for the meanings of the display icons when they show on the display.
| Wi-Fi connection is established (with signal strength). | |
| Wi-Fi connection is disconnected. | |
| A Bluetooth device is connected. | |
| Alarm 1 is activated. | |
| Alarm 2 is activated. | |
| The radio station is in the preset list. | |
| FM RDS information is received. | |
| Radio signal is being received (with signal strength). | |
| Repeat all playback mode is active. | |
| Repeat one playback mode is active | |
| Shuffle playback mode is active. | |
| Repeat all and shuffle playback mode is active. | |
| Sleep timer is active. | |
| Stereo sound broadcast is available. | |
| Sound output is muted. | |
| Playback is paused. |
7 FM Radio mode
7.1 Operation
| To access the FM Radio mode, | Press MENU once, then ▲ or ▷ (or rotate the navigation knob) to select the FM Radio mode and then press OK to confirm. |
| To manually tune the frequency, | Press ▲ or ▷. Or, select [Manual tune] in the setup menu and then roate the navigation knob. |
| To automatically tune to the next available station, | Press and hold ▲ or ▷. Or, press the navigation knob to start the automatic tuning. |
| To store a radio station in the preset list, | A maximum of 30 radio stations can be stored. 1. Press and hold ▲ until the [Save to Preset] is shown. 2. Press + or - (or rotate the navigation knob) to select a preset station number and then press OK to confirm. |
| To directly store a radio station in the preset list (1-5), | Tune to a station and then press and hold a preset station button (1-5) to directly store it in the preset list. |
| To recall a radio station in the preset list, | 1. Press ▲ and the [Recall from Preset] is shown. 2. Press + or - (or rotate the navigation knob) to select a radio station in the preset list and then press OK to confirm. Or, press preset station buttons (1-5) to access a stored preset station (1-5). |
| To browse the radio station information (if available), | Press INFO repeatedly. |
| To mute or restore the sound output, | Press ▲. |
7.2 Setup menu
Press SETUP in the FM mode to access the setup menu (see chapter "Using the menus"). The following options are available and the current settings (if applicable) are marked with an asterisk () .
[Manual tune]
To enable manual tuning of frequency.
[FM Scan Setting]
To decide if only stations with strong signals are scanned when performing automatic tuning.
[FM Reception Setting]
To listen radio in stereo or mono sound output.
[System Settings]
See chapter "System Settings".
[Main menu]
To access other playback modes, sleep timer or alarms.
8 DAB Radio mode
8.1 Operation
| To access the DAB Radio mode, | Press MENU once, then ← or ➔ (or rotate the navigation knob) select the DAB Radio mode and then press OK to confirm. |
| To search for DAB radio stations, | The first time you select the DAB mode, or if the station list is empty, sonoroSTREAM will automatically perform a full scan and store all available stations in the station list. |
| To tune to a station, Press | ← or ➔. |
| To store a radio station in the preset list, | A maximum of 30 radio stations can be stored. 1. Press and hold ☆ until the [Save to Preset] is shown. 2. Press + or - (or rotate the navigation knob) to select a preset station number and then press OK to confirm. |
| To directly store a radio station in the preset list (1-5), | Tune to a station and then press and hold a preset station button (1-5) to directly store it in the preset list. |
| To recall a radio station in the preset list, | 1. Press ☆ and the [Recall from Preset] is shown. 2. Press + or - (or rotate the navigation knob) to select a radio station in the preset list and then press OK to confirm. Or, press preset station buttons (1-5) to access a stored preset station (1-5). |
| To browse the radio station information* (if available), | Press INFO repeatedly. |
| To mute or restore the sound output, | Press ▷. |
*DAB information (if available) includes: Station name, Dynamic Label Segment (DLS), Signal strength, Program type (PTY), Ensemble Name, Frequency, Signal error rate, Bit rate and audio status, Codec, and Time and date.
8.2 Setup menu
Press SETUP in the DAB mode to access the setup menu (see chapter "Using the menus"). The following options are available and the current settings (if applicable) are marked with an asterisk () .
[Station List]
To display all available stations.
[Scan]
To scan and store all available stations.
[Manual Tune]
To manually tune the frequency. The list of available digital radio ensembles is shown.
[Prune invalid Stations]
To remove all invalid stations from the station list.
[DRC]
Some DAB broadcasts offer dynamic range compression (DRC).
Compressing the dynamic range of a radio signal can increase the volume of quiet sounds and reduce the volume of loud sounds. You can select high, low or off level. High level is recommended for noisy environment.
[Station Order]
To define how the stations are listed when browsing the station list. Options are:
[Alphanumeric]: Arrange the stations in alphabetical order,
- [Ensemble]: List groups of stations that are broadcast together on the same ensemble, and
- [Valid]: List valid stations first, then off-air stations.
[System Settings]
See chapter "System Settings".
[Main menu]
To access other playback modes, sleep timer or alarms.
9 Internet Radio mode
9.1 Operation
Wi-Fi or Ethernet Internet connection must be established first to use the Internet Radio (see chapters "Performing initial setup" and "Network").
| To access the Internet Radio mode, | Press MENU once, then ▲ or ▷ (or rotate the navigation knob) to select the Internet Radio mode and then press OK to confirm. sonoroSTREAM starts connecting to the previously connected network and then the last listened station. |
| To tune to a radio station or podcast, | See chapter "Station list". |
| To store a radio station in the preset list, | A maximum of 30 radio stations can be stored. 1. Press and hold ▷ until the [Save to Preset] is shown. 2. Press + or - (or rotate the navigation knob) to select a preset station number and then press OK to confirm. |
| To directly store a radio station in the preset list (1-5), | Tune to a station and then press and hold a preset station button (1-5) to directly store it in the preset list. |
| To recall a radio station in the preset list, | 1. Press ▷ and the [Recall from Preset] is shown. 2. Press + or - (or rotate the navigation knob) to select a radio station in the preset list and then press OK to confirm. Or, press preset station buttons (1-5) to access a stored preset station (1-5). |
| To browse the station information* (if available), | Press INFO repeatedly. |
*Station information (if available) includes: Artist and track name, Station description, Station genre and location, Signal reliability, Codec and sampling rate, Playback buffer, and Date.
9.2 Setup menu
Press SETUP in the Internet Radio mode to access the setup menu (see chapter "Using the menus"). The following options are available and the current settings (if applicable) are marked with an asterisk () .
- [Last listened]
To tune to your last listened radio stations.
[Station List]
To tune to any available Internet radio stations (See chapter "Station list").
[System Settings]
See chapter "System Settings".
[Main menu]
To access other playback modes, sleep timer or alarms.
9.3 Station list
The following menus and sub-menus are available in the [Station List]:
[Local (name of your location)]
To browse and tune to any radio stations available in your area. The stations are grouped into several categories.
[Stations]
- [Location]: To browse and tune to radio stations by location.
- [Genre]: To browse and tune to radio stations by genre.
- [Search stations]: To search for any available radio stations by entering keywords.
- [Popular stations]: To browse and tune to the most popular Internet radio stations.
- [New stations]: To browse and tune to the latest Internet radio stations.
[Podcasts]
- [Location]: To browse and tune to podcasts by location.
- [Genre]: To browse and tune to podcasts by genre.
- [Search podcasts]: To search for any available podcasts by entering keywords.
[Help]
- To get help when the Internet radio does not work properly.
9.4 Using the web portal
The Frontier Silicon Internet Radio portal website allows you to organise your "My favourites" and add new Internet radio stations on a computer. To do so, you need to first register at the web portal.
- In the Internet Radio mode, press SETUP and then go to [Station List] > [Help]. Write down the access code.
- Go to http://nuvola.link/sr on the web browser of your computer.
- Register a new account with the access code.
- Following the instructions in the web portal, use the "Manage Favourites" and "My added stations" features to add radio stations.
The added stations in "My favourites" can be accessed through [My favourites] in the Internet Radio mode of sonoroSTREAM.
The added stations in "My added stations" can be accessed through [My added stations] in the Internet Radio mode of sonoroSTREAM.
10 Bluetooth mode
sonoroSTREAM can connect to Bluetooth-enabled players (e.g. mobile phone) within a range of approximately 10 meters (30 feet).
10.1 Pairing
- Press MENU once, then or (or rotate the navigation knob) to select the Bluetooth mode and then press OK to confirm.
The small Bluetooth icon is blinking, indicating that sonoroSTREAM is ready for pairing. - On your Bluetooth-enabled player, turn on the Bluetooth function and search for available Bluetooth devices.
- Select "sonoroSTREAM" in the list of available Bluetooth devices to start pairing.
The Bluetooth icon stops blinking when pairing is complete.
10.2 Operation
| To access the Bluetooth mode, | Press MENU once, then ▲ or ▷ (or rotate the navigation knob) to select the Bluetooth mode and then press OK to confirm. |
| To start playback, | Select an audio file from your Bluetooth- enabled player and start playback. |
| To pause or resume playback, | Press ▪. |
| To skip to the previous or next audio file, | Press ▪ or ▷. |
| To quickly search backward or forward within an audio file, | During playback, press and hold ▲ or ▷. |
| To disconnect the Bluetooth connection, | • Switch to another playback mode, or • Select [BT disconnect] from the setup menu (see below), or • Press and hold △. |
10.3 Setup menu
Press SETUP in the Bluetooth mode to access the setup menu (see chapter "Using the menus"). The following options are available and the current settings (if applicable) are marked with an asterisk () .
- [Bluetooth disconnect]
To disconnect the Bluetooth connection.
[System Settings]
See chapter "System Settings".
[Main menu]
To access other playback modes, sleep timer or alarms.
11 AUX In mode
11.1 Operation
Your external player (e.g. mp3 player) must be connected to the auxiliary input jack of sonoroSTREAM with an audio cable (with 3.5mm connector, not supplied).
| To access the AUX In mode, | Press MENU once, then press \( \blacktriangleleft \) or \( \blacktriangleright \) . (or rotate the navigation knob) to select the AUX In mode and then press OK to confirm. |
| To start and control playback, | Perform all playback operations on the external player. |
| To mute or restore the sound output, | Press▶ button. |
11.2 Setup menu
Press SETUP in the AUX In mode to access the setup menu (see chapter "Using the menus"). The following options are available and the current settings (if applicable) are marked with an asterisk () .
[System Settings]
See chapter "System Settings".
[Main menu]
To access other playback modes, sleep timer or alarms.
12 Streaming services
Your sonoroSTREAM can play content from the following streaming services:






You will also find the symbols of these services in the display of your sonoroSTREAM.

Please note: The use of streaming services requires contracts with the streaming providers; these may cause costs. In particular, free offers often contain advertising. Changes are in the responsibility of the streaming services. Please inform yourself on the homepages of the providers.
We recommend that you first install the UNDOK™ app on the device that you want to use to control your sonoroSTREAM (this can be a smartphone or tablet, for example).

This device (eg. smartphone) must be in the same network as your sonoroSTREAM!
For hints how to deal with the UNDOK™ app please refer to chapter 17.

Occasionally, the services can also be operated directly with the providers app or the sonoroSTREAM itself. Please check with the provider.
12.1 Operation
The procedures described below applies analogously to all available streaming services.
| Selection of a streaming service | Press MENU once, then press or (or rotate the navigation knob) to select the desired streaming service and then press OK to confirm. The symbols of the services listed above will appear accordingly in the display of your sonoroSTREAM. |
| Log in a streaming account (Deezer, Amazon Music), | To use a streaming service on your sonoroSTREAM, sign in to sonoroSTREAM or the UNDOKTM app installed on your mobile device with your account. Follow the instructions on the screen. |
| How to use Spotify Connect, | Use your phone, tablet or computer as a remote control for Spotify. Go to Spotify.com/connect to learn how. |
| To pause or resume playback, | Press▶ |
| To skip to the previous or next audio file, | Press or▶. |
| To store a playback item in the preset list, | A maximum of 8 playback items can be stored for Deezer and Amazon Music, and 10 for Spotify. 1. Press and hold until the [Save to preset] is shown. 2. Press + or - (or rotate the navigation knob) to select a preset item number and then press OK to confirm. |
| To directly store a playback item in the preset list (1-5), | Select a playback item and then press and hold a preset station button (1-5) to directly store it in the preset list. |
| To recall a playback item in the preset list, | 1. Pres ☆ and the [Recall from Preset] is shown. 2. Press + or - (or rotate the navigation knob) to select a playback item in the preset list and then press OK to confirm. Or, press preset station button (1-5) to directly access a preset playback item. |
| To browse the station information (if available), | Press INFO repeatedly. |
GB
12.2 Setup menu
Press SETUP in the Steaming music mode to access the setup menu (see chapter "Using the menus"). The following options are available and the current settings (if applicable) are marked with an asterisk(*).
[System Settings]
See chapter "System Settings".
[Main menu]
To access other playback modes, alarm or sleep timer.
13 My Music mode

NOTICE!
Risk of damage!
Improper handling of the sonoroSTREAM may cause damage.
Do not connect the sonoroSTREAM directly to the USB port of a computer or other external storage media such as external hard disk.

My Music mode can play back audio files stored on a from a media server (UPnP) sharing the same Wi-Fi network with the sonoroSTREAM.
13.1 Operation
| To access the My Music mode, | Press MENU once, then ▲ or ▷ (or rotate the navigation knob) to select the My Music mode and then press OK to confirm. |
| To pause or resume playback, | Press ▶ |
| To skip to the previous or next audio file, | Press △ or ▲ . |
| To quickly search backward or forward within an audio file, | During playback, press and hold △ or ▲ . |
| To add an audio file to "My Playlist", | Press and hold △ or the navigation knob when the file is highlighted in the selection menu. |
| To select a playback mode, | Press ☆ repeatedly. • = Repeat all • = Repeat one • = Shuffle • = Repeat all and shuffle |
| To browse the information (if available) of the audio file, | Press INFO repeatedly. |
13.2 Setup menu
Press SETUP in the My Music mode to access the setup menu (see chapter "Using the menus"). The following options are available and the current settings (if applicable) are marked with an asterisk () .
[Shared Media]
To search for audio files on the Wi-Fi or Ethernet network.
Once a media server has been found, a selection menu will show for selection of audio files for playback from sonoroSTREAM.
[My Playlist]
To browse and play back audio files stored in "My playlist".
[Repeat]
To turn on or off the repeat playback mode of the current folder/ playlist.
[Shuffle]
To turn on or off the shuffle playback mode of the current folder/ playlist.
[Clear My Playlist]
To clear entries from "My Playlist".
[Prune Servers]
If this setting is set to "YES", inactive media servers will be displayed. You can then select a media server and "wake it up" (WOL "wake on LAN" function) in order to play back audio files from sonoroSTREAM.
[System Settings]
See chapter "System Settings".
[Main menu]
To access other playback modes, alarm or sleep timer.
14 Alarms
14.1 Setting alarms
You can set up two alarms.
- Press and hold to access the alarm setting mode.
Alternatively, press SETUP in any playback mode and then select [Main menu] and then [Alarm].
You may also access the alarm setting mode when sonoroSTREAM is in the standby (off) mode. To do so, press and hold
- Select the alarm you want to set (Alarm 1 or 2) and then press OK.
- The following options show how to set the alarm. Rotate the navigation knob or press the navigation buttons to perform the settings (see chapter "Using the menus").
[Enable]
To turn on or off and set frequency of the alarm. The following options are available:
- [Off]: To deactivate the alarm.
[Daily]: The alarm activates everyday.
[Once]: The alarm activates once only.
[Weekends]: The alarm activates on Saturdays and Sundays. - [Weekdays]: The alarm activates from Monday to Friday.
[Time]
To set the alarm time.
- [Mode]
To select the alarm sound source. The following options are available:
[Buzzer]
[Internet Radio]
[DAB Radio]
[FM Radio]
- [Preset]
To select the last listened station or a preset station as the alarm sound source. This only shows when Internet Radio, DAB or FM is selected in [Mode].
[Volume]
To set the volume of the alarm sound.
[Save]
To save the current settings.
Once [Save] is selected, the alarm settings will be stored. If an alarm is activated, the alarm icon (1/2) will show.
Once [Save] is selected, the alarm settings will be stored. If an alarm is activated, the corresponding alarm icon show.
14.2 Turning the alarms on or off
- When sonoroSTREAM is in operation mode or in the standby (off) mode, press repeatedly to cycle through the alarm on or off settings.
| Press | Alarm 1 | Alarm 2 |
| 1x | On | Off |
| 2x | Off | On |
| 3x | On | On |
| 4x | Off | Off |
- When an alarm is turned on, the corresponding alarm icon( 0/2) will show.
14.3 Deactivating a sounding alarm
- Press or to stop a sounding alarms.
14.4 Snooze
- To temporarily silence (default: 10 min) a sounding alarm, press or the navigation knob.
- Press + or - (or rotate the navigation knob) to change the snooze period (5, 10, 15 or 30 min).
- During the snooze period, the alarm icon will blink and the remaining snooze time will show.
To cancel the snooze function, press or O or
15 Sleep timer
The sleep timer sets the duration of time before sonoroSTREAM turns off automatically.
- Press SETUP in any playback mode and then select [Main menu] and then [Sleep].
- Press + or - (or rotate the navigation knob) to select a sleep timer (5, 10, 15, 30, 45, 60, 90, 105, or 120 min).
- Press OK to confirm the selection.
When the sleep timer is active, the sleep timer icon and the remaining time will be shown. To cancel the sleep timer, select [Sleep OFF].
16 System Settings
16.1 Accessing the system settings
- Press SETUP in any playback mode and then select [System Settings]
Refer to the chapters below for details of each setting option. The current settings (if applicable) are marked with an asterisk () . - See chapter "Using the menus" for browsing and making selections in the system settings.
16.2 Streaming audio quality
The three quality options presented in the System setting apply to music streaming services only.
[Low quality]: Corresponds to the services' lowest quality.
[Normal quality]: Corresponds to the services' mid-level quality.
[High quality]: Corresponds to the services' highest quality.
16.3 Equalizer
- Select one of the sound equalizer options including: [Normal], [Bath], [Jack], [Rock], [Movie], [Classic], [Pop], [News], [My EQ] and [My EQ profiles setup].
[My EQ Profile Setup] allows you to set your own bass and treble levels.
16.4 Network
[Network Wizard]
To establish network connection.
WPS WLAN Setup]
Select this option if your wireless router supports both WPS and PBC setup methods.
[View Settings]
To view the current network information.
[Wlan Region]
To select a WLAN region.
[Manual Settings]
Under the [Wireless] option, select [DHCP enable] to allocate IP address automatically or [DHCP disable] to do it manually.
[NetRemote PIN Setup]
To set up a NetRemote PIN.
[Network Profile]
To display a list of networks saved by sonoroSTREAM.
[Clear Network Settings]
To clear all network settings.
- [Keep Network Connected]
To keep the network connected. This allows you to wake sonoroSTREAM from standby using a remote app.
16.5 Time/date
[Set Time/Date]
To set time and date.
[Auto update]
To select a source (Radio, Internet network or no update) for automatic time update.
If you are updating time from a source (Radio - FM/DAB), the daylight saving setting has no effect.
If you are updating time from the Internet network, set your time zone.
[Set format]
To set 12 or 24-hour time format.
[Settimezone]
To set a time zone.
[Daylight savings]
To enable or disable daylight saving time.
16.6 Inactive Standby
- This option sets the duration of time before sonoroSTREAM turns off automatically. Options include: Off, 2, 4, 5 and 6 hours.
16.7 Language
- This option sets the menu language. Options include: English, German, Danish, Spanish, French, Italian, Dutch, Norwegian, Polish, Portuguese, Finnish, Swedish and Turkish.
16.8 Factory Reset
- This option clears all user-defined settings and replaces them with the original default settings.
16.9 Software update
[Auto Check]
To set to periodically check for update.
[Check now]
To check for update immediately.
If a new software is available, sonoroSTREAM will ask if you want to proceed with an update.
Before software upgrade, make sure that sonoroSTREAM is connected to a stable power connection. Disconnecting power during a software update may damage sonoroSTREAM.
16.10 Setup Wizard
To perform initial setup (see chapter "Performing initial setup").
16.11 Info
This shows the current software version, Spotify version, radio ID and friendly name.
16.12 Privacy police
- Please visit the following page on a PC or mobile device.
www.frontiersmart.com/privacy
16.13 Backlight
[Dimmer level]
To select the brightness level of the display. Options include: [High], [Medium], [Low] or [Auto].
If [Auto] is selected, the brightness level is automatically adjusted according to the ambient light sensor at the front of sonoroSTREAM.
17 Using UNDOK™ app to control sonoroSTREAM
sonoroSTREAM is compatible with the Frontier Silicon's UNDOK™ app. The app offers comprehensive remote control functionality for FS based audio modules with an iOS or Android smart device.
To install and use the UNDOK™ app:
- Download the UNDOK™ app from "App Store" or "Google play" and install it on your iOS or Android smart device.

- Connect your smart device to the same Wi-Fi network as sonoroSTREAM.
- Launch the UNDOK™ app on your smart device. The app will search for compatible audio systems. You may also tap on "Set up audio system" to start searching for audio systems.

- Select "sonoroSTREAM" from the list of available audio systems.

GB
- Control sonoroSTREAM through the UNDOK™ app.

18 Troubleshooting
Malfunctions can occur with any electrical equipment. This is not necessarily due to a defect. As such, you should check the following table to see if you can eliminate the problem yourself.
| Malfunction | Possible cause | Solution |
| No power | Power cable is not properly connected. | Connect the power cable properly. |
| No response from sonoroSTREAM | There is an error in the sonoroSTREAM. | Disconnect and reconnect the power plug. Then turn sonoroSTREAM on |
| Remote control does not work, or only works sporadically | Distance to sonoroSTREAM is too large. | Reduce the distance between the remote control and |
| Battery is empty. | Replace the battery. | |
| No sound or poor sound | Sound is turned off. | Adjust the volume. |
| Headset is plugged in. | Pull the headset out of the jack. | |
| sonoroSTREAM is not set to the correct playback mode. | Select another playback mode. | |
| FM/DAB or Internet reception is poor. | Extend/adjust the FM/DAB antenna or check the Wi-Fi connection. | |
| There is radio interference. | Keep sonoroSTREAM away from other electronic devices. | |
| Alarm does not work. | Alarm is not activated. | Activate the alarm. |
| Alarm volume is set too low. | Increase the alarm volume. | |
| Insufficient Wi-Fi signal strength | The router is too far or blocked. | Place sonoroSTREAM closer to the router or adjust the position of the Wi-Fi antenna. |
GB
| Malfunction | Possible cause | Solution |
| Cannot connect to your Wi-Fi network | Router is not switched on or working properly. | Switch on your router or check the router conditions. |
| Setup method is incorrect. | Check if your router supports WPS and uses the correct setup method (PBC or PIN). | |
| Configure the Wi-Fi settings again. | ||
| Internet radio station does not work sometimes. | Some stations only support a limited number of listeners. | Try again later. |
| Station is not broadcasting. | Try again later. | |
| Some Internet radio stations disappear from the station list. | The station is removed from the list when it stops broadcasting. | Check again later. If the station broadcasts again, it will be brought back to the list. |
| USB device does not work. | ||
| USB device is not charging. | Check the USB cable. |
19 Cleaning

NOTICE!
Material damage due to improper cleaning!
Improper cleaning can result in damage to sonoroSTREAM or cause certain functions to stop working.
- Never use abrasive or solvent-based cleaning agents, as these may damage the surface of sonoroSTREAM.
- Never use hot or compressed air to dry sonoroSTREAM.
- The edges and corners of sonoroSTREAM are vulnerable to pressure. Protect these areas to prevent them from being subjected to excessive pressure.
Cleaning off fingerprints and light soiling
Clean sonoroSTREAM only from the outside with a soft, dry cloth.
Cleaning off heavy soiling
- Clean sonoroSTREAM only from the outside with a slightly damp cloth and then dry sonoroSTREAM with a soft, dry cloth.
20 Warranty
When submitting warranty claims, the following applies without restricting your legal rights:
- Warranty claims can only be asserted within a period of max. 2 years (1 year in North America and Australia), calculated from the date of purchase.
- sonoro audio GmbH shall, at its own discretion, repair or replace sonoroSTREAM free of charge any defects caused by material or manufacturing defects within the warranty period.
- In case of a complaint, please contact our customer service department. You can find contact details under "Contact data" or at www.sonoro.de.
- No new warranty period begins following repair or replacement of sonoroSTREAM. The warranty period of 2 years (1 year in North America and Australia) from date of purchase remains applicable.
- Excluded from the warranty are batteries, damage caused by improper use, normal wear and tear, as well as defects which only minimally affect the value or usability of sonoroSTREAM. The warranty also expires in case of any modifications not made by our authorised service centre.
sonoroSTREAM
SO-410
RADIO INTERNET AVEC WIFI, DAB+ & BLUETOOTH®

Mode d'emploi
Table des matières
1 Introduction 99
- Bouton lecture/pause (


[Recherche complete]
- [Configuration PIN NetRemote]
Pour configurer un NIP NetRemote.
[Profil réseau]
Garder reseau connecte]
http://www.spotify.com/connect/third-party-licenses

deezer
http://www.spotify.com/connect/third-party-licenses

deezer
[NetRemotePIN-setup]
Refer to the table below for the meanings of the display icons when they show on the display.
At sonoro we are putting the utmost effort in to developing state-of-the-art products with impeccable quality standards. It is very important to us that you stay satisfied with your sonoro product for the lifetime of the unit. If for any reason you need assistance or have a warranty claim, please do not hesitate to get in touch with our Service Team.
EasyManual