Stream SO410 - Radio SONORO - Kostenlose Bedienungsanleitung
Finden Sie kostenlos die Bedienungsanleitung des Geräts Stream SO410 SONORO als PDF.
| Technische Merkmale | DAB+/FM Digitalradio, Bluetooth, integriertes Wi-Fi |
|---|---|
| Abmessungen | Kompakte Abmessungen für einfache Platzierung |
| Gewicht | Leicht, einfach zu transportieren |
| Verwendung | Hören von Online- und lokalen Radiosendern, Audio-Streaming über Bluetooth |
| Wartung | Regelmäßige Reinigung mit einem weichen Tuch, Firmware-Updates über Wi-Fi |
| Sicherheit | Nur mit einem kompatiblen Netzadapter verwenden, Wasserkontakt vermeiden |
| Allgemeine Informationen | Kompatibel mit Streaming-Apps, intuitive Benutzeroberfläche |
Häufig gestellte Fragen - Stream SO410 SONORO
Benutzerfragen zu Stream SO410 SONORO
0 Frage zu diesem Gerät. Beantworten Sie die, die Sie kennen, oder stellen Sie Ihre eigene.
Eine neue Frage zu diesem Gerät stellen
Laden Sie die Anleitung für Ihr Radio kostenlos im PDF-Format! Finden Sie Ihr Handbuch Stream SO410 - SONORO und nehmen Sie Ihr elektronisches Gerät wieder in die Hand. Auf dieser Seite sind alle Dokumente veröffentlicht, die für die Verwendung Ihres Geräts notwendig sind. Stream SO410 von der Marke SONORO.
BEDIENUNGSANLEITUNG Stream SO410 SONORO
Gesamtinhaltsverzeichnis
DE Bedienungsanleitung 3
GB Operating manual 50
FR Mode d'emploi 96
IT Istruzioni per l'uso 143
NL Bedieningshandleiding 191
DK Betjeningsvejledning 238
sonoroSTREAM
SO-410
INTERNETRADIO MIT WIFI, DAB+ & BLUETOOTH®

Bedienungsanleitung
Inhaltsverzeichnis
1. Einleitung 6
1.1 Kontaktdaten 6
1.2 Bestimmungsgemäß Verwendung 7
2. Kennenlernen Ihres sonoroSTREAM 7
2.1 Lieferumfang 7
2.2 Bedienelemente und Anschlisse 8
2.3 Technische Daten 11
2.4 Prüfzeichen und Zertifikate 13
3. Erste Schritte 14
3.1 Auspacken des sonoroSTREAM 14
3.2 Anschließlich der Stromversorgung 14
3.3 Batterie in die Fernbedienung einlagen 14
3.4 Verwendung der Antennen 15
3.5 Ersteinrichtung 15
4. Allgemeine Funktionen 17
5. Menu-Ubersicht 18
6. Anzeige-Symbole 19
7. FM Radio 20
7.1 Betrieb 20
7.2 Einrichtungsmenu 21
8. DAB-Radio 22
8.1 Betrieb 22
8.2 Einrichtungsmenu 23
9. Internet Radio 25
9.1 Betrieb 25
9.2 Einrichtungsmenu 26
9.3 Senderliste 26
9.4 Verwendung des Webportals 27
10. Bluetooth 28
10.1 Verbinden 28
10.2 Betrieb 28
10.3 Einrichtungsmenu 29
11.AUX In. 30
11.1 Betrieb. 30
11.2 Einrichtungsmenu 30
12 Streaming Dienste 31
12.1 Betrieb 32
12.2 Einrichtungsmenu 33
- My Music 34
13.1 Betrieb 34
13.2 Einrichtungsmenu 35
- Alarme 37
14.1 Einstellen von Alarmen 37
14.2 Ein-oder Ausschalten der Alarme im Standby-Modus 38
14.3 Ein Alarmsignal ausschalten 38
14.4 Snooze (Schlummer-Funktion) 38
- Sleeptimer (automatische Abschalt-Funktion) 39
- Systemeinstellungen 40
16.1 Zugang zu den Systemeinstellungen 40
16.2 Streaming Audio Qualitat 40
16.3 Equalizer 40
16.4 Netzwerk 40
16.5 Zeit/Datum 41
16.6 Inaktiver Standby 41
16.7 Sprache 42
16.8 Werkseinstellungen 42
16.9 Software update 42
16.10 Einrichtungsassistent 42
16.11 Info 42
16.12Datenschutz 42
16.13 Anzeigehelligkeit 42
- Verwendung der UNDOK™ App zur Steuerung des sonoroSTREAM....43
- Fehlerbehebung 45
- Reinigung 47
20.Garantie. 48
1. Einleitung
Vielen Dank, dass Sie sich für den Kauf eines sonoroSTREAM entschieden haben. Diese Bedienungsanleitung und die Sicherheitshinweise vermittelt Inhnen alle notwendigen Informationen für einen störungsfreien und sicheren Betrieb des sonoroSTREAM.
- Lesen Sie Bedienungsanleitung und Sicherheitshinweise vollständig durch, bevor Sie sonoroSTREAM verwenden.
- Bewahren Sie Bedienungsanleitung und Sicherheitshinweise zum späteren Nachschlagen auf.
- Falls Sie sonoroSTREAM an Dritte weitergeben, geben Sie auch die Bedienungsanleitung und die Sicherheitshinweise mit.
Die Nichtbeachtung dieser Bedienungsanleitung und Sicherheitshinweise kann zu schweren Verletzungen oder Schäden am sonoroSTREAM führen. - Für Schäden, aufgrund der Nichtbeachtung dieser Bedienungsanleitung und der Sicherheitshinweise entstehen, übernehmen wir keine Haftung.
Die Abbildungen in dieser Bedienungsanleitung dienen der Veranschaulichung von Handlungen, die zu Bedienung des sonoroSTREAM notwendig sind.
Wir wünschen Ihnen viel Freude mit ihrem sonoroSTREAM!
1.1 Kontaktdaten
| Adresse | sonoro audio GmbH, Hammer Landstraße 45, 41460 Neuss, Deutschland |
| Telefon | +49 2131 8834-141 |
| Fax | +49 2131 7517-599 |
| support@sonoro.de | |
| Internet | www.sonoro.de |
1.2 Bestimmungsgemäß Verwendung
sonoroSTREAMarf nur fur den Privatgebrauch eingesetzt werden. Es ist fur eine gewerbliche Nutzung nicht geeignet. sonoroSTREAMist ausschlieBlich fur die folgenden Aufgaben bestimmt:
- Wiedergabe von FM/DAB+/Internet-Radiosendern und Streaming-Diensten.
- Audio-Wiedergabe von externen Geräten, die über AUX In Anschluss verbunden sind.
Audio-Wiedergabe von Bluetooth-fahigen Geräten (z. B. Mobiltelefonen). - Laden von externen Geräten, die über den USB-Eingang angeschlossen sind.
Andere Verwendungen gelten als nicht bestimmungsgemäß und sind untersagt. Wir übernehmen keinerlei Haftung für Schäden, die sich aus unsachgemäßem Gebrauch ergeben.
2. Kennenlernen Ihres sonoroSTREAM
2.1 Lieferumfang
Zum sonoroSTREAM selbst gehören folgende Zubehörteile ebenfalls zum Lieferumfang:
Fernbedienung
- Eine Knopfelle (CR2025, 3 V)
VDENetzteil
Kurzanleitung
Bedienungsanleitung
- Sicherheitshinweise
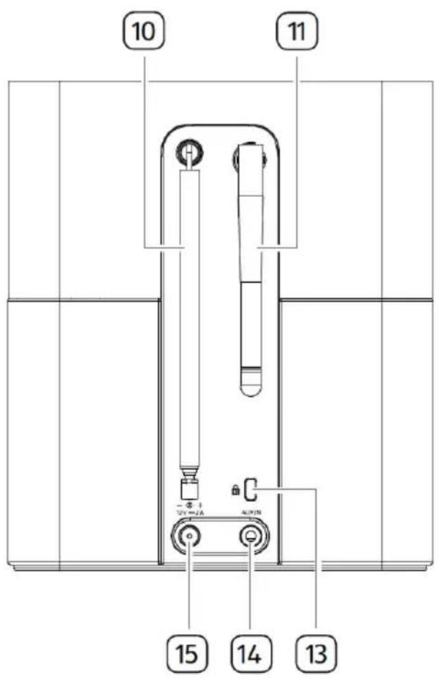
2.2 Bedienelemente und Anschlüsse
Vorderansicht

-
Anzeige
-
Taste zürück (←)
-
Einstelltaste (SETUP)
-
Infrarotsensor und
-
Menütaste (MENU)
Umgebungslichtsensor
- Einstellknopf:Laustärkeknopf,
(unter dem Logo)
Sendersuche, OK-Taste
-
Standby-Taste (O)
-
Taste Abspielen/Pause (▶)
9 Speichertaste (☆)


- FM/DAB Antenne
- Wi-Fi-Antenne
- USB-Anschluss
- Key Lock (Diebstahlschutz)
- AUX Eingang (3,5 mm)
- Gleichstrom-Eingangsbuchse (DC- -Anschluβ)

- Taste Alarm (
- Taste Lautstärke lauter (+)
- Standby-Taste (O)
- Tastes rechts ()^*
- Menütaste (MENU)
- Infrarotsender
- Öse für Traceband
-
Batteriefach
-
Informationstaste (INFO)
- Sender-Voreinstellungen (1-5)
26 Einstelltaste (SETUP) - Speichertaste (☆)
- Taste Lautstärke leiser (-)^
- Taste links ()^*
- Taste Abspielen/Pause (▶), OK-Taste
*Navigationstasten( , ,+, - )
2.3 Technische Daten
| Spezifikation | Angaben |
| Abmessungen (BxT×H) | ca. 149 x 102 x 171 mm |
| Gewicht | ca. 1.1 kg |
| Umgebungstemperatur | 0°C ~ +40°C |
| Anzeige | 2,4" TFT Farbdisplay |
| Frequenzbereich, FM | 87,50 MHz-108,00 MHz |
| DAB/DAB+ | Band III, 174,928 MHz-239,200 MHz |
| Internet Radio | Über 25.000 Sender weltweit |
| Favoriten | Je 30 für FM | DAB/DAB + | Internet Radio 10 für Spotify Je 8 für Deezer | Amazon Music |
| My music Unterstützung | AAC, AAC+, MP3, WAV, WMA, FLAC |
| Medienformate formats | Max. 16 Bits, 2 Kanäle, Abtastrate 48 KHz |
| USB Nachladen | Ausgang: DC 5V = = 2,1A |
| AUX-IN | Port: 3,5mm Buchse, Empfindlichkeit: 300 mV |
| Streaming | Bluetooth | Spotify | Deezer | Amazon Music | DLNA | UPnP |
| Unterstützes Netzwerk | IEEE 802.11 b/g/n, 2.4 2,412GHz-2,472GHz |
| Max. Ausgangsleistung | < 20dBm |
| Verschlusselung | WEP, WPA, WPA2 (PSK), WPS |
| Bluetooth | Version 4.0, Profile : AVRCP v1.4, A2DP 1.2 2.402GHz-2.480GHz |
| Max. Sendeleistung | < 4dBm |
| Batterie | CR2025 (Fernbedienung) |
| Standby-Leistung | < 1.0W |
| Netzwerk-Standby Leistung | < 2.0W |
DE
| AC-Adapter | Angaben |
| Name oder Handelsmarke des Herstellers, Handelsregisternummer und Anschrift | Ten Pao Industrial Co., Ltd. 10738198 Rm 10-11 6/F Kwong Sang Hong Ctr., 151-153 Hi Bun Road, Kwun Tong, Kowloon, Hong Kong |
| Modellkennung | S024AMV1200200 |
| Eingangsspannung | AC 100-240V |
| Eingangswechselstromfre quenz | 50/60Hz |
| Ausgangsspannung | DC 12.0V |
| Ausgangsstrom | 2.0A |
| Ausgangsleistung | 24.0W |
| Durchschnittliche Effizienz im Betrieb | >86.2% @115VAC/60Hz / @230V / 50Hz |
| Effizienz bei geringer Last (10%) | >83.0% @115VAC/60Hz / @230V / 50Hz |
| Leistungsaufnahme bei Nulllast | <0.10W @115VAC/60Hz / @230V / 50Hz |

Bluetooth
Die Wortmarke Bluetooth® und die Logos sind Eigentum der Bluetooth SIG, Inc. und werden von der sonoro audio GmbH in Lizenz verwendet. Andere Warenzeichen und Markennamen sind die ihrer entsprechenden Eigentümer.
UPnP
UPnP™ ist ein Markenzeichen des UPnP Forums.

Spotify
Die Spotify-Software besteht Lizenzen dritter Parteien, die Sie hier finden: http://www.spotify.com/connect/third-party-licenses

deezer
Deezer und das Deezer Logo sind internationale Markenzeichen von Deezer S.A., registriert in Frankreich und anderen Ländern.
amazon music
Amazon, Amazon Music Unlimited und alle damit verbundenen Logos sind Marken von Amazon.com, Inc. oder ihrer verbundenen Unternehmen.
3. Erste Schritte
3.1 Auspacken des sonoroSTREAM
- Nehmen Sie sonoroSTREAM aus der Verpackung und kontrollieren Sie, ob sonoroSTREAM oder Einzelteile Beschädigungen aufweisen. Falls dies der Fall ist, benutzen Sie sonoroSTREAM nicht. Sollten Sie Beschädigungen feststellen, wenden Sie sich sofort an ihren Handler oder an den Kundendienst der sonoro audio GmbH.
- Überprüfen Sie den Inhalt auf Vollständigkeit (Siehe Kapitel „Lieferumfang").
- Stellen Sie sonoroSTREAM an einem geeigneten Ort auf. Wenn Sie Ihr sonoroSTREAM auf eine Naturholzfläche stellen wollen, stellen Sieitte sicher, dass diese davon geeignet ist. Auf geölten und gewachsten Flächen konnen eventuell Flecken entstehen.
- Entfernen Sie die Schutzfolie vom Display.
3.2 Anschließlich der Stromversorgung
- Stecken Sie den Anschlussstecker des Netzteils in die Gleichstromeingangsbuchse an der Rückseite des sonoroSTREAM.
- Stecken Sie den Netzstecker in eine Steckdose. sonoroSTREAM ist nun eingeschaltet.

Entfernen Sie die Schutzabdeckung, bevor Sie den Stecker einstecken.
3.3 Batterie in die Fernbedienung einlagen
- Öffnen Sie den Batteriefachdeckel auf der Rückseite der Fernbedienung, indem Sie den Deckel mit einer kleinen Münze gegen den Uhrzeigersinn drehen.
- Legen Sie die mitgelieferten Batterien (CR2025, 3 V) mit der Beschriftung (+) nach oben ein.
- Schließen Sie das Batteriefach, indem Sie den Deckel mit einer kleinen Münze im Uhrzeugersinn drehen.


Bei Verwendung der Fernbedienung dürfen der Infrarotsensor am sonoroSTREAM und der Infrarotsender an der Fernbedienung nicht verdeckt sein.
DE
3.4 Verwendung der Antennen
- Ziehen Sie die Stabantenne auseinander und richten Sie dieFM/DAB Antenneso aus, dass Sie optimalen Empfang haben.
- Ziehen Sie die Wi-Fi-Antenne nach oben.
3.5 Ersteinrichtung
Wenn Sie sonoroSTREAM erstmalig einschalten: Wahlen Sieitte zunachst die Display-Sprache. Danach erscheint „Einrichtung" auf dem Display. Folgen Sie den unten angegebenen Anweisungen, um eine Grundeinstellungen vorzunehmen.
- Wenn „Einrichtung“ angezeigt wird, drücken Sie auf der Fernbedienung + oder - (oder drehen Sie den Bedienkopf), um „JA“ auszuwahlen und drücken Sie dann OK, um die Einrichtung zu beginnen.

-
Danach werden Sie zu folgender Auswahl aufgefordert:
-
Zeitformat (12 oder 24 Stunden),
- Quelle für automatische Updates von Uhrzeit und Datum (Update vom Radio, Internet oder kein Update).
Folgen Sie je nach ihrer Auswahl den Hinweisen auf dem Display, um danach Datum und Uhrzeit, Zeitzone, Sommerzeit oder Drahtlosnetzwerk einzurichten. Drehen Sie den Bedienkopf am sonoroSTREAM oder drucken Sie die Navigationstasten (+/-) an der Fernbedienung, um die Auswahl zu treffen und drucken Sie dann zur Bestätigung auf OK (siehe Kapitel „Menüoptionen"). Wenn Sie „Update vom Internet" wahren, muss zuerst die Wi-Fi-Verbindung eingerichtet werden. Drehen Sie bei der Eingabe des Kennworts zu ihrem Drahtlosnetzwerk den Bedienkopf am sonoroSTREAM oder drucken Sie die Navigationstasten an der Fernbedienung (+/-) , um ein Zeichen / einen Buchstaben auszuwahlen und drucken Sie dann zur Bestätigung auf OK. Zum Löschen der letzten Eingabe wahren Sie [BKSP]. Zum Abbruch der Kennworteingabe wahren Sie [CANCEL]. Drucken Sie zur Bestätigung des
eingegebenen Kennworts auf [OK].

- Wenn die Meldung „Einrichtung abgeschlossen" erscheint, drücken Sie auf OK um die Einstellung zu verlassen.


Um den Assistenten nochmals zu verwenden wahren Sie [Systemeinstellungen] und dann [Einrichtungsassistent] (Siehe Kapitel „Systemeinstellungen").
4. Allgemeine Funktionen
| Einschalten | Drücken Sie ◆ sonoroSTREAM beginnnt aus dem letzten gewählten Abspielmodus. |
| Ausschalten (Bereitschaftsmodus) | Drücken Sie ◆ Uhrzeit und Datum (wenn eingestellt) werden angezeigt. Um Energie zu sparen, schaltet sich sonoroSTREAM nach 15 Minuten Ruhezustand in den Bereitschaftsmodus. |
| Abspielen | Drücken Sie einmal MENU, danach ◆ oder ◆ (oder drehen Sie den Bedienknopf) um einen Abspielmodus zu wahren und drücken Sie dann zur Bestätigung auf OK. Reihenfolge: FM-Radio > DAB-Radio > Internet-Radio > Bluetooth > Aux In > Spotify> Deezer > Amazon Music > My Music |
| Lautstärkeregelung Drücken | Drücken Sie auf der Fernbedienung ◆ oder ◆ oder drehen Sie den Lautstärkeregler am sonoroSTREAM. |
DE
5. Menu-Übersicht
Für das sonoroSTREAM stehen drei Menüz zur Verfügung.
- Einstellungsmenu (Einstellungsmenu (für bestimmte Einstellungen in einem Abspielmodus, z.B. [Favoriten aufrufen] im FM-Modus)
- Systemeinstellungen (für allgemeine Einstellungen, z.B. Uhrzeit/ Datum, Sprache, usw.)
Hauptmenü (Zugang zu Abspielmenus, Sleeptimer und Weckalarmen)
| Zugang zu den Menüs | Drücken Sie SETUP. Der Menüinhalt kann sich in untersiedlichen Abspielarten untersiden. |
| Auswahl einer Option in den Menüs | Drehen Sie den Bedienknopf am sonoroSTREAM oder drücken Sie +oder - auf der Fernbedienung. |
| Bestätigung einer Auswahl in den Menüs | Drücken Sie OK. (Drücken Sie am sonoroSTREAM den Bedienknopf) |
| Im Menü einen Schritt zurückgehen | Drücken Sie ←. |
6. Anzeige-Symbole
In der unten angegebenen Tabelle finden Sie die Bedeutung der Anzeige-Symbole, wenn diese auf dem Display erschehen.
| Wi-Fi Verbindung ist aktiv (mit Signalstärke). | |
| Wi-Fi Verbindung ist getrennt. | |
| Ein Bluetooth-Gerät ist verbunden. | |
| Alarm 1 ist aktiviert. | |
| Alarm 2 ist aktiviert. | |
| Der Radiosender befindet sich in der Voreinstellungsliste. | |
| FM RDS Informationen werden empfangen. | |
| Radiosignal wird empfangen (mit Signalstärke). | |
| Abspielmodus „Alle Titel wiederholen" ist aktiv. | |
| Abspielmodus „Einen Titel wiederholen" ist aktiv | |
| Abspielmodus „Zufällige Wiedergabe" ist aktiv. | |
| Abspielmodus „Alle Titel in zufälliger Wiedergabe wiederholen" ist | |
| Sleeptimer ist aktiv. | |
| Stereosender ist verfügbar. | |
| Tonwiedergabe ist stumm. | |
| Pause beim Abspielen. |
DE
7. FM Radio
7.1 Betrieb
| Auswahl des FM Radio-Modus | Dücken Sie einzelmal MENU und danach < oder > (oder drehen Sie den Bedienknopf) zur Auswahl des FM Radio-Modus und drücken Sie zur Bestätigung auf OK. |
| Manuelle Senderwahl | Drücken Sie < oder >. Oder wahren Sie im Einrichtungsmenü die Option [Manuelle Sendersuche] aus und drehen Sie dann den Navigationsknopf. |
| Automatische Sache des nächsten verfügbaren Senders | Drücken und halten Sie < oder >. Oder drücken Sie den Navigationsknopf, um die automatische Suehe zu starten. |
| Speichern eines Radiosenders in der Favoritenliste | Es{latten sich maximal 30 Radiosender speichern.1. Drücken und halten Sie die Taste ☆, bis die Favoritenliste angezeigt wird.2. Drücken Sie + oder - (oder drehen Sie den Bedienknopf) zur Auswahl eines Favoritenspeicherplatzes und drücken Sie dann zur Bestätigung auf OK. |
| Direktes Speichern eines Radiosenders in der Favoritenliste | Auf der Fernbedienung: Drücken und halten Sie eine der Tasten 1-5. |
| Auswahl eines Radiosenders aus der Favoritenliste | Sie haben 2 Märglichkeiten einen Favoriten auszuwahlen:1. Drücken Sie die ☆-Taste. Drücken Sie + oder - (oder drehen Sie den Bedienknopf) zur Auswahl eines Radiosenders in der Voreinstellungsliste und drücken Sie dann zur Bestätigung auf OK.2. Drücken Sie eine der Tasten 1-5 auf der Fernbedienung, um einen der Favoriten (1-5) auszuwahlen. |
| Informationen des Radiosenders durchsuchen (falls verfügbar) | Drücken Sie wiederholt auf INFO. |
| Ton stumm schalten oder wiederherstellen | Drücken Sie ▷. |
DE
7.2 Einrichtungsmenu
Drücken Sie im FM-Radiobetrieb auf SETUP, um zum Einrichtungsmenu zugehalten. Folgende Optionen stehen zur Verfügung:
[Manuelle Sendersuche]
Aktivieren der manuellen Abstimmung der Freqenz.
[Suchlauf Einstellung]
Hierbei werden nur Sender mit hoher Signalstärke gesucht, wenn die automatische Einstellung aktiv ist.
[Empfang Einstellung]
Radio horen in Stereo oder Mono-Qualität.
[Systemeinstellungen]
Siehe Kapitel „Systemeinstellungen".
[Hauptmu]
Zur Auschwitz anderer Abspiel Funktionen, Sleeptimer oder Weckalarmen.

Hinweis: Ausgewählte Optionen werden mit einem Sternchen gekennzeichnet.
8. DAB-Radio
8.1 Betrieb
| Auswahl von DAB Radio-Modus | Drücken Sie einzel MENU und dann < oder > (oder drehen Sie den Bedienknopf) zur Auswahl von DAB Radio und drücken Sie zur Bestätigung auf OK. |
| DAB-Sender suchen | Wenn Sie zum ersten Mal DAB wahren oder wenn die Senderliste leer ist, führt sonoroSTREAM automatisch einen vollständigen Suchlauf durch und speichert alle verfügbaren Sonder in der Senderliste. |
| Einstellen eines Senders | Drücken Sie < oder >. |
| Speichern eines Radiosenders in der Favoritenliste | EsLANsensich maximal 30 Radiosender speichern. 1.Drücken und halten Sie die Taste <, bis die Favoritenliste angezeigt wird. 2.Drücken Sie + oder - (oder drehen Sie den Bedienknopf) zur Auswahl eines Favoritenspeicherplatzes und drücken Sie dann zur Bestätigung auf OK. |
| Direktes Speichern eines Radiosenders in der Favoritenliste | Auf der Fernbedienung: Drücken und halten Sie eine der Tasten 1-5. |
| Auswahl eines Radiosenders aus der Favoritenliste | Sie haben 2 Mänglichkeiten einen Favoriten auszuwahlen: 1.Drücken Sie die <Taste. Drücken Sie + oder - (oder drehen Sie den Bedienknopf) zur Auswahl eines Radiosenders in der Voreinstellungsliste und drücken Sie dann zur Bestätigung auf OK. 2.Drücken Sie eine der Tasten 1-5 auf der Fernbedienung, um einen der Favoriten (1-5) auszuwahlen. |
| Informationen* des Radiosenders durchsuchen (falls verfügbar) | Drücken Sie wiederholt auf INFO. |
| Ton stumm schalten oder wiederherstellen | Drücken Sie ➔. |
*DAB-Informationen (falls verfügbar) enthalten: Sendername, Dynamic Label Segment (DLS), Signalstärke, Programtyp (PTY), Ensemble-Name, Frequenz, Signalfehlerrate, Bitrate und Audiostatus, Codec und Uhrzeit und Datum.
8.2 EinrichtungsmENU
Drücken Sie im DAB-Modus auf SETUP, um zum Einrichtungsmenü zu gelangen. Folgende Optionen stehen zur Verfügung:
[Senderliste]
Zeigt alle verfügbaren Sender an.
Vollständiger Suchlauf]
Suchen und Speichern aller verfügbarbaren Sender.
[Manuelle einstellen]
Zur manuellen Frenzeinstellung. Die Liste verfügbar darsteller Radiosender wird dargestellt.
[Ungültige entfernen]
Zum Löschen aller inaktiven Sender aus der Senderliste.
[DRC]
Manche DAB-Sender bieten die Dynamic Range Compression (DRC) an. Mit der DCR-Einstellung wird der Lautstärkeunterschied zwischen leisen und lauten Passagen reduziert. Sie konnen zwischen DCR Hoch, DCR Niedrig und DCR Aus wahlen. Bei lauter Umgebung wird DCR Hoch empfohlen.
[Senderreihenfolge]
Zur Festlegung, wie die Sender bei der Sendersuche dargestellt werden.
Folgende Optionen stehen zur Verfügung:
[Alphanumericisch]: Die Sender werden in alphabetischer Reihenfolge aufgeführt,
- [Ensemble]: Es werden Sendergruppen aufgeführ, die zusammen im gleichen Ensemble gesendet werden und
- [Gültig]: Es werden erst die aktiven Sender und danach die inaktiven Sender dargestellt.
[Systemeinstellungen]
Siehe Kapitel „Systemeinstellungen".
[Hauptmenu]
Um andere Abspielfunktionen, Sleeptimer oder Weckalarme zu wahlen.

Hinweis: Ausgewählte Optionen werden mit einem Sternchen gekennzeichnet.
9. Internet Radio
9.1 Betrieb
Zur Nutzung des Internetradios muss zuerst eine Internetverbindung über Wi-Fi oder Ethernet eingerichtet werden (siehe Kapitel „Erste Schritte" und „Netzwerk").
| Auswahl von Internet Radio | Dücken Sie einzel MENU, danach ◆ oder ◆ (oder drehen Sie den Einstellknopf) zur Auswahl von Internet-Radio und drücken Sie zur Bestätigung auf OK. sonoroSTREAM verbindet sich mit dem zuletzt verwendeten Netzwerk und dann mit dem zuletzt gehörten Sender. |
| Einstellen eines Radiosenders oder Podcast | Siehe Kapitel „Senderliste". |
| Speichern eines Radiosenders in der Favoritenliste | Es{lassen sich maximal 30 Radiosender speichern. 1. Drücken und halten Sie die Taste ◆, bis die Favoritenliste angezeigt wird. 2. Drücken Sie + oder - (oder drehen Sie den Bedienkopf) zur Auswahl eines Favoritenspeicherplatzes und drücken Sie dann zur Bestätigung auf OK |
| Direktes Speichern eines Radiosenders in der Favoritenliste | Auf der Fernbedienung: Drücken und halten Sie eine der Tasten 1-5. |
| Auswahl eines Radiosenders aus der Favoritenliste | Sie haben 2 Märglichkeiten einen Favoriten auszuwahlen: 1. Drücken Sie die ◆-Taste. Drücken Sie + oder - (oder drehen Sie den Bedienkopf) zur Auswahl eines Radiosenders in der Voreinstellungsliste und drücken Sie dann zur Bestätigung auf OK. 2. Drücken Sie eine der Tasten 1-5 auf der Fernbedienung, um einen der Favoriten (1-5) auszuwahlen. |
| Informationen* des Radiosenders durchsuchen (falls verfügbar) | Drücken Sie wiederholt auf INFO. |
- Die Senderinformationen (falls verfügbar) enthalten: Künstler und Titelbezeichnung, Senderbeschreibung, Sender-Genre und Ort, Signalqualität, Codec und Abtastrate, Abspiel-Puffer und Datum.
9.2 Einrichtungsmenu
Drücken Sie SETUP im Modus Internet Radio, um zum Einrichtungsmenu zugegliangen. Folgende Optionen stehen zur Verfügung:
[Zuletzt gehört]
Einstellen der zuletzt gehörten Sender.
[Senderliste]
Einstellen verfügbarer Internet-Radiosender (siehe Kapitel „Senderliste").
[Systemeinstellungen]
Siehe Kapitel „Systemeinstellungen".
[Hauptmenu]
Zur Auswahl von anderen Abspielarten, Sleeptimer oder Weckalarme.

Hinweis: Ausgewählte Optionen werden mit einem Sternchen gekennzeichnet.
9.3 Senderliste
In der [Senderliste] stehen die folgenden Menüs und Untermenüs zur Verfügung:
[Örtlich (Name Ihres Ortes)]
Suchen und Einstellen von Sendern in Ihrer Höhe. Die Sender sind in mehreren Kategorien gruppiert.
[Sender]
[länder]: Suchen und Einstellen von Sendern nach Ort.
- [Genre]: Suchen und Einstellen von Sendern nach Genre.
- [Senderuchen]:Suchenachverfugbaren Radiosendern durchEingabe vonStichworten.
[Populäre Sender]: Suchen und Einstellen der beliebtesten Internet
Radiosender.
[Neue Sender]: Suchen und Einstellen der beliebtesten Internet-Radiosender.
[Podcasts]
[länder]: Suchen und Einstellen von Podcasts nach Ort.
[Formate]: Suchen und Einstellen von Podcasts nach Genre.
- [Suchen podcasts]: Suche nach verfügbaren Podcasts durch Eingabe von Stichworten.
[Hilfe]
- Hilfe zu halten gestalten Fragen, wenn das Internet-Radio nicht richtig Funktioniert.
9.4 Verwendung des Webportals
Über die Website des Portals Frontier Silicon Internet Radio konnen Sie „Meine Favoriten" organisieren und neue Internetradiosender auf einem Computer hinzufugen. Dazu müssen Sie sich zuerst beim Webportal anmelden.
- Drücken Sie im Internet-Radiomodus auf SETUP (Einrichten) und wahlen Sie dann [Senderliste] > [Hilfe]. Notieren Sie den Zugangscode.
- Gehen Sie im Web browser Ihres Computers auf die Seite http://nuvola.link/sr
- Melden Sie mit dem Zugangscode ein neuen Konto an.
- Folgen Sie den Hinweisen im Webportal, verwenden Sie die Funktionen „Meine Favoriten" und „Meine hinzugeführten Radiostationen", um Radiosender hinzuzufugen.
- Die in „Meine Favoriten" hinzugeführten Sender konnen Sie durch [Meine Favoriten] im Internet-Radiomodus vom sonoroSTREAM horen.
Die in „Meine gespeicherten Sender“ hinzugeführten Sender konnen Sie durch [Meine hinzugeführten Radiostationen] im Internet-Radiomodus von sonoroSTREAM horen.
10. Bluetooth
sonoroSTREAM kann sich innerhalb eines Bereichs von ca. 10 Metern mit Bluetooth-fahigen Abspielgeräten (z.B. Mobiltelefon) verbinden.
10.1 Verbinden
- Drücken Sie einmal auf MENU, danach oder (oder drehen Sie den Einstellknopf) zur Auswahr von Bluetooth und drücken Sie dann zur Bestätigung auf OK.
Das keine Bluetooth-Symbol blinkt und zeigt an, dass sonoroSTREAM bereit zum Verbinden ist. - Schalten Sie an Ihrlem Bluetooth-fähigen Abspielgerät die Bluetooth-Funktion ein und suchen Sie nach verfügbaren Bluetooth-Geräten.
- Wahlen Sie „sonoroSTREAM" aus der Liste verfügbarer Bluetooth-Geräte, um die Verbindung einzurichten.
Das Bluetooth-Symbol hört auf zu blinken, wenn die Verbindung zustande gekommen ist.
10.2 Betrieb
| Auswahl desBluetooth-Modus | Drücken Sie einmal MENU, danach ◆ oder ◆ (oder drehen Sie den Einstellknopf) zur Auswahl vonBluetooth und drücken Sie dann zur Bestätigung aufOK. |
| Musk abspielen Wöhlen | Sie eine Audiodatei von Ihrm Bluetooth-fähigen Abspiel gerät und starten Sie dieWiedergabe. |
| Pause oder erneutesAbspielen | Drücken Sie ◆. |
| Wechseln zumvorherigen odernächsten Titel | Drücken Sie ◆ oder ◆. |
| Schnelle Vorwärts-und Rückwärtssucheinnerhalb eines Titels | Halten Sie beim Abspielen ◆ oder ◆ gedrückt. |
| Trennen der Bluetooth-Verbindung | Schalten Sie auf einen anderen Abspielmodus, oder Wahlen Sie [BT trennen] aus dem EinstellungsmENU (siehe unter), oder Drücken und halten Sie ☆. |
10.3 Einrichtungsmenu
Drücken Sie SETUP im Bluetooth-Audiomodus, um zum Einrichtungsmenu zu gelange. Folgende Optionen stehen zur Verfügung:
- [Bluetooth trennen]
Zum Trennen der Bluetooth-Verbindung.
[Systemeinstellungen]
Siehe Kapitel „Systemeinstellungen".
[Hauptmenu]
Zur Auswahl von anderen Abspielarten, Sleeptimer oder Weckalarmen.
Hinweis: Ausgewählte Optionen werden mit einem Sternchen gekennzeichnet.
11. AUX In
11.1 Betrieb
Ihr exardenbspielgerät (z.B. mp3-Player) muss mit einem Audiokabel (mit 3,5 mm Stecker, nicht mitgeliefert) an der AUX-Eingangsbuchse des sonoroSTREAM angeschlossen wearden
| Auswahl des AUX In Modus | Drücken Sie einmal MENU, danach ◆ oder ◆ (oder drehen Sie den Einstellknopf) zur Auswahl von AUX In und drücken Sie dann zur Bestätigung auf OK. |
| Starten und Steuern der Wiedergabe | Alle Abspiel;tätigkeiten werden am externen Abspiel gerät durchgeführt. |
| Ton stumm schalten oder wiederherstellen | Drücken Sie ◆. |
11.2 Einrichtungsmenu
Drücken Sie im Modus AUX In auf SETUP, um zum Einrichtungsmenu zugegliangen. Folgende Optionen stehen zur Verfügung:
[Systemeinstellungen]
Siehe Kapitel „Systemeinstellungen".
[Hauptmenu]
Zur Auswahl von anderen Abspielarten, Sleeptimer oder Weckalarmen.

Hinweis: Ausgewählte Optionen werden mit einem Sternchen gekennzeichnet.
12. Streaming Dienste
Ihr sonoroSTREAM kann Content der folgenden Streaming Dienst wiederergegeben:

Spotify


deezer

amazon music

Die Symbole dieser Dienste führen Sie auch im Display Ihres sonoroSTREAM wieder.

Bitte beachten Sie: Die Benutzung von Streaming Diensten erfordert den Abschluss entsprechender Verträge; diese können Kosten verursachen. Insbesondere kostenlose Angebote enthalten*hufig Werbung.Änderungen unterliegen der Verantwortung der Streaming-Dienste.itte informieren Si es sich auf den Homepages der Anbieter.
Wir empfehlen, zunachst die UNDOK™ App auf dem Gerät zu installieren, mit dem Sie Ihr sonoroSTREAM steuern wollen (dies kann z.B. ein Smartphone oder Tablet sein).

Achtung: Dieses Gerät (z.B. Smartphone) muss sich im gleichen Netzwerk, wie Ihr sonoroSTREAM befinden!
Hinweise zur UNDOK™ App finden Sie in Kapitel 17.

Vereinzelt konnen die Dienste auch direkt über die Apps der Anbieter oder am sonoroSTREAM selbst bedient werden.itte informieren Sie sich beim Anbieter.
12.1 Betrieb
Die im Folgenden beschrieben Abläufe erfolgen analog für alle zur Verfügung stehenden Streaming Dienste.
| Auswahl eines streaming Dienstes | Drücken Sie einmal auf MENU und dann < oder > (oder drehen Sie den Einstellknopf) um den gewünschten Streaming Dienst auszuwahlen; bestätigen Sie mit OK. Die Symbole der oben aufgeführten Dienste erscheinen damit entsprechend im Display Ihr sonoroSTREAM. |
| Ein Streaming Konto anmelden (Deezer, Amazon Music) | Zur Benutzung eines Streaming Dienstes auf Ihr rem sonoroSTREAM melden Sie sich am sonoroSTREAM oder über die auf Ihr Mobilgerät installierte UNDOKTM App mit Ihr Konto an. Folgen Sie den Anweisungen auf dem Bildschirm. |
| So nutzen Sie Spotify Connect | Verwende dein Smartphone, Tablet oder deinen Computer als Fernbedienung für Spotify. Auf Spotify.com/connect erfahrst du mehr. |
| Pause oder erneute Wiedergabe | Drücken Sie ▪II. |
| Zum vorherigen oder)nachsten Titel wechseln | Drücken Sie < oder >. |
| Speichern eines Titels (einer Playlist*) in der der Favoritenliste | Sie können maximal 8 Titel speichern, mit Spotify können bis zu 10 Titel oder auch Playlisten gespeichert werden. 1. Drücken und halten Sie die Taste ☆, bis die Favoritenliste angezeigt wird. 2. Drücken Sie + oder - (oder drehen Sie den Bedienknopf) zur Auswahl eines Favoritenspeicherplatzes und drücken Sie dann zur Bestätigung auf OK. |
| Direktes Speichern eines Titels (einer Playlist*) in der der Favoritenliste | Auf der Fernbedienung: Drücken und halten Sie eine der Tasten 1-5. |
| Auswahl eines Titels (einer Playlist*) in der der Favoritenliste | Sie haben 2 Möglichkeiten einen Favoriten auszuwahlen: 1. Drücken Sie auf ☆, drücken Sie dann + oder - (oder drehen Sie den Bedienknopf) zur Auswahl eines Titels / einer Playlist in der Favoritenliste und drücken Sie dann auf OK. 2. Drücken Sie eine der Tasten 1-5 auf der Fernbedienung, um einen der Favoriten auszuwahlen. |
| Informationen zum Titel durchsuchen (falls verfügbar) | Drücken Sie wiederholt aufINFO. |
- Gilt nur für Spotify
12.2 Einrichtungsmenu
Wahlen Sie einen verfübaren Streaming-Dienst und drücken Sie SETUP, um zum Einrichtungsmenu zu gelangen. Folgende Optionen stehen zur Verfügung:
[Systemeinstellungen] Siehe Kapitel „Systemeinstellungen".
[ Hauptmenü] Zur Auswahl anderer Abspielfunktionen, Sleeptimer oder Weckalarmen.

Hinweis: Ausgewählte Optionen werden mit einem Sternchen gekennzeichnet.
13. My Music

HINWEIS!
Gefahr der Beschädigung!
Unsachgemäß Handhabung des sonoroSTREAM kann zu Beschädigungen führen.
Verbinden Sie sonoroSTREAM nicht direkt mit dem USB-Anschluss eines Computers oder eines anderen externen Speichermediums wie etwa einer externen Festplatte.

In My Music können Sie Titel (Audiodateien) abspielen, auf einem Medienserver (UPnP) befinden und sich im gleichen Wi-Fi-Netzwerk wie sonoroSTREAM befinden.
13.1 Betrieb
| Auswahl von „My Music“ | Drücken Sie einzel MENU, danach « oder » (oder drehen Sie den Einstellknopf) zur Auswahl von „Meine Musik" und drücken Sie dann zur Bestätigung auf OK. |
| Pause oder erneute Wiedergabe | Drücken Sie «. |
| Zum{nachsten oder vorherigen Titel wechseln | Drücken Sie « oder ». |
| Schnelle Vorwärts- oder Rückwärtsüche innerhalb eines Titels (Audiodatei) | Drücken und halten Sie beim Abspielen « oder ». |
| Hinzufügen eines Titels in „Meine Playlist" | Drücken und halten Sie « oder den Einstellknopf, wenn die Datei im Auswahlmenü markiert ist. |
| Auswahl der Titelwiedergabe | Drücken Sie wiederholt auf☆. • = Alle Titel wiederholen • = Einen Titel wiederholen • = Zufallsmodus • = Alle Titel zufällig wiederholen |
| Informationen zum Titel (Audiodatei) durchsuchen (falls verfügbar) | Drücken Sie wiederholt auf INFO. |
13.2 Einrichtungsmenu
Drücken Sie im Modus „My Music" auf SETUP, um zum Einrichtungsmenu zugegliangen. Folgende Optionen stehen zur Verfügung:
[ Gemeinsame Medien]
ZurSuchenachAudiodateienimWi-Fi-oderEthernet-Netzwerk.
Sobald ein Medienserver gefunden ist, wird ein Auswahlmenü zur Wahl von Audiodateien zum Abspielen vom sonoroSTREAM angezeigt.
[Meine Playlist]
Zum Suchen und Abspielen von Audiodateien, die in „Meine Playlist“ gespeichert sind.
[Wiederholen]
Zum Ein- oder Ausschalten der Wiederholungsfunktion beim Abspielen von aktivellem Ordner/ Playlist.
[Shuffle]
Zum Ein- oder Ausschalten des Zufallsmodus beim Abspielen von aktivellem Ordner/ Playlist.
[ Playlist leeren]
Löscht Einträge aus „Meine Playlist".
[Server entfernen]
Wenn these Einstellung auf "JA" gesetzt wird, werden inaktive Medienserver angezeigt. Sie können dann einen Medienserver auswahlen und diesen "aufwecken" (WOL-Funktion), um Audiodateien vom sonoroSTREAM abzuspielen.
[Systemeinstellungen]
Siehe Kapitel „Systemeinstellungen".
[Hauptmenu]
Zur Auswahl anderer Abspielfungen, Sleeptimer oder Weckalarmen.

Hinweis: Ausgewählte Optionen werden mit einem Sternchen gekennzeichnet.
14. Alarme
DE
14.1 Einstellen von Alarmen
Sie können zwei Alarme zum Wecken einstellen.
- Drucken und halten Sie , um auf den Alarmeinstellmodus zu wahlen.
Sie können auch im Wiedergabemodus auf SETUP drücken, dann das Hauptmenü wahlen und danach Wecker mit OK auswahlen.
Sie können auf den Alarminstellmodus auchzugreifen, wenn sich das Gerät im Standby-(Aus-) Modus befindet. Drücken und alten Sie dazu oder drücken Sie SETUP.
- Wahlen Sie den einzustellenden Alarm aus (Alarm 1 oder 2) und drücken Sie dann auf OK.
Zum Einstellen des Alarms haben Sie folgende Möglichkeit. Drehen Sie den Einstellknopf oder drücken Sie die Einstelltasten, um die Einstellungen vorzunehmen (siehe Kapitel „Menüoptionen").
[Erlauben]
Zum Ein- oder Ausschalten von Alarmwiederholungen. Es stehen die folgenden Optionen zur Verfügung:
[Aus]: Zum Abstellen des Alarms.
[Täglich]: Der Alarm ist jeder Tag aktiviert.
[Einmal]: Der Alarm ist nur einmal aktiviert.
[Wochenende]: Der Alarm ist an Samstagen und Sonstagen aktiviert.
- [Werktage]: Der Alarm ist von Montag bis Freitag aktiviert.
[Uhrzeit]
Zum Einstellen der Uhrzeit für den Alarm.
[Modus]
Zur Auswahl der Alarmquelle. Es stehen die folgenden Optionen zur Verfügung:
[Summer]
[Internet Radio]
[DAB Radio]
[FM Radio]
[Programm]
Zur Auswahl des zuletzt gehörten Senders oder einem voreingestellt
Sender als Alarmquelle. Dies wird nur angezeigt, wenn Internet-Radio, DAB oder FM in [Modus] gewählt ist.
[Lautstärke]
Zum Einstellen der Lautstärke des Alarmtons.
[Speichern]
Zum Speichern der aktuellen Einstellungen.
Wenn [Speichern] gewählt ist, werden die Alarminstellungen gespeichert. Wenn ein Alarm aktiviert ist, wird das entsprechende Alarmsymbol 0) angezeigt.
14.2 Ein-oder Ausschalten der Alarme im Standby-Modus
Wenn sich das Gerät im Standby-(Aus-) Modus befindet, drücken Sie wiederholt, um die Einstellungen für die Alarmein- und- ausschaltung durchlaufen.
| Drücken | Alarm 1 | Alarm 2 |
| 1x | Ein | Aus |
| 2x | Aus | Ein |
| 3x | Ein | Ein |
| 4x | Aus | Aus |
Wenn ein Alarm aktiviert ist, wird das entsprechende Alarmsymbol (0/2) angezeigt.
14.3 Ein Alarmsignal ausschalten
- Drücken Sie auf O oder , um einen ertöndenden Alarm abzuschalten.
14.4 Snooze (Schlummer-Funktion)
Zum zeitweiligen Stummschalten (Vorgabe: 10 Min.) eines ertönenden Alarms drücken Sie die Tasten OK oder II.
- Drücken Sie + oder - (oder drehen Sie den Einstellknopf) zum Ändern des Zeitintervals (5, 10, 15 oder 30 Min).
- Wahrend des Schlummerzeitraums blinkt das Alarmsymbol und die verbleibende Schlummerzeit wird angezeigt.
Zum Abschalten der automatischen Snooze (Schlummer-Funktion) drucken Sie O oder
15. Sleeptimer (automatische Abschalt-Funktion)
DE
Mit dem Sleeptimer (Schlummerfungtion) stellen Sie die Zeitdauer ein, bevor sich sonoroSTREAM automatisch abschaltet.
- Drücken Sie SETUP im Abspielmodus und wahren Sie dann [Hauptmenü] und [Schlummer].
- Drücken Sie + oder - (oder drehen Sie den Einstellknopf) zur Auswahl der Schlummerzeit (5, 10, 15, 30, 45, 60, 90 105 oder 120 Min.).
- Drücken Sie auf OK, um die Auswahl zu bestätigten.
Wenn der Sleeptimer aktiv ist, werden das Schlummersymbol (■) und die verbleibende Zeit angezeigt. Zum Abschalten des Sleeptimer wahlen Sie [Schlummer aus].
16. Systemeinstellungen
16.1 Zugang zu den Systemeinstellungen
- Drücken Sie in einem Abspielmodus auf SETUP und wahlen Sie dann [Systemeinstellungen].

Hinweis: Ausgewählte Optionen werden mit einem Sternchen gekennzeichnet.
16.2 Streaming Audio Qualität
Die drei Qualitätseinstellungen, die in den Systemeinstellungen vorgenommen werden können, beziehen sich ausschließlich auf Musik-Streaming Dienste.
- [Niedrige Qualität]: Entspricht der niedrigsten Qualität des Streaming Dienstes.
- [Normale Qualität]: Entspricht der normalen Qualität des Streaming Dienstes.
[Hohe Qualität]: Entspricht der hochsten Qualität des Streaming Dienstes.
16.3 Equalizer
- Wahlen Sie eine der Equalizer-Optionen: [Noarmal], [Bath], [Jazz], [Rock], [Soundtrack], [Klassik], [Pop], [Nachrichten], [Mein EQ] und [Meine EQ-Einstellung].
[Meine EQ-Einstellung] erfolglicht Ihnen die eigene Einstellung ihrer bevorzugten Bass- und Höhenregelung.
16.4 Netzwerk
- [Netzwerkassistent] Zum Einrichten einer Netzwerkverbindung.
[ PBC WLAN Aufbau] Wahlen Sie diese Option, wenn Ihr drahtloser Router die Einrichtungsmethoden WPS oder PBC unterstützen.
[Instellungen anzeigen] Zur Darstellung der aktuellen Netzwerkinformationen.
[WLAN-Region] Zur Auswahl einer WLAN-Region.
[Manuelle Einstellungen]
Wahlen Sie unter der Option [Wireless] [DHCP aktiv] aus, um die IP-Adresse automatisch zuzuweisen oder [DHCP inaktiv], um sie manuell zuzuweisen.
[NetRemotePIN-Setup]
Zur Einrichtung einer NetRemote PIN.
[Netzwerkprofil]
Zum Anzeigen einer im sonoroSTREAM gespeicherten Netzwerkliste.
[Netzwerkeinstellungen loschen]
Löscht alle Netzwerkeinstellungen.
[Netzwerkverbindung halten]
Hält die Netzwerkverbindung aufrecht. Damit konnen Sie sonoroSTREAM unter Verwendung einer Remote App aus dem Bereitschaftsmodus aktivieren.
16.5 Zeit/Datum
[Zeit-/Datumseinst]
Zur Einstellung von Uhrzeit und Datum.
[Auto Update]
Zur Auswahl einer Quelle (Radio, Internet-Netzwerk oder kein Update) zur automatischen Aktualisierung der Uhrzeit.
Wenn Sie die Uhrzeit von einer Quelleactualisieren (Radio - FM/DAB), ist die Sommerzeit-Einstellung nicht wirksam.
Wenn Sie die Uhrzeit vom Internet-Netzwerkactualisieren, müssen Sie ihre Zeitzone einstehen.
[Format einst]
Zur Einstellung des Zeitformats (12 oder 24 Stunden).
[Zeitzone einstellen]
Zur Festlegung einer Zeitzone.
[Sommerzeit?]
Zur Aktivierung oder Deaktivierung der Sommerzeit.
16.6 Inaktiver Standby
- Mit dieser Option können Sie die Zeitdauer festlegen, bevor sich sonoroSTREAM automatisch abschaltet. Verfügbare Optionen: Aus, 2, 4, 5 und 6 Stunden.
16.7 Sprache
- Mit dieser Option konnen Sie die Sprache festlegen. Verfügbare Optionen: Deutsch, Englisch, Dänisch, Spanisch, Französisch, Italienisch, Niederlandisch, Norwegisch, Polnisch, Portugiesisch, Finnisch, Schwedisch und Türkisch.
16.8 Werkseinstellungen
- Mit dieser Option werden alle benutzerdefinierten Einstellungen gelöscht und durch die ursprünglichen Werkseinstellungen ersetzt.
16.9 Software update
[Auto-Update]
Zur regelmäßigen automatischen Suche nach Aktualisierungen.
[Jetzt prüfen]
Zur sofortigen Suche nach Aktualisierungen.
Wenn eine neue Software verfügbar ist, wird sonoroSTREAM Sie Fragen, ob Sie die Aktualisierung durchführten sollen.
Vergewissern Sie sich vor einer Software-Aktualisierung, dass Ihr sonoroSTREAM über eine stabile Stromversorgung verfügt. Ein Trennen der Stromzufahr während eines Software-Updates kann sonoroSTREAM beschädigen.
16.10 Einrichtungsassistent
- Zur Durchführung der ersten Einrichtung (siehe Kapitel "Erste Einrichtung").
16.11 Info
- Hier werden die aktuelle Software-Version, Spotify-Version, Radiokennung und Gerätename angezeigt.
16.12 Datenschutz
- Bitte besuchen Sie folgende Web-Side:
www.frontiersmart.com/privacy
16.13 Anzeigehelligkeit
[Dimmer Level]
Zur Auswahl der Helligkeit der Anzeige. Folgende Options konnen gewählt werden: [Hoch], [Mittel], [Gering] oder [Auto].
Wenn [Auto] gewählt wird, wird die Helligkeit über den Sensor an der Front des sonoroSTREAM automatisch an das Umgebungslicht angepasst.
17. Verwendung der UNDOK™ App zur
Steuerung des sonoroSTREAM
sonoroSTREAM ist kompatibel mit der UNDOK™ App von Frontier Silicon. Die App bietet umfassende Fernbedienungsfunktionen für FS-basierte Audiomodule mit iOS oder Android Smartphone.
Installieren und Verwenden der UNDOK™ App:
- Laden Sie die UNDOK™ App vom „App Store" oder von „Google Play" herunter und installieren Sie sie auf Ihr hem iOS oder Android Smartphone.

- Verbinden Sie Ihr Smartphone mit dem gleichen Wi-Fi-Netzwerk wie sonoroSTREAM.
- Starten Sie die UNDOK™ App auf Ihrhem Smartphone. Die App sicht nach kompatiblen Audiosystemen. Sie können auch „Audiosystem einrichten“ wahlen, um dieichte nach Audiosystemen zu starten.

- Wahlen Sie „sonoroSTREAM" aus der Liste verfügbarer Audiosysteme.

DE
- Steuern von sonoroSTREAM über die UNDOK™ App.

18. Fehlerbehebung
Bei allen elektrischen Geräten konnen Störungen auftreten. Dabei muss es sich nicht immer um einen Defekt handeln. Prüfen Sie deshalb anhand nachfolgender Tabelle, ob Sie die Störung selbst beseitigen konnen.
| Störung | Mögliche Ursache | Behebung |
| Gerät schaltet nicht ein | Netzkabel ist nicht richtig angeschlossen. | Schreiben Sie das Netzkabel richtig an. |
| sonoroSTREAM reagiert nicht | Fehler am sonoroSTREAM. | Trennen Sie den Stecker und stecken Sieihn wieder ein. Schalten Sie sonoroSTREAM dann wieder ein. |
| Fernbedienung funktioniert nicht oder nur fehlerhaft | Abstand zum sonoroSTREAM ist zu groß. | Verringern Sie den Abstand zwischen Fernbedienung und sonoroSTREAM. |
| Batterie ist leer. | Tauschen Sie die Batterie aus. | |
| Kein Ton oder schlechter Ton | Ton ist aus. | Regeln Sie die Lautstärke. |
| Kopfhörer ist eingesteckt. | Ziehen Sie den Kopfhörerstecker. | |
| sonoroSTREAM ist nicht im wichtigen Abspielmodus. | Wählen Sie einen anderen Abspielmodus. | |
| Empfang von FM/DAB oder Internet ist schlecht. | Richten Sie die FM/DAB-Antenne aus oder prüfen Sie die Wi-Fi-Verbindung. | |
| Störungen durch andere Funksender oder Geräte. | Erhöhen Sie den Abstand zwischen sonoroSTREAM und anderen Geräten. | |
| Alarm Funktioniert nicht. | Alarm ist nicht aktiviert. | Aktivieren Sie den Alarm. |
| Alarmlautstärke ist zu niedrig. | Alarmlautstärke erhöhen. | |
| Unzureichende Wi-Fi-Signalstärke | Der Router ist zuweit enternet oder blockiert. | Stellen Sie sonoroSTREAM)naher zumRouter oderändern Sie die Lage der |
| Keine Verbindung zum Wi-Fi-Network | Router ist nicht eingeschaltet oder funktioniert nicht richtig. | Schalten Sie ihren Router ein oder prüfen Sie den Router-Zustand. |
| Falsches Einrichtungs-verfahren. | Prüfen Sie, ob Ihr Router WPS unterstützt und das richtige Einrichtungs-verfahren verwendet (PBC oder PIN). | |
| Konfigurieren Sie nochmals die Wi-Fi-Einstellungen. | ||
| Internet-Radiosender Funktioniert manchmal nicht. | Manche Sender unterstützen nur eine begrenzte Zahl an Hörern. | Versuchen Sie es später nochmals. |
| Der Radiosender sendet nicht. | Versuchen Sie es später nochmals. | |
| Einige Internet-Radiosender verschwinden von der Senderliste. | Der Sender wird von der liste entfern, wenn er nicht mehr sendet. | Versuchen Sie es später nochmals. Wenn der Sender wieder zu halten beginnnt, erscheidert earlier in der Kunden. |
| USB-Gerät faktioniert nicht. | ||
| USB-Gerätlädt nicht. | Prüfen Sie das USB-Kabel. |
19. Reinigung
DE

HINWEIS!
Sachschemen durch unsachgemäße Reinigung!
Falsche Reinigung kann zu eingeschränkter Funktionalität und Schäden am sonoroSTREAM führen.
- Verwenden Sie keinesfalls scharfe oder Lösungsmittelhaltige Reinigungsmittel, da diese die Oberfläche des sonoroSTREAM angreifen.
- Verwenden Sie keine Heiβ- oder Druckluft zur Trocknung dessonoroSTREAM.
Die Ecken und Kanten des sonoroSTREAM sind druckempfindlich. Schützen Sie diese vor zu hohem Druck.
Fingerabdrücke und leichte Verschmutzungen reinigen
- Reinigen Sie sonoroSTREAM nur von außen mit einem trockenen, weichen Tuch.
Starke Verschmutzungen reinigen
- Reinigen Sie sonoroSTREAM nur von außen mit einem leicht angefeuchteten Tuch und trocknen Sie sonoroSTREAM dann mit einem weichen, trockenen Tuch.
20. Garantie
Für die Geltendmachung von Garantieansprüchen gilt - ohne dass dadurch ihre gesetzlichen Rechte eingeschrankt werden - Folgendes:
- Garantieansprüche können nur innerhalb eines Zeitraums von max. 2 Jahren (1 Jahr in Nordamerika und Australien) gerechnet ab Kaufdatum, geltend gemacht werden.
- Innerhalb der Garantiezeit beseitigt sonoro audio GmbH nach eigener Wahl durch Reparatur oder Austausch des sonoroSTREAM unentgeltlich alle Mängel, die auf Material- oder Herstellungsfehlern berufen.
- Bei Reklamationsanfragen wenden Sie sichitte an unseren Kundenservice. Die Kontaktdaten finden Sie unter „Kontaktdaten" oder unter www.sonoro.de.
- Mit Reparatur oder Austausch des sonoroSTREAM beginnt kein neuer Garantiezeitraum. Maßgeblich bleibt der Garantiezeitraum von 2 Jahren (1 Jahr in Nordamerika und Australien) ab Kaufdatum.
Von der Garantie ausgenommen sind Batterien, Schäden durch unsachgemäßen Gebrauch, normaler Verschleiß und Verbrauch sowie Mängel, die den Wert oder die Gebrauchstauglichkeit des sonoroSTREAM nur unerheblich beeinflussen. Bei Eingriffen, die nicht von dem von uns autorisierten Servicezentrum vorgenommen wurden, erlischt die Garantie ebenfalls.
sonoroSTREAM
SO-410
INTERNET RADIO WITH WIFI, DAB+ & BLUETOOTH®

Operating manual
Table of contents
GB
- Introduction 53
1.1 Contact data 53
1.2 Intended use 54
2.3 Technische gegevens
Sterke verontreinigungen reinigen
4. Generelle Funktioner 252
5. Indstillinger 253
6. Indikatorsymboler 254
7. FM Radio 255
7.1 Anvendelse 255
7.2 Opsaetningsmenu 256
8. DAB Radio 257
3. Sådan kommt du i gang
4. Generelle Funktioner
Folgende Funktioner er tilgengelige:
15. Sleeptimer (automatisch deaktiveringsfunktion)
Bei der Entwicklung und Produktion unserer Musiksysteme legen wir größten Wert auf Qualität und hochstmögliche Sorgfalt. Dazu gehört auch, dass jeder einzeln Musiksystem vor dem Verlassen des Werkes auf Herz und Nieren geprüft wird.
Es ist uns daher besonders wichtig, dass Sie nach dem Kauf noch lange Freude an Ihr fremsonoro Musiksystem haben. Ist der Inhalt unvollständig oder beschädigt? Gibt es Anlass zu Beanstandungen? Wir setzen Sie mit ihren Fragen nicht allein. Verlassen Sie sich auf das Know-how unserer Service-Mitarbeiter. Unser Service-Team weiß alles, was es über die sonoro Produkte zu wisen gibt und berät Sie freundlich, Schnell und kompetent.
EinfachAnleitung