DWL-3260AP - Wireless Access Point D-LINK - Free user manual and instructions

Find the device manual for free DWL-3260AP D-LINK in PDF.

📄 37 pages English EN 💬 AI Question
Notice D-LINK DWL-3260AP - page 1
View the manual : Français FR English EN Español ES Português PT

User questions about DWL-3260AP D-LINK

0 question about this device. Answer the ones you know or ask your own.

Ask a new question about this device

L'email reste privé : il sert seulement à vous prévenir si quelqu'un répond à votre question.

No questions yet. Be the first to ask one.

Download the instructions for your Wireless Access Point in PDF format for free! Find your manual DWL-3260AP - D-LINK and take your electronic device back in hand. On this page are published all the documents necessary for the use of your device. DWL-3260AP by D-LINK.

USER MANUAL DWL-3260AP D-LINK

Managed Wireless Access Point

System Requirements:

Minimum System Requirements:

  • CD-ROM Drive
  • Computers with Windows, Macintosh, or Linux-based operating systems
  • Installed Ethernet Adapter Internet Explorer version 6.0 or Netscape Navigator version 7.0 and above.

Package Contents

D-LINK DWL-3260AP - Package Contents - 1

D-LINK DWL-3260AP - Package Contents - 2

D-LINK DWL-3260AP - Package Contents - 3

D-LINK DWL-3260AP - Package Contents - 4

D-LINK DWL-3260AP - Package Contents - 5

D-LINK DWL-3260AP - Package Contents - 6

D-LINK DWL-3260AP - Package Contents - 7

D-Link AirPremier™ DWL-3260AP Managed Wireless Access Point
Power over Ethernet base unit
Power Adapter-DC 48V, 0.4A
Power Cord
Manual and Warranty on CD
Quick Installation Guide
Ethernet Cable
Mounting Plate

Note: Using a power supply with a different voltage than the one included with the DWL-3260AP will cause damage and void the warranty for this product.

If any of the above items are missing, please contact your reseller.

Installing the Hardware

D-LINK DWL-3260AP - Installing the Hardware - 1

D-LINK DWL-3260AP - Installing the Hardware - 2

D-LINK DWL-3260AP - Installing the Hardware - 3

Notice: DWL-3260AP has embedded antenna inside, if you need to use external antenna, please turn the switch button to Ext. and attach the antenna.

Connecting the Ethernet and Power Cables

The access point receives power through the Ethernet cable or an external power adapter. And also, this product intended only for installation in Environment A as defined in IEEE 802.3af, Power over Ethernet (PoE).

D-LINK DWL-3260AP - Connecting the Ethernet and Power Cables - 1

The access point power options:

Option 1: Connect with a D-Link wireless switch or other 802.3af PoE compliant switch.

Option 2: Use the PoE Base Unit to connect to a switch that lacks PoE capabilities.

Option 3: Connect to available power using the included power adapter.

Note: This product and all interconnected equipment must be installed indoors, including all associated LAN connections.

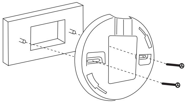
Physical Installation for Your Access Point:(optional)

D-LINK DWL-3260AP - Physical Installation for Your Access Point:(optional) - 1

Junction Box Installation:

  1. Attach the bracket to the junction box.
    2.attach the DWL-3260AP to the mounting bracket.

D-LINK DWL-3260AP - Junction Box Installation: - 1

Solid Wall or Ceiling Installation:

  1. Mount the bracket on the appropriate position on the wall or Ceiling.
  2. Mount the AP to the bracket on the wall or ceiling.

Technical Support

You can find software updates and user documentation on the D-Link website.

Tech Support for customers within Australia:

D-Link Technical Support over the Telephone:

1300-766-868

Monday to Friday 8:00am to 8:00pm EST

Saturday 9:00am to 1:00pm EST

D-Link Technical Support over the Internet:

http://www.dlink.com.au

email:support@dlink.com.au

Tech Support for customers within New Zealand:

D-Link Technical Support over the Telephone:

0800-900-900

Monday to Friday 8:30am to 8:30pm

Saturday 9:00am to 5:00pm

D-Link Technical Support over the Internet:

http://www.dlink.co.nz

email:support@dlink.co.nz

Technical Support

You can find software updates and user documentation on the

D-Link website.

Tech Support for customers within South Eastern Asia and Korea:

D-Link South Eastern Asia and Korea Technical Support over the Telephone:

+65-6895-5355

Monday to Friday 9:00am to 12:30pm, 2:00pm-6:00pm

Singapore Time

D-Link Technical Support over the Internet:

email:support@dlink.com.sg

Technical Support

You can find software updates and user documentation on the D-Link website.

Tech Support for customers within India

D-Link Technical Support over the Telephone:

+91-22-26526741

+91-22-26526696 -ext 161 to 167

Monday to Friday 9:30am to 7:00pm

D-Link Technical Support over the Internet:

http://www.dlink.co.in

http://www.dlink.co.in/dlink/drivers/support.asp

ftp://support.dlink.co.in

email: techsupport@dlink.co.in

Technical Support

You can find software updates and user documentation on the D-Link website.

D-Link provides free technical support for customers for the duration of the warranty period on this product.

Customers can contact D-Link technical support through our web site or by phone.

Tech Support for customers within the Russia

D-Link Technical Support over the Telephone:

(495) 744-00-99

Monday to Friday 10:00am to 6:30pm

D-Link Technical Support over the Internet:

http://www.dlink.ru

email: support@dlink.ru

Technical Support

You can find software updates and user documentation on the D-Link website.

Tech Support for customers within the U.A.E & North Africa:

D-Link Technical Support over the Telephone:

(971) 4-391-6480 (U.A.E)

Sunday to Wednesday 9:00am to 6:00pm GMT+4

Thursday 9:00am to 1:00pm GMT+4

D-Link Middle East & North Africa

D-Link Technical Support over the Internet:

http://support.dlink-me.com

email:support@dlink-me.com

Tech Support for customers within Israel:

D-Link Technical Support over the Telephone:

(972) 9-9715701

Sunday to Thursday 9:00am to 5:00pm

D-Link Technical Support over the Internet:

http://www.dlink.co.il/support/

e-mail: support@dlink.co.il

Tech Support for customers within Turkey:

D-Link Technical Support over the Telephone:

00903124734055

Monday to Friday 9:00am to 6:00pm

D-Link Technical Support over the Internet:

http://www.dlink.com.tr

e-mail: turkiye@dlink-me.com

Tech Support for customers within Egypt:

D-Link Technical Support over the Telephone:

+202-2919035, +202-2919047

Sunday to Thursday 9:00am to 5:00pm

D-Link Technical Support over the Internet:

http://support.dlink-me.com

e-mail: amostafa@dlink-me.com

Technical Support

You can find software updates and user documentation on the D-Link website.

Tech Support for customers within South Africa and Sub Sahara Region:

D-Link South Africa and Sub Sahara Technical Support over the Telephone:

+27-12-665-2165

08600 DLINK ( For South Africa only )

Monday to Friday 8:30am to 9:00pm South Africa Time

D-Link Technical Support over the Internet:

http://www.d-link.co.za

email:support@d-link.co.za

Technical Support

You can find software updates and user documentation on the D-Link website.

Tech Support for Latin America customers:

D-Link Technical Support over the followings Telephones:

Argentina: 0-800 122 35 465

Chile: 800-835465

Colombia: 01-800 952 54 65

Ecuador: 1800-035465

El Salvador: 800-6137

Guatemala:1800-300 0017

Panama: 00-800 052 54 65

Peru: 0800-00 968

Venezuela: 0-800-100 5767

Monday to Friday 09:00am to 22:00pm

Monday to Friday 08:00am to 21:00pm

Monday to Friday 07:00am to 20:00pm

Monday to Friday 07:00am to 20:00pm

Monday to Friday 06:00am to 19:00pm

Monday to Friday 06:00am to 19:00pm

Monday to Friday 07:00am to 20:00pm

Monday to Friday 07:00am to 20:00pm

Monday to Friday 08:00am to 21:00pm

D-Link Technical Support over the Internet:

www.dlinkla.com

www.dlinklatinamerica.com

email:support@dlink.cl

Tech Support for customers within Brazil:

D-Link Technical Support over the Telephone:

0800 70 24 104

Monday to Friday 8:30am to 18:30pm

D-Link Technical Support over the Internet:

Manual assistant
Powered by Anthropic
Waiting for your message
Product information

Brand : D-LINK

Model : DWL-3260AP

Category : Wireless Access Point