DWL-3260AP - Punto de acceso inalámbrico D-LINK - Manual de uso y guía de instrucciones gratis

Encuentra gratis el manual del aparato DWL-3260AP D-LINK en formato PDF.

📄 37 páginas Español ES 💬 Pregunta IA 8 preguntas ⚙️ Especif.
Notice D-LINK DWL-3260AP - page 19
Ver el manual : Français FR English EN Español ES Português PT
Título Descripción
Tipo de producto Punto de acceso inalámbrico
Normas inalámbricas IEEE 802.11b/g
Frecuencia 2.4 GHz
Velocidad máxima 54 Mbps (802.11g)
Puertos Ethernet 1 puerto 10/100 Mbps
Alimentación eléctrica Adaptador de corriente 5V DC
Dimensiones aproximadas 200 x 200 x 40 mm
Peso 500 g
Funciones principales Punto de acceso, puente inalámbrico, modo repetidor
Seguridad WEP, WPA, WPA2
Uso Ideal para entornos de oficina y domésticos
Mantenimiento y limpieza Limpiar con un paño suave, evitar productos químicos
Piezas de repuesto y reparabilidad Disponibilidad limitada de piezas de repuesto
Compatibilidades Compatible con dispositivos 802.11b/g
Garantía 1 año

Preguntas frecuentes - DWL-3260AP D-LINK

¿Cómo restablecer el D-LINK DWL-3260AP a los ajustes de fábrica?
Para restablecer su D-LINK DWL-3260AP, localice el botón de reinicio en el dispositivo. Mantenga presionado este botón durante aproximadamente 10 segundos hasta que la luz de alimentación parpadee, luego suéltelo.
¿Cómo configurar el D-LINK DWL-3260AP por primera vez?
Conecte el D-LINK DWL-3260AP a su computadora a través de un cable Ethernet. Abra un navegador web e ingrese la dirección IP predeterminada '192.168.0.50'. Inicie sesión con el nombre de usuario 'admin' y la contraseña 'admin'. Siga las instrucciones en pantalla para completar la configuración.
¿Por qué mi D-LINK DWL-3260AP no se conecta a Internet?
Verifique que el cable Ethernet esté correctamente conectado y que su módem esté funcionando. Asegúrese también de que los ajustes de conexión (SSID, contraseña, tipo de seguridad) estén configurados correctamente en la interfaz del D-LINK.
¿Cómo cambiar la contraseña Wi-Fi en el D-LINK DWL-3260AP?
Acceda a la interfaz de gestión ingresando la dirección IP '192.168.0.50' en un navegador. Inicie sesión y vaya a la pestaña 'Wireless'. Podrá modificar la contraseña en la sección 'WPA-PSK' o 'WEP'.
Mi D-LINK DWL-3260AP se sobrecalienta, ¿qué hacer?
Asegúrese de que el D-LINK DWL-3260AP esté colocado en un lugar bien ventilado. Evite instalarlo en espacios cerrados o cerca de fuentes de calor. Si el problema persiste, contacte al soporte técnico.
¿Cómo actualizar el firmware del D-LINK DWL-3260AP?
Descargue la última versión del firmware desde el sitio oficial de D-Link. Inicie sesión en la interfaz de gestión, vaya a 'Mantenimiento', luego 'Actualización de Firmware'. Seleccione el archivo descargado y siga las instrucciones para realizar la actualización.
¿Cómo resolver problemas de conexión intermitente con el D-LINK DWL-3260AP?
Verifique si hay interferencias causadas por otros dispositivos inalámbricos. Cambie el canal Wi-Fi en la interfaz de configuración. Asegúrese también de que el firmware esté actualizado y que el dispositivo esté correctamente configurado.
¿Cómo verificar el estado de la conexión en el D-LINK DWL-3260AP?
Inicie sesión en la interfaz de gestión a través de la dirección IP '192.168.0.50'. En el panel de control, puede consultar el estado de la conexión, incluyendo el número de clientes conectados y la calidad de la señal.

Preguntas de los usuarios sobre DWL-3260AP D-LINK

0 pregunta sobre este aparato. Responde a las que conoces o haz la tuya.

Hacer una nueva pregunta sobre este aparato

L'email reste privé : il sert seulement à vous prévenir si quelqu'un répond à votre question.

Aún no hay preguntas. Sé el primero en hacer una.

Descarga las instrucciones para tu Punto de acceso inalámbrico en formato PDF gratis! Encuentra tus instrucciones DWL-3260AP - D-LINK y toma tu dispositivo electrónico nuevamente en la mano. En esta página están publicados todos los documentos necesarios para el uso de su dispositivo. DWL-3260AP de la marca D-LINK.

MANUAL DE USUARIO DWL-3260AP D-LINK

Punto de acceso inalámbrico gestionable

Requisitos del sistema:

Requisitos-minimos delsystema:

  • Unidad de CD-ROM.
  • Ordenadores con sistemas operativos Windows, Macintosh o basados en Linux.
  • Adaptador Ethernet instalado Internet Explorer version 6.0 o Netscape Navigator version 7.0 y superiores.

Containido del paquete

D-LINK DWL-3260AP - Containido del paquete - 1

D-LINK DWL-3260AP - Containido del paquete - 2

D-LINK DWL-3260AP - Containido del paquete - 3

D-LINK DWL-3260AP - Containido del paquete - 4

D-LINK DWL-3260AP - Containido del paquete - 5

D-LINK DWL-3260AP - Containido del paquete - 6

D-LINK DWL-3260AP - Containido del paquete - 7

Punto de acceso inalámbrico gestionable D-Link AirPremier™ DWL-3260AP
Unidad base Power over Ethernet.
Adaptador de alimentación DC 48 V, 0,4 A
Cable de alimentación
Manual y garantía en el CD-ROM.
Guía de instalación<rápida.
Cable Ethernet.
Placa de montaje

Note: El uso de una fuente de alimentación condistincto voltaje a la incluida con el DWL-3260APuede serperjudicial yanular la garantíade este producto.

Si falta algo n de这些东西 componentes, contacte con su proveedor.

Instalación del hardware

D-LINK DWL-3260AP - Instalación del hardware - 1

D-LINK DWL-3260AP - Instalación del hardware - 2

D-LINK DWL-3260AP - Instalación del hardware - 3

Aviso: DWL-3260AP dispone de una antenna integrada; si necesita usar una antenna externa,onga el botón en Ext. y conecte la antenna.

Conexión de los cables de alimentación y Ethernet

El punto de acceso recibe la alimentacion a trovés del cable Ethernet o de un adaptorado de alimentacion externo. Además, este producto está pensado sólo para instalarlo en enternos A, como define IEEE 802.3af, Power over Ethernet (PoE).

D-LINK DWL-3260AP - Conexión de los cables de alimentación y Ethernet - 1

Oportunidades de alimentacion del punto de acceso:

Oportun 1: Conectarlo a un conmutador inalámbrico D-Link u otro conmutador acorde con 802.3af PoE.

Oportun 2: Usar launidad base PoE para conectarlo a un conmutador que carezca de你能 capacitacion PoE.

Opinion 3: Conectarlo a una toma electrica por medio del adaptordo de alimentacion incluido con el producto.

Note: Este producto y todos los equipos interconectados han de instalarse en interiores, incluidas todas las conexiones LAN asociadas.

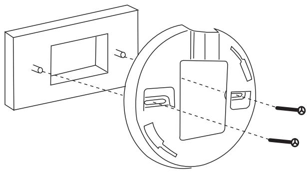
InstalaciónFsica del punto de acceso: (optional)

D-LINK DWL-3260AP - InstalaciónFsica del punto de acceso: (optional) - 1

Instalación en caja de conexiones:

1.Fije el ángulo a la caja de conexiones.
2.Fije el DWL-3260AP al angulo de montaje.

D-LINK DWL-3260AP - Instalación en caja de conexiones: - 1

Instalación en paredo techo:

1.Monte el ángulo en la posición adecuada sobre la pared o el techo.
2.Fije el punto de acceso al ángulo de montaje de la pared o del techo.

Asistencia Técnica

D-Link Latin América pone a disposicion de sus clientes, specifications, documentation y software mas reciente atramés de是我国 Sitio Web www.dlinkla.com

El servicios de soporte técnico tiene presencia en numerosos países de la Región Latino América, y presta asistencia gratuite a todos los pacientes de D-Link, en forma Telefonica e internet, abrands de la casilla soporte@dlinkla.com

Soporte Tecnico Help Desk Argentina:

Telfono: 0-800 122 35 465 Lunes a Viernes 09:00 am a 22:00 pm

Soporte Técnico Help Desk Chile:

Teléfono: 800 8 35465 Lunes a Viernes 08:00 am a 21:00 pm

Soporte Técnico Help Desk Colombia:

Telfono: 01-800 952 54 65 Lunes a Viernes 07:00 am a 20:00 pm

Soporte Técnico Help Desk Ecuador:

Teléfono: 1800-035465 Lunes a Viernes 07:00 am a 20:00 pm

Soporte Técnico Help Desk El Salvador:

Teléfono: 800-6137 Lunes a Viernes 06:00 am a 19:00 pm

Sopporté Técnico Help Desk Guatemala:

Teléfono: 1800-300 0017 Lunes a Viernes 06:00 am a 19:00 pm

Soporte Técnico Help Desk Panamá:

Telfono: 00-800 052 54 65 Lunes a Viernes 07:00 am a 20:00 pm

Soporte Técnico Help Desk Perú:

Teléfono: 0800-00 968 Lunes a Viernes 07:00 am a 20:00 pm

Soporte Técnico Help Desk Venezuela:

Telfono: 0-800-100 5767 Lunes a Viernes 08:00 am a 21:00 pm

D-LINK DWL-3260AP - Asistencia Técnica - 1

Asistente de manual
Powered by Anthropic
Esperando tu mensaje
Información del producto

Marca : D-LINK

Modelo : DWL-3260AP

Categoría : Punto de acceso inalámbrico