DWL-3260AP - Ponto de acesso sem fio D-LINK - Manual de utilização gratuito
Encontre gratuitamente o manual do aparelho DWL-3260AP D-LINK em formato PDF.
Perguntas dos utilizadores sobre DWL-3260AP D-LINK
0 pergunta sobre este aparelho. Responda às que conhece ou faça a sua.
Faça uma nova pergunta sobre este aparelho
Baixe as instruções para o seu Ponto de acesso sem fio em formato PDF gratuitamente! Encontre o seu manual DWL-3260AP - D-LINK e retome o controlo do seu dispositivo eletrónico. Nesta página estão publicados todos os documentos necessários para a utilização do seu dispositivo. DWL-3260AP da marca D-LINK.
MANUAL DE UTILIZADOR DWL-3260AP D-LINK
www.dlinkbrasil.com.br
email: suporte@dlinkbrasil.com.br


PykoBODCTBO NO 6bICTpoYcTaHOBKe
DWL-3260AP
YnpabJIeMa 6ecnpoBODHa TocKa DoCTyna
Системные Тpeбовая:
MHHMaJIbHbIe CnCTeMHbIe Tpe6oBaHnIa:
-Привов CD-ROM
- Komlbótepbí c onepaúnoHHbIMn cncTeMaMn Windows, Macintosh nn Linux
- UctaHOBJIeHHbI Ethernet-aanTp eN Internet Explorer Bercn 6.0 nIn Netscape Navigator Bercn 7.0 nIn Bbiwe
KoMnJIeKT NOcTaBKn







Unpabnemay becnpoBnna Tocka doctyna D-Link AirPremier™ DWL-3260AP
Ba3OBoe yctpoiCTBO PoE
AdaTep nItaHn - 48B noctoHHoro Toka, 0.4A
山hyp nntaHnA
PykoBoIcTBO noJIb3ObaTeJn rapaHTnHa KOMNaKT-DnCKe
PykoBoDCTBO IO 6bIcTpOyycTaHOBKe
Kabeb Ethernet
Montaxhna nlaTa
Guia de Instalação Rápida
DWL-3260AP
Access Point Wireless Gerenciável
Requisitos Minimos do Sistema
Requisitos Minimos do Sistema:
- Drive de CD-ROM
- Computador com Sistema Operacional Windows, Macintosh, ou Linux.
- Adaptador Ethernet Instalado, Internet Explorer 6.0 ou Netscape 7.0 e superior
Conteudo da Embalagem







Access Point Gerenciavel D-Link AirPremier™ DWL-3260AP
Unidade Base PoE
Adaptador de Energia DC 48V, 0.4A
Cabo de Energia
Manual e Garantia no CD
Guia de Instalação Rápida
Cabo Ethernet
Suporte de Montagem
NNota: Usar una fonte de energia com a voltagem diferente, pode danificar o produits e violar a garantia.
ISe algoum desses itens estiver faltando, por favor entre em contato com a sua revenda.
Instalando o Hardware



Note: O DWL-3260AP possui una antenna interna embutida, caso seja necessario o uso de antenna externa, vire o botão Ext e conecte a antenna.
Conectando os Cabos Ethernet e de Energia
O access point receive energia atraves do cabo Ethernet ou adaptor de energia externo. Este produit también é recomendado para instalação em um ambiente A como definido no IEEE 803.3af, Power over Ethernet (PoE).

Opções de Energia do Access Point:
Opção 1: Conecte com um Wireless Switch D-Link ou除外 Switch compatível com 802.3af PoE.
Opção 2: Utilize a unidade base PoE para conectar a um Switch que não tenha compatuldade com PoE.
Opção 3: Conecte a uma tomada de energia disponível atraves da fonte de energia inclua.
Note: Este produto e todos os equipamentos de interconexão podem ser instalados em ambientes internos, incluindo todas as conexões LAN associadas.
Instalação Física para o seu Access Point (optional)

Instalação da Caixa de Junção:
- Conecte o suporte a caixa de junção
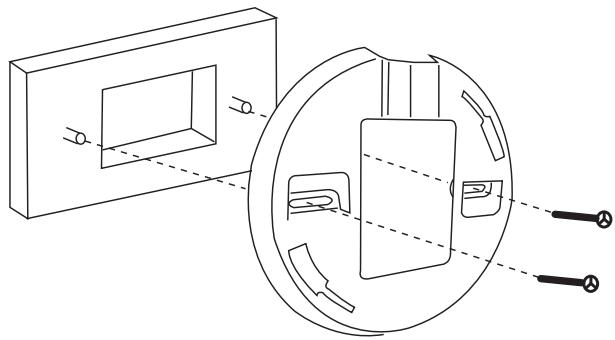
2.Conecte o DWL-3260AP ao suporte de montagem

Instalacao em Parede ou Teto:
1.Coloque o suporte na posicao apropriada sobre a parede ou teto
2.Monte o AP no suporte sobre a parede ou teto.
Suporte Técnico
Você pode encontrar atualizações de software e documentoação de usuario no site da D-Link Brasil www.dlinkbrasil.com.br.
A D-Link fornece suporte的技术ico Gratis para clients no Brasil durante o periodo de vigencia da garantia deste produits.
Suporte Técnico para clients no Brasil:
Telephone
São Paulo (11) 2185-9301
Segunda à sexta
Das 8h30 às 18h30
Demais Regioes do Brasil 0800 70 24 104
E-mail:
email: suporte@dlinkbrasil.com.br

快速安装手册
DWL-3260AP
無線基地台
系統需求:
最小系統需求:
ManualFácil