SIB JET BLACK - Earphones FOCAL - Free user manual and instructions
Find the device manual for free SIB JET BLACK FOCAL in PDF.
User questions about SIB JET BLACK FOCAL
0 question about this device. Answer the ones you know or ask your own.
Ask a new question about this device
Download the instructions for your Earphones in PDF format for free! Find your manual SIB JET BLACK - FOCAL and take your electronic device back in hand. On this page are published all the documents necessary for the use of your device. SIB JET BLACK by FOCAL.
USER MANUAL SIB JET BLACK FOCAL
Thank you for choosing Focal loudspeakers. We are pleased to share with you our philosophy :
the Spirit of Sound". These high-performance speakers feature the latest technical developments from Focal in terms of speaker design, whether it is for high fidelity or home theater systems. In order to enjoy the maximum of their performance, we advise you to read this user's manual and to keep it carefully so that you can consult it later.
D
Place the loudspeakers equally spaced either side of the listening position. It is advisable to place Sib at least 80cm from the floor for a better sound stage.

B-Wallfixing
- Before drilling any holes, check carefully that there are no electrical cables or pipes in the wall.
- Use the hexagonal key supplied in the base of the Sib to unscrew the bolt that holds the base to the support bracket
- Connecting Sib : see section "connections" page 4.
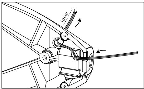
Feed the cable through the base piece as indicated in the diagram.
Leave around 10cm of free cable to facilitate connection.


- Use the base as a template to mark the
position of the three fixing screws on the wall. The three fixing holes should be drilled with a 6mm masonry bit and the plastic wall plugs firmly inserted until they are flush with the wall surface.
Fix the base with the three screws supplied.

- Unscrew the two fixing clamps.
- Remove the silver support piece, turn it 180^ , and reposition the support so that it will fit horizontally with the wall mounted base.
- Re-mount the two clamps and screw them firmly in place.
- Connect up the loudspeaker cables and re-fix the Sib onto its wall mounted base.




Connexion
As with any performance product, Sib should be connected to the amplifier using a high quality pure copper cable of at least 0.15mm .

Connect the "+" from the amplifier to the "+" on the Sib (red) and the "-" from the amplifier to the "-" of the Sib (black).

Stereo configuration
Place the loudspeakers equally spaced either side of the listening position.

Home theater configuration
Sib is magnetically screened, so can be placed can be placed close, on or below a television without distorting the picture.
The "SMALL" or "NARROW" setting should be used on your AV amplifier for the Sib.
For the LFE or subwoofer channel we recommend that you use the Focal Cub active subwoofer which was designed to acoustically match the Sib. See Cub instruction manual.

Specifications
| Description | 2-way bass reflex multi-purpose loudspeaker |
| Drivers | One 125mm woofer midrange |
| L.F. (-6dB point) | One 19mm shielded tweeter |
| Frequency response (+/- 3dB) | 75Hz - 20kHz |
| Efficiency (2.8V/1m) | 90 dB |
| Nominal impedance (EN 60065) | 6 ohms |
| Crossover frequencies | 3kHz |
| Recommended amplifier | 15 - 75W |
| Total dimensions (HxWxD) | 247mm x 142mm x 164mm |
| Net weight | 2.1kg |
Conditions of guarantee
All Focal loudspeakers are covered by guarantee drawn up by the official Focal distributor in your country. Your distributor can provide all details concerning the conditions of guarantee. Guarantee cover extends at least to that granted by the legal guarantee in force in the country where the original purchase invoice was issued.
Placement
International Guarantee
The Focal guarantee only applies if this page is returned to us within 10 days of purchase, to the following address:
Your complete address:
Your email address:
Details of your installation (brand, model):
- iPod, iPad, iPhone®:
Other music players:
Your decision for purchasing this Focal model was made according to:
Dealer's advice
□ Friend's advice
□ Visit to an exhibition, show
Press article
Listening in auditorium
□ Already own Focal products
□ Reliability / Quality
□ Documentation
Reputation
French produce
Guarantee
Quality / Price ratio
Design/Finishes
□ Other
Sound
In case of purchase of new equipment, what were your former speakers?
Explain in a few words why you choose Focal...
Further comments:
Now it's possible to register on line: www.focal.com/warranty

FOCAL®
THE SPIRIT OF SOUND
C
EasyManual