Patio Chef - Grill Patton - Kostenlose Bedienungsanleitung
Finden Sie kostenlos die Bedienungsanleitung des Geräts Patio Chef Patton als PDF.
| Technische Merkmale | Gasgrill mit mehreren Brennern, Grillfläche aus emailliertem Stahl, Gesamtleistung von XX kW. |
|---|---|
| Abmessungen | Gesamtmaße: XX cm x XX cm x XX cm, Grillfläche: XX cm x XX cm. |
| Verwendung | Ideal zum Grillen von Fleisch, Gemüse und Fisch, mit Optionen für direkte und indirekte Hitze. |
| Wartung | Regelmäßige Reinigung der Grillroste und Brenner, Überprüfung der Gasleitungen auf Undichtigkeiten. |
| Sicherheit | Nur im Freien verwenden, von brennbaren Materialien fernhalten, Gasverbindungen vor Gebrauch überprüfen. |
| Allgemeine Informationen | XX Jahre Garantie, enthaltenes Zubehör: Grillutensilien, Deckel, integriertes Thermometer. |
Häufig gestellte Fragen - Patio Chef Patton
Benutzerfragen zu Patio Chef Patton
0 Frage zu diesem Gerät. Beantworten Sie die, die Sie kennen, oder stellen Sie Ihre eigene.
Eine neue Frage zu diesem Gerät stellen
Laden Sie die Anleitung für Ihr Grill kostenlos im PDF-Format! Finden Sie Ihr Handbuch Patio Chef - Patton und nehmen Sie Ihr elektronisches Gerät wieder in die Hand. Auf dieser Seite sind alle Dokumente veröffentlicht, die für die Verwendung Ihres Geräts notwendig sind. Patio Chef von der Marke Patton.
BEDIENUNGSANLEITUNG Patio Chef Patton
DE,CH,AT Gebrauchsanweisung-48
MONTAGE VAN DRUKREGELAAR EN GASSLANG
EEN VEILIG GEBRUK VAN DE GASFLES
Draai de kraan van de gasfles na elk gebruik direct dicht.
- Indien u de barbecue binnenshuis opbergt, demonteer dan de gasfles en berg deutsche buitenshuis op.
Bewaar de gasfles nicht binnenshuis.
BARBECUEN MET GESLOTEN KAP
- Technische Angaben der Modelle Patio Chef
| Produktbezeichnung | Patio Chef 2+-burner | CE 0063-14 | ||||
| Modellnummer | 54GCPR201 | |||||
| Identifikationsnr. des produits | 0063CN7292 | |||||
| Gesamt-Wärmleistung: Qn | 8.4 kW (610 g/h) | |||||
| Gaskategorie | I3+(28-30/37) | I3B/P(30) | I3B/P(50) | I3B/P(37) | ||
| Gastyp | Butan Propan | Butan/Propan Butan/Propan Butan/Propan | ||||
| Gasdruck | 28 - 30 mbar 37 | mbar | 30 mbar 50 mbar | 37 mbar | ||
| Düsengröße | 0.86 mm | 0.86 mm | 0.76 mm 0.82 mm | |||
| Düsengröße Seitenbrenner | 0.75 mm | 0.75 mm | 0.65 mm 0.65 mm | |||
| Bestimmungsland | BE, CH, CY, CZ, ES, FR, GB, GR, IE, IT, LT, LU, LV, PT, SK, und SI. | BE, CY, DK, EE, FI, HU, LT, NL, NO, SE, SI, SK, RO, HR,TR, BG,LU und MT. | AT, CH, DE und SK | PL | ||
| Produktbezeichnung | Patio Chef 3+-burner | CE 0063-14 | ||||
| Modellnummer | 54GCPR511 | |||||
| Identifikationsnr. des produits | 0063CN7292 | |||||
| Gesamt-Wärmleistung: Qn | 11.4 kW (829 g/h) | |||||
| Gaskategorie | I3+(28-30/37) | I3B/P(30) | I3B/P(50) | I3B/P(37) | ||
| Gastyp | Butan Propan | Butan/Propan Butan/Propan Butan/Propan | Propan | |||
| Gasdruck | 28 - 30 mbar 37 | mbar | 30 mbar 50 mbar | |||
| Düsengröße | 0.86 mm | 0.86 mm | 0.76 mm 0.82 mm | |||
| Düsengröße Seitenbrenner | 0.75 mm | 0.75 mm | 0.65 mm 0.65 mm | |||
| Bestimmungsland | BE, CH, CY, CZ, ES, FR, GB, GR, IE, IT, LT, LU, LV, PT, SK, und SI. | BE, CY, DK, EE, FI, HU, LT, NL, NO, SE, SI, SK, RO, HR,TR, BG,LU und MT. | AT, CH, DE und SK | PL | ||
| Nur zur Verwendung im Freien. |
| Lesen Sie die Bedienungsanleitung vor Inbetriebnahme. |
| Die zugänglichen Teile konnen sehr heißt sein. Kleine Kinder sind fernzuhalten. |
| Das Gerät nicht bewegen während des gebrauchs. |
| Schalten Sie die Gaszufahr an der Gasflasche ab nach dem Gebrauch. |
| Jede Veränderung an thisem Gasgrill kann gefährlich sein. |
| Vom Hersteller oder Verkäufer versiegelte Teile dürfen vom Benutzer in keiner Weise verändert werden. |
| Ändern Sie nichts an das Gerät. |
TECHNISCHE SPEZIFIKATION DES GRILLS BEFINDET SICH AUF DEM SILBERNEN SCHILD.
ZUM GRILL WIRD FLUSSIGER PROPAN/BUTAN ANGEWANDT. KEINE LEITUNGEN ODER ANSCHLUSSE VERWENDEN, DIE ZU ERDGAS BESTIMMT SIND; ES SEI DANN DER GRILL DAZU ANGEPASST IST.
UM DEN GRILL ZU BENUTZEN IST EINE LPG-FLASCHE ZU BESOREN, DIE MIT PROPAN ODER BUTAN GEFULLT IST UND IN DRUCKREGLER IN MB GEMÄB DER GELTENDER GESETZGEBUNG AUSGESTATTET IST.
GENEHMIGEN SIE DEN KINDERN NIE DEN GRILL SELFST ZU BEDIENEN.
ZUGANGLICHE TEILE KONNEN SEHR HEI SEIN; DIE KINDER VON DER ANLAGE FERNHALTEN.
ÄNDERUNGEN IM GRILL KÖNNEN ZUR GEFAHR FÜHRENN.
WEDER DEN REGLER NOCH DEN GASABFLUSS AANDERN.
DEN GRILL WAHREND DES BETRIEBS NICTHT VERSTellen.
DEN SCHLAUCH VOR JEDEM GEBRAUCH FÜR BRÜCHE; BESCHÄDIGUNGEN ODER ANDEREN ZERSTÖRUNGEN PRÜFEN.
DIE FLAMME NICT ANZUNDEN, FALLS GASGERUCH ZU RIECHEN IST.
DIE VOM PRODUZENTEN AUSGESCHALTETE ELEMENTE UNBERUHRT LASSEN.
DIE GASQUEILLE NEBEN DEM GRILL, UNDER DEM GRILL ODER AUF DER KARRE NICTT STELEN.
WEDER VOLLE NOCH LEERE ERSATZBEHÄLTER UNDER DEM GRILL ODER IN SEINER NAHE AUFBEWAHREN.
IN DER NÄHE DES GRILLS KEIN BENZIN ODER KEINE ANDERE FLÜCHTIGE BRENNBARE STOFFE AUFBEWAHREN
GASSCHLAUCH UND ELEKTRISCHE LEITUNGEN FERN VON HEIßen FLÄCHEN AUFBEWAHREN.
VORBEUGEN SIE DEM DREHEN DES GASSCHLAUCHS.
DEN SCHLAUCH WECHSELN; WENN ES BESCHÄDIGT IST ODER WENN DIES DIE LANDESVORSCHRIFTEN BEDÜRFEN.
DEN FEUER IM GRILL NICT ANZUNDEN; WENN DIE DECKUNG GESCHLOSSEN IST.
DIE FLAMMEN HABEN BLAU ZU SEIN UND HABEN STABIL ZU BRENNEN; OHNE GELBER FARBE AN DEN ENDUNGEN.
SICH AN DER OBERFLÄCHE DER SCHÜSSL ODER DES ROSTES WÄHREND ANZündUNG DER ANLAGE NICTHT LEHNEN.
NUR DIE FACHGERÄTE FÜR DEN GRILL UND ACCESSIORES VON GUTER QUALität T GEBRAUCHEN.
DEN FLAMMETRENNER / GRILLROST / GRILLPLATTE ODER GRILLSOCKEL MIT ALUFOLIE ODER ANDEREM MATERIAL NICT BEDECKEN: DASS KANN ERNSTHAFT DEN LUFTDURCHFLUSS STÖREN UND / ODER ZUR UBERMÄGIGEN ERWÄRMUNG IM BEREICH DES BRENNERS FühREN.
- ALLE VERPACKUNGSELEMENTE UND ANBRINGUNGSBÄNDE AUS DEM GRILL UND BRENNER VOR DER ERSTEN INBETRIEBNAHME DES GRILLS BSEITIGEN.
FETT IST EIN BRENNBARER STOFF: DEN FETT ERST NACH ABKUHLEN ENTFERNEN. SAMMELN DES FETTS IN DEM FETTBEHALTER AUF DEM SCHUSSELBODEN MIT FEUER NICTZULASSEN: SYSTEMATISCH DEN FETTBEHALTER REINIGEN (JE NACH 4-5 VERWENDUNGEN).
ALLE KNOPFE AUSSCHALTEN UND SICHERSTELLEN, DASS DER GRILL ABGEKUHLT IST; BEVOR SIE DAS SPRUHGERAT MIT REINIGUNGSMITTEL ANWENDEN, UM DEN GRILL ZU REINIGEN. CHEMISCHE STOFFE IN DEN SPRUHGERATEN KONNEN IN DER NAHE DER WARMEQUELLE FLAMME ODER KORROSION HERVORRUFEN:
- TEILE / ACCESSORIES VON ANDEREN HERSTELLERN NICT GEBRAUCHEN, ES SEI DENN, SIE VON PATTON AUSDRUCKLICH EMPFOHLEN WERDEN. DIE GARANTIE VERLIERT DIE GÜLTIGKEIT NACH BETRIEB SOLCHER TEILE ODER ACCESSOIRES.
DEN VENTIL DER GASFLASCHE NACH JEDEM BETRIEB ZUDREHEN.
SICHERHEIT
- Nie den Grill nie ohne Druckregler betreiben.
- Werde kein für den jeweiligen Brennstoff entsprechender Druckregler gefelert, behmen Sie,itte, Kontakt mit dem lokalen Gaslieferanten auf, um den Regler zu besorgen.
Die Druckhinweise in dem folgenden Schema dienen nur als Hinweise.
MONTAGE DES DRUCKREGLERS UND DER GASLEITUNG
- Druckregler und Gasleitung haben entspruchend für das flüssige Gas zu sein - Liquid Petrol Gas (LPG).
- Druckregler und Gasleitung haben den Druck wie oben auszuhalten.
Die Gasleitungarf nichtlangerals1,5msein. - Flexible Gasleitung ist an den Adapter anzuschlieben.
- Entsprechende Leitungsklemme verwenden, um die Leitung an den Grilladapter
anzuschlieben und zwecks Anschluss der Leitung / des Reglers.
- Alles montieren, Gas aufdrehen und die Leitung für Undichtheiten prufen. Siehe Undichtheitskontrolle. Dafür sorgen, dass dieser Vorgang in einem gut gelufteten Raum und fern von offener Flamme, Funken und Wärmequellen erfolgt.
- Deformierte oder verrostete LPG-Gasflachen nicht gebrauchen.

Illustration fur den Anschluss der Grill und Gasschauch

Illustration fur den Anschluss der Gasflasche, Regler und Gasschauch
ALLGEMEINE INFORMATIONEN
GRILLEINSTELLUNGEN
Den Grill nur im Freien betreiben.
Den Grill nie in touristischen Volkswagen gebrauchen.
Fur entsprchende Beluftung und freien Luftdurchfluss um den Grill fur Erhaltung optimaler Verbrennung sorgen.
KONTROLLE FÜR UNDICHTHEITEN
Achtung: Undichtheiten nie in der Nane der offenen Flamme prufen. Riecht es nach Gas, ist der Grill nicht anzuzüden. In solcher Situation ist das Ventil der Gasflasche zuzudrehen und offene Flamme ist zu loschen.
Vor der ersten Inbetriebnahme und am Anfang der neuen Saison die Kontrolle für Undichtheiten ausführten (oder jedem Mal nach Gasflaschewechsel).
- Die Seifenlösung aus flüssiger Seife und Wasser machen.
- Die Bedienungsschalter auf "OFF" umschalten, dann die Gasflasche öffnen.
- Die Seifenlösung auf alle Gasanschluss anbringen. Sehen Sie Blasen, bedeutet das, dass der Anschluss ungenügd zugeht ist. Er ist zuzudrehen oder - fallsb nötig - zu reparieren.
- Finden Sie Leitungsleakage, ist das Ventil der Gasflasche zuzudrehen, die Gasleitung ist zu demontieren und sich bei dem Gaslieferanten beraten halten.
BUTAN ODER PROPAN?
u dieser Grill durren beide Gasarten angewandt werden. Wichtig ist der Gebrauch des richtigen Reglers fur den jeweiligen Gastyps, der gkauft wird. Empfohlen wird die Anwendung der Gasflaschen bis zu 10kg
SICHERE ANWENDUNG DER GASFLASCHE
- Nach jedem Betrieb das Gasflaschenventil zudrehen.
Wird der Grill im Raum aufbewahren, ist die Gasflasche zu demontieren und auBen aufzubewahren.
Die Gasflasche scarf nicht im Inneren aufbewahren werden.
Die Gasflasche ist in Stehtellung aufzubewahren.
Die Gasflasche ist fern von Wärmequelle aufzubewahren.
Wird eine Gasflasche gewechselt, hat dies fern von freier Flamme, Funken und Wärmequellen zu erfolgen.
WARTUNG
RUCKFLUSS
Das Ventil der Gasflasche zudrehen und den Bedienungsschalter des Brenners in Position "OFF" bringen. Abwarten bis der Grill abgekuhl't wird und dann die Brenner und den Gaszufluss reinigen.
REINIGUNG DER ROSTEN, GRILLPLATTEN / HOTPLATE
Das Gasflaschenventil zudrehen.
Abwarten bis Rost, Grillplatten / Hotplate abkühlen. Mit Hilfe eines Kunststoffschwammes zur Reinigung und Wasser reinigen. Das Reinigen wird erfolglicher, wenn die Teile durch die Nacht in einem Behälter mit warmem Wasser und ein bisschen Bio-tex oder Natrium aufweichen{lassen. Alle Teile trocknen, bevor sie auf ihre Stellen gelingen.
REINIGUNG DES FLAMMENVERTEILERS
- Der Brennerverteiler ist regelmäßig in warmem Wasser mit Zusammen eines Reinigungsmittels oder Natrium zu reinigen. Ist es notwendig, ist Stahlwolle zu gebrauchen, um die festgerosteten oder angebrannten Speiseteile zu beseitigen. Der Verteiler soll vor der Wiedermontage trocken sein.
REINIGUNG DES ABFLUBEBHÄLTERS
- Den Behalterinhalt abkühlen, bevors entleert wird und den Behälter in warmem Wasser mit weicher Bürste und mildem Reinigungsmittel (Natrium) reinigen.
Die Teile gut spulen und abtrocknen lessen. Wird eine Schicht der Alufolie in dem Behalter geegt, lasst das der Fett und Satz einfach beseitigen.
JAHRliche GRILLREINIGUNG
Werden Rost und Grillplatte / Hotplate systematisch gewartet und nach jedem Gebrauch, am besten mit einer Kupferbürste gereinigt, ist Ihr Grill immer betriebsbereit. DieGPCane Anlageistomal im Jahr grundsatzlich zu reinigen.
DAS INNER
- Den Schalter der Brennerbedienung in Position "OFF" bringen, das Ventil der Gasflasche schlieben und den Schlauch / Druckreduktor des Grills demontieren.
Die Grillplatte / Hotplate, Rosten, Flammenverteiler und Brenner beseitigen. Die Öffnungen des Gaszuflusses mit Alufolie decken. Das Innere und die Außenseite des Grills mit Hilfe einer weichen Bürste / Kupferbürste bürsten. Die Grillplatte / Hotplate, Rosten und Flammenverteiler des Grills mit Hilfe eines Schwamms aus Kunststoff mit Wasser reinigen. Das Reinigen wird erfolglicher, wenn die Teile durch die Nacht in einem Behälter mit warmem Wasser und ein bisschen Bio-tex oder Natrium aufweichen{lassen. Der Fettbehälter und das Grillinnere am besten mit einer weichen Bürste und einem milden Reinigungsmittel (Natrium) reinigen. Die Teile gut abspülen und trocknen{latten. Eventuell die fehlende Lackschicht ergänzen. Die E-maille darf mit Hilfe eines wärmebeständigen Lacks gehartet werden. Die Grillplatte / Hotplate, Rosten und das Innere mit ein bisschen Öl fetten.
Die Alufolie aus den Offnungen beseitigen und prufen, ob sie nicht verstopft sind. Werden die Offnungen verstopft sind sie mit ausgebogenen Heftklammern durchzustechen. Zu dieser Zweck nie Holzstocken zu Schaschlichen anwenden, dessie konnen brechen, und dadurch wird die Öffnung wieder verstopft.
Die Brenner und andere Teile an richtige Stelle bringen.
Die Anzündung kontrollieren, falls notwendig - anpassen.
Wieder den Schlauch anschließen und die Anzündung prufen.
Rost, Platte und Flammenverteiler fur die Winterzeit in Zeitung wickeln und es an trockenen Stellen aufbewahren.
Nach Wiederanbringung in dem Grill, die Anlage vor dem Betrieb einschalten, bei geschlossener Decke, mit Anzündung von maximal zwei Brenner auf den mittleren Stand auf ± 10 Minuten. In Ergebnis dessen wird der Öl gut gebrannt und die Teile werden gut geschichert und betriebsbereit.
Den Grill in den Herbst- und Wintermonaten am besten in einem Raum ohne Bedeckung aufbewahren. Ist das noch nicht möglich, ist der Grill an eine bedeckte Stelle in dem Garten abzustellen und zu bedecken. Die Deckung ist mehrmals im Winter bei gutem Wetter wegzunehmen, was das Feuchtigkeitsniveau reduziert.
Gute und regelmäßige Grillwartung hält das Gerät in bester Form und verlangert sein Lebensdauer.
EDELSTAHL
- Dieser Grill ist aus Edelstahl und einer anderen Stahlsorte ausgeführht, die teilweise mit Pulverschicht und teilweise mit Porzellan- und Emailleschicht bedeckt ist. Auf dem Markt ist eine sehr große Anzahl der Reinigungsmittel für Edelstahl zugänglich. Es ist immer mit der weichsten Reinigungsmethode zu beginnen.
Sichtbare Rissen auf der Edelstahl können mit einem abreibenden, extramilden Poliermittel oder feinkornigem Schmirgelpapier enternt werden. Die Fettflecken können auf der Stahloberfläche anbrennen. Diese Flecken sehenählich wie Rost aus. Es ist ein Schwamm mit einem Reinigungsmittel für Edelstahl anzuwenden, um die Flecken zu beseitigen.
SPINNEN UND KERBTIEREN KONNEN SPINNENNETZE ODER NESTE IN DEN BRENNERN (IN DEN ÖFFNUGEN) HABEN; LEITUNGEN UND SCHLAUCHERN: SIE KÖNNEN DEN GASDURCHFLUSS BEGRENZEN ODER BRAND VERURSACHEN: SOLCHE ERSCHEINUNG WIRD ALS "RÜCKFLUSS" (SIEHE OBEN) GENANNT UND KANN DEN GRILL ERNSTHAFT BESCHÄDIGEN SOWIE EINEN GEFÄHRLICHEN BRAND VERURSACHEN: EMPFEHLEN IST EINE REGELMÄBIGE KONTROLLE UND REINIGUNG DERBRENNER (ÖFFNUGEN); SCHLAUCHEN UND LEITUNGEN.
GEBRAUCH VON BRENNERN UND ANZündUNGSKONTROLLE
VOR SIE DEN GRILL ANZUNDEN, NEHMEN SIE DEN DECKEL AB.
- Die Bedienungsschalter in "OFF" bringen und das Ventil der Gasflasche öffnen.
- Wenn Sie den Grill zum ersten Mal in Betriebnehmen. sind die Gasleitungen mit Luft gefüllt. Die Leitungen sollen mit Gas gefüllt werden. Das kann eine Weile dauern, bevor sich die Leitungen mit Gas fullen.
- Den Bedienungshahn drücken und es auf die höchste Position "HIGH" einstellen. Gleichzeitig den Knopf der elektrischen Anzündung drücken. Den Gasanzünder setzen, wenn der Brenner schon brennt. Verfügt der Grill über eine Anzündung in dem Bedienungsschalter, zünden Sie die Anlagen, indem Si diesen Schalter drehen.
- Schaltet der Brenner nicht ein, drehen Sie den Gaszugang an der Gasflasche zu und wiederholen Sie den Vorgang bis zu Schritt 3, zwei bis drei Mal.
- Schaltet der Brenner immer wieder nicht ein, gehen Sie zum Schritt 4 über, DREHEN SIE GAS ZU UND WARTEN SIE 5 MINUTEN AB vor dem nachsten Versuch oder zünden Sie die Flammme mit Streichholz an.
- ACHTUNG: Vor jeder Kontrolle bringen Sie die Schalter in Position "OFF".
- Wollen die Brenner nicht anzünden, drehen Sie das Ventil der Gasflasche zu und prüfen die Leitungen für Verstopfung.
ERSTE INBETRIEBNAHME / BETRIEB NACH LÄNGERER PAUSE - SAISONANFANG
- Lesen Sie aufmerksam die Sicherheits-, Anzündungs- und Bedienungsanleitungen.
Prufen Sie die Öffnungen der Gaszufuhr, Brennerleitungen und Brenner für Verstopfung. - Prufen Sie, ob die Brennerleitung richtig durch die Schlussöffnung durchbezogen ist.
Prufen Sie, ob die Gasflasche voll ist. - Prüfen Sie, ob es keine Gasleckagen gibt, durch Anwendung von Seifenlösung.
- Bringen Sie den Bedienungsschalter in die Position "OFF" und schlieben Sie den Gaszufuhr.
- Bevor Sie den Grill anzünden, öffnen Sie den Deckel.
IENUNG DES SEITENBRENNERS
Prufen Sie den Gasschlauch vor der Gasanzündung. Gibt es Brüche, Zerstörungen oder Schrammen,
ist der Schlauch vor dem Gebrauch zu wechseln. Der Seitenbrenner ist nicht zu gebrauchen, wenn es nach Gas riecht.
In der Naze des Gasventils ist ein Spruhgerat mit Seifenlösung zu stellen und vor dem Gebrauch sind die
Anschlüsse zu prufen.
- Bevor Sie den Grill anzünden, öffnen Sie den Deckel.
- Drücken Sie den Bedienungsschalter und bringenihn in Position "HI"; drücken Sie gleichzeitig den elektronischen Anzündungsknopf. Verfügt der Grill über eine Anzündung in dem Bedienungsschalter, zünden Sie die Anlage durch Drehung these Schalters an.
Gibt der Gasanzünder kein Funken, nutze ein Streichholz, um Feuer anzuzünden.
- Verwenden Sie Pfaffen oder Wok mit dm Durchmesser von mindestens 120 mm und maximal 200 mm.
Bei Anwendung von größeren Pfannen kann die höchste Schicht die Farbeändern.
ERSTE INBETRIEBNAHME; FETT- ODER ÖLAUSBRENNEN
Vor der ersten Inbetriebnahme sind Öl und Fett, der zur Herstellung von Rost/Platte/Grillpfanne gebraucht wurden, auszubrennen
- Offnen Sie den Deckel, zünden Sie die Brenner an und{lssen Sie diese für 10-15 Minuten auf dem highesten Feuer "HI".
Drehen Sie die Schalter zu, kuhlem Sie den Grill ab und reinigen him mit einer Lösung von Wasser und einem
Reinigungsmittel mit einem Schwamm. Dann setzen Sie die Anlage gut austrocknen.
GRILLEN MIT GESCHLOSSENEM DECKEL
WICHTIG: Kochen Sie mit dem geschlossenen Deckel, stellen Sie nie alle Brenner auf Position "HI" ein.
Falls Sie die Speisen mit geschlossen Deckel zubereiten, sind die Brenner nur so zu verwenden, wie es auf dem Bild gezeigt ist.
Vor der Grillanzündung ist der Deckel immer zu öffnen.
- Bringen Sie den Brennerverteiler, die Grillplatte oder Pfanne auf den mittleren Brennern an.
Schlieben Sie den Deckel und bringen Sie den Schalter in Position "LO".
- Halten Sie die Temperatur bis zu max. 200^ C auf.
Mochten Sie braten, bringen Sie die Speise in die Mitte des Ofens, indem Sie sie z.B. auf einem umgekehrten Backblech stellen.
Prufen Sie regelmäßig den Backvorgang.
WENN DER GRILL NICT FUNKTIERT
- Rauchen Sie während Grillprüfung nicht!
- Bringen Sie den Bedienungsschalter in Position "OFF" und schlieben Sie den Gaszufluss.
Warten Sie 5 Minuten vor nachstem Versuch ab.
Prufen Sie den Gasabfluss / die Anschlusses.
Wiederholen Sie das Anzündungsverfahren, wenn der Grill immer nicht Funktioniert, SCHLIEBEN SIE DANN DEN GASZUFLUSS; BRINGEN SIE DIE BEDIENUNGSSCHALTER IN POSITION "OFF". Warten Sie, bis der Grill abkühlt und prufen Sie folgende Bauteile:
a) Anschluss der Brennerleitungen auf den Öffnungen. KORREKTUR: Ziehen Sie die Brennerleitung richtig durch die Öffnung.
b) Verstopfte Gasleitung. KORREKTUR: Schalten Sie den Schlauch vom Grill ab. Offnen Sie den Gaszufluss für eine Sekunde, um den Schlauch frei zu machen. Schlieben Sie den Gaszufluss (schlieben Sie das Ventil auf der Gasflasche) und verbinden Sie den Schlauch mit dem Grill.
c) Verstopfte Öffnung. KORREKTUR: Nehmen Sie alle lockere Teile aus dem Grillinneren hereaus. Drehen Sie die Brenner aus / beseitigen Sie die Splints am Boden des Brennersockels mit Hilfe von einem Schraubenzieher oder Kombizange. Heben Sle jeder Brenner aus der Gasöffnung, die verstopfte Stelle machen Sie mit einer dūnnen Nadel frei. Legen Sie die Brenner zurück auf den Öffnungen und bringen Sie es auf dem Grillsockel an auf dem Bogen der Grillsockel. Legen Sie die lockeren Teile darüber ein.
d) Anschluss des Brenneranzünders. KORREKTUR: Die Elektrodenwendung muss an den Brenner / Sammelkosten kommt. Die Öffnung zwischen der Funkelektrode und Brennerendung / Sammelkasten muss mindestens 3-5 mm betragen. Man kann es nach Bedürfnis anpassen, indem sie vorsichtiges ausgebogen wird. Muss der Grill noch vor dem Abkühlen wieder angezündet werden, sind mindestens 5 Minuten abzuwarten, bevor die Anlage wieder angezündet wird. (Das gibt die Angelegenheit der Verwehung der Gasresten).
Wurden alle Kontrollearbeiten / Reparaturen ausgeführct, und Ihr Grill Funktioniert nicht richtig, wenden Sie sich an den Verkauf oder Gasinstallateuren.
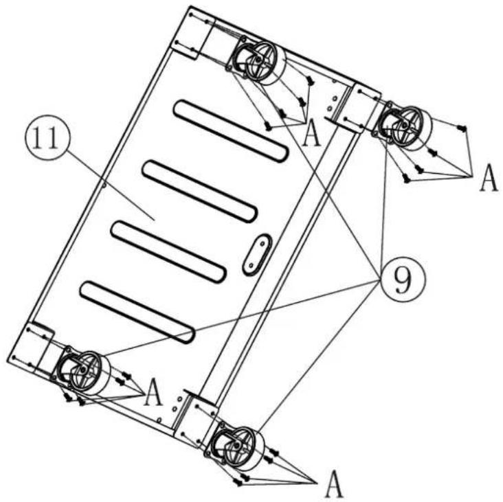
Installationshinweise fur die Patio Chef 2+1 / Patio Chef 3+1

- Bild der einzelnen Komponenten der Patio Chef 3 + 1 (gleich dem Patio Chef 2 + 1 )

Teileliste
| 1*1 | 2*1 | 3*1 | 4*1 | |||
| 5*1 | 6*2 | 7*1 | 8*1 | |||
| 9*4 | 10*11 12 | 11 | **2 | |||
| ○*1 *1 *1 *1 | ○ | ○ | 16151413 | |||
| 17*118 19 20 | ○*3(5353-01) *4(5354-01) | ○*1(5353-01) *3(5354-01) | ○*1(5353-01) *0(5354-01) | |||
| 21*1 | A M5-10*65 | B M4-8*2 | C M5-6*2 | D *4 | E M-10*8 | |

Die Reihenfolge der Montagemaßnahmen
Für die richtige Montage des ganzen Grills sorgen. Ausfuhrliche Montageanleitung finden Sie in dieser Bedienungsanleitung. Um die Anlage richtig einzubauen ist diese Anleitung sorgfältig zu lessen.
WARNING: Obwohl es versucht wird, die Montage möglichst einfach zu gestalten, sind die Stahlbauteile vorsichtig einzubauen, insbesondere ihre Kanten, um Verletzungen zu vermeiden. Seien Sie vorsichtig und gebrauchen Sie am besten Schutzhandschuhe.
1、A*16

2、A*6

3、A*5

4、A*20 E*4

5、B*2

6、D*4 E*4

7、A*8

8、A*5

9、A*5


10、

11、C*2

12、



WARNING: Der Griff wird in den gekennzeichneten Stellen während des Grillgebrauchs (siehe das Bild oben) heißt. Seien Sie vorsichtig und berühren Sie die gekennzeichneten Stellen nicht.
Flammenanzungundung
Alle Gasregler in Position "OFF": Den Gasventil des Reglers der Gasdruck auf der Flasche aufdrehen. Um ein Funke zu erhalten, den Schalter A drücken und in gedrückter Position für 3-5 Sekunden halten, damit das Gas fließt. Dann den Schalter nach links in Position "HIGH" (B) bringen. Auf diese Art und Weise kann ein Funke in Anzündungsleitung (C) entstehen. Es wird ein charakteristischer Klang zu horen und erscheint eine orange Funke in Abstand 6-10 cm von der Leitung links vom Brenner (D). Den Brennerschalter nach Erhaltung des Klangs für ca. 2 Sekunden halten; dies befrei das Gas zum Brennerleitung (E) und sichert entsprechende Flamme. Zündet ein Brenner an, zünden sich auch die anderen an, wenn deren Schalter auf "HIGH" eingestellt wird. In Position „HIGH" ist der Funke ca. 12-20 mm groß und hat orange Farbe. Um das Feuer auf Minimum einzustellen, den Schalter vollständig nach links drehen. Brennt der Feuer nicht richtigriotz richtiger Ausführung aller Maßnahmen,nehmen Sie Kontakt mit dem Lieferanten auf.

WARNING!
Wenn der Feuer nicht richtig trotz richtiger Ausführung aller Maßnahmen brennt, behmen Sie Kontakt mit dem Lieferanten auf..



EinfachAnleitung