T 500 - Handtrockner Starmix - Kostenlose Bedienungsanleitung
Finden Sie kostenlos die Bedienungsanleitung des Geräts T 500 Starmix als PDF.
Häufig gestellte Fragen - T 500 Starmix
Laden Sie die Anleitung für Ihr Handtrockner kostenlos im PDF-Format! Finden Sie Ihr Handbuch T 500 - Starmix und nehmen Sie Ihr elektronisches Gerät wieder in die Hand. Auf dieser Seite sind alle Dokumente veröffentlicht, die für die Verwendung Ihres Geräts notwendig sind. T 500 von der Marke Starmix.
BEDIENUNGSANLEITUNG T 500 Starmix
Warmluft-Hande- und Haartrockner

...mehr als Sie denken!

Händetrockner Baureihe T 500, T 500 E
Haartrockner Baureihe TH 500, TH 500 Z, TH 500 E

Montage- und Gebrauchsanleitung
Seite 5-8

Dieses Gerät nicht ohne Beachtung der Gebrauchsanleitung verwenden.

Abb. A


Abb. B

Abb.C

Abb. D
Schaltplan
T 500 E, TH 500
TH 500 Z, TH 500 E mit im Gerät eingebauten Kurzwegzeitschaltern bzw. Infrarot-Naherungselectronic.

Schaltplan TH 500 mit externem Ein-/Ausschalter

Schaltplan TH 500,TH 500 Z,TH 500 E mit Munzschalter
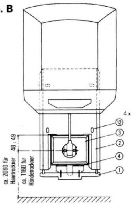
| D | Beschreibung | ||
| 1 Gehäusefälle/Diebstahlsicherung | 5 Anschlußleitung Gerät | 9 Leitungs durchführung | |
| 2 Montageplatte/Wandhalter | 6 Luft-Ansauggitter | 10 Anschlußleitung/Installation | |
| 3 Unterputz-Steckdose | 7 Unterputzleitung | 11 Netzklemme | |
| 4 Sollbruchstelle | 8 Zugentlastungsschelle | 12 Befestigungsohrungen | |
| GB | Description | ||
| 1 Housing surface/theft protection | 5 Power supply cable | 9 Lead-through | |
| 2 Mounting plate/wall bracket | 6 Air intake grille | 10 Connecting cable/installation | |
| 3 Flush socket | 7 Concealed wire | 11 Mains terminal | |
| 4 Predetermined breaking point | 8 Strain relief clamp | 12 Mounting holes | |
| F | Description | ||
| 1 Surface inférieur du boitier/Antivol | 5 Conducteur de raccordement de l'appareil | 9 Passage de la ligne | |
| 2 Plaque de montage/Fixation au mur | 6Grille d'aspiration d'air | 10 Ligne de raccordement/Installation | |
| 3 Prise encastrée | 7 Conduite encastrée | 11 Borne de reseau | |
| 4 Point prédictoupé | 8 Bride de serrage | 12 Trous de fixation | |
| I | Descrizione | ||
| 1 Piastra di copertura/sicurezza antifurto | 5 Cavo dell'apparecchio | 9 Apertura di passaggio per il cavo | |
| 2 Supporto di montaggio/supporto da parete | 6 Griglia di aspirazione dell'aria | 10 Cavo di collegamento/installazione | |
| 3 Presa sotto-intonaco | 7 Linea sotto-intonaco | 11 Morsetto per l'allacciamento alla rete | |
| 4 Punto di frattura | 8 Fascette di scarico della tension | 12 Fori di fissaggio | |
| E | Descripción | ||
| 1 Placa de cubierta/Aseguramento anti-hurto | 5 Linea de connexión del aparato | 9 Boquilla de paso | |
| 2 Placa de montaje/Dispositivo fijador mural | 6 Rejilla de aspiración de aire | 10 Linea de connexión/Instalación | |
| 3 Caja de enchufe empotrada | 7 Linea electrónica empotrada | 11 Borne de red | |
| 4 Punto teórico de rotura | 8 Brida presora de cables | 12 Águeros de fijación | |
| P | Descrição | ||
| 1 Face da caixa/Proteção contra furto | 5 Cabo de ligation do equipoamento | 9 Passagem do conductor | |
| 2 Placa de montagem/Suporte de parede | 6 Grade de aspiração de ar | 10 Cabo de ligation/Instalação | |
| 3 Tomada embutida | 7 Conductor embutido | 11 Terminal de rede | |
| 4 Ponto de ruptura controlada | 8 Braçadeira de alivio de tracção | 12 Furos de fixação | |
| DK | Beskrívelse | ||
| 1 Tyersikring | 5 Apparat tilslutning | 9 Ledningsgennemf.org | |
| 2 Monteringsplade | 6 Luftfindsugningsfilter | 10 Nettislutting | |
| 3 Forsøkket stikdase | 7 Skjult ledning | 11 Netklemme | |
| 4 Brudlinie | 8 Aflastning | 12 Monteringspunkter | |
| N | Beskrívelse | ||
| 1 Kapsling/Tyversikring | 5 Ledning app. | 9 Ledningsgjennomf.org | |
| 2 Montasjeplate/Veggholder | 6 Luftfinntaksgitter | 10 Tiflørselsledning | |
| 3 Innfelt stikkontakt | 7 Skjult ledningsinst. | 11 Nettklemme | |
| 4 Svekking | 8 Strekkavlaster | 12 Festehull | |
| S | Beskrívning | ||
| 1 Käpans yta | 5 Anslutningsledning apparat | 9 Ledningsgenomf.org | |
| 2 Monteringsplatta/vögghällare | 6 Luftinsugningsgaller | 10 Anslutningsledning/installation | |
| 3 Infällutttag | 7 Infällld ledning | 11 Nätklämma | |
| 4 Avsett brottställe | 8 Dragavlastningsklämma | 12 Festsättningshãl | |
| NL | Beschrijving | ||
| 1 Huisopervlakte/Diefstalveiligh | 5 Kabel | 9 Doorvoerleiding | |
| 2 Montageplaat/Wandhouder | 6 Luchtanaanzuigstk | 10 Aansluiting/installatie | |
| 3 Ingebouwd stopcontact | 7 Ingebouwd leiding | 11 Kroonsteen | |
| 4 Opangbeugel | 8 Trekontlaster | 12 Bevestigingsgaatje | |
| PL | Opis | ||
| 1 Powierzchnia obudowy/zabezieczenia | 5 Przewód przyłączowy do urzadzenia | 9 Przemust przewodowy | |
| przechiwradzieżowe | 6 Siatra zasyszȩca powietrze | 10 Przewód przyłączowy/installacja | |
| 2 Plytka montażowa/podpora scienna | 7 Przewód podtynkowy | 11 Zacisk sieciowy | |
| 3 Podtynkowe gniazdko sieciowe | 8 Uchwyty odiązȩcie | 12 Otwory do zamocowania | |
| 4 Miejsce przyolemu (peknięcia) | |||
| H | Leirás | ||
| 1 Fedőlemez/lopás elleni bizeşitás | 5 Csatlakozóvezéték | 9 Vezetékátvezétés | |
| 2 Szerőlemez/falitartó | 6 Levegőszivó-rács | 10 Hálózati csatlakozó kapocs | |
| 3 Sülyesztett dugaszolósajzat | 7 Sülvésztett vezeték | 11 Rögtőf burtok | |
| 4 Kijelőlt toréshely | 8 Húzásmegszüntető bilincs | 12 Rögtőf burtok | |
Wir haben diese Gebrauchsanleitung erstellt, damit Sie Ihr neues Gerät schnell und umfassend kennenlernen.
-itte lessen Sie vor Inbetriebnahme des Gerates dieser Anleitung aufmerksam durch. Sie gibt wichtige Hinweise für die Sicherheit, den Gebrauch, die Wartung und Entsorgung.
- Machen Sie sich in der Reihenfolge dieser Gebrauchs-anleitung mit ihrer neuen Gerät und seinen verschiedene Funktionen vertraut.
- Beachten Sie alle Hinweise und Erklärungen, die sich auf die richtige Bedienung und Behandlung beziehen. Damit erreichen Sie ständige Einsatzbereitschaft und eine lange Lebensdauer Ihres Gerätes.
- Besonderss sind die Hinweise zu berücksichtigigen, die die Sicherheit betreffen. Sie halten, Unfälle zu verhufen und Ihr Gerät vor Schaden zu schützen.
Bewahren Sie die Gebrauchsanleitung auf, sie kann Ohnen auch später noch in manchen Fälle ein nützlichen Helfer sein.
Dieses Gerät entspricht den anerkannten Regeln der Technik und den einschlägigen Sicherheitsbestimmungen für Elektrogeräte Der Hersteller haftet nicht für evtl. Schäden, die durch nicht bestimmungsgemäßen Gebrauch oder falsche Bedienung verursacht werden.
2. Lieferumfang.
Haar-bzw. Handetrockner
4 Dübel
4 Halbrundholzschauben
1Netzklemme ⑩
2 Senkblechschrauben fur Abdeckplatte ①
2 Zugentlastungsschellen ⑧
4 Linsenblechschrauben für Zugentlastungsschellen
1 S c hraubendreher (bei TH 500 Z und allen E-Typen)
3. Technische Daten
| Warmluft-Händetrockner | Warmluft-Haartrockner | ||||
| T 500 T | 00 E TH 500 | TH 500 Z | TH 500 E | ||
| Nennleistung 1800 Watt | X | X | X | X | X |
| Heizleistung 1700 Watt | X | X | X | X | X |
| Motorleistung 100 Watt | X | X | X | X | X |
| Luftstrom 38 l/s | X | X | X | X | X |
| Abmessungen: | |||||
| B 258, T 152, H 315 mm | X | X | X | X | X |
| B 261, T 155, H 345 mm | |||||
| Gewicht mit Wandhalter: 3,2 kg | X | X | X | X | X |
| Prüfzeichen: | |||||
| Ausstattung: | T 500 T500 E TH 500 TH 500 Z | TH 500 E | |||
| electronischer Kurzweg-Zeitschalter | X | ||||
| Schalterlaufzeit 32 sec. | |||||
| electronischer Kurzweg-Zeitschalter | X | ||||
| Schalterlaufzeit ca. 4 min. | |||||
| electronischer Infrarot-Naherungsschalter | X | X | |||
| ohne Schalteinrichtung (zu betreiben z. B. mit Münzeitschalter MZS 4) | X | ||||
| Sicherheits-Netzstecker-Anschluß | X | X | X | X | X |
| Sicherheits-Temperaturbegrenzer | X | X | X | X | X |
| Sensor-Sicherheitsabschaltung | X | X | |||
| Thermo-Schmelzsicherung | X | X | X | X | X |
| integrierte Montageplatte | X | X | X | X | X |
| Diebstahlsicherung durch Abdeckplatte | X | X | X | X | X |
| absaugbares Luftintrittsgitter | X | X | X | X | X |
4. Montageanleitung.
Mit der Montage ist ein Fachmann zu beauftragen, damit gewährleistet ist, daß das Gerät unter Beachtung der Sicherheitsvorschriften angeschlossen wird. In Räumen mit Duschen und Badewannen darauf das Gerät nicht innerhalb der in den VDE-Vorschriften festgelegten Sicherheitsbereiche (0,6 m zum Dusch- bzw. Badewannenrand und 1,2 m zu Brauseköpfen) angebracht werden. In der elektrischen Installation muß ein Schalter mit einer Kontaktöffnung ≥ 3 mm vorhanden sein, der das Gerät allpolig abschaltet.
5. Montagereihenfolge.
Das servicefreundliche Montagekonzept
Das T 500-Montage-System erhöht eine einfache, servicefreundliche Wandanbringung, ohne das Gerät zu öffnen. Praktisch haben wir das Gerät in zwei Komponenten aufgeleit: Der Installateur setzt eine Steckdose (oder einen Festanschluß), schraubt die Montageplatte an, schiebt das betriebsfertige Gerät auf, steckt den Netzstecker ein (oder schließt an), schraubt die Diebstahlsicherung auf - fertig. Einfacher goes nicht!
- Die (nicht festgeschraubte) Abdeckplatte ① nach unten aus dem Gerätziehen. Die auf der Geräterückseite einge
schobene Montageplatte ② ebenfalls nach unter herausziehen.
- Nach Festlegung des Anbringungsortes die 4 Befestigungsohrungen ② mit der Montageplatte ② als Schablone aneichen, bohren (8 mm O), Düb einsetzen und die Montageplatte mit den A beiliegenden Halbrundholzschauben befestigen. Wir empfehlen die Anbringung in einer Höhe entsprechend Abb. A, B oder C. Eine solide Befestigung an einer massiven Wand muB gewährleistet sein.
- Die 5 nachstehend beschriebenen Anschlußarten sind möglich.
3.1 A bringung über installierte Unterputz-Steckdose. Der obere Teil der Abdeckplatte ① wird nicht benötigt. Brechen Sieihn an der Sollbruchstelle ④ ab. Nach Befestigung der Montageplatte ② entspr. Abb. B das Gerät von oben auf die Montageplatte schiben, den Stecker in die Steckdose ③ stecken und das Gerät ganz nach unten schieren. Abdeckplatte mit den 2 beiliegenden Senkblechschauben befestigen.
3.2 Unterputzleitung. Anschluß über eine (anstatt der Steckdose) aus der WandCOMMende Unterputzleitung ⑦. Montageplatte ② entspr. Abb. C an der Wand befestigen. Die Abdeckplatte von unter in die Montageplatte schieben und damit die aus der WandCOMMende Leitung durch die Öffnung in
der Abdeckplatte führen. Beiliegende Netzklemme ⑪ einsetzen. An der Anschlußleitung ⑤ des Gerätes den Stecker abschreiben, die Leitung abmanteln, abisolieren und Aderendhülsen anquetschen. Beide Leitungen entsprechend Abb. C anschließen. Auf richtig Anschluß von L (braun) und N (blau) achtEN. Die Anschlußleitung des Gerätes mit beiliegender Zugentlastungsschelle ⑧ sichern.
Gerät ganz nach unter auf die Abdeckplatte schieren und die 2 beiliegenden Senkblechschrauben eindreten.
3.3 Aufputzleitung von oben.
Hierzu die auf der Geräterückseite, oben Mitte, vorge-sehene Leitungs durchführung ausbrechen. Nach Befestigung der Montageplatte ② entspr. Abb. C die Aufutz-leitung auf der Montageplatte nach unter dendeckplatte ① und durch die Öffnung führen. Der weitere Anschluß erfolgt wie unter 3.2, 2. Absatz beschrieben.
3.4 Aufputzleitung von unten.
Hierzu die in der Abdeckplatte ① unter Mitte, vorgesehene Leitungs durchführung ⑨ ausbrechen. Nach Befestigung der Montageplatte ② entspr. Abb. C die Aufutzleitung durch die Öffnung in der Abdeckplatte führen. Der weitere Anschluß erfolgt wie unter 3.2, 2. Absatz beschrieben.
3.5 Anschlußleitung mit Stecker.
Anschluß an eine in der Höhevorhandenen Steckdose mit einer flexiblen Anschlußleitung mit Stecker. Hierzu die in der Abdeckplatte ①, unter Mitte, vorhandene Leitungs durchführung ⑨ ausbrechen. Die Abdeckplatte von unten in die Montageplatte schieren. Beiliegende Netzklemme ⑩ einsetzen. An der Anschlußleitung ⑤ des Gerätes den Stecker abschreiben, die Leitung abmanteln, abisolieren und Aderendhülsen anquetschen. Anschlußleitung mit Stecker in gleicher Weise konfektionieren, und durch die Öffnung in der Abdeckplatte führen. Beide Leitungen entspr. Abb. C anschließen und mit beiliegenden Zugentlastungsschellen ⑧ sichern. Gerät ganz nach unter auf die Abdeckplatte schieren und die 2 beiliegenden Senkblechschauben eindreten.
Die Geräte sind jetzt betriebsbereit.
6. Schaltmöglichkeiten.
T 500, TH 500 Z
Bei T 500 und TH 500 Z electronischen Kurzweg-Zeitschalter betätigten. Schalterlaufzeit bei T 500 32 sec. bei TH 500 Z 4 min.
Die Geräte schalten automatisch ab.
Die Schalterlaufzeit bei TH 500 Z kann vom Fachmann verändert werden. Sie ist in 9 Stufen einstellbar auf 1-9 min.
Hierzu den beiliegenden Schraubendreherstift in die Bohrung links im Ansauggitter ⑥ stecken und den eingebauten Schalter nach links auf 3-2-1 min. oder rechts auf 5-6-7-8-9 min. verstellen.
Beachten Sie, daß die Schalterstellung O eine Blindstellung ist, bei der das Gerät nicht Funktioniert.
T 500 E, TH 500 E
Die Geräte werden durch eine Infrarot-Naherungselectronic berührungslos ein- und ausgeschaltet.
Der Schaltabstand (Abstand zwischen Geräteunterkante und Händen bzw. Kopf) beträgt bei T 500 ca. 15 cm und bei TH 500 ca. 40 cm. Die Schaltempfindlichkeit kann vom Fachmann verändert werden. Hierzu den beiliegenden Schraubendreherstift in die Öffnung links im Ansauggitter ⑥ stecken und das eingebaute Potentiometer nach links (unempfindlicher) oder nach rechts (empfindlicher) verstehen. In sehr hellen Räumen ist eine unempfindlichere Einstellung notwendig.
TH 500
Dieses Gerät wird ohne Schalter geliefert. Es wird durch einen Münzzeitschalter MZS 4 einen handelsüblichen Ein/Ausschalter oder einen Wandzeitschalter betätig, der in üblicher Höhe darüber dem Gerät an der Wand befestigt und nach Schaltplan s. Abb. E bzw. F angeschlossen wird.
Sensor-Sicherheitsabschaltung T 500 E, TH 500 E,
Die eingebaute Electronic verhindert Dauerlauf bei abgedecktem Infrarot-Naherungsschalter z. B. Kaugumm-Vandalismus.
T 500-Modelle schalten dann nach 2 min. und TH 500-Modelle nach 10 min. ab. Nach Beseitigung der Störquelle sind die Trockner wieder betriebsbereit.
Münzteitschalter MZS 4
Beim Betreiben der Haartrockner TH 500 Z/E mit einem Münzzeitschalter bleibt die Funktion der Schalter- bzw. die Funktion der Naherungselectronic erhalten. Der MZS 4 wird zur schellen Amortisation und zum Schutz vor mißbrächlicher Benutzung eingesetzt.
7.Hoheneinstellung fur Starmix Haartrockner.
Die formschöne robuste Starmix Hoheneinstellung THH 500 erfolgt es, den Haartrockner stufenlos und individuell der Körpergroße anzupassen. Dadurch wirdrysbesonders Kindern und Rollstuhlfahrern das Haaretrocknen wesentlich erleichtert. Alternativ zur Hoheneinstellung konnen Sie auch zwei Haartrockner in einem Hohenunterschied von 40~cm montieren (Reichweite des electronischen Infrarot-Naherungsschalters max. 40~cm ).
8. Reinigung und Pflege.
Das Luft-Ansauggitter 6 an der Geräteunterseite zur Reinigung von anhaftenden Flusen und Staub bei Bedarf mit Staubsauger-Fugendüse absaugen. Festhaftende Verschmutzung im Gitter mit Bürste entfern.
9. Sicherheitshinweise.
- Prufen Sie vor Anschluß des Gerätes, ob die auf dem Typenschild angegebene Spannung mit derjenigen Ihres Hausanschlusses übereinstimmt. Das Typenschild finds Sie auf der unteren, schrägen Gehäusefläche ①.
-itte beachten Sie, daß beim unsachgemäßen Umgang mit Elektrogeräten Gefahren entstehen können, die möglichwerweise von Kindern nicht erkannt werden. - Übergeben Sie diese Gebrauchsanweisung auch anderen Benutzern des Gerätes, damit auch diese sich über alle Funktionen und Hinweise informieren können.
- S c halten Sie grundsatzlich vor allen Eingriffen und Reinigung die Netzruleitung allpolig ab.
- Technische Gegevens.
| Warmlucht- handdroger | Warmlucht- haardroger | ||||
| T 500 T $00 E TH 500 | TH 500 Z TH 500 E | ||||
| Vermogen 1800 Watt | X | X | X | X | X |
| Hitte-vernogen 1700 Watt | X | X | X | X | X |
| Motor-vernogen 100 Watt | X | X | X | X | X |
| Lochtstroom 38 l/s | X | X | X | X | X |
| Afmetingen: B 258, T 152, H 315 mm | X | X | X | X | X |
| B 261, T 155, H 345 mm | |||||
| Gevicht met wandhouder: 3,2 kg | X | X | X | X | X |
| Goedkeuringen: DE CCA ☑ IP 23 CE | |||||
EG-Konformitätserklärung
D Wir erklaren in alleiniger Verantwortung, daß这点es Produkt mit den folgenden Normen oder Richtlinien übereinstimmt: EN 60335, EN 44014, EN 60555 gemäß den Bestimmungen der Niederspannungs-Richtlinie 73/23 EWG und EMV-Richtline der EG.

EinfachAnleitung