B10ITX - Herd BAUMATIC - Kostenlose Bedienungsanleitung
Finden Sie kostenlos die Bedienungsanleitung des Geräts B10ITX BAUMATIC als PDF.
Häufig gestellte Fragen - B10ITX BAUMATIC
Questions des utilisateurs sur B10ITX BAUMATIC
0 question sur cet appareil. Repondez a celles que vous connaissez ou posez la votre.
Poser une nouvelle question sur cet appareil
Laden Sie die Anleitung für Ihr Herd kostenlos im PDF-Format! Finden Sie Ihr Handbuch B10ITX - BAUMATIC und nehmen Sie Ihr elektronisches Gerät wieder in die Hand. Auf dieser Seite sind alle Dokumente veröffentlicht, die für die Verwendung Ihres Geräts notwendig sind. B10ITX von der Marke BAUMATIC.
BEDIENUNGSANLEITUNG B10ITX BAUMATIC
ELECTRISHE KOCHFELDER BEDIENUNS WARTUNGSANLAITUNGEN FÜR KOCHERDE

ISTRUZIONI PER IL MONTAGGIO
DATI TECHNICI
| MODELLI | B10IT.X | B11IT.X |
| Tensione | 230V | 230V |
| Corrente 26 A 27 | A | |
| Piastra radiante1200W | / | |
| Piastra radiante 1700W | / | |
| Piastra Hi-light 1200W | / | |
| Piastra Hi-light 1800W | / | |
| Potenza massima W | 5.8kW 6.0 kW | |
| Cavo di alimentazione 3x | 2,5 mm | 3x2,5 |
Der Einbau Goes zu Lasten des Käufers, der Hersteller ist nicht verpflichtet, diesen Service auszuführen. Eingriffe, die aufgrund von falschem Einbau notwendig sind und beim Hersteller angefordert werden, sind nicht durch Garantie gedeckt.
Die Einbau-Kochfelder konnen in Tops aus beliebigem Material eingebaut werden, das jeder eine Wärmebestandigkeit von 100^ und eine Dicke zwischen 25 und 40mm aufweisen muss.
Befestigung am Möbel (Abb.2)
Die Befestigung am Möbel erfolgt mit Befestigungsbügeln, die als Zubehör gefelert werden. Im unteren Teil des Kastens sind die LÖcher für die Stift (A), an denen die Schrauben (C) zum Blockieren der Befestigungsbügel (B) angeschraubt werden, bereits vorgebohr.
AnbringendiderDichtung (Abb.3)
Wichtig - In der Abbildung unter ist gezeigt, wie die Dichtung im gesamten Umfang angebracht werden muss.
Dieses Gerät wurde für nicht professionellen Gebrauch in Wohnbereichen konstruiert.
2. Elektrischer Anschluss (Abb.4)
Die Daten kontrollieren, die auf dem Schild am Boden des Kochfelds angegeben sind, dann safer stellen, dass zur Verfugung stehende Netz-Nennspannung und Leistung fur den Betrieb des Kochfelds geeignet sind.
Vor dem Anschluss muss die Wirksamkeit der Erdungsanlage überprüft werden. Die Erdung des Geräts ist gesetzliche Pflicht. Der Hersteller haftet nicht für Personen- oder Sachsäden, die durch die Nichtbeachtung dieser Vorschrift verursicht werden.
Für Modelle ohne Stecker, einen genormten Stecker, welcher der auf dem Schild angegebenen Last standhalt, an das Kabel montieren. Der Erdleiter des Kabels ist durch die Farben gelb und grun gekennzeichnet. Der Stecker muss auf jeder Fall zuganglich sein.
Falls man einen festen Netzanschluss wünscht, muss zwischen Gerät und Netz eine allpolige Schaltvorrichtung mit mindestens 3 mm Abstand zwischen den Kontakten eingebaut werden.
Zur Verbindung des Kabels mit dem Kochfeld muss der Klemmenbrettdeckel losgeschraubt und entfernt werden, so dass die Kontakte im Klemmenbrett zuganglich sind. Nach Durchführung des Anschlusses das Kabel mit dem mitgelieferten Befestigungssystem blockieren und den Klemmenbrettdeckel sofort wieder schreiben.
Falls das Stromkabel ausgewechselt werden muss, so muss der Erdleiter (gelb-grün) 10 mm länger als die Linienleiter sein.
AusschlieBlich ein Gummikabel Typ H05RR-F.
KONFORMITÄTSERKLÄRUNG. Dieses Gerät ist, was die Teile betrifft, die mit Nahrungsmitteln in Berührung kommt, konform mit den Vorschriften der EWG-Richtlinie 89/109 und der vollstreckenden Gesetzesverordnung Nr. 108 vom 25/01/92.
CE Gerat konform mit den EWG-Richtlinien 89/336, 93/68, 73/23 und späteren Änderungen.

13/14
Dieses Gerat ist entsprechend der Richtlinie 2002/96/EG über Elektro- und Elektronik-Altgeräte (WEEE) gekennzeichnet. Rückname- und Wiederverwertungspflicht von Elektro- und Elektronik-Altgeräten fest.
BEDIENUNGSCANWEISUNGEN
Wichtig: Vor dem ersten Kochen muss das Kochfeld gereinigt werden, danach alle Heizelemente nacheinander und ohne Topf fünf Minuten lang auf Höchsttemperatur einschalten. Auf diese Weise verschwindet der "Geruch nach neu" und die Feuchtigkeit, die sich auf den Kochplatten angesammelt hat, verdampft, was unter anderem auch notwendig ist, damit die elektronischen Instrumente bestens Funktionieren.
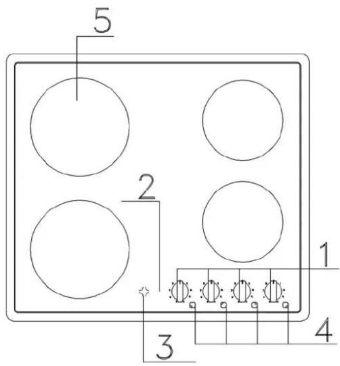
DIE KOKHZONEN WERDEN ÜBER DREHKNÖPFE GESCHALTET, DIE AN EINEN ENERGIERGLER ANGESCHLOSSEN UND IM UHRZEIGERSINN ZU DREHEN SIND. DIE ZAHLEN VON 1 BIS 6 GEBEN DIE EINSTELLUNGEN FÜR DAS KOCHEN AN. 1 IST DIE KLEINSTE EINSTELLUNG, 6 DIE GRÜBTE UND 0 GIBT DIE OFF-POSITION (AUS) AN.
DIE VON JEDEM DREHKNOPF GESCHALTETE KOCHZONE KANN AUF DEM SCHEMA NEBEN DER KOCHZONE ERMITTELT WERDEN.
- SCHALTKNOPF
- LEUCHTMELDER SPANNUNG VORHANDEN
- RESTWärMEANZEIGE
- KOCHZONENSYMBOL
- KOCHZONE
LEUCHTMELDER SPANNUNG VORHANDEN
DER SPANNUNGSLEUCHTMELDER LEUCHTET AUF, WENN EIN ODER MEHRERE HEIZELEMENTE IN BETRIEB SIND.
RESTWÄRMEANZEIGE
JEDEM HEIZELEMENT IST EINE RESTWärMEANZEIGE ZUGEORDNET, DIE AUTOMATISCH AUFLEUCHTET, WENN DIE JEWEILIGE KOKHZONE EINE TEMPERATUREVON 50^ ERREICHT BZW. ÜBERSCRITTEN HAT. NACHDEM EINE KOKHZONE AUSGESCHALTET IST, WIRD DIE RESTWärMEANZEIGE WEITER LEUCHTEN, BIS SICH DIE KOKHZONE AUF EINE TEMPERATURE UNDER 50^ ABGEKUHLT HAT.
REINIGUNG UND PFLEGE
Ein paar Ratschlage zum Kochen
Nehmen Sie nur Pfaffen und Töfe mit robustem und möglich dicken Boden her. Dies gilt insbesondere für Gerichte, die mit hohen Kochtemperatoren zubereitet werden, wie zum Beispiel Frittiertes. Nicht flache Böden verlangern die Kochzeit und erhöhen den Energieverbrauch. Die Beste Wärmeübertragung erfolgt, wenn Topf und Kochzone die gleiche Grübe haben.
Auf den Kochzonen kann auch Pyrex und Porzellan verwendet werden, falls der Boden glatt ist. Befolgen Sie diesbezüglich die Anweisungen des Herstellers des Kochgefas.
Eventuelle Spritzer sollen sofort entfernt werden.
Wichtige Hinweise
Achtung: die Oberflächen der Kochzonen werden während des Gebrauchs gluhend heiß. Kinder sollenn aus thisem Grund nicht in ihrer Reichweite sein.
Harte Gegenstände nicht auf die Kochflächen fallen halten. Der Werkstoff ist unter bestimmten Bedingungen gegen mechanische Belastungen empfindlich. Punktförmige Stoßbelastungen können einen Bruch der Kochoberflächen verursachen. Den Gebrauch des Kochfeldes unverzüglich einstellen und den Kundendienst rufen, falls unbeabsichtigt Brüche, Risse oder Spalten auf dem Keramikfeld verursacht werden sollenen.
Das Glaskeramik-Kochfeld darf nicht als Ablage- oder Stutzfläche verwendet werden. Das Kochen von Speisen, die in Alufolie gewickelt oder in Kunststoff verpackt sind, ist unzulässig. Die Kochzonen nie ohne Töppe einschalten. Keine entzündbaren, EX-gefahrendeten oder verformbaren Gegenstände in direkter Höhe des Kochfeldes halten.
Fett und überhitztes Öl kann Feuer fangen: aus thisem Grund müssen Speisen, für deren Kochen Fett oder Öl erforderlich ist, wie zum Beispiel Kartoffelfritten, während des Kochens kontrolliert werden.
Kabel und Stecker eventueller Elektrohaushaltgeräte, die in Steckdosen in der Höhe des Kochfeldes eingesteckt sind, * dürfen nicht mit den heißen Kochflächen in Berührung kommt.
An keiner Stelle des Stromkabels darf die Raumtemperatur hoher als 50^ sein.
Sollte das Kabel beschädigt werden, muss es mit einem anderen, vom technischen Kundendienst gelieferten Kabel ersetzt werden.
Sollte die Glasoberfläche zerbrechen, das Gerät vom Stromnetz abtrennen, um mögliche Stromschläge zu vermeiden
Niemals darf das Kochfeld mit Dampfreinigern oder ähnlichem gesäubert werden.
Das Kochfeld muss nach jedem Gebrauch gereinigt werden; vor der Reinigung warten, dass es abkühlt. Auch die kleinsten Reste wurden beim nachsten Gebrauch verkohlten. Verwenden Sie nur die empfohlenen Reinigungsmittel. Stahlwolle, schleifende Schwämme und Pulver konnen Kratzer verursachen. Backofen-Reinigungsmittel sind zur Reinigung ungeeignet, da sie korrosiv sind.
Wenig Schmutz kann mit einem feuchten Tuch oder mit Soda entfernt werden. Reinigungsmittelrechte sind mit kaltem Wasser zu beseitigen; die Oberflächen müssen nach der Reinigung sorgfältig getrocknet werden. Wasserflecken, die kochendem Wasser widerstehen, können mit Essig und Zitrone oder mit Antikalkflüssigkeit entfernt werden. Falls eines dieser Reinigungsmittel mit der Umrahmung in Berührung kommt, so muss these unsverzüglich mit einem nassen Tuch entfernt werden, da es die Umrahmung beschädigten kann.
Verkrustungen konnen mit einem Glasschaber möglich entfernt werden. Der Schabergriffarf nicht aus Plastik sein, da er an den freiB Oberflächen festkleben konne. Seien Sie bei demem Gebrauch vorsichtig: es besteht Verletzungsgefahr. Zucker und Speisen, die Karamellzucker enthalten, mssen sofort von den eingeschalteten Kochzonen entfert werden.
TECHNISCHER KUNDENDIENST
Bevor Sie den Kundendienst rufen:
überprüfen Sie, falls das Kochfeld nicht Funktioniert, ob der Stecker gut in der Netzstromsteckdose sitzt.
Falls die Ursache der Betriebsstörung nicht gefunden wird:
schalten Sie das Gerät aus, verändern Sie nichts und rufen Sie den Kundendienst.
Das Gerät ist mit einem Garantieschein ausgestattet, mit dem Sie sich des Technischen Kundendienstes bedieten können.
Der ausgefüllte Garantieschein muss von Ihnen aufbewahrt und bei Bedarfsfall zusammen mit einem für Steuerzwecke gültigen Dokument, beim Kauf vom Handler ausgestellt (Lieferschein, Rechnung, Quittung, sonstiges) und mit dem Handlernamen, dem Lieferdatum, den Kenndaten des Produkts und dem Verkaufspreis versehen, dem Autorisierten Kundendienst vorgezeigt werden.

Fig.1-Abb.1
Fig.2-Abb.2
| A B C | |||
| (I)Fissaggio al mobile | piastrine da insertire sul fondo del piano ad incasso | staffa di fissaggio | vite |
| (GB) Fixing the cook top to the unit | plates for inserting on the bottom of the cook top | fixing bracket | screw |
| (F)Fixation au meuble | plaqettes à introduire sur le fond de la table de cuisson à encastrement | patte de fixation | vis |
| (D)Befestigung am Möbel | Stift, der am Boden des Einbau-Kochfelds eingesteckt werden muss | Befestigungsbügel | Schraube |

Fig.3-Abb.3
(I)Applicazione sigillante
(GB)Applying the seal
(F)Application joint
(D)Anbringen der Dichtung

Fig.4-Abb.4
(I) Collegamento elettrico
(GB) Electric connections
(F) Branchement électrique
(D) Elektrischer Anschluss

Fig.5-Abb.5
(I) Descrizione dei comandi
(GB) Description of the controls
(F) Description des commandes
(D) Beschreibung der Schaltvorrichtungen


EinfachAnleitung