MC 4400 CD - Hifi-system AEG - Kostenlose Bedienungsanleitung
Finden Sie kostenlos die Bedienungsanleitung des Geräts MC 4400 CD AEG als PDF.
Laden Sie die Anleitung für Ihr Hifi-system kostenlos im PDF-Format! Finden Sie Ihr Handbuch MC 4400 CD - AEG und nehmen Sie Ihr elektronisches Gerät wieder in die Hand. Auf dieser Seite sind alle Dokumente veröffentlicht, die für die Verwendung Ihres Geräts notwendig sind. MC 4400 CD von der Marke AEG.
BEDIENUNGSANLEITUNG MC 4400 CD AEG
Bedienungsanleitung/Garantie
Gebruiksaanwijzing/Garantie • Mode d'emploi/Garantie Instrucciones de servicio/Garantía • Manual de instruções/Garantia Istruzioni per l'uso/Garanzia • Bruksanvisning/Garanti Instruction Manual/Guarantee • Instrukcja obsługi/Gwarancja Návod k použití/Záruka • A használati utasítás/Garancia Руководство по эксплуатации/Гарантия
Stereo-Music-Center
Stereo muziekinstallatie • Music center stéréo • Equipo de música estéréo Equipamento de som estereofónico • Stereo-Music-Center Stereo musikkanlegg • Stereo Music Center • Zestaw muzyczny Stereofonní hudební centrum • Stereo-Music Center Радиоприемник с часами
MC 4400 CD
DEUTSCH
NORSK
Inhalt
Übersicht Bedienelemente...... Seite 3
Bedienungsanleitung...... Seite 4
Garantie...... Seite 6
Innhold
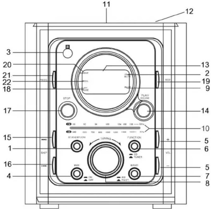
Übersicht der Bedienelemente
Overzicht van de bedieningselementen • Liste des différents éléments de commande Indicación de los elementos de manejo • Descrição dos elementos • Elementi di comando Oversikt over betjeningselementene • Overview of the Components Przegląd elementów obsługi • Přehled ovládacích prvků • A kezelő elemek áttekintése Обзор деталей прибора

text_image
11 12 3 20 21 22 18 17 15 1 16 4 13 2 19 9 14 10 5 6 5 7 8 STAMP/PAUSE PLAY/PUASE STOP OFF PROG. RPG. RUNS. STAMP/MUTE RPG. STAMP/PUASE STAMP/PUASE STAMP/PUASE STAMP/PUASE STAMP/PUASE STAMP/PUASE STAMP/PUASE STAMP/PUASE STAMP/PUASE STAMP/PUASE STAMP/PUASE STAMP/PUASE STAMP/PUASE STAMP/PUASE STAMP/PUASE STAMP/PUASE STAMP/PUASE STAMP/PPN TUNING FUNCTION CD TUNER ON OFF MAND ON OFF MUST
text_image
5 6 7 8 9 REPEAT PROG. STOP MUTE POWER - VOLUME + cmole Control 3 4 1 2Allgemeine Sicherheitshinweise
Um das Risiko von Feuer oder einem elektrischen Schlag zu vermeiden, sollten Sie das Gerät nicht Regen oder Feuchtigkeit aussetzen. Das Gerät nicht in unmittelbarer Nähe von Wasser betreiben (z.B. Badezimmer, Schwimmbecken, feuchte Keller).
Verwenden Sie das Gerät nur für den vorgesehenen Zweck.
Das Gerät ausschließlich an eine vorschriftsmäßig installierte Steckdose anschließen. Achten Sie darauf, dass die angegebene Spannung mit der Spannung der Steckdose übereinstimmt.
Bei Verwendung von externen Netzteilen auf die richtige Polarität und Spannung achten, Batterien stets richtig-herum einlegen.
Das Gerät so aufstellen, dass vorhandene Lüftungsöffnungen nicht verdeckt werden.
Niemals das Gehäuse des Gerätes öffnen. Durch unsachgemäße Reparaturen können erhebliche Gefahren für den Benutzer entstehen. Bei Beschädigung des Gerätes, insbesondere des Netzkabels, das Gerät nicht mehr in Betrieb nehmen, sondern von einem Fachmann reparieren lassen. Netzkabel regelmäßig auf Beschädigungen prüfen.
Ein defektes Netzkabel darf nur vom Hersteller, unserem Kundendienst oder einer ähnlich qualifi zierten Person durch ein gleichwertiges Kabel ersetzt werden, um Gefährdungen zu vermeiden.
Benutzen Sie das Gerät längere Zeit nicht, ziehen Sie den Netzstecker aus der Steckdose, bzw. entnehmen Sie die Batterien.
Diese Symbole können sich ggfs. auf dem Gerät befi n- den und sollen Sie auf folgendes hinweisen:

Das Blitz-Symbol soll den Benutzer auf Teile im Inneren des Gerätes hinweisen, die gefährlich hohe Spannungen führen.

Das Symbol mit Ausrufezeichen soll den Benutzer auf wichtige Bedienungs- oder Wartungs-Hinweise in den Begleitpapieren hinweisen.

Geräte mit diesem Symbol arbeiten mit einem „Klasse 1-Laser“ zur Abtastung der CD. Die eingebauten Sicherheitsschalter sollen verhindern, dass der Benutzer gefährlichem,
für das menschliche Auge nicht sichtbarem Laserlicht ausgesetzt wird, wenn das CD-Fach geöffnet ist.
Diese Sicherheitsschalter sollten auf keinen Fall überbrückt oder manipuliert werden, sonst besteht die Gefahr, dass Sie sich dem Laser-Licht aussetzen.
Beschreibung der Bedienelemente
1 STANDBY/ON Taste
2 Kontrollleuchte ST BY/MUTE
3 Sensor für die Fernbedienung
6 FUNCTION Funktionswahltaste (CD/TUNER)
7 BAND Bandwahltaste (AM/FM ST.)
8 TUNING Regler
9 Kontrollleuchte FM ST
10 Frequenzskala
11 CD-Fach
12 PUSH/OPEN CD-Fach
13 LED-Display
14 PLAY/PAUSE Taste
15▶▶I SKIP Taste (Suchlauf vorwärts)
16 ◀ SKIP Taste (Suchlauf rückwärts)
17 STOP Taste
18 Kontrollleuchte PLAY/PAUSE
19 REPEAT Taste
20 Kontrollleuchte REPEAT
21 PROG Taste
22 KontrollleuchtePROGRAM
Rückseite o Abb.
23 Lautsprecher Anschlüsse
24 AC Netzanschluss
25 FM Wurfantenne
Fernbedienung
1 POWER Taste
2 VOLUME - / + (Lautstärke) Tasten
3 ▶ / II Wiedergabe/Pause Taste
4 STOP Taste
5 CD Taste (Suchlauf rückwärts)
6 CD Taste (Suchlauf vorwärts)
7 REPEAT Taste
8 PROG Taste
9 MUTE Taste
Inbetriebnahme des Gerätes/ Einführung
- Lesen Sie vor der Inbetriebnahme die Bedienungsanleitung sorgfältig durch!
- Entfernen Sie, wenn vorhanden, Transportsicherungen an CD- und Kassettenteil.
- Wählen Sie einen geeigneten Standort für Gerät und Lautsprecher. Geeignet wäre eine trockene, ebene, rutschfeste Fläche, auf der Sie das Gerät gut bedienen können.
- Achten Sie darauf, dass das Gerät ausreichend belüftet wird!
- Schließen Sie die Lautsprecher auf der Rückseite an "Speaker R und L" (23) an.
- Stecken Sie den Netzstecker in eine vorschriftsmäßig installierte Schutzkontaktsteckdose 230 V, 50 Hz. Die Kontrollleuchte ST BY/MUTE (2) zeigt die Funktion an. Achten Sie darauf, dass die Netzspannung mit den Angaben auf dem Typenschild übereinstimmt.
Batterien einlegen
(Batterien nicht im Lieferumfang enthalten)
- Öffnen Sie den Batteriefachdeckel auf der Rückseite der Fernbedienung.
- Legen Sie 2 Micro Batterien des Typs LR 3 "AAA" 1,5V ein. Achten Sie auf die richtige Polarität (siehe
Batteriefachboden)! Wird die Fernbedienung längere Zeit nicht benutzt, entnehmen Sie bitte die Batterien, um ein "Auslaufen" von Batteriesäure zu vermeiden.
- Wechseln Sie immer den kompletten Batteriesatz aus, erneuern Sie nicht nur eine Batterie.
Achtung: Batterien gehören nicht in den Hausmüll. Bitte geben Sie verbrauchte Batterien bei zuständigen Sammelstellen oder beim Händler ab.
Werfen Sie Batterien niemals ins Feuer.
Allgemeine Bedienung
STANDBY/
ON/POWER (1): Schalten Sie bitte das Gerät mit der STANDBY/ON Taste (1) bzw. mit der POWER Taste (1 an der Fernbedienung) ein.
AUSSCHALTEN: Schalten Sie das Gerät mit der STANDBY/ON Taste (1) in den Standby-Betrieb.
BBS ON/OFF (4): Dient der verstärkten Tiefton-Wiedergabe. Für die Schalterpositionen gilt ON = Eingeschaltet, OFF = Ausgeschaltet.
Lautstärke: Mit den VOLUME Tasten (5) (2 an der Fernbedienung) lässt sich die gewünschte Lautstärke einstellen.
Infrarot-
Fernbedienung: Zur kabellosen Bedienung aus einer Entfernung von bis zu 5 Metern. Lässt diese Reichweite nach, müssen die Batterien ausgetauscht werden. Achten Sie bei der Bedienung auf freie Sicht zwischen Fernbedienung und dem Sensor (3) am Gerät.
Radio hören
Drücken Sie die ON/POWER Taste (1) (1 an der Fernbedienung) um die Funktionen im ON-Betrieb nutzen zu können. Die Kontrollleuchte ST BY/MUTE erlischt.
-
Stellen Sie die Funktionswahltaste (6) auf TUNER.
-
Wählen Sie das gewünschte Frequenzband mit der Bandwahltaste (7) aus.
UKW Stereo = FM ST
Mittelwelle = AM (Mono)
-
Stimmen Sie mit dem TUNING Regler (8) den gewünschten Sender ab.
-
Die FM/ST-Kontrollleuchte (9) leuchtet nur, wenn Sie UKW Stereo ausgewählt haben und den Sender in Stereo-Qualität empfangen. Ist der Empfang zu schwach und rauscht der empfangene Sender, flackert diese. Versuchen Sie, durch drehen und ab- bzw. aufwickeln der Antenne (25) den Empfang zu verbessern.
-
Zum Empfang von MW/AM-Sendern verfahren Sie auf entsprechende Weise. In diesem Frequenzband werden Sendungen nur in Mono ausgestrahlt.
CDs abspielen
So geben Sie eine CD wieder
-
Drücken Sie die Funktionswahltaste (6) in Position "CD".
-
Drücken Sie die PUSH/OPEN Taste (12), um das CD-Fach (11) zu öffnen.
- Legen Sie eine Audio-CD mit dem Aufdruck nach oben so auf den Zentrierkegel, dass die CD mechanisch einrastet und schließen Sie dann den CD-Fachdeckel.
- Im Display (13) wird nach einigen Sekunden die Gesamtzahl der Lieder/Tracks angezeigt.
- Drücken Sie die Taste ▶ / II PLAY/PAUSE (14) (3 an der Fernbedienung) um die CD wiederzugeben. Die CD wird vom ersten Titel an abgespielt. Das aktuelle Lied wird im Display angezeigt. Im Display (13) leuchtet die Kontrollleuchte PLAY/PAUSE (18).
- Um eine CD zu entnehmen, drücken Sie bitte die STOP Taste (17) (4 an der Fernbedienung), öffnen das CD-Fach mit der PUSH/OPEN Taste (12) und heben die CD vorsichtig ab.
Halten Sie den CD-Deckel stets geschlossen.
Hinweis: Wenn eine Disk falsch herum eingelegt wurde, blinkt auf dem Display “__”. Ist keine Disk eingelegt, blinkt ebenfalls “__” und dann erscheint die Meldung “00”.
Beschreibung der CD Tasten
▶ / II PLAY/PAUSE
(14/3):
Sie können die Wiedergabe kurz unterbrechen und wieder starten. Die PLAY/PAUSE Kontrollleuchte (18) blinkt.
▶▶ I / ◀◀ SKIP
(15/16-6/5):
Mit diesen Tasten können Sie zum nächsten bzw. vorherigen Titel springen. Halten Sie eine dieser Tasten gedrückt, setzt der Musiksuchlauf ein.
STOP (17/4): Die CD wird angehalten.
MUTE
(9 an der FB):
Dient zum schnellen Abstellen der Lautstärke. Die Kontrollleuchte ST BY/MUTE (2) blinkt. Zum Beheben dieser Funktion, drücken Sie erneut die MUTE Taste.
REPEAT (19/7):
1x drücken (REPEAT-LED blinkt (20)): Das aktuelle Lied wird ständig wiederholt.
2x drücken (REPEAT-LED leuchtet): Die komplette CD wird ständig wiederholt.
3x drücken: Die Funktion wird deaktiviert.
Programmierte Wiedergabe
Lässt die Programmierung einer beliebigen Titelfolge zu.
- Drücken Sie STOP (17/4).
- Drücken Sie die PROG. Taste (21/8). Im Display (13) blinkt "01"(Speicherplatz) und die Anzeige PROG. Wählen Sie mit den ▶▶/I◀▶ Tasten (15/16-6/5) den gewünschten Titel aus und drücken Sie erneut die PROG Taste (21/8). Die Anzeige im Display wechselt auf Speicherplatz 02.
-
Wählen Sie mit den ▶▶I / I◀ Tasten (15/16-6/5) den nächsten Titel aus und drücken Sie erneut die PROG Taste (21/8). Wiederholen Sie den Vorgang, bis Sie alle Titel ausgewählt haben.
-
Drücken Sie die ▶ / II PLAY/PAUSE Taste (14/3). Die Wiedergabe wird gestartet. Im Display werden die gewählten Titelnummern der Reihenfolge nach angezeigt und die Anzeige PLAY/PAUSE und PROG leuchten. Mit dieser Taste können Sie das Programm ebenso kurz unterbrechen.
- Drücken Sie einmal die STOP Taste (17/4), wird die Wiedergabe gestoppt, das Programm bleibt jedoch erhalten. Die Kontrollleuchte PROG leuchtet.
- Zur erneuten Wiedergabe des Programms, drücken Sie bitte die ▶ / II PLAY/PAUSE Taste (14/3).
- Zum Löschen des Programms drücken Sie bitte 2x die STOP Taste (17/4). Die Anzeige PROG erlischt.
Das Gerät stoppt automatisch, nachdem alle programmierten Titel wiedergegeben wurden. Die programmierte Reihenfolge bleibt im Speicher enthalten bis Sie in den anderen Modus wechseln, oder die CD aus dem CD Fach entnommen wird bzw. das Gerät ausgeschaltet wird. Um die programmierte Reihenfolge erneut wiederzugeben, drücken Sie die ▶ / II PLAY/PAUSE Taste (14/3).
Sie haben die Möglichkeit die programmierten Titel mit der REPEAT-Funktion zu kombinieren. Nachdem Sie programmiert und das Gerät gestartet haben, drücken Sie bitte die REPEAT Taste (19/7) bis zu 3 x und die Funktionen können, wie unter Abschnitt "REPEAT" beschrieben, angewendet werden.
Garantie
Wir übernehmen für das von uns vertriebene Gerät eine Garantie von 24 Monaten ab Kaufdatum (Kassenbon).
Innerhalb der Garantiezeit beseitigen wir unentgeltlich die Mängel des Gerätes oder des Zubehörs*), die auf Material- oder Herstellungsfehler beruhen, durch Reparatur oder, nach unserem Ermessen, durch Umtausch. Garantieleistungen bewirken weder eine Verlängerung der Garantiefrist, noch beginnt dadurch ein Anspruch auf eine neue Garantie!
Als Garantienachweis gilt der Kaufbeleg. Ohne diesen Nachweis kann ein kostenloser Austausch oder eine kostenlose Reparatur nicht erfolgen. Im Garantiefall geben Sie bitte das Grundgerät in der Originalverpackung zusammen mit dem Kassenbon an Ihren Händler.
*) Schäden an Zubehörteilen führen nicht automatisch zum kostenlosen Umtausch des kompletten Gerätes. Wenden Sie sich in diesem Fall bitte an unsere Hotline! Glasbruchschäden bzw. Brüche von Kunststoffteilen sind grundsätzlich kostenpfl wichtig!
Sowohl Defekte an Verbrauchszubehör bzw. Verschleißteilen (z.B. Motorkohlen, Knethaken, Antriebsriemen, Ersatzfernbedienung, Ersatzzahnbürsten, Sägeblättern usw.), als auch Reinigung, Wartung oder der Austausch von Verschleißteilen, fallen nicht unter die Garantie und sind deshalb kostenpfl wichtig!
Die Garantie erlischt bei Fremdeingriff.
Nach der Garantie
Nach Ablauf der Garantiezeit können Reparaturen kostenpfl ichtig vom entsprechenden Fachhandel oder Reparaturservice ausgeführt werden.
Spannungsversorgung: 230 V, 50 Hz
Ausgangsleistung: 100 W PMPO
Schutzklasse: II
Radioteil:
Frequenzbereich:
UKW/FM 88 - 108 MHz
MW/AM 540 - 1600kHz
Dieses Gerät wurde nach allen zutreffenden, aktuellen CE-Richtlinien geprüft, wie z.B. elektromagnetische Verträglichkeit und Niederspannungsdirektive und wurde nach den neuesten sicherheitstechnischen Vorschriften gebaut.
Technische Änderungen vorbehalten!
Bitte führen Sie das ausgediente Gerät einer umweltgerechten Entsorgung zu.
GARANTIE-KARTE
Vertriebsgessellschaft mbH
Industriering Ost 40
47906 Kempen
EinfachAnleitung