RTI 100 M - Thermostat AEG - Kostenlose Bedienungsanleitung
Finden Sie kostenlos die Bedienungsanleitung des Geräts RTI 100 M AEG als PDF.
Laden Sie die Anleitung für Ihr Thermostat kostenlos im PDF-Format! Finden Sie Ihr Handbuch RTI 100 M - AEG und nehmen Sie Ihr elektronisches Gerät wieder in die Hand. Auf dieser Seite sind alle Dokumente veröffentlicht, die für die Verwendung Ihres Geräts notwendig sind. RTI 100 M von der Marke AEG.
BEDIENUNGSANLEITUNG RTI 100 M AEG
WSP 2010 bis WSP 7010
Gebrauchs- und Montageanweisung
RTi 100 M
English
1. Gebrauchsanweisung Für den Benutzer
1.1 Arbeitsweise 3
2. Montageanweisung Für den Installateur
2.1 Technische Daten 4
2.2 Verpackungseinheit. 4
2.3 Montage 4
2.4 Funktionsprüfung
2.5 Übergabe. 7
- Kundendienst und Garantie 8
3.1 Entsorgung von Verpackung und Altgerät 9
Table of Contents
1. Gebrauchsanweisung
RTi 100 M
Bei dem Raumtemperaturregler RTi 100 M handelt es sich um einen mechanischen Zweipunktregler. Bei zu niedrigen Raumtemperaturen werden die Geblase des Wärmespeichers vom RTi 100 M automatisch eingeschaltet und mit konstanter Drehzahl betrieben.
Nach Erreichen der am Raumtemperaturregler eingestellten Raumtemperatur werden die Geblase automatisch durch den RTi 100 M abgeschaltet.

1.1 Arbeitsweise
Der Raumtemperaturregler wird über den EIN/AUS-Schalter (C) im Bedienfeld des Wärmespeichers ein- und ausgeschaltet. Über den Wahlkopf im Bedienfeld lassst sich stufenlos die gewünschte Raumtemperatur einstellen.
Steht der Wahlknopf (D) in Mittelstellung, wird die Raumtemperatur konstant auf ca. 20^ geregelt. Durch Drehen des Wahlknopfes nach links oder rechts kann die Raumtemperatur zwischen ca. 5^ bis 35^ eingestellt werden.
Bei Absinken der Raumtemperatur unterhalb des eingestellen Wertes schaltet der Raum-temperaturregler automatisch die Wärmespeicher-Geblasemotoren ein, so dass die gespeicherte Wärme in den Raum geblasen wird.
An sehr kalten Tagen empfeihlt es sich, den Raumtemperaturregler bei Abwesenheit über mehrere Tage eingeschaltet zu halten, um so die Raumtemperatur auf z. B. ca. 10^ zu halten, damit das Gebäude, bzw. der Raum nicht auskühlt (Frostschutz).
2. Montageanweisung

Der Einbau des Raumtemperaturreglers muss von einem zugelassenen Fachmann unter Beachtung dieser Gebrauchs- und Montageanweisung sowie der Gebrauchs- und Montageanweisung des Wärmespeichers vorgenommen werden.
Alle elektrischen Anschluss- und Installationsarbeiten sind nach den VDE-Bestimmungen 0100, den Vorschriften des zuständigen EVU sowie den entsprechenden nationalen und regionalen Vorschriften auszuführen.
2.1 Technische Daten
| Modell | RTi 100 M |
| Nennspannung | 1/N/PE ~ 50 Hz 230 V |
| Schaltleistung | 16 A |
2.2 Verpackungseinheit
1 Raumtemperaturregler mit außenliegendem Fuhler, Heizband 2-3 W als thermische Rückführung (bereits auf Aufnahmeplatte vormontiert)
1 Temperatur-Wahlknopf
1 EIN/AUS-Schalter mit 2 Schaltlitzen
1 Funkschutzkondensator 0,2 F 47 Ohm
3 Schrauben
1 Gebrauchs- und Montageanweisung
1 Schaltbildaufkleber
1 Bedienblendenaufkleber
2.3 Montage

Vor Beginn der Montagearbeiten den Wärmespeicher spannungsfrei machen.
Beim Anschluss des Wärmespeichers an eine automatische Aufladesteuierung kann auch bei Herausgenommenen Sicherungen an den Klemmen A1/Z1 und A2/Z2 Spannung anliegen.
Bei der Aufstellung mehrerer Wärmespeicher nebeneinander ist zu beachten, dass der Raumtemperaturregler im rechten äußeren Gerät installiert wird. Damit ist gewährleistet, dass die Raumtemperatur einwandfrei erfasst werden kann.
2.3.1 Einbaureihenfolge
- Luftaus- und Luftintrittgitter, Vorderwand und rechte Seitenwand wie in der Gebrauchs- und Montageanleitung des Wärmespeichers beschrieben abnehmer.
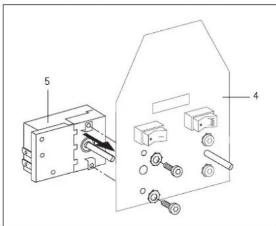
- Blindkappen (1) für Schalter und Temperatur-Wahlknopf mit Hilfsmittel von der Schaltraumseite her aus dem Bedienfeld links oben und unter hereausdrücken.
- Montage des EIN/AUS-Schalters: Beiliegende schwarze Litzen (kurz und lang) mit den Flachsteckern auf den Schalter (2) durch die Halterung (3) stecken und Halterung auf dem Blechwinkel (4) einrasten.
- Ein-/Aus-Schalter (2) mit dem Symbol "I" rechts in die Halterung drucken.
- Temperaturregler (5) mit den 2 Schrauben und Zahnscheiben auf das Winkelblech (4) montieren.
-
Fügen Sie die bereits vormontierte Einheit Fuhlerbirne, Heizband, Distanzrahen und Trägerblech" (6) mit dem oberen Blechwinkel des Schaltfeldes (Trägerblech der Klemmleisten X1 und X2) zusammen. Dazu arretieren Sie den unteren Blechwinkel hinter der Rastnase des oberen Blechwinkels (8). Beide Winkel werden mittels einer Schraube M4x8 verbunden.
-
Verdraughtung des Raumtemperaturreglers gemäß Schaltplan (siehe Schaltplan Seite 6)
-
Kurze Schwarze Litze von Schalter 2 (S2) auf Raumtemperaturregler 5 (N6)
- Lange Schwarze Litze von Schalter 2 (S2) auf (L) Klemmleiste X1
- Schwarze Litze (lang) von Heizwiderstand 6 (E9) auf Raumtemperaturregler 5 (N6)
- Blaue Litze von Heizwiderstand 6 (E9) auf (N) Klemmleiste X2
-
Schwarze Litze von Regler 5 (N6) auf X2 LE (von oben)
-
Schrauben Sie den Funkschutzkondensator (7) auf den oberen Teil des Winkelblechs (über Klemmleiste X2) mit beiliegender Schraube
Verdraughtung des Funkschutzkondensators:
- Blaue Litze auf X1 L offen (2fach-Belegung)
- Schwarze Litze auf X2 LE oben (2fach-Belegung)
Fixieren Sie die Kabel im vorhandenen Kabelhalter im Schaltraum hinter dem Winkelblech
Alle Schaltlitzen müssen so in den Schaltraum eingebunden werden, dass sie weder mit der rechten Seitenwand in Berührung kommt, noch durch die Luftungsschlitze berührt werden konnen. Sie dürfen sich auch nicht in der Nähe der Kabeldurchführung befinden.
- Überkleben Sie den Schaltplan der rechten Seitenwand mit dem gültigen Schaltplan, kreuzen Sie den Einbau an und kleben Sie den Bedienblendenaufkreber auf die Außenseite der rechten Seitenwand auf.
- Montieren Sie die rechte Seitenwand. Befestigungsschraube mit Zahnscheibe befestigen (Schutzleiterverbindung!)





2.3.2 Schaltbildkennzeichnung
X1 Netzanschlussklemme
X2 Anschlussklemme
Stromlaufplan WSP 2010 - 7010 mit RTi 100 M
E1-E6:Heizkörper (Speicher)
E7: Heizwiderstand
F1: Schutz-Temperaturbegrenzern
M1 - M3: Gebäse
N1: Temperaturbegrenzer - Aufladung
N5: Temperaturbegrenzer - Lüfterschublade
N4: Temperaturbegrenzer - Aufladung
X1: Netzanschlussklemme
X2: Anschlussklemme
Integr.Raumtemperaturregler
E9: Heizwiderstand
N6: Temperaturregler - Entladung
S2: Wippenschalter - Entladung
Z1: Funkschutzkondensator
Zusatzheizung
E8:Zusatzheizkörper
N2: Temperaturregler - Zusatzheizung
N3: Temperaturregler - Zusatzheizung
S1: EIN/AUS-Schalter - Zusatzheizung

2.4 Funktionsprüfung
EIN/AUS-Schalter in Stellung 1 bringen
Jetzt Temperatur-Wahlknopf drehen, bis Geblase vom Wärmespeicherteil einschaltet.
Schaltet das Geblase nicht ein, so sind die Betriebs- und Störanzeigen am Auf- und Entladeregler zu beachten.
2.5 Übergabe
These Gebrauchs- und Montageanweisung gehort zum Gerät und ist vom Besitzer sorgfältig aufzubewahren. Im Falle eines Besitzerwechsels ist diese dem Nachfolger auszuhändigen. Bei etwaigen Instandsetzungsmaßnahmen ist dem Fachmann die Gebrauchs- und Montageanweisung zur Einsichtnahme zu überlassen.
3. Kundendienst und Garantie
AEG-Geräte werden mit Sorgfalt konstruiert und gebaut. Erst nach einer Reihe von Prüfungen verlassen sie unser Werk. Sollte trotzdem eine Störung auftreten, erhmen Sieitte mit der Ihnen am nachstgelegenen AEG-Kundendienstelle Kontakt auf oder rufen Sie uns unter der Service-Telefonnummer an.
Bitte halten Sie damit die E-Nr. und F-Nr. des Gerätes bereit. Sie finden die Nummern auf dem Typenschild.
Unser Kundendienst hilft auch nach Feierabend
Den AEG-Kundendienst können Sie an sieben Tagen in der Woche tätig bis 22 Uhr Telefonisch erreichen - auch samstags und sonntags.
Im Notfall steht immer ein Kundendienst-Techniker für Sie bereit. Dass dieser Sonderein servicezusätzlich honoriert werden muss, werden Sie sicher verstehen.
Unsere Kundendienst-Stationen wechseln sich wochentlich im Notdienst ab. Wo auch immer Hilfe gebraucht wird, der{nachste AEG-Kundendienst ist nichtweit.
Nach Feierabend, am Wochenende oder an Feiertagen wenden Sie sichitte an unseren Kundendienst, Telefon 0 18 03 - 70 20 20.
An Wochentagen konnen Sie während der Geschäftszeit die nachstgelegene regionale Kundendienst-Leitstelle anrufen.
Garantie
Gesetzliche Gewährleistungsrechte des Kunden gegen den Verkauf werden durch diese Garantie nicht berührt. These Garantiebedingungen gelten nur für den Kauf und Einsatz der Geräte in der Bundesrepublik Deutschland.
Die Garantiedauer
Grundsatzlich gewähren wir für jedem im Haushalt eingesetzte AEG-Haustechnik gerät 24 Monate Garantie.
Wird ein von seiner Bauart her für den Haushalt bestimmtes Gerät gewerblich genutzt, beträgt die Garantiezeit 12 Monate.
Der Garantiebeginn
Die Garantie beginnnt mit dem Zeitpunkt der Übergabe des Gerätes. Ansprüche aus dieser Garantie erlösen zwei Jahre nach Übergabe.
Bewahren Sieitte stets die Rechnung, den Lieferschein oder einen anderen Kaufnachweis auf. Voraussetzung fur unsere Garantiepflicht ist, dass das Gerät nach unseren Anweisungen montiert und angeschlossen ist und nach unserer Anleitung sachgemäß bedient wird und damit unsere Montage-, Betriebs- und Wartungsanleitungen beachtet werden.
Wir bitten um Verständnis davon, dass wir für Mängel innerhalb dieser Garantie jedoch nur einstehen können, wenn uns diese zwei Wochen nach ihrer Erkennbarkeit schriftlich angezeigt werden.
Die Reparaturen
Wir prufen Ihr Gerät sorgfältig und ermitteln, ob der Garantieanspruch zu Recht besteht. Wenn ja, entscheiden wir, auf welche Art der Schaden behoben werden soll. Im Fall einer Reparatur sorgen wir für eine fachgerechte Ausführung.
Die Ausnahmeregeln
Für Schäden, die aufgrund natürlicher Abnutzung, Verkalkung chemischer oder elektrchochemischer Einwirkungen an einem Gerät entstehen, können wir keine Garantie übernehmen. Transportschäden werden dann von uns kostenlos behoben, wenn unverzüglich nachgewiesen wird, dass die Verursachung bei AEG liegt. Für sightbare Schäden kommt wir jedoch nur dann auf, wenn uns die Mängel innerhalb von 14 Tagen nach Übergabe des Gerätesbekanntegeben werden.
Änderungen oder Eingriffe am Gerät durch Personen, die von uns dazu nicht autorisiert sind, haben das Erlöschen unserer Garantie zur Folge.
Einregulierungs- und Umstellungsarbeiten sind grundsätzlich kostenpflichtig.
Die Kosten
Für die Dauer der Garantie übernehmen wir sümmtliche Materialkosten sowie alle im Zusammenhang mit der Fehlerbehebung entstandenen Kosten.
Die Haftung
Für das Abhandenkommen oder die Beschädigung eines Gerätes durch Diebstahl, Feuer, Aufruhr oder ähnliche Ursachen können wir keine Haftung übernehmen.
Auch mittelbare Schäden oder Folgeschäden, die durch ein geliefertes Gerät verursacht werden oder die bei der Lieferung eines Gerätes entstehen, sind von der Haftung ausgeschlossen.
Garantie für in Deutschland gekaufte und im Ausland eingesetzte Geräte
Wir sind nicht verpflichtet, Kundendienstleistungen außerhalb der Bundesrepublik Deutschland zu erbringen. Bei Störungen eines im Ausland eingesetzten Gerätes ist diese ggf. auf ihre Gefahr und ihre Kosten an den Kundendienst in Deutschland zu schicken. Ebenfalls erfolgt die Rücksendung auf ihre Gefahr und Kosten.
Für die im Ausland eingesetzten Geräte wird eine Garantie von 6 Monaten übernommen.
Garantie fur außerhalb Deutschlands gekaufte Geräte
Es gelten die gesetzlichen Vorschriften und ggf. die Lieferbedingungen der AEG-Ländergesellschaft bzw. des Importeurs.
Bei Einsatz dieser Geräte in Deutschland sind Ansprüche wegen Mängeln nur in dem Land, in dem sie gekauft wurden, nach den besonderen Bedingungen这点es Landes geltend zu machen.
3.1 Entsorgung von Verpackung und Altgerät
Damit Ihr Gerät unbeschädigt bei Ohnen ankommen, haben wir es sorgfältig verpackt.
Bitte halten Sie, die Umwelt zu schützen, und entsorgen Sie das Verpackungsmaterial des Gerätes sachgerecht.
Entsorgung von Transport- und Verkaufsverpackungsmaterial
AEG Haustechnik beteiligt sich gemeinsam mit dem Großhandel und dem Fachhandwerk/Fachhandel in Deutschland an einem wirksamen Rücknahme- und Entsorgungskonzept für die umweltschonende Aufarbeitung der Verpackungen. Überlassen Sie die Transportverpackung dem Fachhandwerk bzw. Fachhandel.
Verkaufsverpackungen (Grüner Punkt) entsorgen Sie über DSD (Duales System Deutschland). Alle verwendeten Verpackungsmaterialien sind umweltverträglich und wiederverwertbar.
Kunststoffeile sind, soweit vorhanden, folgendermaBen gekennzeichnet:
- PE für Polyethylen, z.B. Verpackungsfolien
- EPS für expandiertes Polystyrol, z.B. Styropor-Polsterteile (grundsätzlich FCKW-frei)
- POM für Polyoxymethylen, z.B. Kunststoffklammern
- PP für Polypropylen, z.B. Spannbänder
-Kartonteile sind aus Altpapier hergestellt.
Entsorgung von Altgeräten in Deutschland
Die Entsorgung these Altgerätes fällt nicht unter das Gesetz über das In-Verkehr-Bringen, die Rücknahme und die umweltvertragliche Entsorgung von Elektro- und Elektronikgeräten (Elektround Elektronikgerätegesetz - ElektroG) und kann nicht kostenlos an den communalen Sammelstellen abgegeben werden.
Das Altgerät ist fach- und sachgerecht zu entsorgen. Im Rahmen des Kreislaufwirtschaft- und Abfallgesetzes und der damit verbundenen Produktverantwortung erhöglich AEG Haustechnik mit einem Kostengūnstigen Rücknahmesystem die Entsorgung von Altgeräten.
Fragen Sie uns oder ihren Fachhandwerker/Fachhändler.
Die Geräte oder Geräteile)dürfen nicht als unsortierter Siedlungsabfall über den Hausmüll bzw. die Restmülltonne beseitigt werden. Über das Rücknahmesystem werden hohe Recyclingquoten der Materialien erreicht, um Deponien und die Umwelt zu entlasten. Damit leisten wir gemeinsam einen wichtigen Beitrag zum Umweltschutz.
Bereits bei der Entwicklung neuer Geräte achten wir auf eine hohe Recyclingfähigkeit der Materialien.
Die Voraussetzung für eine Material-Wiederverwertung sind die Recycling-Symbole und die von uns vorgenommene Kennzeichnung nach DIN EN ISO 11469 und DIN EN ISO 1043, damit die verschiedene Kunststoffe getrennt gesammelt werden können.
Entsorgung außerhalb Deutschlands
Die Entsorgung von Altgeräten hat fach- und sachgerecht nach den örtlich geltenden Vorschriften und Gesetzen zu erfolgen.
Adressen und Kontakte
Vertriebszentrale
EHT Haustechnik GmbH
Markenvertrieb AEG
Gutenstetter Straße 10
90449 Nurnberg
info@eht-haustechnik.de
www.aeg-haustechnik.de
Tel. 0 18 03 / 91 13 23
Fax 09 11 / 96 56 - 44 4
Kundendienstzentrale
Holzminden
Fürstenberger Str. 77
37603 Holzminden
BriEFanschrift
37601 Holzminden
Der Kundendienst und
Ersatzteilverkauf ist in der Zeit von
Montag bis Donnerstag
von 7.15 bis 18.00 Uhr und Freitag
von 7.15 bis 17.00 Uhr,
auch unter den nachfol
Telefon- bzw. Telefaxnummern erreichbar:
Kundendienst
Tel. 0 18 03 / 70 20 20
Fax 01803/702025
Ersatzteilverkauf
Tel. 0 18 03 / 70 20 40
Fax 01803/702045
EHT Haustechnik GmbH
Markenvertrieb AEG
Gutenstetter Straße 10
D-90449 Nurnberg
GERMANY
www.aeg-haustechnik.de
info@eht-haustechnik.de
H 262 403 595
EHT-Haustechnik GmbH
Regionen
AEG Kundendienst
Dortmund
Oespel (Indupark)
Brennaborstr. 19
44149 Dortmund
Postfach 76 02 47
44064 Dortmund
Tel. 02 31 / 96 50 22-11
Fax 02 31/965022-77
Frankfurt
Rudolf-Diesel-Str. 18
65760 Eschborn
Tel. 06173/602-11
Fax 06173/602-77
Hamburg
Georg-Heyken-Str. 4a
21147 Hamburg
Tel. 0 40 / 75 20 18-11
Fax 040/752018-77
Holzminden
Fürstenberger Str. 77
37603 Holzminden
Ersatzteile
Tel. 05531/702-137
Fax 05531/702-335
Kundendienst
Tel. 05531/702-111
Fax 05531/702-107
Leipzig
Airport Gewerbepark-Glesien
Ikarusstr. 10
04435 Schkeuditz
Tel. 03 42 07 / 7 55-11
Fax 034207/755-77
München
Hainbuchenring 4
82061 Neuried
Tel. 0 89 / 89 91 56-11
Fax 089/899156-77
Stuttgart
Weilimdorf
Motorstr. 39
70499 Stuttgart
Tel. 07 11 / 9 88 67-11
Fax 07 11 / 9 88 67-77
Ausland
Schweiz
EHT Haustechnik AG
Industriestrasse 10
CH-5506 Mägenwill
Tel. 062/8899214
Fax 062/8899126
Nederland
AEG Home Comfort
Daviottenweg 36
NL-5222 BH's
Hertogenbosch
Tel. 073/6238888
Fax 073/6238888
Belgium
AEG Home Comfort
Havenlaan - Av. du port, 104
B-1000 Brussel - Bruxelles
Tel. 02 / 4 22 25 22
Fax 02/4222524
Czech Republic
Stiebel Eltron Czech
K Hajum 946
CZ-Prague 5 - Stodulky
Tel. 0 04 20 / 251 11 61 11
Fax 0 04 20 / 235 51 21 22
Polska
Stiebel Eltron Polska Sp. z o.o.
UI.Instalatorow9
02-237 Warszawa
Tel. 0 22 / 8 46 48 20
Fax 0 22 / 8 46 67 03
EinfachAnleitung