GW14791 - Thermostat Gewiss - Kostenlose Bedienungsanleitung
Finden Sie kostenlos die Bedienungsanleitung des Geräts GW14791 Gewiss als PDF.
Benutzerfragen zu GW14791 Gewiss
0 Frage zu diesem Gerät. Beantworten Sie die, die Sie kennen, oder stellen Sie Ihre eigene.
Eine neue Frage zu diesem Gerät stellen
Laden Sie die Anleitung für Ihr Thermostat kostenlos im PDF-Format! Finden Sie Ihr Handbuch GW14791 - Gewiss und nehmen Sie Ihr elektronisches Gerät wieder in die Hand. Auf dieser Seite sind alle Dokumente veröffentlicht, die für die Verwendung Ihres Geräts notwendig sind. GW14791 von der Marke Gewiss.
BEDIENUNGSANLEITUNG GW14791 Gewiss
EIB Thermostatting für Wandmontage

GW 10791 GW 14791
C
KNX
INDICE
pag.
AVVERTENZE GENERALI
EN50090-2-2, EN60730-1
EN50090-2-2, EN60730-1
EN50090-2-2, EN60730-1
ALLGEMEINE BESCHREIBUNG
Kurzbeschreibung 141
Position der hinteren Bedienelemente 143
Position der Bedienelemente 144
Steuergutschreibung 145
Betriebsart. 146
BEDIENUNGSANWEISUNG
Auswahl Heizung / Klimatisierung 148
Parametereinstellung 148
Anpassung des Tagesprogramms 157
Kurzzeitiges Übersteuern der Temperatur 158
Funktion Party. 159
Funktion Holiday 160
Kopie des Feiertagsprogramm 161
Anzeige Batterie entladen 162
Rückstellung und Wiederherstellung der Werkseinstellung 162
VoreingestelleProgramme 163
Voreingestelle Parameter 164
Verhalten bei Ausfall und Wiederherstellung der Busversorgung 164
Batteriewechsel 165
Reinigung des Thermostattimers 166
INSTALLATIONSANWEISUNG
Richtige Positionierung 167
Hinweise zur Installation KNX/EIB 168
Elektrische Anschlisse 169
Vervollständigung 170
TECHNISCHE DATEN 171
ALLGEMEINE HINWEISE
Achtung! Die Gerätesicherheit ist nur dann gegeben, wenn die nachfolgenden Anweisungen eingehalten werden. Daher sind diese zu lesen, und aufzubewahren. Die Produkte der Reihe Chorus müssen gemäß der Norm CEI 64-8 für Anwendung im Wohnbereich oder ähnlich, in staubarmer Umgebung, wo kein besonderer Schutz gegen Eindringen von Wasser erforderlich ist installiert werden.
Die GEWISS Verkaufsabteilung steht für weitergehende Erläuterungen und technische Informationen,GLne zur Verfugung.
Gewiss S.p.A. besteht sich das Recht vor, das in diesen Handbuch beschriebene Produkt jederzeit und ohne Vorankündigung zu ändern.
Packungsinhalt
1 St. EIB Thermostatting für Wandmontage
1 St. Haltesockel
1 St. Busklemme
1 St. Installations- und Bedienungshandbuch
ALLGEMEINE BESCHREIBUNG
Kurzbeschreibung
Der EIB Thermostattinger für Wandmontage ermittelung mit Hilfe eines Wochenprogramms die automatische Regelung der Temperatur in dem Raum, in dem er installiert ist. Die Temperaturregelung erfolgt durch Ansteuerung der KNX/EIB-Antrorieber der Heizungs- oder Klimaanlage über den KNX/EIB-Bus des Building Automation Systems. Im Zusammenpiel mit EIB Thermostaten zur Wandmontage (GW10 793 - GW14 793), kann es mit Master-Funktion zur Zonenregelung der Temperatur verwendet werden.
Die Temperaturprofile werden auf Wochenbasis definiert. Für jeder Wochentag kann ein individuelles Stundenprofil mit 15 Minuten Schritten und beliebig vielen tätiglichen Änderungen erstellt werden. Der Thermostattinger möglich:
- 2 Funktionarten: Heizung und Klimatisierung;
- 5 Betriebsarten: AUS, Absenkung, Prekomfort, Komfort und Automatik;
- 4 Solltemperaturen für die Heizung (T ABSENKUNG, TPREKOMFORT, TKOMFORT, TFROSTSCHUTZ);
- 4 Solltemperaturen für die Klimatisierung (TABSENKUNG, TPREKOMFORT, TKOMFORT, TÜBERTEMPERATURSCHUTZ).
Der Thermostattimer wird von der Buslinie versorgt und ist mit einem LCD-Display mit zeitgesteuerter Hintergrundbeleuchtung, 10 Bedientasten, einem integrierten Sensor für die Erfassung der Umgebungstemperatur (dessen Wert auf den Bus übertragen werden kann), Alkalibatterien (AAA, nicht enthalten) für die Speicherung des angezeigten Datum und Uhrzeit (für elev. Ausfall der Busspannung).
ALLGEMEINE BESCHREIBUNG
Das Gerät wird mit der ETS-Software konfiguriert, um die nachfolgend aufgeführten Funktionen zu realisieren:
Temperaturüberwachung
- über 2-Punkt Regelung mit Befehl AN/AUS oder Dauerregelung (0% - 100%)
- über Proportionalregelung mit PWM-Befehlen oder Dauerregelung (0% - -100%)
Einstellung Betriebsart
- über Bus mit eindeutigen Objeken mit 1 bit (AUS, ABSENKUNG, PREKOMFORT, KOMFORT, AUTO)
- über Bus mit Objekt mit 1 byte
Temperaturmessung
- mit integriertem Sensor oder Temperaturfühler
gemisch mit Definition der jeweiligen Wichtigung
Zonentemperaturüberwachung
- mit Übertragung der Betriebsart an die Slave-Thermostat
- mit Übertragung des Sollwerts an die Slave-Thermostat
Szenen
- Speicherung und Aktivierung von 8 Szenen (Wert 0,63)
Andere Funktionen
- Einstellung des Sollwerts (AUS, ABSENKUNG, PREKOMFORT, KOMFORT) über den Bus
- Einstellen der Funktionart (Heizung / Klimatisierung) über den Bus
- Einstellen des Tages und der Uhrzeit über den Bus
- Übertragen des Tages und der Uhrzeit über den Bus an die Slave-Thermostat
- Übertragen der Statusinformationen (Modus, Art) und der gemessenen Temperatur über den Bus
- Verwalten der Statusinformationen vom angesteuerten Antrieb
Das Gerät wird mit dem mitgelieferten Flansch an der Wand installiert, dieser kann direkt mit Dübeln an die Wand oder auf ein UP-Gehäuse (3 Module) geschraubt werden.
ALLGEMEINE BESCHREIBUNG
Position der hinteren Bedienelemente

ALLGEMEINE BESCHREIBUNG
Position der Bedienelemente
Der Thermostattimer ist mit einem Display, 3 immer zugänglichen Bedientasten und 7 bei öffener Klappe zugänglichen Bedientasten ausgestellt.

ALLGEMEINE BESCHREIBUNG
Steuerungsbeschreibung
STEUERTASTEN Symbol Section
① Programmierung / Einstellung
Zeiteinstellung
3 Party 159
④ Holiday 160
5 Auswahl Hezung / Klimatisierung 148
6 Kopieren 161
7 Temperaturregelung (+) / Parameterauswahl
8 Auswahl Funktionmodus / Bestätigung
9 Temperaturregelung (-) / Parameterauswahl
⑥
图
品
A
DISPLAYANZEIGEN
10 Betriebsart 146
11 Temperatureinheit 150
12 Gemessene Raumtemperatur
13 Profil des Tagesprogramms 157
14 Aktivierung Klimatisierung 147
15 Aktivierung Heizung 147
16 Temperaturdifferenz 155
17 Uhr
18 Wochentag
19 Aktivierung Selfstlernfunktion
20 Temperatursollwert - Betriebsart
21 Heizungsbetrieb
22 Status Parameteinstellung
23 Klimatisierungsbetrieb
24 Status Programmierung
25 Funktion Holiday
26 Batterien entladen
27 Funktion Kopie des Feiertagsprogramms
28 Funktion Party
AUTO
^ C / ^



T
T. T: T
SET

PROG



X
150
150
155
151
147
148
148
155
160
162
161
159
ALLGEMEINE BESCHREIBUNG
Betriebsart
Der Thermostattimer sieht 5 verschiedene Betriebsarten vor:
AUTOMATIK
- ABSENKUNG
PREKOMFORT
KOMFORT
AUS - FROSTSCHUTZ / ÜBERTEMPERATURSCHUTZ
Zum Schalten zwischen den Betriebsarten wird die Taste verwendet.

Beim Automatikbetrieb verwendet der Thermostattem ein Programm, das für jeder Wochentag unterscheidlich sein kann.
Auf dem Display erscheint die Anzeige AUTO, die gemessene Raumtemperatur, und das Symbol des Sollwerts der aktuellen Viertelstunde.
Im Stundenprofil blinking die Spalte der aktuellen Uhrzeit mit der Darstellung des aktiven Sollwerts.

Der Thermostat timer verwendet bei den Betriebsarten Absenkung, Prekomfort und Komfort ständig die entsprechenden Temperatursollwerte. Auf dem Display erscheint die gemessene Raumtemperatur und das Symbol, TodeT
BEDEUTUNG VON T. T: T
| Symbol | Heizung Klimatisierung | |||
| Sollwert Betriebsart Sollwert | Betriebsart | |||
| T. | TABSENKUNG Absenkung TKOMFORT | Komfort | ||
| T: | TPREKOMFORT | Prekomfort | TPREKOMFORT | Prekomfort |
| T: | TKOMFORT | Komfort | TABSENKUNG | Absenkung |
ALLGEMEINE BESCHREIBUNG

Die Frostschutzfunktion ist nur in der Betriebsart Heizung mit ausgeschalteter Temperaturregelung (AUS) aktiv. In thisem Fall verwendet der Thermostattinger den eingestallenten Temperatursollwert für Frostschutz und schaltet die Heizungsanlage nur ein, wenn die Raumtemperatur unter Tfrostschutz absinkt. Auf dem Display erscheint die Anzeige AUS und die gemessene Raumtemperatur.

Die Übertemperaturschutzfunktion ist nur in der Betriebsart Klimatisierung mit ausgeschalteter Temperaturregelung (AUS) aktiv. In thisem Fall verwendet der Thermostattingen den eingestellen Temperatursollwert für Übertemperatur und schaltet die Klimaanlage nur ein, wenn die Raumtemperatur über Tübertemperaturschutz ansteigt. Auf dem Display erscheint die Anzeige AUS und die gemessene Raumtemperatur.
Während des Betriebs wird das Einschalten der Hezung oder der Klimatisierung auf die folgende Weise angezeigt:

Heizung
Das Symbol zeigt an, dass der Einschaltbefehl vom Antrieb der Heizkesselsteuerung erfasst wurde. Wenn über ETS die Verbraucherbenachrichtigungen aktiviert wurden und der Thermostattimer vom Antrieb nicht die Bestätigung der erfolgten Einschaltung erhalten, beginnt das Symbol zublinken. Anschließlich sendet der Thermostattimer im Minutentakt den Einschaltbefehl, bisher eine positive Antwort erhalten.

Klimatisierung
Das Symbol zeit an, dass der Einschaltbefehl vom Antrieb der Klimaanlagensteuerung erfasst wurde. Wenn über ETS die Verbraucherbenachrichtigungen aktiviert wurden und der Thermostattimer vom Antrieb nicht die Bestätigung der erfolgenden Einschaltung erhalten, beginnt das Symbol zublinken. Anschließlich sendet der Thermostattimer im Minutentakt den Einschaltbefehl, bisher eine positive Antwort erhalten.
BEDIENUNGSCANWEISUNG
Auswahl Hezung / Klimatisierung
Durch Drücken der Taste kann zwischen den Funktionsarten Heizung und Klimatisierung umgeschaltet werden.

Heizung
Das Symbol kennzeichnet die Heizung.

Klimatisierung
Das Symbol kenneichnet die Klimatisierung.
Parameteinstellung
Zur Einstellung des Parameter des Thermostattimers:
- Mit der Taste die Funktionart (Heizung / Klimatisierung) auswahlen,
- Ein Mal die Taste drucken.
Auf dem Display erscheint die Anzeige SET und die Uhr, der Balken des Wochentags beginnnt zu blinken.
Nun können, je nach Funktionart nacheinander folgende Punkte geändert werden:
BEDIENUNGSCANWEISUNG
| Wochentag | |
| Stunden | |
| Minuten | |
| Temperaturinheit | |
| Hezung Klimatisierung | |
| P01Heiz - Sollwert T- | P01Klima - Sollwert T- |
| P02Heiz - Sollwert P02Klima - Sollwert | T- |
| P03Heiz - Sollwert P03Klima - Sollwert | T- |
| P04Heiz - Sollwert TFROSTSCHUTZ | P04Klima - Sollwert TÜBERTEMPERATURSCHUTZ |
| P05Heiz - Regellogik P05Klima - Regellogik | |
Wenn Regellogik = proportional
| P06Heiz - Taktzeit | P06Klima - Taktzeit |
| P07Heiz - Differenzwert der Regelung proportional | P07Klima - Differenzwert der Regelung proportional |
| P08 - minimaler Prozentwert für Befehlsübermittlung (sichtbar, wenn über ETS das Befehlsformat mit 1 byte gewählt wurde) | |
Wenn Regellogik = 2-Punkt
| P09Heiz - Differenzwert der Regelung mit 2-Punkt | P09Klima - Differenzwert der Regelung mit 2-Punkt |
| P10Heiz - Aktivierung Selfstellnfunktion |
| P11 Aktivierung/Deaktivierung der Master-Funktion |
| P12 Übermittlung Tag/Uhrzeit an Slave-Geräte |
| P13 Übermittlungszeitraum Tag und Uhrzeit an Slave-Geräte |
| P14 Übermittlung Befehl PARTY an Slave-Geräte |
| P14 Übermittlung Befehl HOLIDAY an Slave-Geräte |
Die Taste zum Durchblättern der Sequenz und Bestätigung der angezeigten Werte drücken, bis der Parameter angezeigt wird, der geändert werden soll.
Das Verlassen der Parameteinstellprozeder erfolgt durch erneutes Drucken der Taste
, oder automatisch 30 Sekunden nach dem letzten Tastendruck.
Zum Einstellen der Heizungs- und Klimatisierungsparameter müssen beiden Sequenzen ausgeführten werden (in der zweiten Sequenz können die gleichen Parameter bestätigt und nur die spezifischen geändert werden).
BEDIENUNGSCANWEISUNG

Einstellung des Wochentags
Wenn der Balken des Wochentags blinkt, den aktuellen Tag mit den Tasten wahlen.
Zur Bestätigung des eingestellen Werts die Taste innerhalb von 30 Sekunden drücken.

Einstellung der Stunde
Wenn die Stundenziffern blinken, diese mit den Tasten + einstellen.
Zur Bestätigung des eingestellen Werts die Taste innerhalb von 30 Sekunden drücken.

Einstellung der Minuten
Wenn die Minutenziffern blinken, diese mit den Tasten + einstellen.
Zur Bestätigung des eingestellen Werts die Taste innerhalb von 30 Sekunden drücken.

Einstellung der Temperatureinheit
Wenn das Symbol ^ C oder ^ der Temperatur anfängt zu blinken, kann die Temperatureinheit mit den Tasten gewählt werden.
Zur Bestätigung des eingestellen Werts die Taste innerhalb von 30 Sekunden drücken.

BEDIENUNGSCANWEISUNG

P01Heiz - Einstellung Sollwert (Heizing)
Bei der Anzeige des Symbols beginn der Temperaturwert zu blinken. Den Wert T (TABSENKUNG) mit den Tasten erstellen.
Zur Bestätigung des eingestellen Werts die Taste innerhalb von 30 Sekunden drücken.

P01Klima - Einstellung Sollwert (Klimatisierung)
Bei der Anzeige des Symbols beginnt der Temperaturwert zu blinken. Den Wert (KOMFORT) mit den Tasten einstellen
Zur Bestätigung des eingestellen Werts die Taste innerhalb von 30 Sekunden drücken.

P02Heiz - Einstellung Sollwert (Heizung)
Bei der Anzeige des Symbols beginn der Temperaturwert zu blinken. Den Wert (T: PREKOMFORT) mit den Tasten einstellen.
Zur Bestätigung des eingestellen Werts die Taste innerhalb von 30 Sekunden drücken.

P02Klima - Einstellung Sollwert (Klimatisierung)
Bei der Anzeige des Symbols beginn der Temperaturwert zu blinken. Den Wert PREKOMFORT) mit den Tasten einstellen. Zur Bestätigung des eingestellen Werts die Taste innerhalb von 30 Sekunden drucken.
BEDIENUNGSCANWEISUNG

P03Heiz - Einstellung Sollwert T (Heizung)
Bei der Anzeige des Symbols beginn der Temperaturwert zu blinken. Den Wert T (TOMFORT) mit den Tasten erstellen
Zur Bestätigung des eingestellen Werts die Taste innerhalb von 30 Sekunden drücken.

P03Klima - Einstellung Sollwert (Klimatisierung)
Bei der Anzeige des Symbols beginn der Temperaturwert zu blinken. Den Wert T (Tabsenkung) mit den Tasten einstellen Zur Bestätigung des eingestallenten Werts die Taste innerhalb von 30 Sekunden drucken.

P04Heiz - Einstellung Frostschutztemperaturwert
Bei der Anzeige des Symbols beginn der Temperaturwert zu blinken. Den Wert der Frostschutztemperatur mit den Tasten einstellen. Zur Bestätigung des eingestillten Werts die Taste innerhalb von 30 Sekunden drucken.

P04Klima - Einstellung Übertemperaturschutzwert
Bei der Anzeige des Symbols beginnnt der Temperaturwert zu blinken. Den Wert des Übertemperaturschutzes mit den Tasten einstellen. Zur Bestätigung des eingestillten Werts die Taste innerhalb von 30 Sekunden drucken.
ACHTUNG!
Bei den Sollwertengelten folgende Einschränkungen:
-Heizung TFROSTSCHUTZ T. T: T
- Klimatisierung T. T: TEBERTEMPERATURSCHUTZ
BEDIENUNGSCANWEISUNG


P05 - Regellogik
Bei der Anzeige von P05 die Regellogik der Temperaturregelung mit den Tasten einstellen (00 = 2-Punkt Regelung, 01 = Proportionalregelung).
Zur Bestätigung des eingestillten Werts die Taste innerhalb von 30 Sekunden drücken.
Für Heizung und Klimatisierung können unterschiedliche Regellogiken eingestellt werden.
Wenn die 2-Punkt Regelung gewählt wird, zum Punkt P09 springen, bei Proportionalregelung zum Punkt P06 gehen.
2-PUNKT REGELUNG
Die Temperaturregelung wird deaktiviert, wenn die Raumtemperatur dem Sollwert entspricht und wird wieder aktiviert wenn:
- die Temperatur für die Heizung gleich oder kleiner dem Sollwert - ist
- die Temperatur für die Klimatisierung gleich oder größter dem Sollwert + ist;
Nachfolgende Grafiken zeigen die beiden Funktionarten.


KLMATISIERUNG
Wenn über ETS der Befehlsformat 1 bit gewählt wurde, übersendet der Thermostattinger Befehle AN/AUS; Wenn über ETS der Befehlsformat 1 byte gewählt wurde, übersendet der Thermostattinger die Werte 0% oder 100% .
BEDIENUNGSCANWEISUNG
PROPORTIONALREGELUNG
Der Thermostattinger pruft am Ende jeder Taktzeit die Raumtemperatur und moduliert je nach festgestellter Abweichung zum eingestellen Sollwert das Ein- und Ausschalten des Heizkessels (PWM) oder sendet einen Befehl mit dem Wert 1 byte (dauernde Steuerung) für die Steuerung des Heiz- oder Kuhleelements entsprechend der vom ETS gewählten Funktion (1 bit oder 1 byte).

P06 - Einstellung Taktzeit
Bei der Anzeige von P06 die Dauer der Taktzeit mit den Tasten einstellen.
Die möglichen Werte sind: 5, 10, 20, 30, 40, 50, 60
Minutes. Für Heizung und Klimatisierung konnen unterscheidliche Taktzeiten eingestellt werden.
Zur Bestätigung des eingestellen Werts die Taste innerhalb von 30 Sekunden drücken.

P07 - Einstellung Differenzwert der Proportionalregelung
Bei der Anzeige von P07 den Differenzwert der Regelung mit den Tasten einstellen.
Mögliche Werte: Von 0,4 °C bis 3,2 °C, mit Schritten von 0,4 °C. Für Heizung und Klimatisierung können unterschiedliche Regeldifferenzwerte eingestellt werden. Zur Bestätigung des eingestillten Werts die Taste innerhalb von 30 Sekunden drücken.
Wenn während der Konfiguration mit ETS als Kontrollwert der Wert 1 bit eingestellt wurde, zum Punkt P11 springen, andernfalls mit Punkt P08 fortfahren.

P08 - Minimaler Prozentwert für Befehlsübermittlung
Bei der Anzeige von P08 die prozentuale Auflösung für die Übermittlung des Befehls an das Steuergerät der Temperaturregelung einstellen. Die möglichen Werte sind: 5% , 10% , 20% .
Zur Bestätigung des eingestellen Werts die Taste innerhalb von 30 Sekunden drücken.
BEDIENUNGSCANWEISUNG

P09 - Einstellung Differenzwert der Regelung mit 2-Punkt
Bei der Anzeige des Symbols den Differenzwert der Regelung mit den Tasten erstellen.
Zur Bestätigung des eingestellen Werts die Taste innerhalb von 30 Sekunden drücken.

Die Regeldifferenz ist die Abweichung zwischen dem eingestellen Sollwert und der tatsächlichen Einschlattemperatur. Für Hezung und Klimatisierung können unterschiedliche Regeldifferenzen eingestellt werden. Abgesehen von besonderen Situationen wird empfohlen, die voreingestellen Werte beizubehalten.

P10 - Aktivierung Selfstlernfunktion (nur Heizung).
Bei der Anzeige des Symbols die Funktion mit den Tasten aktivieren (AN) oder deaktivieren (AUS).
Zur Bestätigung des eingestellen Werts die Taste innerhalb von 30 Sekunden drücken.


Die Selfstlernfunktion erhögt die Optimierung der vorzeitigen Einschaltung der Heizung (max. 2 Stunden). Der Raumtemperaturregler steuert die vorzeitige Einschaltung automatisch, um die eingestellte Temperatur zu Beginn jeder Periode des programmierten Zeitraums zu garantieren. Diese Funktion aktiviert sich ausschließlich in der Betriebsart Automatik des Heizbetriebs.
Die folgenden Parameter sind nur wichtig, wenn der Thermostattinger über ETS für die Master-Funktion konfiguriert wurde, andernfalls werden sie ignoriert.

P11 - Aktivierung/Deaktivierung der Master-Funktion
Bei der Anzeige von P11 kann die Master-Funktion vorübergehend deaktiviert und die Stand Alone-Funktion aktiviert werden (01 = Master-Funktion, 00 = Stand Alone-Funktion).
Zur Bestätigung des eingestellen Werts die Taste innerhalb von 30 Sekunden drücken.

Wenn die Master-Funktion gewählt wurde zum Punkt P12 wechseln, andernfalls ist die Prozedur abgeschlossen.
BEDIENUNGSCANWEISUNG

P12 - Übermittlung Tag/Uhrzeit an Slave-Geräte
Bei der Anzeige von P12 kann definiert werden, wenn der Thermostattinger Datum und Uhrzeit übermittelt, um diese Parameter bei den Slave-Geräten abzugleichen (00 = Nachricht wird Nie übermittelt, 01 = Nachricht wird nur bei Wiederherstellung der Versorgungsspannung übermittelt, 02 = Nachricht wird nur bei Änderung der eingestillten Zeit übermittelt, 03 = Nachricht wird bei Wiederherstellung der Versorgungsspannung oder Änderung der eingestillten Zeit übermittelt, 04 = Nachricht wird bei Wiederherstellung der Versorgungsspannung, Änderung der eingestillten Zeit und mit der in P13 angegebenen Häufigkeit übermittelt).
Zur Bestätigung des eingestillten Werts die Taste innerhalb von 30 Sekunden drücken.

Wenn die Option 04 gewählt wurde zum Punkt P13 wechseln, andernfalls zum Punkt P14 springen.

P13 - Übermittlungsszeitraum Tag und Uhrzeit
Bei der Anzeige von P13 kann der Zeitraum für die Übermittlung von Datum und Uhrzeit eingestellt werden, um diese Parameter bei den Slave-Geräten, usw. abzugleichen (00 = alle 6 Stunden, 01 = alle 12 Stunden, 02 = alle 24 Stunden, 03 = wöchentlich).
Zur Bestätigung des eingestellen Werts die Taste innerhalb von 30 Sekunden drücken.

P14 - Übermittlung Befehl PARTY an Slave-Geräte
Bei der Anzeige von P14 kann mit den Tasten die Verlängerung des PARTY-Befehls für die Slave-Geräte des Thermostattimers aktiviert (AN) oder deaktiviert (AUS) werden.
Zur Bestätigung des eingestellen Werts die Taste innerhalb von 30 Sekunden drücken.
BEDIENUNGSCANWEISUNG

P15 - Übermittlung Befehl HOLIDAY an Slave-Geräte
Bei der Anzeige von P15 kann mit den Tasten die Verlängerung des HOLIDAY-Befehls für die Slave-Geräte des Thermostattimers aktiviert (AN) oder deaktiviert (AUS) werden. Zur Bestätigung des eingestillten Werts die Taste innerhalb von 30 Sekunden drücken.
Die Prozedur zur Parameteinstellung ist hiermit beendet. Die Taste drücken, um zum normalen Betrieb zurück zu kehren.
Anpassung des Tagesprogramms
Um die Anpassung des voreingestalten Tagesprogramms auszufahren, oder eine Änderung auszufahren muss die Taste zwei Mal gedrückt werden.

Auf dem Display erscheint die Anzeige PROG, und der Balken des ersten Wochentags beginnnt zu blinken. Den gewünschten Tag mit den Tasten wahren. Zur Bestätigung der Auswahl die Taste innerhalb von 30 Sekunden drucken.

Nach der Bestätigung des Tags wird auf dem Display das aktuelle Profil des gewählten Tags angezeigt. Die Stunde beginnnt zu blinken.
Nachfolgend die Schritte, die für die Anpassung erforderlich sind:
1- Auswahl des zeitlichen Beginns der Temperaturänderung
2-Einstellung des neuen Temperatursollwerts
3- Abschluss der Anpassung

1 - Auswahldes zeitlichen Beginnnder Temperaturänderung
Mit den Tasten die Uhrzeit bis zu dem Punktändern, an dem das vorgeschlagene Profil geändert werden soll; während der Zunahme blinkt im Stundenprofil die Spalte der gewählten Stunde. Bei jedem Drücken der Tasten wird die Uhrzeit in 15 Minuten Schritten vor oder darüber bewegt, davon können 4 Programmierperioden für jeder Stunde definiert werden.
BEDIENUNGSCANWEISUNG

2 - Einstellung des neuen Temperatursollwerts
Auf dem Display wird der Wert entsprechend des aktuell eingestillten Sollwerts durch das Symbol, T der T angezeigt.
Mit den Tasten den neuen Sollwert auswahlen, der innerhalb des Stundenprofils bis zur{nachsten Änderung innerhalb des Programms angewendet wird.
3 - Abschluss der Anpassung
Nach der Wiederholung der Schritte 1 und 2 und dem Einstellen des gewünschten Temperatur-Stundenprofils kann:
- das Programm auf den{nachsten Tag kopiert werden und die ausgeführte Programmierung durch Drucken der Taste innerhalb von 30 Sekunden bestätigt werden, oder
- die Programmierung ohne Kopieren bestätigt werden, indem die Taste innerhalb von 30 Sekunden gedrück wird (der Wechsel zur Programmierung des nachsten Tages erfolgt automatisch).
Am Ende der Wochenprogrammierung die Taste drücken, um zum normalen Betrieb zurück zu kehren.
Zur Aktivierung des Programms die Betriebsart AUTO wahlen, indem die Taste gedrückt wird, bis auf dem Display die Anzeige AUTO angezeigt wird.

Kurzzeitiges Übersteuern der Temperatur
In den Betriebsarten AUTO, Absenkung, Prekomfort und Komfort kann der aktive Temperatursollwert mit den Tasten vorübergehend übersteuert werden um den gewünschten Wert einzustellen. Den neuen Wert mit der Taste bestätigen oder 5 Sekunden abwarten.

Die Aktivierung der Übersteuerung wird im Display durch die blinkende Anzeige AUTO oder in anderen Fällen durch das Blinken von, Toder angezeigt. Die Übersteuerung in der Betriebsart AUTO bleibt bis zur nachsten Änderung des Temperatur-Stundenprofils aktiv.
BEDIENUNGSCANWEISUNG
Funktion Party
Die Funktion Party erhögt die vorübergehende Deaktivierung der eingestellen Betriebsart in den Modi AUTO, Absenkung, Prekomfort und Komfort und aktiviert für einen Zeitraum zwischen 1 und 23 Stunden den Modus Komfort mit einem wählbaren Sollwert. Diese Funktion kann beispielsweise verwendet werden, um während eines Abendessens, eines Fests, usw. eine angenehmere Temperatur zu haben.

Zur Aktivierung der Funktion die Taste drucken. Auf dem Display erscheint das Symbol während der Wert des Sollwerts dmkt.
Mit den Tasten die gewünschte Temperatur einstehen. Mit den Tasten dann die Stundenzahl der Aktivierung der Party-Funktion einstellen, die oben links im Display angezeigt wird.
Die Taste drücken, oder 5 Sekunden warten, um die Einstellung zu bestätigten.
Solange die Funktion aktiv ist, kann der Temperatursollwert mit den Tasten und der Aktivierungszeitraum mit den Tasten verändert werden.
Während des Betriebs lauft die eingestellte Zeit rückwärts.
Die Funktion Party bleibt bis zum Ablauf des eingestellen Zeitraums aktiv.
Nach Ablauf der eingestillten Zeit wird die Funktion Party automatisch deaktiviert und der Thermostattinger kehrt in die ursprüngliche Betriebsart darüber.
Zur vorzeitigen Deaktivierung der Funktion Party die Taste drucken.
BEDIENUNGSCANWEISUNG
Funktion Holiday
Die Funktion Holiday erhögt die vorübergehende Deaktivierung der eingestellen Betriebsart in den Modi AUTO, Absenkung, Prekomfort und Komfort und aktiviert für einen Zeitraum zwischen 1 und 99 Tagen den Modus Absenkung mit einem wählbaren Sollwert. Diese Funktion kann beispielsweise verwendet werden, um einen Energiesparzeitraum der Heizung während eines Urlaubs oder einer längeren Abwesenheit einzustellen, und die gewünschte Temperatur am Ankunftstag vorzufinden.

Zur Aktivierung der Funktion die Taste drucken.
Auf dem Display erscheint das Symbol, während der Wert des Sollwerts flinkt.
Mit den Tasten die gewünschte Temperatur einstellen. Mit den Tasten dann die Tagesanzahl der Aktivierung der Holiday-Funktion einstellen, die oben links im Display angezeigt wird.
Die Taste drucken, oder 5 Sekunden warten, um die Einstellung zu bestätigen.
Solange die Funktion aktiv ist, kann der Temperatursollwert mit den Tasten und der Aktivierungszeitraum mit den Tasten verändert werden.
Während des Betriebs lauft die eingestellte Tagesanzahl ruckwärts.
Die Funktion Holiday bleibt bis zum Ablauf des eingestellen Zeitraums aktiv, der um 24 Uhr endet. Bei der Berechnung der Tage muss immer der aktuelle Tag eingerechnet werden.
Wenn beispiselsweise Freitagabend die Funktion Holiday eingestellt werden soll, die Sonntagabend um Mitternacht endet, müssen 3 Tage eingestellt werden (Freitag, Samstag, Sonntag).
Nach Ablauf der eingestillten Zeit wird die Funktion Holiday automatisch deaktiviert und der Thermostattinger kehr in die ursprüngliche Betriebsart darüber.
Zur vorzeitigen Deaktivierung der Funktion Holiday die Taste drücken.
BEDIENUNGSCANWEISUNG
Kopie des Feiertagsprogramm
Im Modus AUTO kann das Profil des Feiertags (7) auf einen beliebigen Wochentag kopiert werden.
Die Funktion kann bis zu 6 Tage vor dem gewählten Tag aktiviert werden.
These Funktion ist entsprechend nützlich, wenn beispelsweise ein Feiertag auf einen Werktag fällt.

Zum Kopieren des Feiertagsprofils die Taste drucken. Auf dem Display blinkt das Symbol und der Balken des Feiertags.
Mit den Tasten den Werktag wahlen, auf den das Feiertagsprofil kopiert werden soll.
Die Taste drücken, oder 30 Sekunden warten, um die Einstellung zu bestätigten.

Solange die Funktion aktiv ist, kann durch Drücken der Taste der Tag angezeigt werden, auf den das Feiertagsprofil kopiert wurde; der entsprechende Balken blinkt im Display.
Wenn die Funktion deaktiviert werden soll, die Taste erneut drücken; wenn der Wochentag geändert werden soll, die Tasten verwenden und die Tastedrücken oder 30 Sekunden abwarten um die neue Einstellung zu bestätigen.

Tagsüber ist das Symbol fest eingeschaltet. Das Kopieren des Feiertags gilt nur vorübergehend; nach Mitternacht des gewählten Tags wird zum programmierten Wochenprofil darüber gekehrt.
BEDIENUNGSCANWEISUNG
Anzeige Batterie entladen

Wenn die Batterien nahezu entladen sind, und die Busversorgung fehlt, blinkt das Symbol im Display. Aus dem Display verschwindet auch die Temperaturanzeige und die Batterien müssen sochnell wie möglich ersetzt werden.

Wenn das Symbol feste aufleuchtet müssen die Batterien unbedingt ersetzt werden.
Die Batterien dienen zur zum Speichern des Datum und der Uhrzeit bei einem Spannungsausfall des KNX/EIB-Busses (alle anderen Einstellungen werden in nicht flüchtigen Speichern geschichert).
Bei anliegender Busspannung ist die Funktion auch bei fehlenden Batterien gewährleistet.
Rückstellung und Wiederherstellung der Werkseinstellung
Für eine vollständige Rückstellung des Thermostattimers gleichzeitig die Tasten, und drucken.
Achtung: Alle eingestallenten Parameter und angepasste Programme werden gelöscht.
Beim erneuten Einschalten verwendet der Thermostattinger die werkssheitig eingestellen Parameter und Programme. Der Thermostattinger schaltet in Heizbetrieb, den Modus OFF und die Funktionen Party und Holiday sind deaktiviert.
BEDIENUNGSCANWEISUNG
Voreingestelle Programme
Der Thermostattinger verfügbar über zwei voreingestellte Programme, eines für die Heizung und eines für die Klimatisierung.

HEIZUNGSPROGRAMM

KLIMATISIERUNGSPROGRAMM
These voreingestellen Programme können entsprechend der persönlichen Anforderungen geändert und angepasst werden. Für die Änderung der voreingestellen Programme wird auf die Anweisungen des Abschnitts „Anpassung des Tagesprogramms“ verwiesen.
Voreingestelle Parameter
| Wochentag | 1: Montag | |
| Uhrzeit | 00:00 | |
| Sollwert Heizungstemperatur | T. | 16 °C |
| T: | 18 °C | |
| T3 | 20 °C | |
| TFROSTSCHUTZ | 5 °C | |
| Sollwert Klimatisierungstemperatur | T. | 24 °C |
| T: | 26 °C | |
| T3 | 28 °C | |
| TÜBERTEMPERATURSCHUTZ | 35 °C | |
| Selbstlichen | OFF | |
| Differenzwert der Regelung | Heizung | 0.2 °C |
| Klimatisierung | 0.5 °C | |
| Temperatureinheit | °C |
Verhalten bei Ausfall und Wiederherstellung der Busversorgung
Bei Ausfall der Busversorgung führ das Gerät keinerlei Aktion aus. Datum und Uhrzeit werden durch die Pufferbatterien gespeichert, alle anderen Einstellungen werden in einem nicht flüchtigen Speicher gesichert. Das Geräte ist max. 5 Sekunden nach Wiederherstellung der Busversorgung wieder voll funktionsfähig.
Ohne Pufferbatterien wird der Thermostattinger bei Wiederherstellung der Busspannung im Modus AUS eingeschaltet.
BEDIENUNGSCANWEISUNG
Batteriewechsel
Die Befestigungsschraube unter dem Frontdeckel entfernen und den Thermostattinger gemäß folgender Abbildung vom Haltesockel entfernen.


Den Deckel des Batteriefachs entfernen und die entladenen Batterien durch zwei andere 1,5 V Batterien (Typ AAA) ersetzen, damit auf die Polung achtenden.

BEDIENUNGSCANWEISUNG
Den Thermostattimer wieder gemäß der in der Abbildung dargestellen Folge auf dem Haltesockel einrasten und wieder mit der Frontschraube befestigen.


ACHTUNG
- Wenn die Busversorgung des Thermostattimers während des Batteriewechsels unterbrochen wurde, müssen Datum und Uhrzeit wieder eingestellt werden.
- Alle Batterien gleichzeitig austauschen.
- Alte und neue Batterien dürfen nicht zusammen verwendet werden.
- Nur gleichartige Batterien verwenden (keine Alkali-Batterien zusammen mit Zink-Kohle Batterien verwenden).
- Keine Batterien ins Feuer werfen.

- Die Batterien sind Sondermüll, ihre Entsorgung wird durch besondere gesetzliche Vorgaben geregelt, sie müssen besonderen Entsorgungsstellen zugeführrt werden.
Reinigung des Thermostattimers
Der Thermostattimer muss mit einem trockenen Tuch gereinigt werden.
INSTALLATIONSANWEISUNG

ACKTUNG: Die Installation des Geräts darf ausschließlich von qualifiziertem Personal gemäß der gültigen Richtlinie und den Installationsrichtlinien für KNX/EIB Installationen erfolgen.
Richtige Positionierung
Um eine korrekte Erfassung der Raumtemperatur zu gewährleistendarf der Thermostattinger nicht in Nischen, besoin Turen oder Fenster, besoin Heizkörpersn oder Klimageräten montiert werden und erarf keinem direkten Luftzug oder direkter Sonnenbestrahlung ausgesetzt werden.

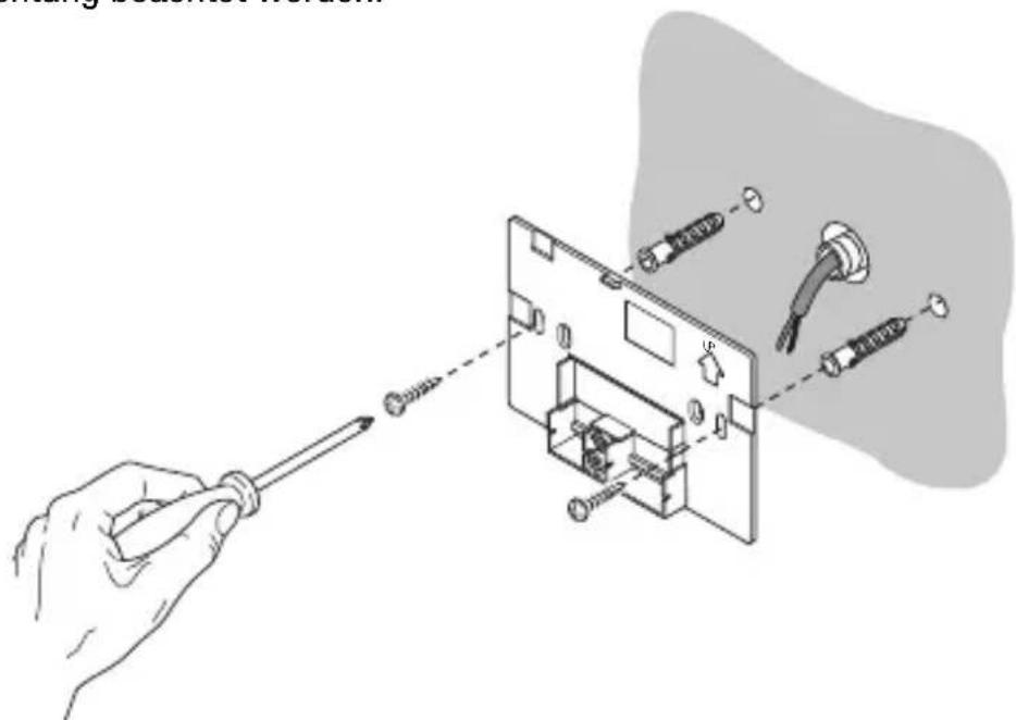
Montage des Bediensockels
Der Haltesockel wird in einer Höhe von 160 cm über Fußbodenhöhe montiert, und kann direkt mit Dübeln an die Wand oder auf ein UP-Gehäuse (3 Module) geschraubt werden.
ACHTUNG Bei der Befestigung des Haltesockels muss die mit dem Pfeil angegebene Montagerichtung beachtet werden.

Montage mit Dubeln

INSTALLATIONSANWEISUNG
Montage auf Gehäuse (3 Module)


Hinweise zur Installation KNX/EIB
- Die Länge der Busleitung zwischen dem EIB Thermostattinger und dem Netzgerät darf 350 Meter nicht überschreiben.
- Die Länge der Busleitung zwischen dem EIB Thermostattinger und dem am weitesten entfernt liegenden, zu steuernden KNX/EIB-Gerät darf 700 Meter nicht überschreiben.
- Um unerwünschte Signale und Überspannungen zu vermeiden sind Ringkreise so welt wie möglich zu vermeiden.
- Es muss ein Mindestabstand von 4 mm zwischen den einzeln isolierten Kabeln der Buslinie und den Kabeln der Stromleitung eingehalten werden.

- Der elektrische Durchgangsleiter der Abschirmungarf nicht beschadigt werden.

INSTALLATIONSANWEISUNG

ACHTUNG: Die nicht verwendeten Bussignalkabel und der elektrische Durchgangsleiter)dürfen nie spannungsführende Elemente oder den Erdungsleiter berühren.

Elektrische Anschlüsse
Elektroanschlusssschema
- Vor dem Anschluss an den KNX/EIB-Bus * müssen die Pufferbatterien eingesetzt werden (siehe Abschnitt Batteriewechsel).
- Die rote Ader des Buskabels an die rote Klemme (+) des Terminals und die Schwarze Ader an die Schwarze Klemme (-) anschließen. Es konnen bis zu 4 Buslinien an den Busterminal angeschlossen werden (Adern der gleichen Farbe in die gleiche Klemme).

- Die Abschirmung, den elektrische Durchgangsleiter und die verbleibenden weiß und gelben Adern des Buskabels (falls ein Buskabel mit 4 Leitern verwendet wird), die nicht benötigt werden, isolieren.
INSTALLATIONSANWEISUNG
- Die Busklemme in die entsprechenden Steckkontakte des Gerätes einsetzen. Die korrekte Montagerichtigung wird durch die Befestigungsführungen vorgegeben.


Vervollständigung
Den Thermostattimer gemäß der in der Abbildung dargestellen Folge auf dem Haltesockel einrasten und mit der mitgelieferten Schraube befestigen.


TECHNISCHE DATEN
Kommunikation Bus KNX/EIB
Stromversorgung Über KNX/EIB Bus, 29 V dc SELV
- 2 Alkalibatterien 1,5 V AAA für die Aktualisierung
Datum/Uhrzeit bei Ausfall der Busspannung
Stromaufnahme des Bus 5mA
Bedienelemente 1 Miniatur-Programmiertaste physikalische Adresse
10 Tasten für Bedienung und Konfiguration
Anzeigeelemente 1 LCD-Display mit LED-Hintergrundbeleuchting
(zeitgesteuert nach Eingriff des Anwenders)
1 rote Programmier-LED für physikalische Adresse
Bereich der Temperaturzeige 0 ÷ +45^ C
Messelemente 1 NTC-Sensor,
Auflösung: 0,1^,
Messgenauigkeit: ± 0,5^ bei 20^
Intervall zwischen zwei Messungen: 1 Minute
Temperaturregelbereich T
FROSTSCHUTZ: +2 ÷ +7^ C
TUBERTEMPERATURSCHUTZ: +30 ÷ +40^ C
Andere Sollwerte: +5 ÷ +40^ C
Funktionsumgebung Innen, trockene Standorte
Betriebstemperatur -5 ÷ +45 °C
Lagertemperatur -25 ÷ +70^ C
Relative Luftfeuchtigkeit max. 93% (ohne Kondensation)
Busanschluss Steckklemme 2 Pin 1 mm
Schutzgrad IP20
Abmessungen (B x H x T) 130 x 92 x 23 mm
Normverweise Niederspannungsrichtlinie 2006/95/EG
EMV-Richtlinie 89/336/EWG
EN50090-2-2, EN60730-1
Zertifizierungen KNX/EIB
EinfachAnleitung