BR 1050S - Scheuersaugmaschine NILFISK - Kostenlose Bedienungsanleitung
Finden Sie kostenlos die Bedienungsanleitung des Geräts BR 1050S NILFISK als PDF.
Laden Sie die Anleitung für Ihr Scheuersaugmaschine kostenlos im PDF-Format! Finden Sie Ihr Handbuch BR 1050S - NILFISK und nehmen Sie Ihr elektronisches Gerät wieder in die Hand. Auf dieser Seite sind alle Dokumente veröffentlicht, die für die Verwendung Ihres Geräts notwendig sind. BR 1050S von der Marke NILFISK.
BEDIENUNGSANLEITUNG BR 1050S NILFISK
Sicherheits- und Warnhinweise A-3
Machen Sie sich mit Ihrer Maschine vertraut. A-4
Bedienfeld. A-5
Vorbereitung der Maschine zum Einsatz
Einbau der Batterien. A-6
Einbau der Bürsten A-7
Einbau der Absaugleiste A-7
Füllendes Lösungsmitteltanks A-7
Bedienung der Maschine. A-10
Scheueren A-10
Nasssaugen A-11
Nach dem Einsatz A-11
Wartungsplan A-11
Schmieren der Maschine A-11
Laden der Batterien. A-12
Überprüfen des Batterieflüssigkeitsstandes A-12
Wartung der Absaugleiste A-13
Justierung der Absaugleiste A-13
Wartung der Seitenschürzen A-14-A-15
Fehlerbehebung A-16
Technische Daten. A-17-A-18
EINLEITUNG
These Betriebsanleitung soll hnen helpen, ihre Scheuersaugmaschine mit Fahrersitz von Nilfisk optimal einzusetzen. Lesen Sie die Betriebsanleitung vor Inbetriebnahme der Maschine sorgfältig durch.
Hinweis: Fettgedruckte Zahlen in Klammern weisen auf ein auf den Seiten A-4-A-5 dargestelltes Teil hin.
Dieses Produkt ist ausschließlich für den gewerblichen Einsatz bestimmt.
BAUTEILE UND SERVICE
Eventuell erforderliche Reparaturen sollen von Ihr dem autorisierten Nilfisk-Servicezentrum vorgenommen werden. Dort stehen im Werk ausgebildete Fachkräfte und Nilfisk-Originalteile zur Verflugung.
Wenden Sie sich wegen Ersatzteilen bzw. Servicearbeiten an den unter angeführten NILFISK HANDLER. Geben Sie damit das Modell und die Seriennummer ihrer Maschine an.
(Handler: Bitte hier Aufkleber anbringen.)
TYPENSCHILD
Die Modellnummer und die Seriennummer Ihrer Maschine sind dem Typenschild an der Maschine zu entnahmen. Diese Angaben sind bei der Bestellung von Ersatzteilen für die Maschine erforderlich. Tragen Sie nachfolgend die Modellnummer und die Seriennummer Ihrer Maschine ein, um später darauf Bezugephnen zu konnen.
MODELLNUMMER
SERIENNUMMER
AUSPACKEN DER MASCHINE
Prufen Sie den Verpackungskarton und die Maschine sofort nach Anlieferung sorgfältig auf Schaden. Heben Sie bei einem Schaden den Versandkarton auf, damit dieser überprüft werden kann. Setzen Sie sich unverzüglich mit der Nilfisk-Kundendienstabteilung in Verbindung, um den Transportschaden zu melden.
Entferen Sie den Karton, schneiden Sie die Kunststoffriemen durch, und entfern Sie die Holzklözte an den Rädern. Rollen Sie die Maschine mit einer Rampe von der Palette auf den Boden.
SICHERHEITS- UND WARNINGHINWEISE
SYMBOLE
Nilfisk verwendet die unterstehenden Symbole, um auf eventuelle Gefahrensituationen hinzuweisen.itte lessen Sie diese Informationen jederzeit sorgfältig durch, und treffen Sie die erforderlichen Maßnahmen, um Personen- und Sachschäden zu vermeiden.

GEFAHR!
Dieses Symbol warn't vor einer unmittelbaren Gefahr schwerer Verletzungen mit möglicher Todesfolge.

WARNHINWEIS!
Macht auf eine Situation aufmerksam, in der ein hohes Verletzungsrisiko besteht.

VORSICHT!
Macht auf eine Situation aufmerksam, in der die Gefahr leichter Verletzungen sowie die Gefahr von Sachschäden besteht.

Vor Inbetriebnahme der Maschine sind samentliche Anweisungen sorgfältig durchzulesen.
ALLGEMEINE SICHERHEITSANWEISUNGEN
Durch diese spezifischen Vorsichts- und Warnhinweise werden Sie auf Situationen hingewiesen, in denen die Gefahr von Personen- bzw. Sachschäden besteht.

WARNHINWEIS!
- These Maschine darf lediglich von hinreichend ausgebildeten und autorisierten Personen betrieben werden.
- Wenn sich die gefüllte Maschine auf Rampen oder Steigungen befindet, sind plötzliche Stopps zu vermeiden. Vermeiden Sie plötzliches, scharfes Wenden. Bergabfahren nur mit niedriger Geschwindigkeit. Auf Rampen darf ledigious beim Aufwärtsfahren geeinigt werden.
- Halten Sie Funken, offenes Feuer und Rauch entwickelnde Stoffe von den Batterien fern. Während des Normalbetriebs werden explosive Gase freigesetzt.
- Beim Laden der Batterien entsteht hochexplosiver gasförmiger Wasserstoff. Laden Sie die Batterien nur in gut belufteten Bereichen, welt entfernt von offenem Feuer. Beim Aufladen der Batterien ist das Rauchen verboten.
- Tragen Sie keinen Schmuck, wenn Sie in der Höhe von elektrischen Teilen arbeiten.
- Schalten Sie den Schlüsselschalter aus (stellen Sieihn auf O), und klemmen Sie die Batterien ab, bevor Sie an den elektrischen Teilen Wartungsarbeiten ausführten.
- Arbeitsen Sie niemals unter einer Maschine, ohne diese mit Sicherheitskeilen oder Stützböcken zu sichern.
- Verwenden Sie keine entflammbaren Reinigungslösungen, erhmen Sie die Maschine nicht über oder in der Höhe solcher Stoffe in Betrieb, und benutzen Sie die Maschine nicht in Bereichen, in denen brennbare Flüssigkeiten gelagert werden.
- Reinigen Sie diese Maschine nicht mit einem Druckreiniger.
- Benutzen Sie die Bürsten nur mit dem mitgelieferten Zubehör oder wie im Handbuch beschrieben ist. Die Verwendung anderer Bürsten kann die Sicherheit beeinträchtigen.

VORSICHT!
- These Maschine ist nicht zum Einsatz auf öffentlichen Wegen und Straβen zugelassen.
- These Maschine ist nicht zur Beseitigung gesundheitsgeführrdender Stäube geeignet.
- Benutzen Sie keine Aufreigerscheiben und Schleifsteine. Die Firma Nilfisk kann für keinerlei Schäden zur Verantwortung gezogen werden, die durch Aufreigerscheiben oder Schleifsteine an den Böden entstehen (das Bürstenantriebsystem kann ebenfalls beschädigt werden).
- Sorgen Sie beim Einsatz dieser Maschine)dafur, dass andere Personen, insbesondere Kinder, nicht gefährdet werden.
- Lesen Sie vor Wartungsarbeiten alle diesbezüglich Anweisungen sorgfältig durch.
- Lassen Sie die Maschine nicht unbeaufsichtigst stehen, ohne vorher den Schlüsselschalter auf (O) zu schalten, den Schlüssel abzuziehen und die Feststellbremse zu aktivieren.
- Schalten Sie den Schlüsselschalter aus (O) undziehen Sie den Schlüssel ab,bevor Sie die Bürsten austauschen und eine Wartungsluke offen.
- Treffen Sie geeignete Maßnahmen, um zu verhindern, dass sich ihre Haare, Schmuckgegenstände oder lose Kleidungsstücke in beweglichen Teilen der Maschine verfangen.
- Beim Betrieb dieser Maschine bei Temperatures unter dem Gefrierpunkt ist besondere Vorsicht geboten. Jegliches Wasser im Lösungsmitteltank bzw. im Auffangbehälter oder in den Schlauchleitungen könnte gefrierten, wodurch Ventile und Verschraubungen beschädigt werden können. Mit Flüssigkeit für Scheibenwaschanlagen durchspälen.
- Vor der Verschrottung der Maschine sind die Batterien auszubauen. Batterien müssen entsprechend den geltenden Umweltvorschriften entsorgt werden.
- Nicht für Oberflächen mit einem Neigungsgrad geeignet, der die Markierung auf der Maschine überschreitet.
- Vor Inbetriebnahme der Maschine müssen alle Turen und Abdeckungen an die Stellen platziert werden wie im Handbuch beschrieben.
BEWAHREN SIE DIESE ANLEITUNG AUF.
MACHEN SIE SICH MIT IHRER MASCHINE VERTRAUT
Beim Lesen dieser Betriebsanleitung werden Ihnen hin und wieder fettgedruckte Zahlen oder Buchstaben in Klammern begegen - beispieleweise: (2). These Zahlen beziehen sich auf ein Teil, das auf diesen Seiten dargestellt wird, es sei dann, es ist etwas andere vermerkt. Blättern Sie zu diesen Seiten zurück, falls Sie bei der Lokalisierung eines im Text erwähnten Teils Hilfe benöigen.
1 Deckel des Schmutzwassertanks
2 Abdeckung des Einfullstutzens für den Lösungsmitteltank
3 Fahrersitz
4 Ablassschlauch des Lösungsmitteltanks
5 Taste zur Lenksäulenverstellung
6 Bremspedal/Feststellbremse
7 Einstellhebel für die Lösungsmittelzufuhr
8 Gaspedal Richtung/Geschwindigkeit
9 Schmutzbehälter (nur zylindrische Systeme)
10 Antriebs- und Lenkrad
11 Automatsicherung - Radantrieb
12 Automatsicherung - Steuerung
13 Notaus-Schalter / Batterie-Trennschalter
14 Scheuerürstenabdeckung
15 Hinterrad
16 Batteriefach (unter dem Fahrsitz)
17 Sperschwimmer des Auffangbehälters
18 Filtergehause des Sauggeblasemotors
19 Absaugleiste
20 Lösungsmittelfilter
21 Ablassschlauch des Schmutzwassertanks
22 Batterieanschlussstecker
23 Bedienfeld
24 Einstellknopf für die Absaugleiste
25 Hebel zum Einstellen des Fahrersitzes
26 ECO SolutionTM
27 Filterkorb

BEDIENFELD
A Anzeige für die Betriebsart Scheuern Aus
B Taste zum Abschalten des Scheuervorgangs
C Anzeige fur niedrigeren Scheuerdruck
D Taste fur niedrigeren Scheuerdruck
E Anzeige fur hoheren Scheuerdruck
F Taste fur hoheren Scheuerdruck
G Display fur Scheuerdruck-/Betriebsstundenzahler
H Anzeige fur den Wandschafter
I Taste fur den Wandschalter
J Schlüsselschalter
K Batterie-Anzeige
L Taste zur Geschwindigkeitswahr
M Geschwindigkeitswahl-Anzeige
N Taste fur die Hupe
O Taste fur das Saugysystem
P Saugesystem-Anzeige
Q Lösungsmittel-Anzeige
R Taste fur das Lösungsmittel

BESCHREIBUNG DER BATTERIEANZEIGELEUCHTEN
Die Batterie-Anzeige (K) besteht aus drei einzelnen Anzeigeleuchten: grün, gelb und rot. Das angezeigte Spannungsbereichrichtet sich nach den über die Steuerung vorgenommen Farbumschalt- und Systemabschalteinstellungen. Die den Farbleuchtanzeigen zugeordneten Batteriespannungsbereiche sind nachstehend aufgelistet:
| Standardeinteilung | Alternativeinteilung | |
| grün | 34.00+ | 34.50+ |
| grün + gelb | 33.00-33.99 | 34.00-34.49 |
| gelb | 32.00-32.99 | 33.50-33.99 |
| gelb + rot | 31.50-31.99 | 33.00-33.49 |
| rot | 31.00-31.49 | 32.50-32.99 |
| blinkend rot/Abschaltung | <31.00 | <32.50 |
HINWEIS: Anweisungen zur Umschaltung auf die Alternativeinstellung führen Sie in der Wartungsanleitung. Sobald dieunte Abschaltspannung erreicht ist (rote Anzeige blinkt), mnen die Batterien VOLL aufgeladen werden, sonst wird die Batterie-Anzeige nicht zuruckgesetzt. Das Scheuersystem fungtioniert erst, wenn die Anzeige zurückgesetzt wurde.
EINBAU DER BATTERIEN

WARNHINWEIS!
Be der Erbeit an Batterien ist außerste Vorsicht geboten. Die Schwefelsäure in den Batterien kann bei Berührung der Haut oder der Augen erhebliche Verletzungen verursachen. Explosiver, gasförmiger Wasserstoff wird aus dem Inneren der Batterien durch Öffnungen in den Batteriekappen abgegeben. Dieses Gas kann sich durch einen elektrischen Lichtbogen, einen Funken oder eine offene Flamme entzünden.
Treften Sie vor bzw. bei der Arbeit an den Batterien folgende Sicherheitsvorkehrungen:
- Entfernen Sie jeglichen Schmuck.
- Rauchen Sie nicht.
- Tragen Sie Schutzbrillen, eine Gummischürze und Gummihandschuhe.
- Arbeitsen Sie in einem gut belufteten Bereich.
- Lassen Sie nicht zu, dass ein Werkzeug mehr als eine Batterieklemme berührt.

VORSICHT!
An den elektrischen Teilen dieser Maschine konnen erhebliche Schäden entstehen, wenn die Batterien nicht ordnungsgemäß eingebaut und angeschlssen werden. Der Einbau der Batterien solle von Nilfisk oder einem qualifizierten Elektriker vorgenommen werden.
1 Schalten Sie den Schlüsselschalter auf (J) off (O), und entfern den Sie den Schlüssel. Daraufhin offen Sie durch Schwenken die Abdeckung des Batteriefaches (16).
Mit Hilfe von (2) Personen und einem passenden Hubriemen haben Sie die Batterien vorsichtig genau wie abgebildet in das Batteriefach. Benutzen Sie den Batteriekabelplan - Abziehbild 56380513.
3 Siehe Abb. 1.Klemmen Sie die Batteriekabel wie abgebildet an, und ziehen Sie die Muttern an den Batterieklemmen fest.
4 Installieren Sie die Batteriemanschetten, und befestigen Sie diese mit Hilfe der mitgelieferten Bander sorgfaltig an den Batteriekabeln.
5 Schlieben Sie den Anschluss des Batteriesatzes am Anschluss der Maschine (22) an, und schlieben Sie die Abdeckung des Batteriefaches.

VORSICHT!
Bitte lesen Sie das Handbuch TSBUS2008-984 oder besuchen Sie http://www.nilfisk-advance.com, bevor Sie die Batterien auswechseln.
ABB.1
EINBAU DER BÜRSTEN (SCHEIBENSYSTEM)

VORSICHT!
Schalten Sie den Schlüsselschalter aus (O) undziehen Sie den Schlüssel ab,bevor Sie die Bürsten austauschen und eine Wartungsluke.
öffnen.
1 Schalten Sie den Schlüsselschalter (J) aus (Stellung O). Um an die Bürsten zu gelangen, öffnen Sie durch Schwenken die beiden Seitenschürzen. Hinweis: Die Seitenschürzen werden durch zwei große Knöffe gehalten; lockern Sie diese Knöffe und schieben Sie die Seitenschürzen von der Scheuerbūrstenabdeckung.
2 Richen Sie die Bolzen an den Bürsten bzw. Scheibenhaltern auf die Licher in der Tragerplatte aus, und arretieren Sie die Bürste bzw. den Scheibenhalter durch eine Drehbewegung (Außenkante der Bürste nach vorne drieden).
MONTIEREN DER BÜRSTEN (ZYLINDERSYSTEM)

VORSICHT!
Schalten Sie den Schlüsselschalter aus (O) undziehen Sie den Schlüssel ab, bevor Sie die Bürsten austauschen und eine Wartungsluke offen.
1 Schalten Sie den Schlüsselschalter (J) aus (Stellung O). Um an die Bürsten zu gelangen, öffnen Sie durch Schwenken die beiden Seitenschürzen. Hinweis: Die Schürzen werden an jeder Seite von einem großen Splint an Ort und Stelle gehalten. Entfern den Sie die Splinte, und schwenken Sie die Seitenschürzen beiseite. Lösener Sie die schwarzen Knöffe (einer an jeder Seite) an der Oberseite der Laufträder, und entfern den Sie die Laufträder. Schieben Sie die Bürste in das Gehäuse, haben Sie sie leicht an, und drücken Sie sie bei gleichzeitiger Drehbewegung an, bis sie einrastet. Bauen Sie die Laufträder wieder ein. Schließen Sie die Schürze, und sichern Sie diese mit Splinten.
EINBAU DER ABSAUGLEISTE
1 Überzeugen Sie sich davon, dass die Absaugleiste (19) angehoben (O) und der Schlüsselschalter (J) ausgeschelt ist (O). Halten Sie das Absaugleistengerät so, dass die runden Enden nach vom Zeigen, und schiben Sie daraufhin das Absaugleistengerät auf die Montagevorrichtung (A) (Siehe Abb. 2).
Ziehen Sie die Flügelmuttern (B) mit der Hand fest, und schlieben Sie daraufhin den Saugschlauch am Rohr der Absaugleiste (C) an (die Schlaufe des Saugschlauches sollte nach rechts gerichtet sein).
3 Senken Sie die Absaugleiste, bewegen Sie die Maschine nicht nach vorne und passen Sie die Neigung und Höhe der Absaugleiste mithilfe des Anpassungsknopfes (24) und dem Rad zur Höhenjustierung der Absaugleiste (D) so an, dass die hintere Absaugleistenschiene den Boden gleichmäßig mit seiner vollständigen Auflagefläche berührt und dass diese, wie im Querschnitt dargestellt, liegt abgereigt ist.
FULLEN DES LÖSUNGSMITTELTANKS
Lesen Sie das Etikett des Chemikalienbehalters durch, und errechnen Sie die passende Menge des beizufugenden Reinigungsmittels, um einen Tank mit einem Fassungsvermögen von 40 US Gallonen (151 Litern) zu fullen.
Öffnen Sie die Abdeckung des Lösungsmitteltanks (2), und fullen Sie den Tank zu einem Drittel mit Wasser, fügen Sie die Reinigungsmechikalie hinzu, und fullen Sie den Tank bis 7,62 cm (3 Zoll) unter die obere Kante der Tanköffnung (fullen Sie den Tank bis zum unteren Rand der Wand in der Tanköffnung). BITTE BEAHTEN: EcoFlex -Modelle können sowohl konventionell mit Reinigungsmittel versetzes Frischwasser im Tank oder mit dem EcoFlex -Reinigungsmittel-Verteilungssystem verwendet werden. Bei Verwendung des EcoFlex -Reinigungsmittels dar fein anderes Reinigungsmittel im Tank vermischt werden, es sollte hierbei klares Wasser verwendet werden.

VORSICHT!
Verwenden Sie lediglich nicht-brennbare, flüssige Reinigungsmittel mit geringer Schaumbildung, die für die Anwendung in Verbindung mit automatischen Scheuersaugmaschinen bestimmt sind. Die Wassertemperatur solle 54,4^ nicht überschreiben.

ABB. 2
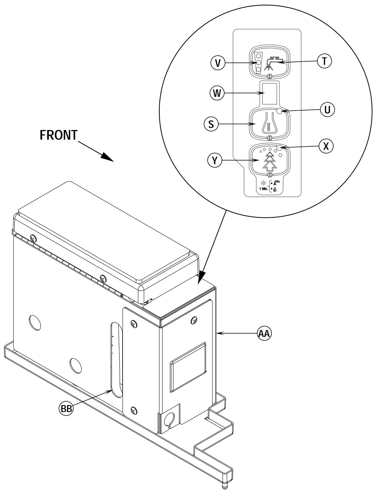
VORBEREITUNG UND VERWENDUNG DES REINIGUNGSMITTEL (ECOFLEX)-SYSTEMS
ALLGEMEINE ANLEITUNGEN:
Durch Drücken und Loslassen des Reinigungsmittel-Schalters (S) bei aktivem Frischwassersystem wird das Reinigungsmittel-System abwechselnd ein- und ausgeschelt. Wenn man das Mittel wechseln möchte, muss die Vorrichtung frei vom vorher verwendeten Reinigungsmittel sein. HINWEIS ZUR BEDIENUNG: Bewegen Sie die Maschine über den Boden, bevor Sie diese reinigen, weil eine petite Restmenge an Reinigungsmittel hinausfielt.
Zur Reinigung beim Wechsel auf ein anderes Reinigungsmittel:
- Entfernen Sie die Reinigungsmittelpatrone.
2 Stellen Sie den Hauptschalter (J) auf ON [EIN] und halten Sie den ON/OFF [EIN/AUS]-Schalter für Reinigungsmittel (S) und den Frischwasserzufahr-Schalter (T) mindestens 2 Sekunden lang gedrück. BITTE BEACHTEN: Die aktivierte LED-Anzeige für die Zufuhrmenge (U) blinkt und schaltet sich dann nach 10 Sekunden automatisch aus. Normalerweise genugt zur Reinigung der Vorrichtung ein Durchgang.
So erfolgt die wochentliche Reinigung:
- Entfernen Sie die Reinigungsmittelpatrone. Bauen Sie eine mit sauberem Wasser gefüllte Patrone ein
2 Stien S den Hauptschalter (J) auf ON [EIN] und halten Sie den ON/OFF [EIN/AUS]-Schalter fur Reinigungsmittel (S) und den Frischwasserzufahr-Schalter (T) mindestens 2 Sekunden lang gedrück. BITTE BEACHTEN: Die aktivierte LED-Anzeige fur die Zufuhrmenge (U) blinkt und schaltet sich dann nach 10 Sekunden automatisch aus. Normalerweise genugt zur Reinigung der Vorrichtung ein Durchgang.
Der Reinigungsmittelbehälter (AA) hat ein Sichtfenster (BB), um den Füllstand des Reinigungsmittels in der Patrone zu kontrollieren. Wenn die Reinigungsmittelmenge sich allmählich dem Tiefstand nähert, wird es Zeit, die Patrone aufzufüssen oder zu ersetzen.
Allgemeine Verwendung:
Das Reinigungsmittel-Einspritzsystem schaltet sich ein, wenn der Schlüsselschalter (J) eingeschaltet wird; das Reinigungsmittel beginn’t noch erst zu flieben, wenn die Scheuervorrichtung aktiviert und das Gaspedal (8) nach vorne geschoben wird. Die Frischwasserzufuhrmenge stellt sich automatisch auf die zuletzt verwendete Einstellung zurück. Die Frischwasserzufuhr wird durch Betätigten des Zufuhrschalters (T) reguliert. Es sind vier Zufuhrgeschwindigkeiten möglich. Sie werden von einem Durchflussmesser (V) angezeigt. Die Reinigungsmittelzufuhr erhöht oder verringgert sich mit der Frischwasserzufuhr, aber das Mischungsverhältnis bleibt gleich. Während des Scheuervorgangs kann die Reinigungsmittelvorrichtung jederzeit durch Betätigten des ON/OFF [EIN/AUS]-Schalters (S) ausgeschaltet werden, um nur mit Wasser zu scheuem. Die Frischwasserzufuhr wird – bei ein- und ausgeschaltetem System – durch den Zufuhrschalter (T) reguliert.
Die Maschine arbeitet in der Voreinstellung im „EcoFlex“-Reinigungsmodus (die EcoFlex-Schalteranzeige (X) leuchtet GRÜN), um Frischwasser und Reinigungsmittel zu sparen. Wenn Sie die Frischwasserzufahr und die Reinigungsmittelkoncentration erhöhen möhlen, drücken Sie den EcoFlex-Schalter (Y), um den EcoFlex-Reinigungsmodus zu deaktivieren. Danach blinkt die Anzeige (X) für eine Minute grün. Die Frischwasserzufahr und der Anpressdruck werden um eine Stufe erhöht, und die Reinigungsmittelkoncentration erhöht sich)&&
HINWEIS ZUR BEDIENUNG: Befolgen Sie die Anweisungen für „Wochentliche Reinigung“, wenn Sie die Maschine längerere Zeit lagern oder wenn Sie das (EcoFlex)-Reinigungsmittelsystem nicht mehr benutzen möhen.
Reinigungsmittelkoncentration:
1 Die Reinigungsmittelkoncentration ist werkseitig auf 1:400 (Stufe 1) eingestellt (diese Einstellung wird bei deaktiviertem EcoFlex-Reinigungsmodus aufgehoben). Das vorprogrammierte Mischungsverhältnis kann bei deaktiviertem EcoFlex-Modus variert werden. Bei ausgeschalteten Reinigungsmittelsystem halten Sie den ON/OFF [EIN/AUS]-Schalter für das Reinigungsmittel (S) für 2 Sekunden gedrückt. Die Reinigungsmittel-Anzeige (U) blinkt. Durch fortlaufendes Drücken des Schalters können Sie das Mischungsverhältnis individuell einstehen: (1:32 (Stufe 9), 1:50 (Stufe 8), 1:64 (Stufe 7), 1:100 (Stufe 6), 1:128 (Stufe 5), 1:200 (Stufe 4), 1:256 (Stufe 3), 1:300 (Stufe 2), 1:400 (Stufe 1)). Sobald die gewünschte Koncentration auf dem Display (W) angezeigt wird,让他们 den Schalter los. Nach 5 Sekunden ist die Koncentration abgespeichert.
HINWEISE ZU DEN PATRONEN:
Befullen Sie die Reinigungsmittelpatrone mit maximal 8,32 l (2,2 Gallonen)
Reinigungslösung. HINWEIS ZUR BEDIENUNG: Entfernen Sie die
Reinigungsmittelpatrone aus dem Reinigungsmittelbehälter, bevor Sie hin befüllen, damit die Maschine nicht mit dem Reinigungsmittel in Berührung kommt.
Es wird empfohlen, eine separate Patrone für gedes Reinigungsmittel zu benutzen... Die
Reinigungsmittelpatronen sind mit einem weiß Aufkleber versehen, auf den Sie den
Namen des Reinigers schreiben können, um Verwechselungen zu vermeiden. Zum
Installieren einer neuer Patrone entfernen Sie den Deckel (CC) und legen Sie die Patrone in den Reinigungsmittelbehälter. Installieren Sie die Dichtungskappe (DD) wie abgebildet.

VORBEREITUNG UND VERWENDUNG DES REINIGUNGSMITTEL (ECOFLEX)-SYSTEMS

BEDIENUNG DER MASCHINE
WARNHINWEIS!
Überzeugen Sie sich davon, dass Ihnen die Bedienelemente und deren Funktion geläufig sind.
Wenn sich die gefüllte Maschine auf Rampen oder Steigungen befindet, sind plötzliche Stopps zu vermeiden. Vermeiden Sie plötzliches, scharfes Wenden. Bergabfahren nur mit niedriger Geschwindigkeit. Auf Rampen darf ledigious beim Aufwärtsfahren gereinigt werden. Der Scheuervorgang...
Befolgen Sie die Anweisungen des Handbuchabschnitts, der sich auf die Vorbereitung der Maschine zum Einsatz bezieht.
1 Auf der Maschine sitzend stellen Sie den Sitz und das Lenkrad mit Hilfe der Einstellmechanismen (25) und (5) in eine bequeme Betriebsstellung.
2 Schalten Sie den Hauptschlüsselschalter (33) auf (J) ON (I). Die Anzeigen auf dem Bedienfeld leuchten auf. Achten Sie insbesondere auf die Batterieanzeige (K) und den Betriebsstundenzahler (G).
3 Losen Sie die Feststellbremse (6). Fahren Sie die Maschine zum Einsatzbereich, indem Sie mit dem Fuß einen gleichmaligen Druck auf das vorder Ende des Gaspedals für Vor-/ Rücklauf (8) ausüb, um vorwärts zu fahren, und auf das hintere Ende, um rückwärts zu fahren. Varieren Sie den Druck auf das Fußpedal, um die gewünschte Geschwindigkeit zu erzielen.
4 Stellen Sie den Steuerungshebel fur die Lösungsmittelzufahr (EE) auf 1 / 4 bis 1/3 geoffnet. Betätigten Sie den Schalter fur die Zufuhrmenge (T), um eine Frischwasserzufuhrmenge auszuwahlen (EcoFlex-Modelle). Der Zweck dieser Zufuhrmenge besteht darin, die Flüssigkeitsabgabe an verschiedene Bodenarten anpassen zu konnen. Beisiel: Raue oder porose Bodenflächen, wie z. B. unversiegelter Beton, erfordern eine größere Menge Reinigungsflüssigkeit als glatte, versiegelte Bodenbeläge. HINWEIS (Gilt nicht fur EcoFlex-Modelle): Für eine dauerhafte reduzierte Frischwasserzufahr offen Sie den Ventilhebel fur die Frischwasserzufahr (7) und stellen Sie das Ventil ECO SolutionTM (26) auf EIN. Wenn der Hebel auf AUS steht, ist die Maschine im konventionellen Betrieb; die Frischwasserzufahr wird durch den Ventilhebel fur die Frischwasserzufahr (7) festgelegt. Wenn der Hebel auf EIN steht, wird die Frischwasserzufahr automatisch gesteuet. Der Ventilhebel fur die Frischwasserzufuhrmenge (7) darf nicht ausgeschaltet sein, sonst ist er inaktiv. Stellen Sie safer, dass der Hebel fur das Ventil (26) immer auf EIN oder auf AUS staat, nicht dazwischen. Benötigt man mehr Frischwasser, schalten Sie das Ventil ECO SolutionTM (26) auf AUS und passen Sie die Frischwasserzufahr an den Ventilhebel fur die Frischwasserzufuhrmenge (7) an.
BITTE BEACHTEN: Die Frischwasser-, Sauger- und Reinigungsmittel (Modelle EcoFlex)-Vorrichtungen werden automatisch aktiviert, wenn der Schalter Scheuer-Anpressdruckverminderung (D) oder der Schalter Scheuer-Anpressdruckerhöhung (F) betägt wird. Weitere Vorgänge sind nicht nötig. Jede individuelle Vorrichtung kann während des Scheuerns nur durch eine Betätigungs des jeweiligen Schalters auf AUS oder darüber auf EIN gestellt werden.
5 Halten Sie den Frischwasserschalter (R) 5 Sekunden lang gedrück, um den Boden vorzubehandeln. BITTE BEAHTEN: Dies muss vor Betatigung des Schalters Scheuern EIN (F) geschehen.
6 Wenn der Schalter Scheuer-Anpressdruckverminderung (D) oder der Schalter Scheuer-Anpressdruckerhohung(F) gewählt worden ist, werden die Bürsten und die Absaugleiste automatisch zum Boden gesetzt. Sobald das Gaspedal ( ) aktiviert wird, beginnen sich die Scheuerbürsten zu drehen, die Frischwasserzufuhr setzen ein und die Saugvorrichtung wird aktiviert (EcoFlex-Modelle).itte beachten: Beim Rückwärts-Betrieb der Maschine werden lediglich die Bürsten rotieren, die Frischwasser- und Reinigungsmittelzufahr (EcoFlex-Modelle) wird automatisch ausgeschaltet, um denVerbrauch zu reduzieren.
7 Beginnen Sie den Scheuervorgang, indem Sie die Maschine bei normalem Schritttempo in gerader Linie vorwerts fahren, und lessen Sie jeder Bahn 2-3 Zoll (50-75 mm) überlappen. Stellen Sie notigenfalls die Geschwindigkeit ihrer Maschine und die Flüssigkeitsabgabe dem Zustand des Bodens entsprechend ein.
VORSICHT!
Um eine Beschädigung des Bodens zu vermeiden, muss die Maschine bei laufenden Bürsten ständig bewegt werden.
8 Prifen Sie wahrend des Scheuerns hin und wieder, ob hinter der Maschine das gesamte Schmutzwasser aufgenommen wird. Wenn die Maschine Wasserspuren hinterfasst, ist entweder die Lösungsmittelabgabe zu hoch, oder der Schmutzwassertank ist voll, oder die Absaugleiste muss nachjustiert werden.
9 Nur fur EcoFlex-Modelle: Die Maschine arbeitet in der Voreinstellung im „EcoFlex“-Reinigungsmodus (die EcoFlex-Schalteranzeige (X) leuchtet GRUN), um Frischwasser und Reinigungsmittel zu sparen. Wenn Sie Frischwasserzufuhr und Reinigungsmittelkoncentration individuell erhöhen möchten, drücken Sie den EcoFlex-Schalter (Y), um den EcoFlex-Reinigungsmodus zu deaktivieren. Danach blinking die Anzeige (X) für eine Minute grün. Die Frischwasserzufuhr und der Anpressdruck werden um eine Stufe erhöht, und die Reinigungsmittelkoncentration erhöht sich ebenfalls auf den vorprogrammierten Wert. Das vorprogrammierte Mischungsverhältnis kann bei deaktiviertem EcoFlex-Modus variiert werden. Bei ausgescheltem Reinigungsmittelsystem halten Sie den ON/OFF [EIN/AUS]-Schalter für das Reinigungsmittel (S) für 2 Sekunden gedrückt. Die Reinigungsmittel-Anzeige (U) blinkt. Durch fortlaufendes Drucken des Schalters konnen Sie das Mischungsverhältnis individuell einstehen: (1:32 (Stufe 9), 1:50 (Stufe 8), 1:64 (Stufe 7), 1:100 (Stufe 6), 1:128 (Stufe 5), 1:200 (Stufe 4), 1:256 (Stufe 3), 1:300 (Stufe 2), 1:400 (Stufe 1)). Sobald die gewünschte Konzentration auf dem Display (W) angezeigt wird,留学生 den Schalter los. Nach 5 Sekunden ist die Konzentration abgespeichert. BITTE BEACHTEN: Halten Sie den EcoFlex-Schalter (Y) für 2 Sekunden gedrückt, um das EcoFlex-System zu deaktivieren. Um es wieder zu aktivieren, müssen Sie erneut den EcoFlex-Schalter (Y) drucken. Nur durch fortlaufendes Drucken des Hauptschalters (J) wird das System nicht wieder aktiviert. Das EcoFlex-System Funktioniert nur, wenn das Scheuersystem (D oder F) zuvor deaktiviert wurde.
10 Bei extrem vermuchtzen Böden reicht ein Scheuerdurchgang oft nicht aus, und es muss in zwei Arbeitsgängen gereinigt werden. Dieser Vorgang ist derselbe wie beim einmaligen Scheuern, nur dass sich das Absaugleiste bei der ersten Bahn in angehobener Position befindet (drücken Sie den Saug-Taste (O), um die Absaugleiste zu haben). Auf diese Weise kann die Reinigungsfluigkeit länger Zeit auf den Boden einwirken. Im zweiten Arbeitsgang wird der gleiche Bereich nochmals mit abgesenkter Absaugleiste befahren, um die ausgebrachte Flüssigkeit aufzunehmen.
11 Im Schmutzwassertank befindet sich ein automatisches Schwimmer-Absperventil, das bei vollem Schmutzwassertank das Eindringen von Reinigungsflssigkeit in das Saugsystem verhinder. Wenn das Ausschalten der Zufahr aktiviert ist, schaltet das Steuersystem die Scheuer-, Saug-, Frischwasserzufuhr- und Reinigungsmittelzufuvorrichtungen (EcoFlexModelle). Auf dem Display für den Scheuer-Anpressdruck / Betriebsstundenzahler (G) erscheidt die Meldung "VOLL". Drücken Sie zum Löschen der Anzeige den Schalter zum Abschalten der Scheuerfunktion (B), den Schalter für die Verringerung des Scheuer-Anpressdrucks (D), den Schalter für die Erhöhung des Scheuer-Anpressdrucks (F) oder den Saugeschafter (O). Wenn sich das Schimmerventil schlieft, muss der Schmutzwassertank entleert werden. Bei geschlossenem Schimmerventil kann die Maschine kein Schmutzwasser aufnehmen. BITTE BEACHTEN: Sollte die Steuerung bei nur teilweise gefülltem Schmutzwassertank wiederholt "FULL" melden, kann die automatische Abschaltfunktion deaktiviert werden.itte lessen Sie dies von einem qualifizierten Service-Techniker unter Zuhilfennahme der Wartungsanleitung durchführten.
12 Wn der Benutz das Scheuern beenden moche, oder falls der Auffangbehaler gefullt ist, dricken Sie die Taste zum Abschalten des Scheuervorgangs (B) einmal. Dadurch werden die Scheuerburen und die Flüssigkeitsabgabe automatisch gestopt, und das Burstengehause wird angehoben. HINWEIS: Die Saug-/Absaugleiste werden bei einmaligen Drucken der Taste nicht ausgeschaltet; auf diese Weise kann eventuell zureckgebliebenes Wasser aufgenommen werden, ohne dass dafur das Saugsystem erneut eingeschaltet werden muss. Drucken Sie den Taste ein zweites Mal, um die Absaugleiste anuzehuben und die Saugleistung mit einer Verzogierung von 10 Sekunden zu stoppen.
13 Faren Sie die Maschine zur vorgesehen "Abwasser-Entsorgungsstelle", und entleeren Sie den Schmutzwassertank. Zum Entleeren ziehen Sie den Ablasschlauch (21) aus dem hinteren Staubereich, entfernen Sie den Stopfen (halten Sie das Ende des Schlauches über die Wasseroberflache im Behälter, um ein plötzliches, unkontrolliertes Herausspriten des Schmutzwassers zu vermeiden). Füllen Sie den Lösungsmitteltank, und fahren Sie mit dem Scheuern fort.
NASSSAUGEN
Beim Anbringen der zusätzlich erhältlichen Zubehörteile für das Nass-Saugen an der Maschine sind folgende Schritte zu befolgen.
1 Nehmen Sie den Absaugleistenschlauch von der Absaugleiste (8) ab. Verbinden Sie Kupplung und Schlauch vom Wandschaltersatz mit der Leitung zum Schmutzwassertank.
2 Bringen Sie die Nasssauggeräte am Schlauch an. (Ein als Sonderzubehör erhältlicher Wandschaltersatz (Teile-Nr. 56314307) ist bei Nifisk erhältlich).
3 Schalen Sie den Hauptschlüsselschalter (J) ein. Drucken Sie die Taste fur den Wandschalter (I). Der Saugegebäsemotor und die Pumpe laufen nun ununterbrochen, bis der Schalter erneut betagt wird. HINWEIS: Falls die Steuerung wiederholt die Meldung FULL aneigt, obwah der Behalter nicht gefuft ist, konnte die automatische Sperr-Funktion deaktiviert sein. Beauftragen Sie einen qualifizierten Service-Techniker mit der Behebung des Problems.
NACH DEM EINSATZ DER MASCHINE
1 Nach Beendigung des Scheuerns den Schalter zum Abschalten des Scheuervorgangs (B) zweimal drücken; auf diese Weise werden sãmtliche Systeme der Maschine (Bürsten-, Absaugleisten-, Saug- und Reinigungsvorrichtung) automatisch angehoben, eingefahren und gestopt. Fahren Sie die Maschine daraufhin zum Service-Bereich, um die tägliche Wartung vorzunehmen und die Notwendigkeit anderer Instandhaltungsarbeiten zu überprüfen.
2 Um den Lösungsmitteltank zu entleeren, entfern den Ablassschlauch des Lösungsmitteltanks (4) aus der Halteklemme. Bringen Sie den Schlauch an die vorgesehene Entsorgungsstelle, und entfern Sie den Stopfen. Spulen Sie den Tank mit sauberem Wasser aus.
3 Zum Entleeren des Aufgangbehalters ziehen Sie den Ablassschlauch des Aufgangbehalters (21) aus dem Staubereich. Verlegen Sie den Ablassschlauch zur vorgesehenen Entsorgungsstelle, undziehen Sie den Stopfen hereus (halten Sie das Schlauchende damit über den Wasserspiegel im Schmutzwassertank, um plottliches Herausspritzen des Wassers zu verhindern). Spulen Sie den Tank mit sauberem Wasser aus.
4 Nehmen Sie die Bürsten bzw. Zwischenplattenhalter ab. Spülen Sie die Bürsten oder Kissen mit warmem Wasser, und hängen Sie diese zum Trocknen auf.
Entferen Sie die Absaugleiste, spulen Sie these mit warmem Wasser, und installieren Sie die Absaugleiste erneut an der Montagevorrichtung.
Entferen Sie bei Zylindersystemen den Schmutzaufnahmebehalter, und reinigen Sie diesen sorgfaltig. Entferen Sie den Behalter von den Seiten der Maschine, indem Sie die Schurze offen und den Behalter nach oben vom Gehäuse weg kappen, undziehen Sie den Behalter daraufhin hersa.
7 Richten Sie sich nach dem unterstehenden Wartungsschema, und führen Sie vor dem Abstellen der Maschine alle erforderlichen Wartungsarbeitena aus.
WARTUNGPLAN
| WARTUNGSSCHRITT | Täglich | Wöchentlich | Monatlich | Jährlich |
| Battenen laden | X | |||
| Tanks und Schlüche prüfen/reinigen | X | |||
| Bürsten/Kissen drehen/prüfen/reinigen | X | |||
| Absaugleiste prüfen/reinigen | X | |||
| Absperventil-Schwimmerkugel prüfen/reinigen | X | |||
| Saugeblasemotor-Schaumfilter prüfen/reinigen | X | |||
| Leeren/Reinigen des Filterkorbs im Schmutzwassertank | X | |||
| Schmutztaufnahmehabiter am Zylindersystem reinigen | X | |||
| Batteriezellenfūllstände prüfen | X | |||
| Bürstengehäuse-Schürze prüfen | X | |||
| Lösungsmittelfilter prüfen/reinigen | X | |||
| Fuß-/Feststellbremse prüfen (Abnutzung und Justierung) | X | |||
| Flüssigkeitswonne (Zylindersystem) reinigen | X | |||
| Säubern des Reinigungsmittelsystems (nur für EcoFlex -Modelle) | X | |||
| Schmierung - Schmiernippel | X | |||
| * Inspektion der Kohlebürsten | X |
- Lassen Sie die Motorkohlebürsten einmal jährlich bzw. nach jeweils 300 Betriebsstunden von einem Servicetechniker von Nilfisk prufen. Die Kohlebürsten des Bürstenmotors und des Antriebsmotors sind nach 500 Stunden bzw. einmal jährlich zu inspierten.
HINWEIS: Weitere Einzelheiten zur Wartung sowie zu Service-Reparaturen finden Sie in dem Servicehandbuch.
8 Stellen Sie die Maschine in einem Gebäude an einem sauberen, trockenen Ort ab. Schützen Sie sie vor Temperaturen unter dem Gefrierpunkt. Lassen Sie zum Entlufen die Behälter offen.
9 Schalten Sie den Hauptschlüsselschalter auf (J) OFF (O), und entfern den Sie den Schlüssel.
SCHMIEREN DER MASCHINE
Pumpen Sie einmal monatlich ist eine geringe Menge Schmierfett in jeder Schmiernippel der Maschine, bis das Fett seitlich der Lager austritt.
Die Schmiernippel sind wie folgt platziert:
Laufradachse der Absaugleiste
Kardangelenk der Lenkspindel
Schmieren Sie einmal pro Monat folgende Komponenten mit leichtem Maschinenöl:
Lenkette
Haupt-Drehpunkte der Absaugleiste, des Bürstengestänges und der Seitenschürzen
EinstellknöpfurdenWinkel derAbsaugleiste
AUFLADEN DER BATTERIEN
Laden Sie die Batterien bei jeder Benutzung der Maschine, oder wenn immer an der Batterieanzeige (K) eine gelbe, rote oder rot blinkende Anzeige erscheid.
Laden der Batterien...
1 Betätigen Sie den Batterie-Trennschalter(13).
2 Öffnen Sie die Abdeckung des Batteriefaches (16), um für hinreichende Lüftung zu sorgen.
3 Verbinden Sie den Stecker des Ladegerates mit dem Batterie-Ladestecker (22) der Maschine.
4 Richten Sie sich nach den Anweisungen am Batterieladegerät.
5 Uberprüfen Sie nach dem Laden der Batterien den Flüssigkeitsstand in allen Batteriezellen. Falls nötig, fullen Sie destilliertes Wasser ein, um den Flüssigkeitsstand bis zum unteren Rand der Einfūlrohre zu bringen.

WARNHINWEIS!
Die Batterien nicht vor dem Laden auffüllen.
Die Batterien dürfen lediglich in einem gut belufteten Bereich geladen werden.
Bei der Arbeit an den Batterien ist das Rauchen verboten.

VORSICHT!
Um eine Beschädigung der Bodenflächen zu vermeiden, wischen Sie nach dem Laden immer Wasser und Säure von der Oberseite der Batterien.
ÜBERPRÜFEN DES BATTERIEFLUSSIGKEITSSTANDES
Überprüfen Sie den Flüssigkeitsstand der Batterien mindestensomal proWoche.
Entferen Sie nach dem Laden der Batterien die Entlufungskappen, und überprüfen Sie den Flüssigkeitsstand in jeder Batteriezelle. Benutzen Sie zum Füssen der Batterien bis zum unteren Rand der Einfulrohre destilliertes Wasser.
Die Batterien dürfen NICHT überfüllt werden!

VORSICHT!
Wenn die Batterien zuweit aufgefüllt werden, kann Säre auslaufen.
Ziehen Sie die Entlüftungskappen fest. Falls sich Säure auf den Batterien befindet, waschen Sie die Oberseite der Batterien mit einer Lösung aus Backsoda und Wasser (zwei Esslöfel Backsoda auf ca. 1 Liter Wasser).
WARTUNG DER ABSAUGLEISTE
Wenn die Absaugleiste schmale Wasserspuren hinterlssst, sind die Wischblätter u. U. verschmutzt oder beschädigt. Entfernen Sie die Absaugleiste, spulen Sie diese unter warmem Wasser, und prufen Sie die Wischblätter. Wenden oder erneuern Sie die Wischblätter, wenn diese zerschnitten, eingerissen, weil oder abgenutzt sind.
So wenden oder erneuern Sie das hintsere Wischblatt der Absaugleiste...
1 Siehe Abb. 3. Hebien Sie das Absaugleistengerat vom Boden, offen Sie dann den Entfernungsriegel fur das hintere Absaugeleistenwischblatt (A) am Absaugleistengerat.
2 Entfermen Sie das Spannungsstahlband (B).
3 Schiebern Sie das hintere Wischblatt von den Pass-Stiften.
4 Das Wischblatt der Absaugleiste hat vier beim Betrieb benutzte Kanten. Wenden Sie das Wischblatt so, dass eine reine, unbeschädigte Kante dem vorderen Teil der Maschine zugewandt ist. Ersetzen Sie das Wischblatt, wenn alle vier Kanten großflächig eingekerbet, zerrissen oder abgenutzt sind.
5 Installieren Sie das Wischblatt, indem Sie die Schritte in umgekehrter Reihenfolge ausfuhren, und justieren Sie die Absaugleiste.
So wenden oder erneern Sie das vordere Wischblatt der Absaugleiste...
1 Heben Sie das Absaugleistengerät vom Boden, und losen Sie daraufhin die (2) Flügelmuttern (C) an der Oberseite der Absaugleiste, und entfern den Sie das Absaugleistengerät von der Montagevorrichtung.
2 Losen Sie die Drehschraube zur Entferung des vorderen Absaugleistenwischblattes (D) und entfern den dann das Spanningsstahlband (E) und das Wischblatt.
3 Das Wischblatt der Absaugleiste hat vier beim Betrieb benutzte Kanten. Wenden Sie das Wischblatt so, dass eine reine, unbeschädigte Kante dem vorderen Teil der Maschine zugewandt ist. Ersetzen Sie das Wischblatt, wenn alle vier Kanten großflächig eingekerbt, zerrissen oder abgenutzt sind.
4 Installieren Sie das Wischblatt, indem Sie die Schritte in umgekehrter Reihenfolge ausfuhren, und justieren Sie die Absaugleiste.
JUSTIERUNG DER ABSAUGLEISTE
Das Absaugleistengerät ist zweifach - nach Höhe und Winkel - zu justieren.
Justieren Sie den Anstellwinkel der Absaugleiste nach jedem Umwenden bzw. Erneern des Wischblattes, oder wenn die Absaugleiste den Boden nicht trocken wischt.
1 Stellen Sie die Maschine auf einer glatten, ebenen Fläche ab, und senken Sie die Absaugleiste zum Boden. Fahren Sie daraufhin die Maschine vorwärts, undzarweit genug,um die Wischblätter der Absaugleiste nach hinten zu biegen.
2 Senken Sie die Absaugleiste, bewegen Sie die Maschine nicht nach vorne und passen Sie die Neigung und Höhe der Absaugleiste mithilfe des Anpassungsknopfes (24) und dem Rad zur Höhenjustierung der Absaugleiste (F) so an, dass die hintere Absaugleistenschiene den Boden gleichmäßig mit seiner vollständigen Auflagelfläche berührt und dass diese, wie im Querschnitt dargestellt, liegt abgeneigt ist.

ABB.3
WARTUNG DER SEITENSCHÜRZEN (SCHEIBENSYSTEM)
Die Seitenschürzen sollen das Schmutzwasser zur hinteren Absaugleiste leiten und dazu beizutragen, das Wasser innerhalb der Reinigungsbahn der Maschine zu halten. Bei Normalbetrieb werden die Wischblätter gleichzeitig abgenutzt. Der Benutzer wird bemerken, dass eine geringe Wassermenge unterhalb der Seitenschürzen austritt. Die Höhe{lsst sich ohne Weiteres verstellen, so dass die Wischblätter so welt nach unten reichen, dass das gesamte Wasser von der Absaugleiste aufgenommen wird.
Erneumann oder Umdrehen der Seitenschürze(n) des Scheuersystems:
1 Siehe Abbildung 4. Losen Sie die beiden Halteknöpfle (A) (2 pro Seite) undziehen Sie die Seitenchurzen (B) von der Scheuerbürstenabdeckung.
2 Entfernen Sie alle Schrauben, die die Wischerblätter an der Seitenschürze halten.
3 Ersetzen Sie die Wischerblätter als einen Satz, wenn sie geknicht oder verschlassen sind und sich nicht mehr einstellen setzen.
4 Montieren Sie wieder die Seitenchurzen an der Maschine und stellen Sie den Bodenkontakt der Wischerblätter richtig ein, wenn das Bürstengehause in Scheuerposition steht.
WARTUNG DER SEITENSCHÜRZEN (SCHEIBENSYSTEM)
Die Schraubenbolzen fur die Seitenschurzen besitzen Einstellringe (C) zur Feineinstellung, mit denen der Wischerblattverschleiss durch Anheiten oder Absken ausgeglichen werden kann.
2 Nehmen Sie zur Einstellung die Seitenschürzen (B) von der Scheuerbürstenabdeckung (D), damit die Einstellringe (C) zugänglich sind. Tipp zum Einstellen: Die Halteknöffe für die Seitenschürzen (A)让他们 sich lockern, ohne dass die Seitenschürzen gelöst werden müssen; die Einstellringe (C) können sie verstehen, wenn Sie unter die Seitenschürzen greifen.
3 Drehen Sie die Einstellringe (C) (nach oben oder unten), bis die Wischerblätter sich gerade so welt biegen, dass beim Scheuern das Schmutzwasser innerhalb der Seitenchürzen gehalten wird. Hinweis: Nehmen Sie eine Feineinstellung vor, damit einGreater Kehreffekt erreicht wird. Senken Sie die Wischerblätter nicht soweit ab, dass sie sich stark biegen, da sie dann zu schnell verschreiben.

ABB. 4
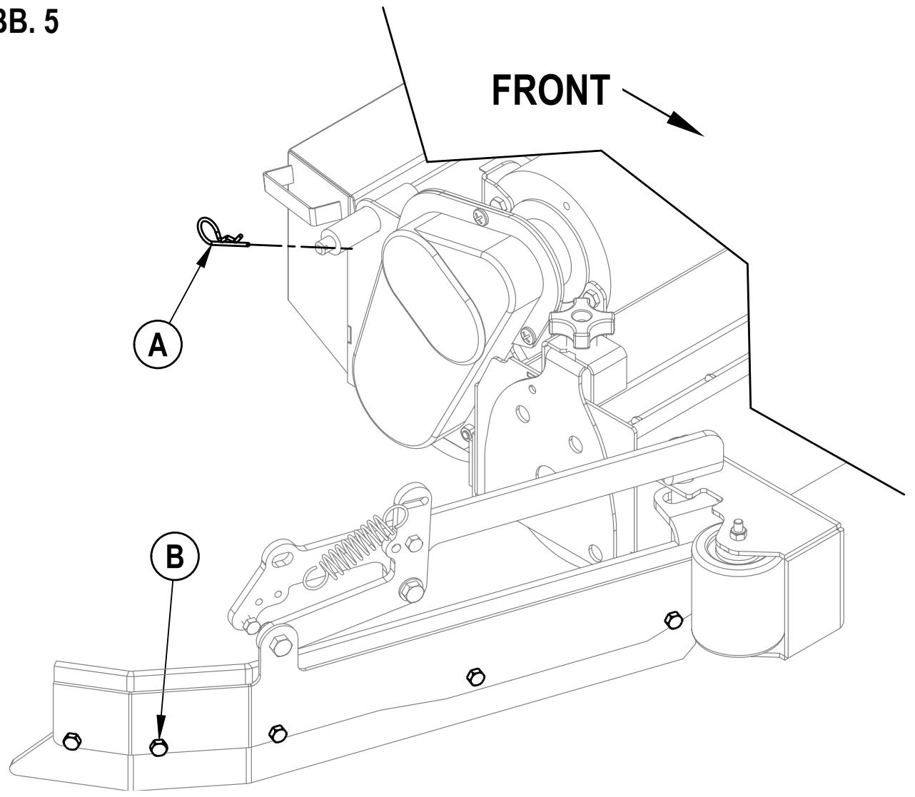
WARTUNG DER SEITENSCHÜRZEN (ZYLINDERSYSTEM)
Die Seitenschürzen sollen das Schmutzwasser zur hinteren Absaugleiste leiten und dazu bezutragen, das Wasser innerhalb der Reinigungsbahn der Maschine zu halten. Bei Normalbetrieb werden die Wischblätter gleichzeitig abgenutzt. Der Benutzer wird bemerken, dass eine geringe Wassermenge unterhalb der Seitenschürzen austritt. Die Justierung der Höhe der Seitenschürzen geschieht bei thisem System automatisch. Zur Gewährleistung des ordnungsgemäßen Betriebes sollen die Schurzenvorrichtungen sich frei nach oben und nach unten bewogen können.
Erneuern der Seitenschürze(n) des Scheuersystems:
1 Siehe Abb. 5. Entfermen Sie die beiden Splinte (A), und öffnen Sie durch Schwenken die Schürzenvorrichtung. Entfermen Sie die Schrauben und Muttern (B), entfern Sie die Schürzen, und erneern Sie diese.

ABB.5
ALLGEMEINE FEHLERSUCHE AN DER MASCHINE
| Problem | Mögliche Ursache | Abhilfe |
| Schlechte Wasseraufnahme | Wischblätter abgenutzt oder rissig | Wenden oder erneumann |
| Absaugleiste falsch justiert | So nachjustieren, dass die Wischblätterüber die gesamte Breite den Boden berühren. | |
| Schmutzwassertank voll | Schmutzwassertank entleeren | |
| Schmutzwasserablassschlauch undicht | Stopfen fest einsetzen oder auswechseln | |
| Schmutzwassertankdeckel undicht | Dichtung auswechseln; Deckel genie aufsetzen | |
| Schmutz setzen sich auf Absaugleiste fest. | Absaugleiste reinigen | |
| Saugschlauch verstopf | Schmutz entfernen | |
| Lösungsmittelverbrauch zu hoch | Lösungsmittelzufuhr regulieren | |
| Schaumfilterdeckel sitzt nicht richtig. | Deckel richtig schlieben | |
| Scheuerleitung unzureichend | Bürste/Scheibe abgenutzt | Umdrehen bzw. Bürsten erneumann |
| Falscher Bürsten- bzw. Scheibentyp | Wenden Sie sich an Nilfisk. | |
| Falsches Reinigungsmittel | Wenden Sie sich an Nilfisk. | |
| Maschine führt zu schnell | Fahrtempo senken | |
| Lösungsmittelabgabe zu gering | Lösungsmittelzufuhr regulieren | |
| Lösungsmittelabgabe zu geringoder keine Abgabe von Lösungsmittel | Lösungsmitteltank leer | Lösungsmitteltank fullen |
| Flüssigkeitsleitungen, Ventile, Filter oder Wannerverstopf | Leitungen/Wanne durchspälen, Filter reinigen | |
| Lösungsmitteldosierventile geschlossen | Lösungsmittelzufuhr regulieren | |
| Lösungsmittel-Magnetventil | Ventil reinigen oder erneumann | |
| Maschine lauft nicht | Notaus-Schalter ausgelöst | Batterieanschlüsse erneut verbinden |
| Sicherheitsschalter des Fahrersitzes | Auf Unterbrechung inspierten und erneumann | |
| Hauptsteuersystem | Störungs-Codes überprüfen(siehe Wartungsanleitung) | |
| Automatsicherung 10 A ausgelöst | Auf elektrischen Kurzschluss prüfen und zurücksetzen | |
| Kein Vorwärts-Rückwärts-Fahrnantrieb | Antriebssystem - Drehzahlüberwachung | Störungs-Codes überprüfen(siehe Wartungsanleitung) |
| Automatsicherung 70 A ausgelöst | Antriebsmotor auf Überlastung prüfen | |
| Notaus-Schalter ausgelöst | Batterieschluss erneut verbinden | |
| Saugsystem schaffet sich ab,Displayanzeige Anzeige FULL,Schmutzwassertank ist aber nicht voll | Absaugleistenschlauch verstopf | Schmutz beseitigen |
| Große Wassermengen werden bei hoherFahrgeschwindigkeit gesaugt | Arbeitstempo senken; Selfabschaltung deaktivieren(siehe Wartungsanleitung) | |
| Schlechte Kehrlastung(Zylindersystem) | Schmutzbehälter voll | Schmutzbehälter entleeren und reinigen |
| Bürsten abgenutzt | Bürsten erneumann | |
| Borsten haben sich verformt | Bürsten vertauschen | |
| Keine ReinigungsmittelzufuhrNur für EcoFlex-Modelle | Reinigungsmittelpatrone leeren. | Reinigungsmittelpatrone fullen. |
| Verstopftes oder abgeknicktes Rohr. | Die Vorrichtung sauben, RohreGPCalegen, um alleKnicke zu beseitigen. | |
| Trockener Dichtungsdeckel derReinigungsmittelpatrone ist nicht abgedacht.Schiebermagnet für Mischverhältnis desReinigungsmittels fehl. | Trockener Dichtungsdeckel wieder korrekteinsetzen | |
| Verkabelung der Reinigungsmittelpumpe istabgeklemmt oder verkehrn angeschlossen. | Schließen Sie die Verkabelung an oder wieder neu an. |
TECHNISCHE DATEN (am Gerät montiert/getestet)
| Model | BR 850S | BR 1050S | |
| Modellnummer | 56390916 | 56390921 | |
| Spannung, Batterien | V | 36V | 36V |
| Batteriekapazität | Ah | 415 | 415 |
| Schutzart | IPX3 | IPX3 | |
| Geräuschpegel | dB(A)/20μPa | 70 | 70 |
| (IEC 60335-2-72: Änderung von 2002 1-2005, ISO 3744)Bruttogewicht | Ibs / kg | 1,732 / 785 | 1,732 / 785 |
| Maximale Bodenbelastungdes Rades (Mitte vorne) | 98 / .68 | 98 / .68 | |
| Maximale Bodenbelastungdes Rades (rechts hinten) | 53 / .36 | 53 / .36 | |
| Maximale Bodenbelastungdes Rades (links hinten)Vibrationen an Bedienelementen | psi / N/mm2 | 70 / .48 | 70 / .48 |
| m/s2 | 1.12m/s2 | 1.12m/s2 | |
| (ISO 5349-1)Vibrationen des Sitzes (EN 1032) | m/s2 | 0.35m/s2 | 0.35m/s2 |
| Einsatz auf Steigungen | |||
| Transport | 20% (11.5°) | 20% (11.5°) | |
| Reinigung | 8% (4.6°) | 8% (4.6°) | |
| Model | BR 850SC | BR 1050SC | |
| Modellnummer | 56390919 | 56390923 | |
| Spannung, Batterien | V | 36V | 36V |
| Batteriekapazität | Ah | 415 | 415 |
| Schutzart | IPX3 | IPX3 | |
| Geräuschpegel | dB(A)/20μPa | 70 | 70 |
| (IEC 60335-2-72: Änderung von 2002 1-2005, ISO 3744)Bruttogewicht | Ibs / kg | 1,732 / 785 | 1,732 / 785 |
| Maximale Bodensteinagementdes Rades (Mitte vorne) | 98 / .68 | 98 / .68 | |
| Maximale Bodensteinagementdes Rades (rechts hinten) | 53 / .36 | 53 / .36 | |
| Maximale Bodensteinagementdes Rades (links hinten)Vibrationen an Bedienelementen | psi / N/mm2 | 70 / .48 | 70 / .48 |
| m/s2 | 1.12m/s2 | 1.12m/s2 | |
| (ISO 5349-1)Vibrationen des Sitzes (EN 1032) | m/s2 | 0.35m/s2 | \( {0.35}\mathrm{\;m}/{\mathrm{s}}^{2} \) |
| Einsatz auf Steigungen | |||
| Transport | 20% (11.5°) | 20% (11.5°) | |
| Reinigung | 8% (4.6°) | 8% (4.6°) | |
TECHNISCHE DATEN (am Gerät montiert/getestet)
| Model | BR 850S X | BR 1050S X | |
| Modellnummer | 56381008 | 56381010 | |
| Spannung, Batterien | V | 36V | 36V |
| Batteriekapazität | Ah | 415 | 415 |
| Schutzart | IPX3 | IPX3 | |
| Geräuschpegel(IEC 60335-2-72: Änderung von 2002 1-2005, ISO 3744)Bruttogewicht | dB(A)/20μPa | 70 | 70 |
| Ibs / kg | 1,732 / 785 | 1,732 / 785 | |
| Maximale Bodenbelastungdes Rades (Mitte vorne) | psi / N/mm2 | 98 / .68 | 98 / .68 |
| Maximale Bodenbelastungdes Rades (rechts hinter) | psi / N/mm2 | 53 / .36 | 53 / .36 |
| Maximale Bodenbelastungdes Rades (links hinter)Vibrationen an Bedienelementen(ISO 5349-1) | psi / N/mm2m/s2 | 70 / .48 | 70 / .48 |
| m/s2 | 1.12m/s2 | 1.12m/s2 | |
| Einsatz auf SteigungenTransport | 0.35m/s2 | 0.35m/s2 | |
| 20% (11.5°) | 20% (11.5°) | ||
| Reinigung | 8% (4.6°) | 8% (4.6°) | |
| Modell | BR 850SC X | BR 1050SC X | |
| Modellnummer | 56381009 | 56381011 | |
| Spannung, Batterien | V | 36V | 36V |
| Batteriekapazität | Ah | 415 | 415 |
| Schutzart | IPX3 | IPX3 | |
| Geräuschpegel(IEC 60335-2-72: Änderung von 2002 1-2005, ISO 3744 )Bruttogewicht | dB(A)/20μPa | 70 | 70 |
| Ibs / kg | 1,732 / 785 | 1,732 / 785 | |
| Maximale Bodenbelastungdes Rades (Mitte vorne) | psi / N/mm2 | 98 / .68 | 98 / .68 |
| Maximale Bodenbelastungsdes Rades (rechts hinter) | psi / N/mm2 | 53 / .36 | 53 / .36 |
| Maximale Bodenbelastungsdes Rades (links hinter)Vibrationen an Bedienelementen(ISO 5349-1) | psi / N/mm2m/s2 | 70 / .48 | 70 / .48 |
| m/s2 | 1.12m/s2 | 1.12m/s2 | |
| Einsatz auf SteigungenTransport | 20% (11.5°) | 20% (11.5°) | |
| Reinigung | 8% (4.6°) | 8% (4.6°) | |
TABLE DES MATIÈRES
page
Introduction. B-2
Technische gegevens C-17-C-18
INLEIDING
5 Sturufstellingsknop
Texnueckne cneunfkaun. D-17
BVEENHE
Haactoue pykoOBOCTBO nOMOXeBam Hainboee 3fpeKTHBHO nCnIb3OBaTB Bo3MOXHOCTN nIOMOEuHO MaunHb C cnDeHbEm dIgonepato, npno6peTeHHo Bam, - NifiskTM. Ipeed nCnIb3OBaHHem MaunHb BHmATEJIbHO pOOTITE daHHoe pykoBOCTBO.
Примочанe: Lcфрbl, BbIeJIeHbIe JxHpHbIM WpHcTOM N 3aKJIuOeHHbIe B KpyTlbIe cKo6Kn, Obo3HaJIoT y3JIbI, IpeIcTaBJIeHHbIe Ha IIJIIOCTpaUINx H a Ctpanuax D-4-D-5.
Konformitätserklarung
D Der Unterzeichner bestätigt hiermit dass die oben erwähnten Modelle gemäß den folgenden Richtlinien und Normen hergestellt wurden.
Notice-Facile