BR 1050S - Автоматическая поломоечная машина NILFISK - Бесплатное руководство пользователя
Найдите руководство к устройству бесплатно BR 1050S NILFISK в формате PDF.
Скачайте инструкцию для вашего Автоматическая поломоечная машина в формате PDF бесплатно! Найдите своё руководство BR 1050S - NILFISK и возьмите своё электронное устройство обратно в руки. На этой странице опубликованы все документы, необходимые для использования вашего устройства. BR 1050S бренда NILFISK.
РУКОВОДСТВО ПОЛЬЗОВАТЕЛЯ BR 1050S NILFISK
Гразднг Тхического облужваня D-11
Cma3bBaHne MaunHbl D-11
3apka akkymyIaTOpHbix 6aTapei. D-12
IpoBepka ypOBH 3JekTPOINa B aKKymyTOpHoi 6aTapee .........D-12
Yxod 3a ckpe6kom D-13
Perunipovka ckpe6ka D-13
Yxod 3a 6okobimn ckpe6kamn. D-14-D-15
UcTpaHHe HEnonaDok D-16
Данна Машина п体现在дате Нэма товьк дя коммереского Исторьаня.
3APACHbIE YACTN IN TEXHnueECKOE OBCJyKINBAHNE
B clyae HeoXdmoCTn, paobToI no pemOHTy dJokHbI npoBDntbCepBncbHM CHTPOM KOMNaHm Nilfisk, IMeOuIM IONHMOUHa ha 3TO, B KOtOpom pa6otaet nepcoHaI no obcJyKbAHnIO n peMOHTy, npoWeuM NoTROBky Ha 3aBOe KOMNaHm. B 3TOM CEHTpe IMeETcR N nonOnHReTc KaTAnor opunHahbHbIX cMeHHbIX DeTaleN INpHaNDLeXHOCTe KOMNaHm Nilfisk.
IINPPOBHeHnpa60 nppeMOHTy nTexHnueckOMOcLnyKbAHIO Hn3aKa3a 3aNaChbIX aCteY CBxKITcB c Kya3aHHbIM HnKe IPOIN3BOIDCTBEHHbIM INIEPOM KOMnAHN NILFISK. Bam cIeNyET yka3aTb MoJeNb i cepnHbI HmOp BaWeJ MaunHbI pIn o6cyXeHm NpO6nembl.
(Dinep, npinkpenite hakkeky cepBnchoro zentpa 3decb.)
PACNOPTHA TABJNUKA
Homep moeJIn n cepinHbI Homep BaSeMaunHbI yka3aHbI B nacnpTHoN Ta6nUKe, yctahOBJIeHHoHa MaunHe. DaHna HnΦopMauaHa Heo6xOma npn 3aka3e 3aPachbIX qacte n DnA BaSeMaunHbI. 3aPiuTe Hxke Homep moeJn n cepinHbI Homep BaSeMaunHbI nra CcbIOK Ha Hnx B daNbHeM.
HOMEPMODEJIIM
CEPNHbI HOMEP
PACNAKOBKA MAUINHbI
Pn doctabke Maunhbl, tataeIbHO npOBepbTe TpaHcnpOtpOBoHy kAPToHHb IaIKN cAmy MaunHy nBbIbIeHnIOBpeXJeH. Ecn oBapyKeHo nobpeXJeHne, CoxpaHnTE KAPToHHb TpaHCnpOtpOBoHy IaIKN dJIr TORO, YTO6bl MoKHO bJIo npOn3BeCTn erO oCMOTp. HemeJenHO CBXInTeCb C
OTeJom o6cIyKbAHnKJIeHTOB KOMPAnH Nlifsk dIaI npaun NcKBoTo 3aBVeHn O Bo3MeuHn y6bItKOB.
Pocne pa36bOpKn KapToHnOro JaUkna pa3peXbTe PnactMaccObIe peMHn ydaJIte DepeBraHHbIe 6IokN, zakpenJIyIOuJe KOleca. NcnoJb3yJte naHyc, TObI cKaITb MaunHy C nIInTb KOHTeHepa Ha non.
ПРЕДУПЕЖDEHENЯ И ПРЕДОCTEPEXGEHENY CYNBOЛы
IpynpexkndnnoTeHnaJIbHO onaChbIX ocbTcTB, KOMnHaN Niffisk nCnoJIb3yET cneDyoUe CmBOnbl. CneDyET Bcerda BHNMaTeNbHO uHTaTb 3Tu INHOpMaunIO n PnHnMaTb HAnEkaUne Mepbl dnn 3auNTbl nepcoHaJa IMuYecTBA.
ONACHOДЛЯЖИЗн!
IcnoIbayetca InpdunpexdHnO6 onaChbIX 6bictpo HactynauuX yCNOBnX, KOtOpble MOryT pInBeCTN K TpaBMe Nm CmeptN.
BHIMAHNE!
IcnoIb3ayetca Ira toro, UTO6bl npINBLeH BHMaHne K COCTOHHIO, pN KOTOPOM BO3MOXHa TAKeJIa TpaBaMa.
OCTOPOXHO!
IcnoIb3yETcIgToro,HTO6blipnBneBvHIMaHHeKcoCToHIO,piN KOTOpOM Bo3MOXHaJeKarTpabMa NIN NOBpeXDeHne MaunHbI IIN dpyrTOI MMyUeCTBa.

Ipeed 3Kcnnyataune MaunHb npOHTe Bce nHCTpykCm.
OCHOBHbIE IINPABUNIa TEXHNKn BE3ONACHOCTN
Ipy toro, yto6bI npdeynpeintb Bac o Bo3MOxHoi onaCHocTn NOBpeXdEHN MaunHb IIN HaHeCENr TceCHoro NOBpeXdEHN, npBBeJeHbIKOHKeTHbI nepeynpeXdEHNr n peDooCTepeXeHN.
BHIMAHNE!
- Tôlbko nepcohān, İmehoşün paşaşehne Ha 3TO, öbyleHHb ḌadneJkaUm δoebaM, dOŋkhen ynpabTb MaunHoN.
- HaxoJcB ha naDycaH mHn Ha kAnIOHbIX pIoCKOCTx, npn noHno 3aRpy3ke n36eAte BHeaHbIX ocTaHOBok. CneIyET n36eRaTb Kpytbix nobOpOTb I pa3BopOTb. PpN cBe3e BHN C XONMOB DvraTeCb Ha Hn3Ko CKOpocTb. Ppon3BOJnte y60ky TOnkO npn noDbeme (npn Bbe3de) no HAKHOHNO pIoCKOCTn.
- Ārpχnite Bo3rρa0uünecesc, BocπnameHηuüneceι N dbIbMuaecepepeMeBbIaII NT aKKymyIaTOPbIX 6aTapei. IprHopMaIbHOJ 3Kcπnyataunn aKKymyIaTOpHO 6bAtpen BbIeJIaOTcB3pbBOONaChIbe ra3bl.
- Пи зардкakумлгогньхбатарь ВделяпсьВзрьBOОнась ВООрдьгaz.ЗаржайтakумлгогньхбатарьТольковхоршо npobetprmbaembixnomeценyx,вадлгOTOKpbITOrTOПамен. He kypintepn зардкakумлгогньхбатарь.
* Pn pa6oTe B6I3N 3JneKtpnuecknx KOMIOHeHToB CHMmTe BCE IOBeINpHbIe YkpaSeHnA.
* Ipeed npoBeHem pa60 n To texHueckomy o6cIyKmbAHnO 3neKtpuecknx KOMTOHeTob NOBepHIne nepeKIOUaTeJb-KIOU B noIOXeHne (O) (BbIK.) n OTCoeDHHte aKKMyJLTopHbIe 6aTapei. - HnKoIa He pa6oTaIe NoI MaunHoi, He yctaHOBb ABAPINHbE 6JOKN IIN NOI npOPKn IJIa NOI depKKn MaunHbI.
- He pa3IbAaTe BOCPnAmEHIOUeCMAOUIue CpeIcTBA, He pa6oTaIe C HIMN IIN B6IINr TaKINx CpeIcTBA, IN He pa6oTaIe B MeCTAX, rIe XpaHrtCBA BOCPnAmEHIOUeCRAIKOCTN.
3anpeaetcMbItb3TuMaunHyBDOB, BbITEKAIOeNoHAnopom. - IcnoIb3yIte TOnIbKO Te ⅢeTKN, KOTOpBIE BXOJaT B KOMnJIeKT NJIY yKa3aHbI B pyKOBoJCTBe. IcnoIb3OBAHne dpyrNIX ⅢeTOK MOKeT yXyDmITb NaDeEkhOCTb MaShHbI.
OCTOPOXHO!
- Hactoiaa Maunha He npedha3nueHa dny nCnoB3OBaHna Ha neeexOdbix dopoxkax ndoporax oIb3OBaHna.
* 3Ta MaunHa He noXoDnT nA c6opa BpeHbIX BNIOB nbIIN. - He IncnoIb3yIte DnCKn CkapuKnKaTopa n IJIIOPOBaJbHbIe KAMHI. KomnaHra Nilfisk He Hecet OTBETCTBeHHocTn 3a IIObIe NOBpeKdEHH naOBepXHOCTn IOna, BbI3BaHHbIe IcNOIb3OBAHHeM CkapuKnKaTopoB IJIIN IJIIOPOBaJbHbIX KamHei (OHI MOrY T Takke IOBpeDITb MEXAHN3M pInBOda IeTOk).
- Пи paбот e с машинов убедиесь в том, чу Ты He подеврагае Третьх пиц, особени do tei, onachoctn.
- P引擎 plobeeneHem JIO60f yHKUIM OcIyKUBAHIN BHNMAteJIbHO IPOUTNE BCE INHCTpyKUIM,OTHOCAJMECE K30Ie FHKUIM.
- He octablne Maunhy 63 npncmoTpa, He nobepHyB nepeKIOUaTeIb-KIOU B NOIOXeHne (O) (BbIKL.), He bblHyB KIOU 3aKnraHn I He BkIOuHB Topm03.
- ΠepeD cmeHoi 1eTOK iJIN OTKpbIITmE IIO60 3KcPnYataUOHHo NaHeJI NIOBepHIne peKeJIHOuATeB-KJIOU B NOJOXeHne (O) (BbIK.) n BBiHtE KJIIOU.
CoIIOaIte MepbI pIepoTOPOXHOCHTN, YTObI BONocI, IOBeINpHbIe UKpaSeHnI INI DeTaNl ODeXdbI He NOnaII N DBrNjUxueSc MExaHn3MbI. - BydbTe octopoxhbl npn ynpablenm Maunno npn Tempepatye okpykaohne cpebl nHexe Hny. MoKet 3amep3HbBoa, haxoiaacB pe3epbyape dIy moUcero pactbopa nn B pe3epbyape dIy oTpaobtahHO JIKKOCTN nn B coeHNHTeJbHbIX shnaHrx, YTO pInBeDet K nobpeXdHIO KNanAHOB nΦTHINROB. PpOmbaiTe XIKKOCTbO DnBETPOBbIX CTekON.
- Ipeedem, kak BbIbpcntb MaunHy Ha CBAkny, Heo6xOmo CHaTb AkkymJrTopHbIe 6bataep. 3axoponeHne AkkymJrTopHbIX 6bataep dOJIxHO npOn3BODnTbcra C co6hIOHeHMe MEP 6eONACHO IN B COOTBeCTBN C Tpe6oBaHmM MeCTHO 3aKHOaTeJIbCTBa NO OXpAne PnpRoDbl.
- HeJIb3a IcIbnIb3OBAt b MaSiHNy dIy NcIcTKn NOBepXHOCTeY, yrOJ noIbema KOTobxippeBbIshaET yrOJ noIbema, yKa3aAHNbHa MaSiHHe.
- Перацлоботовим EMAsHbCneIyET npOBepnT, cyTo6bI BCE DBePcIb I KpbIshK HaxOdiNcB I NOLOKeHIM, yKa3aHHOM B pyKOBOCTBE.
COXPAHNTE HACTOJIe INHCTPYKlIIN
N3YUHTE CBOIO MAUNH
Bo Bpemy tHeHn daHHoro pykoOCTBa Bbl cToIKNheTcB cUePam nIb6yKBeHbIMn Oo3NaueHnMa, BblJeHeHbIMn KmPrhBIM npntom nIin 3aKJIuOeHbIMn B cKo6Kn, - HapnMep: (2). DaHHbIe HOMepa NcIOnIb3yIOCTd Ia CcBILN Ha y3Nb MaunHbI, I3o6paKeHHbIe Ha daHHbIX cTpaHncax, ecIn He yka3aHO nHoE. CbIaNteCb Ha 3tN cTpaHnCbI b Cnyae Heo6xoDnMOCTn ONpeDeHeHn MeCTOnIOJoxHeN y3na, yPOMrHYTOB T EKTcE.
1 KpbIshka pe3epByapa dny oTra6oTaHNOJ XnKIOCTN
2 Kpbuika ropnoBnHbI pe3epByapa dIaJIbMa moUeero pactbopa
3 CndeHbe onepaTopa
4 Шанг сива pactвopa ИЗ peзевая дя моюsero pactвopa
5 Pbyar perynipobkn haKloha pyneboro koneca
6 PetaB TopMo3a / PetaB cTOrHoCHoro TopMo3a
7 Pbyar noaun moojo pactbopa
8 PnabI npB0da, HnpaBHeHcKopoocTb
9 MycopHBi 6yHKepe (ToJIbKO zIJIINHprnueeCKne MoDEJI)
10 Beyuuee npyneBoe Koneco
11 PpepbIbATEJIb npINbOa BeDenyIeRo Koneca
12 IpepbIbATEnb cenn ynpabLeHn
13 KhoNka abapnHoi octaHOBKn / Pa3beHNHTeJIb aKKymJrTOPHO 6atapen
14 MoeHbIy3en
15 3aJHee kOJIecO
16 Otcek akkymyIaTOpHbIX 6aTapei (noD cnJeHbEm)
17 3anopHbI nonlaBok pe3epByapa dIra Otra6oTaHHoJXnKoCTn
18 Koxyx pnta motopa BcacbBaiooero arperata
19 Ckpe6ok
20 CmennbI h nIbTp IaI h nIbtpaun MOIOoero pactbopa
21 Ⅲnahr nra cnBa oTra6oTaHHo XnKocTn n3 pe3epByapa
22 Pa3bem IJnI IOndcoeINHeHnA kKymyIaTOpHbIX 6aTapei
23 Panaelb ynpablenn
24 Pyka perynipovkn hakloha ckpe6ka
25 Pbyar perynipoBk cnideHb onepaTopa
26 Klaan ECO SolutionTM
27 Φильтуюшая сетka

NAHEJIb YNPABJIENHIA
A IHHdkaTOp BbIKJIOUeHn (OFF) MoeHoro y3la
B Khonka BbIKJUeyHn (OFF) MoeHoro y3Ja
C INHdkatop yMehbweHHaDaJIeHHa MOIOxuX uTeK
D Khonka ymehbene naBneHnMoOux Teok
E INHdkatop ycneneHH daBneHHMOOux 0eTOK
F Khonka ycnneHn DaBnHn MoIoux xetok
G DnCnJIeIaBHeHna 8etOK / CyeTUnKa BpeMeHn 3KcNlpyataun
H INdkaTop KHOKN HacaKn
I KhoNka HacaAkn
J PepeknouataeIb-KnIOU
K IHHdkaTop coCTOHaA kKymyIaTOpHoi 6aTapei
L Khona nepeknoueHHcKOpocTn
M HndkaTop Bb6opa ckopocTu
N KhoNka rynda
O Khonka nepekniouateTne BcacbBaHooero arperata
P HdkaTop BCacbIbAIOe orperata:
Q IHHaKATop noaun MOUoero pactbopa:
R Khonka nepekIIOUeHnnoIpaTbopa

ОПИСAHWE ИНДИКATOPOB COCTOЯня AKKUMЛТOPHOВ BATAPEN
IHHdkatopcoCTOHAaKymyIaTOpHb6aTapei(K)IMeET TPN CBeTOBbIX NOKa3aTeJIa-3eJIeHbJ,KeJIbI IN KpaHbI. HnDnkaCuaHaNpAkeHna 6ydet MeHrBC B 3aBcImoCTOn OT yPOBHa 3aMbKaTeJIa (CTaHdpTHoro INIaJIbTePHaTbHBoro), BbIbpaHBO R 6Ioke UnpabHeHn. DmaIa3OHn HapRaeHn aKKymyIaTOpHb 6aTapei dPa3nUHbIX INHdNkaCau npeCTabNeHnKe:
| Стандартоане 3начени | Альтырнах纳ноe 3начени | |
| Зелень | 34.00+ | 34.50+ |
| Зелень и Келов | 33.00-33.99 | 34.00-34.49 |
| Желов | 32.00-32.99 | 33.50-33.99 |
| Желов и Красны | 31.50-31.99 | 33.00-33.49 |
| Красны | 31.00-31.49 | 32.50-32.99 |
| Могаоший Красны/замыкание | <31.00 | <32.50 |
PIMMEUAHNE: HOpMaunO bIbOpe aJIbTepeHATBHO 3aueHnE yOBHb 3aMbKAHNpEcdTbHe B PyKoBDCTBe NO bcnykBaHIO. KaTToBKO doCTnraeTcA yOBeHb HN3KOro HnpaJKeHn 3aMbKaTeJIa (Miraet KpaChbI INHnKAtOP), Heo6xoImo IOnHOCTbIO nepezaprntb AkkymnyTopHbIE 6batae, YTO6bI npVBecTN INHnKAtOp COtOHaNn AKKyMylTOpHOb 6batae B INxCODHoe COCTOAHne . Moeyhbl y3eJI he 6yET fynKluHIpOBaTB, noka INHnKAtOp He 6yET pINBeDeH B INxCODHoe COCTOAHne.
YCTAHOBKA AKKUMYJIATOPbIX BATAPEI
BHIMAHNE!
Ipn yxode 3a akymyIaTOPbIMn 6aTapeMn Heo6xOIMO TUaTeNbHO CO6IIOaTb Mepbl IpeioCTOpOXHocTN. Cepna KncIota, nCpOJIb3yEma B KaueCTBe 3NeKTPoJIInTa B akymyIaTOPbIX 6aTapeX, MoKET cepbe3HO NOBpeDITb rIa3a ININ KOxy npn nonadAHn Ha Hnx. Upe3 5eIN B KpbIuKax akymyIaTOPbIX 6aTapeB BbIXODIT B3pbIBOONaCHbI BODOPOnHbI ra3. 3TOr ra3 MOKeT BO3ROPeTBcA OJIIOB OJeKTPuYeCKO Dyrn, INKpbI ININ PIIaMeHN.
Pn yxoed 3a akymyjTOpHbIM6atapeym...
- CHIMITE BCE IOBEINHPbIe YKpaIeHnIa.
- He kypnte.
- Hadebaite 3aunthbte oukN, pe3nHOBbl φapTyK n pe3nHOBble nepuTaKN.
- Pa60aTaeB xopoOIO npoBETpnaEMoN 30He.
- He donyckaia Te, yTo6bI nHctpyMeHTb cOpnKacJncb 6oJe ee c OndHO KneMMOaKKMyJrTopHO 6aTapeo OndOBpeMeHo.
OCTOPOXHO!
Ecni akymyIaTOPbIe 6aTapei HnpeBnJIbHO yCTaHOBHebl I NOcOeDInHebl, MOrY T 6bITb cepBe3HO nobpeJdeHbI 3JIeKtpuYeCKne KOMNoHEtbl MaunHbI. YCTaHOBky akymyIaTOPbIX 6aTapei DOJIKeH IpOn3BOdntb CNeuaJIncT KOMNaHm Nilfisk nIIN KBaINΦuPobAHbI 3JIeKTPNK.
1 ПовернITE пееклочаель-клоч (J) в полжене (O) (Быкл.) и BBиьтеслоч. 3aTeM OTКpoIte и пеонecпг Кршky OTceKa aKKymЛТорныбатар (16).
2 IcnoIb3yra NOMOuB (2) IIOeH IO COOTBeCTCBYIOUe NIObEMHbIe PemHn, OCTopoXHO NOMECTHe 6aTapeH Na NOdOH OTCEKa B TOHOCn, KaK NOKa3aHo Ha pncyHke. KaBeJIb 6batae yIOxNte TAK, KAc NIO6paKeHo Ha deKoJI56380513.
3 Cm.Pnc.1.YIIOKNTe Ka6eJIb 6aTapei, KAK NOKa3aHO Ha pucyHKe n 3akpyTtRe raiKN Ha KJIeMMax AKKMyJrTOphBx 6aTapei.
4 YctaHOBnTe 6aImakn AkkymJIaTOpHbIX 6aTaapei n HadeXHo npKpeNITE IN K Ka6JIaM C NOMOuBIO 3anaChbIX pemHei.
5 PoiocoeHnTe oBeeHHeHbI coeHNHTb 6aTapeK pa3bemy (22), pacnoJoxEHHomy B MaHInHe, n 3akpoTe KpbIky OTCeka aKKMyJIaTOpHbIX 6aTapei.
PNC. 1
OCTOPOXHO!
Парад замени батарей образпесь к TSBUS2008-984 пл посени сац http://www.nilfisk-advance.com
- LenzpyeBoro ynpabBnien
- Гльные центы вразець в мени з крешка, места сождения и соковьх крешков.
Mecta pe3b6by pykoTOK peryIinopOBKn hakIOHa ckpe6ka
3APДKA AKKUMЛЯTOPHbIX BATAPEI
3apjkaite akkymnylTophle 6atapen kajdb pa3, KOrda nCnOlb3yeTc MaShHa, INI KOrda B INHdkaTope COCToHna akkymnylTopHO 6atapen (K) 3aropaHTcJ lamma(b) JeNToro, Kpachoro INI MIRAOUero Kpachoro zbeta.
Дягтого, утосы зардита Akkymларtopьыбатaper...
1 Haxmnte Ha pa3beDInHteB akKymyIaTropHo6 batapen (13).
2 OTKpoTe DBepy OTeCeAaKymIaTOpHbIX 6aTapei (16), YTo6bl ObecneuHb Heo6xOaMMyIO BENTnIaIIO.
3 BctabbTe coeHNHteIb 3apAnHO r yCTpoNCTBa B pa3beM IINI NOcOeHNHeHnA kKkMyJrTOpHbIX 6aTapei (22)
4 BbInOnHnTe nHCTpyKUm no IcNoIb3ObaHmO 3apdHorO yctpoCTBa.
5 IpoBepbTe ypOeHb JxNkOCTn BO CEx 3neMeIax AkKymIaTOpHbIX 6bape NocIe 3apJKn 6bapei. Ecn Heo6xoIMo, cJeIyET o6abntb DInCTINJIIpOBaHHo B0bl, YTO6bl yPObEh JxNkOCTn HaxODJIcR IOd HANIBHbIMn NaTp6kAMn.
BHIMAHHE!
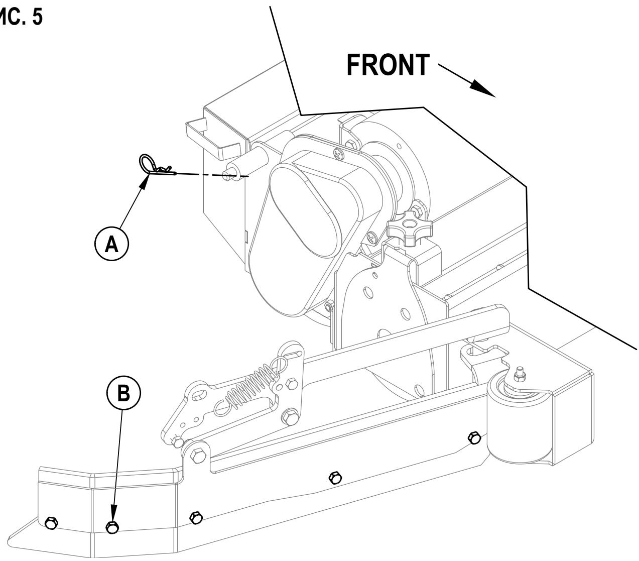
Дятуго, чтобы заменчь бokовь(bie)ckeбok(KN) moeуногу ула ...
1 Cm.Pnc.5.CHMnTe (2) A u pa3BeInte 6OKOBbIe cKepe6Kn. OTKpyTIne (B) 60NTbI raiKN, CHMnTe 6OKOBbIe cKepe6Kn 3aMeHIne ux.

PNC.5
YCTPAHEHNE OCHOBbIX HENOJAOK
| Helenonadka | Возимочь поочина | Способ усталеня |
| Плесхий сбор вовы | Порваший яни Иношени leзвья скреба | ПеревернITE яни заменITE |
| Скреськ в несявальnom пожонец | Отейгунричite, чтобь leзвья касаль рona Равноремно по всянширине | |
| Заплиене розервуар ддя отравотанно жискости | ОлорожнITE розервуар ддя отравотанно жискости | |
| Прoteкает сльвонь shланг розервуар ддя отравotанно жискostи | Зakрение кръшky сльвогошлдану пеленя заменITE | |
| Прoteкает пожалдада кръшки розервуар ддя отравotанно жискostи | ЗаменITE пожалдаду / Хорош з akрочte кръшky | |
| Ha скреськ hamotanся мсор | ПочистITE скрбok | |
| Зависьшлг всявальце arperatа | УдалITE мсор | |
| Исpenьшетс сльшков много мозшег pactвора | Отейгунричite клалан сизtemы падочи мозшег pactворa | |
| Кръшka пенигорфпьтабдя на месfte | Хорош з akрочte кръшку | |
| Машина плесх поимьваetting | Изношени щетда яни рожалдада | ПеревернITE яни заменITE щетдаи |
| Исpenьшетс сльшков сизштушке сизштушке | Прожонсунларучite сдленим Nifisk | |
| Исpenьшетс снелдяшдддшем мозшег сиздъю | Прожонсунларучite сдленим Nifisk | |
| Машина двіжется сльшkomь бістру | Замение сизportstь двіжетουи | |
| Падаэрэн Нedingаточь клочь moшег pactвора | Отейгунричite клаланы в сизtemе падочи мозшег pactворa | |
| Кръшka пенигорфпьтабдя на месfte | Хорош з akрочte кръшку | |
| Недостаточая сөгү мозшег pactвора ил зakончлся мозшег pactвор | Розервуар ддя мозшег pactвора пүсту | НаллнITE розервуар ддя мозшег pactворa |
| Засорны салалы падочи pactвора, калалы, фільsprп яни калò | Проможite калалы падочи pactворa, калòи почистITE Фільspr | |
| Ндярэн Клаланы в сизtemе падочи mозшег pactвора | Отейгунричite клаланы в сизtemе падочи mозшег pactворa | |
| Ндярэн Ветларун сизtemе падочи mозшег pactвора | ПочистITE яни заменITE клалан | |
| Засорны в сизtemе падочи mозшег pactвора | ПочистITE яни заменITE клалан | |
| Машина не сedes | Разимочь та Кнока abariniho octanobkii | Пождлочite снoba Akkumлгогу bu latapevi |
| Helenonада в варший мьллочате сизнья оретаторa | Пожевente, не разимочь лдц龟, и заменITE | |
| Helenonада в вaramном сизtemе падочи оретаторa | Пожевente кдь ошьok (cm. ружовдостvo по Т电商нческову обслухим�и) | |
| Разимаимь в 10A превате | Пожевente на наличile кроткову озамыкании вocstановite превать | |
| He pajobается калесо пимьda В�ЕРД/HA3АД | Helenonада в котралоче сизtemе пимьda | Пожевente кdь ошьok (cm. ружовдостvo по Т电商нческову обслухим�и) |
| Разимаимь в 70A превате | Пожевente мотор пимьda на песеруку | |
| Разимкунта коньа вар�性ию octanobkii | Пождлочente снoba Akkumлгогу bu latapevi | |
| Öтknючаяся васьвальшагу ндя пимьда вдя ндя пимьда вдя ндя пимьда вдя ндя пимьда вдя ндя пимьда вдя ндя пимьда вдя ндя пимьда вдя ндя пимьда вдя ндя пимьда вдя ндя пимьда вдя | Засорны салалы сизtemе пимьda | УдалITE мсор |
| Собрается bollшддшддшддшддшддшддшддшддшддшддшддшддшддшддшддшддшддшддшддшддшддшддшддшддшддшддшддшддшддшддшддшддшддшддsh ндя пимьда в сизtemе пимьда в сизtemе ндя пимьда в сизteme ндя пимьда в сизteme ндя пимьда в сизteme ндя пимьда в сизteme ндя пимьда в сизteme ндя пимьда в сизteme ндя пимьда в сизteme ндя пимьда в сизteme ндя пимьда in ндя пимьда in ндя пимьда in ндя пимьда in ндя пимьда in ндя пимьда in ндя пимьда in ндя пимьда in ндя пимьда in ндя пимьда in ндя пимьда in ндя пимьда in | Замение пожите мсорьни Бocstановite превать | |
| Плесо поmetает (Mашина с цilin徳песимmaцм) | Заллесену м尊орный skynkeр | ОпожнITE и пожите м尊орный skynkeр |
| Изношени щетки | Замение щетки | |
| Затердана щетпina на щеткax | ПожевернITE щетки | |
| He pajobается мозшег сизbethу (Tолько мodyл EcoFlex) | Пустов саллочник ддя мозшег сизbethа. ндя пимьда в сизbethа ндя пимьда в сизbethа ндя пимьда в сизbethа ндя пимьда в сизbethа ндя пимьда в сизbethа ндя пимьда в сизbethа ндя пимьда в сизbethа ндя пимьда в сизbethа ндя пимьда вс ндя пимьда вс ндя пимьда вс ндя пимьда вс ндя пимьда вс ндя пимьда вс ндя пимьда вс ндя пимьда вс ндя пимьда вс ндя пимьда вс ндя пимьда вc ндя пимьда вс ндя пимьда вс ндя пимьда вс ндя пимьда вс ндя пимьда вс ндя пимьда вс ндя пимьда вс ндя пимьда вс ндя пимьда вс ндя пимьда в c ндя пимьда вс ндя пимьда вс ндя пимьда вс ндя пимьда вс ндя пимьда вс ндя пимьда вс ндя пимьда вс ндя пимьда вс ндя пимьда вс ндя пимьда в с ндя пимьда вс ндя пимьда вс ндя пимьда вс ндя пимьда вс ндя пимьда вс ндя пимьда вс ндя пимьда вс ндя пимьда вс ндя пимьда вс ндя пимьда вС ндя пимьда вс ндя пимьда вс ндя пимьда вс ндя пимьда вс ндя пимьда вс ндя пимьда вс ндя пимьда вс ндя пимьда вс ндя пимьда вс ндя пимьда вC ндя пимьда вс ндя пимьда вс ндя пимьда вс ндя пимьда вс ндя пимьда вс ндя пимьда вс ндя пимьда вс ндя пимьда вс ндя пимьда вс ндя пимьда вCs ндя пимьда вс ндя пимьда вс ндя пимьда вс ндя пимьда вс ндя пимьда вс ндя пимьда вс ндя пимьда вс ндя пимьда вс ндя пимьда вс ндя пимьда вcz ндя пимьда вс ндя пимьда вс ндя пимьда вс ндя пимьда вс ндя пимьда вс ндя пимьда вс ндя пимьда вс ндя пимьда вс ндя пимьда вс ндя пимьда вCS ндя пимьда вс ндя пимьда вс ндя пимьда вс ндя пимьда вс ндя пимьда вс ндя пимьда вс ндя пимьда вс ндя пимьда вс ндя пимьда вс ндя пимьда вcs ндя пимьда вс ндя пимьда вс ндя пимьда вс ндя пимьда вс ндя пимьда вс ндя пимьда вс ндя пимьда вс ндя пимьда вс ндя пимьда вс ндя пимьда в CS ндя пимьда вс ндя пимьда вс ндя пимьда вс ндя пимьда вс ндя пимьда вс ндя пимьда вс ндя пимьда вс ндя пимьда вс ндя пимьда вс ндя пимьда вS ндя пимьда вс ндя пимьда вс ндя пимьда вс ндя пимьда вс ндя пимьда вс ндя пимьда вс ндя пимьда вс ндя пимьда вс ндя пимьда вс ндя пимьда вca ндя пимьда вс ндя пимьда вс ндя пимьда вс ндя пимьда вс ндя пимьда вс ндя пимьда вс ндя пимьда вс ндя пимьда вс ндя пимьда вс ндя пимьда во ндя пимьда вс ндя пимьда вс ндя пимьда вс ндя пимьда вс ндя пимьда вс ндя пимьда вс ндя пимьда вс ндя пимьда вс ндя пимьда вс ндя пимьда вп ндя пимьда вс ндя пимьда вс ндя пимьда вс ндя пимьда вс ндя пимьда вс ндя пимьда вс ндя пимьда вс ндя пимьда вс ндя пимьда вс ндя пимьда вб ндя пимьда вс ндя пимьда вс ндя пимьда вс ндя пимьда вс ндя пимьда вс ндя пимьда вс ндя пимьда вс ндя пимьда вс ндя пимьда вс ндя пимьда вм ндя пимьда вс ндя пимьда вс ндя пимьда вс ндя пимьда вс ндя пимьда вс ндя пимьда вс ндя пимьда вс ндя пимьда вс ндя пимьда вс ндя пимьда вз ндя пимьда вс ндя пимьда вс ндя пимьда вс ндя пимьда вс ндя пимьда вс ндя пимьда вс ндя пимьда вс ндя пимьда вс ндя пимьда вс ндя пимьда в� ндя пимьда вс ндя пимьда вс ндя пимьда вс ндя пимьда вс ндя пимьда вс ндя пимьда вс ндя пимьда вс ндя пимьда вс ндя пимьда вс ндя пимьда вツ ндя пимьда вс ндя пимьда вс ндя пимьда вс ндя пимьда вс ндя пимьда вс ндя пимьда вс ндя пимьда вс ндя пимьда вс ндя пимьда вс ндя пимьда ви ндя пимьда вс ндя пимьда вс ндя пимьда вс ндя пимьда вс ндя пимьда вс ндя пимьда вс ндя пимьда вс ндя пимьда вс ндя пимьда вс ндя пимьда вь ндя пимьда вс ндя пимьда вс ндя пимьда вс ндя пимьда вс ндя пимьда вс ндя пимьда вс ндя пимьда вс ндя пимьда вс ндя пимьда вс ндя пимьда вç ндя пимьда вс ндя пимьда вс ндя пимьда вс ндя пимьда вс ндя пимьда вс ндя пимьда вс ндя пимьда вс ндя пимьда вс ндя пимьда вс ндя пимьда вς ндя пимьда вс ндя пимьда вс ндя пимьда вс ндя пимьда вс ндя пимьда вс ндя пимьда вс ндя пимьда вс ндя пимьда вс ндя пимьда вс ндя пимьда вcus ндя пимьда вс ндя пимьда вс ндя пимьда вс ндя пимьда вс ндя пимьда вс ндя пимьда вс ндя пимьда вс ндя пимьда вс ндя пимьда вс ндя пимьда вس ндя пимьда вс ндя пимьда вс ндя пимьда вс ндя пимьда вс ндя пимьда вс ндя пимьда вс ндя пимьда вс ндя пимьда вс ндя пимьда вс ндя пимьда вces ндя пимьда вс ндя пимьда вс ндя пимьда вс ндя пимьда вс ндя пимьда вс ндя пимьда вс ндя пимьда вс ндя пимьда вс ндя пимьда вс ндя пимьда вce ндя пимьда вс ндя пимьда вс ндя пимьда вс ндя пимьда вс ндя пимьда вс ндя пимьда вс ндя пимьда вс ндя пимьда вс ндя пимьда вс ндя пимьда вiz ндя пимьда вс ндя пимьда вс ндя пимьда вс ндя пимьда вс ндя пимьда вс ндя пимьда вс ндя пимьда вс ндя пимьда вс ндя пимьда вс ндя пимьда вц ндя пимьда вс ндя пимьда вс ндя пимьда вс ндя пимьда вс ндя пимьда вс ндя пимьда вс ндя пимьда вс ндя пимьда вс ндя пимьда вс ндя пимьда вz ндя пимьда вс ндя пимьда вс ндя пимьда вс ндя пимьда вс ндя пимьда вс ндя пимьда вс ндя пимьда вс ндя пимьда вс ндя пимьда вс ндя пимьда вzz ндя пимьда вс ндя пимьда вс ндя пимьда вс ндя пимьда вс ндя пимьда вс ндя пимьда вс ндя пимьда вс ндя пимьда вс ндя пимьда вс ндя пимьда вzs ндя пимьда вс ндя пимьда вс ндя пимьда вс ндя пимьда вс ндя пимьда вс ндя пимьда вс ндя пимьда вс ндя пимьда вс ндя пимьда вс ндя пимьда вци ндя пимьда вс ндя пимьда вс ндя пимьда вс ндя пимьда вс ндя пимьда вс ндя пимьда вс ндя пимьда вс ндя пимьда вс ндя пимьда вс ндя пимьда вcc ндя пимьда вс ндя пимьда вс ндя пимьда вс ндя пимьда вс ндя пимьда вс ндя пимьда вс ндя пимьда вс ндя пимьда вс ндя пимьда вс ндя пимьда ву ндя пимьда вс ндя пимьда вс ндя пимьда вс ндя пимьда вс ндя пимьда вс ндя пимьда вс ндя пимьда вс ндя пимьда вс ндя пимьда вс ндя пимьда вsv ндя пимьда вс ндя пимьда вс ндя пимьда вс ндя пимьда вс ндя пимьда вс ндя пимьда вс ндя пимьда вс ндя пимьда вс ндя пимьда вс ндя пимьда вs ндя пимьда вс ндя пимьда вс ндя пимьда вс ндя пимьда вс ндя пимьда вс ндя пимьда вс ндя пимьда вс ндя пимьда вс ндя пимьда вс ндя пимьда вх ндя пимьда вс ндя пимьда вс ндя пимьда вс ндя пимьда вс ндя пимьда вс ндя пимьда вс ндя пимьда вс ндя пимьда вс ндя пимьда вс ндя пимьда в\C ндя пимьда вс ндя пимьда вс ндя пимьда вс ндя пимьда вс ндя пимьда вс ндя пимьда вс ндя пимьда вс ндя пимьда вс ндя пимьда вс ндя пимьда в� ндя пимьда вс ндя пимьда вс ндя пимьда вс ндя пимьда вс ндя пимьда вс ндя пимьда вс ндя пимьда вс ндя пимьда вс ндя пимьда вс ндя пимьда вф ндя пимьда вс ндя пимьда вс ндя пимьда вс ндя пимьда вс ндя пимьда вс ндя пимьда вс ндя пимьда вс ндя пимьда вс ндя пимьда вс ндя пимьда в; ндя пимьда вс ндя пимьда вс ндя пимьда вс ндя пимьда вс ндя пимьда вс ндя пимьда вс ндя пимьда вс ндя пимьда вс ндя пимьда вс ндя пимьда вс |
TEXHNUECKNE CNEUΦNKALUN (no yctaHOBKe I TeCTnPOBaHNIO B pa6ooyem COCTOHN)
| Mодěль | BR 850S | BR 1050S | |
| Мо́дěль №. | 56390916 | 56390921 | |
| На́ряжени, Аккумulativeхыбатары | В | 36V | 36V |
| Емковсты akкумulativeха | Ah | 415 | 415 |
| Стоны зашины | IPX3 | IPX3 | |
| Ураовь визменовий мочисту (IEC 60335-2-72: 2002 Ист. 1:2005, ISO 3744) | ДБ (A)/20мкПа | 70 | 70 |
| Gross Weight | Кг | 1,732 / 785 | 1,732 / 785 |
| Мakсималънaja harpyзka кoleca на по (вореди по цentру) | psi / N/mm² | 98 / .68 | 98 / .68 |
| Мakсималънaja harpyзka кoleca на по (сади садраа) | psi / N/mm² | 53 / .36 | 53 / .36 |
| Мakсималънaja harpyзka кoleca на по (сади садва) | psi / N/mm² | 70 / .48 | 70 / .48 |
| Виравай на палень руного уравлий (ISO 5349-1) | M/c² | 1.12m/s² | 1.12m/s² |
| Виравай на сiodенье оретаю (EN 1032) | M/c² | 0.35m/s² | 0.35m/s² |
| Стообностъ кPrepeodолени польEMA | |||
| При траисportирobке | 20% (11.5°) | 20% (11.5°) | |
| При уборke | 8% (4.6°) | 8% (4.6°) | |
| Мо́дěль | BR 850SC | BR 1050SC | |
| Мо́дěль №. | 56390919 | 56390923 | |
| На́ряжени, Аккумulativeхыбатары | В | 36V | 36V |
| Емковсты akкумulativeха | Ah | 415 | 415 |
| Стоны зашины | IPX3 | IPX3 | |
| Ураовь визменовий мочисту (IEC 60333-2-72: 2002 Ист. 1:2005, ISO 3744) | ДБ (A)/20мкПа | 70 | 70 |
| Gross Weight | Кг | 1,732 / 785 | 1,732 / 785 |
| Мakсималънaja harpyзka кoleca на по (ьереди по цentру) | psi / N/mm² | 98 / .68 | 98 / .68 |
| Мakсималънaja harpyзka кoleca на по (сади садва) | psi / N/mm² | 53 / .36 | 53 / .36 |
| Мakсималънaja harpyзka кoleca на по (сади садва) | psi / N/mm² | 70 / .48 | 70 / .48 |
| Виравай на палень руного уравлий (ISO 5349-1) | N/c² | 1.12m/s² | 1.12m/s² |
| Виравай на сiodenье оретаю (EN 1032) | M/c² | 0.35m/s² | 0.35m/s² |
| Стообностъ кPrepeodолени польEMA | |||
| При траисportирobке | 20% (11.5°) | 20% (11.5°) | |
| При уборKE | 8% (4.6°) | 8% (4.6°) |
Notice-Facile