CI 96I A - Herd und Ofen SCHOLTES - Kostenlose Bedienungsanleitung
Finden Sie kostenlos die Bedienungsanleitung des Geräts CI 96I A SCHOLTES als PDF.
Laden Sie die Anleitung für Ihr Herd und Ofen kostenlos im PDF-Format! Finden Sie Ihr Handbuch CI 96I A - SCHOLTES und nehmen Sie Ihr elektronisches Gerät wieder in die Hand. Auf dieser Seite sind alle Dokumente veröffentlicht, die für die Verwendung Ihres Geräts notwendig sind. CI 96I A von der Marke SCHOLTES.
BEDIENUNGSANLEITUNG CI 96I A SCHOLTES
Bedienungsanleitungen HERD UND OFEN
Inhalt
Bedienungsanleitungen,1
Beschreibung des Geräts-Ubersicht,2
Beschreibung des Geräts-Schalttafel,3 Hilfe,4
HINEISART,8
Installation,69
Inbetriebnahme und Gebrauch,72
Manuelle Garprogramme,73
Inbetriebsetzung und Gebrauch,76
Vorsichtsmaßnahmen und Tipps,80
Pflege und Wartung,82

FR
Beschreibung des Gerätes
Geräteansicht
1 Glaskeramik-Kochfeld
2 Bedienfeld
3 Einschub BACKOFENROST
4 Einschub FETTPFANNE
5 Höhenverstellbarer Stellfuß
6 GLEITFÜHRUNGEN für die Einschübe
7 position 5
8 position 4
9 position 3
10 position 2
11 position 1


Beschreibung des Gerätes DISPLAY
- Symbol PROGRAMME NIEDRIGE TEMPERATUR
- Symboltasten AUTOMATIK-GARPROGRAMME
- Vorheizanzeige
- TURSPERRE Anzeige
- STOPP Symbol
- DAUER Symbol
- GARENDE Symbol
- KURZZEITWECKER Symbol
- UHR Symbol
10.ZEITEN und TEMPERATUR Digit-Anzeige


Beschreibung des Gerätes Bedienfeld
- Reglerknopf PROGRAMME
- DISPLAY
- Drehknopf THERMOSTAT/ ZEITEINSTELLUNG
- Taste PYROLYSE
- Taste ZEITEINSTELLUNG

Assistenza
Attenzione:
Das Gerät ist mit einem Diagnosesystem ausgestattet, dank dem etwaige Betriebsstörungen erfasst werden können. Diese werden auf dem Display durch
Meldungen folgenden Typs angezeigt: "F" gefolgt von Nummern.
In thisem Fall den Kundendienst anfordern.
! Wenden Sie sich nur an autorisierte Techniker.
Geben SieitteFolgendesan:
die genaue Beschreibung des Fehlers
- das Gerätemodell (Mod.)
- die Seriennummer (S/N).
Letztere Informationen können dem Typenschild, dass auf dem Gerät befindet, entnommen werden.
IT
AVVERTENZA
ZUR BEACHTUNG: Bei Gebrauch wird these Gerät und alle zugänglichen Teile sehr heißt. Es ist darauf zu achten, dass die Heizelemente nicht berührt werden. Kinder unter 8 Jahren, die nicht ständig beaufsichtigt sind, von dem Gerät fernhalten. Das Gerätarf von Kindern ab 8 Jahren und Personen mit eingeschränkten körperlichen, geistigen oder Wahrnehmungsfähigkeiten oder aber ohne ausreichende Erfahrung und Kenntnis verwendet werden, vorausgesetzt sie werden ausreichend überwacht oder sie wurden in den sicheren Gebrauch des Geräts eingewiesen und haben eine ausreichende Wahrnehmung der mit dem Gebrauch des Geräts verbundenen Gefahren. Erlauben Sie Kindern nicht, mit dem Gerät zu playen. Reinigungs- und Wartungsarbeiten dürfen nicht von unbewachten Kindern ausgeführht werden.
ZUR BEACHTUNG: Lassen Sie keine Fette oder Ole unbewacht auf dem Herd stehen. Das ist gefährlich und kann einen Brand verursachen. NIEMALS eine Flamme/Brandherd mit Wasser loschen. Schalten Sie das Gerät aus und ersticken Sie die Flamme mit einem Deckel oder einer feuerfesten Decke. Verwenden Sie zur Reinigung der Glastür des Backofens keine Scheuermittel oder scharfkantige Metallspachtel, um die Oberfläche nicht zu zerkratzen und so das Zerspringen des Glases zu verursachen.
Die internen Flächen des Geschirrwagens (falls vorhanden) können äußert sein werden. Vor der Aktivierung der Selfstreinigungsfunktion:
- Reinigen Sie die Backofentür
Größere Speisereste aus dem
Backofeninneren mit einem feuchten Schwamm entfernen. Keine Reinigungsmittel verwenden.
-
Entfern den Sie alle Zubehore und den Gleitschienen-Bausatz (wenn vorhanden);
-
Etwaige Geschirrtücher oder Topflappen vom Backofengriff entfern.
Während der automatischen Reinigung konnen einzeln Ofenteile sehr heißt werden. Kinder sind daher vom Backofen fernzuhalten. Verwenden Sie zur Reinigung des Kochfeldes keine Dampf- oder Hochdruckreinigungsgeräte. Trocknen Sie eventuell auf der Herdabdeckung befindliche Flüssigkeiten, bevor Sie sie aufklappen. Schließen Sie die Glasabdeckung (falls vorhanden) nicht, wenn die Gasbrenner oder die Elektroplatte noch heißt sind. ZUR BEACHTUNG: Versichern Sie sich, dass das Gerät ausgeschaltet ist, bevor Sie die Lampe austauschen. Stromschlaggefahr.
ZUR BEACHTUNG: Die Verwendung ungeeigneter Schutzvorrichtungen kann Unfälle verursichen.
GESCHIKTE MATERIALEN


ONGESCHIKTE MATERIALEN
Aluminium, Glas, Terracotta,
Aardewerk, Niet magnetisch roestvrij staal
! Bewahren Sie diese Bedienungsanleitungitte sorgfältig auf, damit Sie sie jederzeit zu Rateziehen konnen. Sorgen Sie davon, dass sie im Falle eines Verkaufs, einer Übergabe oder eines Umzugs das Gerät stets begleitet.
! Lesen Sieitte die nachfolgenden Hinweise aufmerksam durch: sie liefern wichtige Informationen hinsichtlich der Installation, des Gebrauchs und der Sicherheit.
! Die Installation des Gerätes ist gemäß den vorliegenden Anweisungen von Fachpersonal durchzuführn.
!Jeder beliebige Eingriff zur Einstellung oder Wartung darf nur dann vorgenommen werden, wenn der Herd zuvor von der Stromversorgung getrennt wurde.
Aufstellung und Ausrichtung
! Das Gerät kann abide Schränken installiert werden, deren Höhe die der Kochfläche nicht überschreitet.
! Vergewissern Sie sich, dass die mit der Rückwand des Herdes in BerührungCOMMende Wand aus nicht entzündbarem Material beschaffen und wärmeresistent ist (T 90^ ).
Beachten Sie Folgendes zur korrekten Installation des Gerätes:
- Das Gerät kann in der Küche, im Esszimmer oder in einer Einzimmerwohnung (jedoch nicht im Bad) installiert werden.
- Ist die Kochfläche des Herdes höher als die der Schranke, sind diese in einem Mindestabstand von 600 mm vom Gerät aufzustellen.

- Sollte der Herd unter einem Hängeschrank installiert werden, ist letzterer in einem Mindestabstand von 420 mm von der Arbeitsfläche anzubringen. Sollten die Hängeschranke aus entzündbarem Material geschaffen sein, muss
der Abstand 700 mm betragen (siehe Abbildung).
- Bringen Sie keine Vorhänge hinter dem Herd oder in einem Seitenabstand von weniger als 200 mm an.
Eventuelle Dunstabzugshauben sind gemäß den in
den Bedienungsanleitungen der Dunstabzugshaube

aufgeführten Anweisungen zu installieren.
Nivellieren
Sollte es erforderlich sein, das Gerät eben auszurichten, schrauben Sie die mitgelieferten, hohenverstellbaren Stellfübe an den darauf in den Ecken des Herdbodens vorgesehenen Stellen ein (siehe Abbildung).
Die Stellfübe* werden unter dem Herdboden eingesteckt.

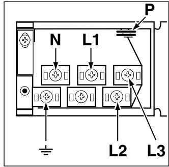
Elektroanschluss
Verlagen des Netzkabels
Öffnen des Klemmengehauses:
- Heben Sie unter Zuhlifnahme eines Schraubenziehers die weltlichen Zungen des

Klemmengehausedeckels an.
- Ziehen Sie den Deckel des Klemmengehäuses ab.


Verlegen Sie nun das Versorgungskabel wie folgt:
- Schrauben Sie die Schraube der Kabelklemme sowie die der Kontakte aus.
! Die Brücken sind werkseitig für einen 230V-Einphasenstrom-Anschluss vorgesehen (siehe Abbildung)
- Für den elektrischen Anschluss gemäß der Abbildungen verwenden Sie die im Gehäuse (siehe Abbildung Bezug „P“) befindlichen Brücken


400V 2N~ H05RR-F 4x4 CEI-UNEL 35363 H05VV-F 4x4 CEI-UNEL 35746

400V 3N~ H05RR-F 5x2.5 CEI-UNEL 35363 H05VV-F 5x2.5 CEI-UNEL 35746
- Befestigen Sie das Versorgungskabel in der entsprechenden Kabelklemme und schreiben Sie den Deckel.
Anschluss des Versorgungskabels an das Stromnetz
Versehen Sie das Kabel mit einem Normstecker für die auf dem am Gerät angebrachten Typenschild angegebene Belastung (siehe Tabelle Technische Daten). Wird das Gerät direkt an das Stromnetz angeschlossen, ist zwischen Stromnetz und Gerät ein allpoliger, der Last und den inländischen Vorschriften entsprechender Schalter mit einer Mindestöffnung der Kontakte von 3 mm zwischenzuschalten. (Der Erdleiter darf vom Schalter nicht unterbrochen werden.) Das Versorgungskabel muss so verlegt werden, dass es an keiner Stelle einer Temperatur ausgesetzt ist, die 50^ über der Raumtemperatur liegt.
Vor dem Anschluss stellen Sieitte)sicher,dass:
-
die Netzsteckdose geerdet ist und den gesetzlichen
-
Nur an einigen Modellen
Bestimmungen entspricht.
- die Netzsteckdose für die auf dem Typenschild angegebene maximale Leistungsaufnahme des Gerätes ausgelegt ist;
- die Netzspannung im Bereich der auf dem Typenschild angegebenen Werte liegt;
- die Steckdose mit dem Netzstecker kompatibel ist. Die Steckdose oder den Netzstecker anderenfalls austauschen. Keine Verlängerungen und Mehrfachsteckdosen verwenden.
! Das Netzkabel und die Steckdose müssen bei installiertem Gerät leicht zugänglich sein.
!DasNetzkabeldarnt nichtgebogenodereingklemmt werden.
! Das Netzkabel muss regelmäßig kontrolliert werden und dart nur durch autorisiertes Fachpersonal ausgetauscht werden.
! Der Hersteller weist jegliche Verantwortung darüber, falls diese Vorschriften nicht eingehalten werden sollenn.
Typenschild, ist in der Innenseite der Klappe befindet, oder, nachdem der Ofenkammer geöffnet worden ist, auf der linken Wand im Inneren des Ofens gezeigt angepasst werden.
| LABELLE DER EIGENSCHAFTEN | |
| Backofen-Abmessungen (HxBxT): | 32x43,5x40 cm |
| Nutzvolumen | Liter 57 |
| Nutzabmessungen des Geschirrwagens: | Breite 42 cmTiefe 44 cmHöhe 8,5 cm |
| Versorgungsspannung und -frequenz: | siehe Typenschild |
| ENERGY LABEL | Richtlinie 2002/40/EGEnergieetikettierung fürElektrobacköfen Norm EN50304Energieverbrauch NatürlicheKonvektion - Heizfunktion:Ober-UnterhitzeEnergieverbrauch Umluft -Heizfunktion:Braten |
| CE | EG-Richtlinien: EG-Richtlinien:2006/95/EG vom 12.12.06(Niederspannung) undnachfolgende Änderungen -2004/108/EG vom 15.12.04(electromagnetischeVerträglichkeit) undnachfolgende Änderungen -90/396/EWG vom 29.06.90(Gas) und nachfolgendeÄnderungen- 93/68/EWG vom22.07.93 und nachfolgendeÄnderungen - 2002/96 /EG1275/2008 (Stand-by/Off mode) |
Bedienblende Kochfeld
DE

- Taste ERHÖHEN DER LEISTUNG: Zum Einschalten sowie zur Leistungsregelung der Kochzone (siehe Inbetriebsetzung und Gebrauch).
- Taste HERABSETZEN DER LEISTUNG: Zur Leistungsregelung sowie zum Ausschalten der Kochzone (siehe Inbetriebsetzung und Gebrauch).
- Kontrollleuche GEWÄHLTE KÖCHZONE: Diese zeigt an, dass die der Kontrollleuche entsprechende Kochzone gewählt wurde und die gewünschten Einstellungen demnach vorgenommen werden können.
- Taste WAHL DER KOCHZONE: Mittels dieser wird die gewünschte Kochzone gewählt.
- LEISTUNGSANZEIGE: Auf dieser ist der jeweils erreichte Heizwert ersichtlich.
- Taste ON/OFF: Zum Ein- bzw. Ausschalten des Gerätes.
- Kontrollleuche ON/OFF: Diese zeigt an, ob das Gerät ein- oder ausgeschaltet ist.
- Taste PROGRAMMIERUNGSTIMER*: Mittels dieser Taste kann die für jeder Kochzone jeweils programmierte Zeit reguliert werden (siehe Inbetriebsetzung und Gebrauch).
-
Display PROGRAMMIERUNGSTIMER*: Auf diesen Display werden die jeweils programmierten Zeiten angezeigt (siehe Inbetriebsetzung und Gebrauch).
-
Kontrollleuchten PROGRAMMIERTE KOCHZONE*: These zeigen die Kochzonen an, die programmiert wurden (siehe Inbetriebsetzung und Gebrauch).
- Taste SPERRE DER SCHALTELEMENTE: Um versehentliche Änderungen der am Kochfeld erfolgten Einstellungen zu verhindern (siehe Inbetriebsetzung und Gebrauch).
- Kontrollleuchte SCHALTELEMENTE GESPERRT: Diese signalisiert, dass die Schaltelemente gespert wurden (siehe Inbetriebsetzung und Gebrauch).
- Taste BOOSTER*: Mittels dieser kann die Kochzonenleistung auf 3000 W erweitert werden (siehe Inbetriebsetzung und Gebrauch).
- Kontrolleuchte BOOSTER*: besteht an, dass die Booster-Funktion eingeschaltet ist
-
Kontrolleuchte KURZZEITWECKER*: Diese signalisiert, dass der Kurzzeitwecker lauft
-
Nur bei einigen Modellen
Inbetriebsetzung und Gebrauch
Uhr einstellen
! Die Uhr kann bei ausgeschalteten und auch bei eingeschalteten Backofen eingestellt werden, jedoch nicht, wenn das Ende einer Garzeit programmiert wurde.
- Die Taste wiederholt drucken, bis auf dem DISPLAY das Symbol und die ersten zwei numerischen Digitalanzeigen blinken.
- Drehen Sie den Knopf ZEITEINSTELLUNG in Richtung “+” und “-”, um die Stunden einzustellen.
- Drücken Sie erneut die Taste , bis auf dem DISPLAY die{nachsten zwei Digit-Anzeigen blinken.
- Drehen Sie den Knopf ZEITEINSTELLUNG in Richtung "+" und "-", um die Minuten einzustellen.
- Drücken Sie erneut die Taste , um die Eingabe zu bestätigen.
Einstellung des Kurzzeitweckers
! These Funktion beeinflusst weder den Garvorgang, noch den Gebrauch des Backofens. Sie weist ausschließlich durch ein akustisches Signal darauf fin, dass die eingestillten Minuten abgelaufen sind.
- Die Taste wiederholt drücken, bis auf dem DISPLAY das Symbol und die drei numerischen Digitalanzeigen blinken.
- Drehen Sie den Knopf ZEITEINSTELLUNG in Richtung "+" und "-", um die Minuten einzustellen.
- Drücken Sie erneut die Taste , um die Eingabe zu bestätigen.
Daraufhin wird das Count-down angezeigt, nach dessen Ablauf ein akustisches Signal ertont.
Gebrauch des Backofens
!Vor Gebrauch müssen unbedingt die seitlich am Gerät angebrachten Kunststofffilme abgenommen werden.
! Bei erstmaliger Inbetriebnahme sollen der leere Backofen für etwa eine Stunde bei Höchsttemperatur und geschlossener Backofentür in Betrieb genommen werden. Das Gerät danach ausschalten, die Backofentür öffnen und die Küche lüften. Der bei thisem Vorgang erzeugte Geruch entsteht durch die Verflüchtigung der zum Schutz des Backofens aufgetragenen Stoffe.
- Das gewünschte Garprogramm über den Drehschalter PROGRAMME auswahlen.
- Der Backofen schaltet auf Vorheizen. Die Vorheiz-Anzeige leuchtet auf.
Die Temperatur kann mithilfe des Drehschalters THERMOST abgeändert werden. - Sobald die Vorheizzeit-Anzeige . . . erlischt, ertont
ein akustisches Signal. Die Vorheizzeit ist abgelaufen: Gargut in den Backofen geben.
4. Wahlrend des Garvorgangs sind folgende Einstellungen jederzeit möglich:
- Ändern des Garprogramms über den Drehschalter PROGRAMME.
- Andern der Temperatur über den Drehschalter THERMOSTAT.
- Programmieren der Dauer und des Garendes (siehe Garprogramme).
- Unterbrechen des Garvorgangs durch das Drehen des Drehschalters PROGRAMME auf Position „0".
5. Die Garzeitdauer kann verändert werden (siehe Garprogramme).
6. Das Gerät ist mit einem System ausgestattet, das im Falle eines Stromausfalls das Programm wieder an dem Punkt aktiviert, an dem es unterbrochen wurde (wenn die Temperatur im Backofen nicht zu stark abgesunden ist). Noch auszuführende, vorprogrammierte Vorgänge werden hingegen bei der Wiederherstellung der Stromversorgung nicht berücksichtigt und sind neu zu programmieren.
! Bei den Programmen BRATEN und GRILL ist keine Vorheizphase vorgesehen.
! Zur Vermeidung einer Beschädigung der Beschichtung nie Kochgeschirr auf dem Backofenboden positionieren.
!Das Kochgeschirr stets auf dem mit dem Gerät gelieferten Backofenrost abstellen.
Kuhl Luftgeblase
Um die Temperaturen an den äußeren Teilen des Backofens abzuseken, wird mit Hilfe eines Kühlluftgebläses ein Luftstrahl erzeugt, der zwischen dem Bedienfeld und der Backofentür austritt. In der Anfangsphase eines PYROLYSE-Programms arbeitet das Geblase auf einer niedrigen Geschwindigkeitsstufe.
! Nach Abschluss des Garvorgangs bleibt das Geblase solange in Betrieb, bis der Backofen ausreichend abgekühlt ist.
Backofenbeleuchting
Bei ausgeschaltetem Backofen kann das Backofenlicht jederzeit durch das Öffnen der Backofentür eingeschaltet werden.

! Beim Einsetzen des Rosts darauf auf achten, dass sich die Arretierung im hinteren Bereich befindet (siehe Abbildung).
- Nur an einigen Modellen
Manuelle Garprogramme
! Alle Programme verfügen über eine voreingestellte
Gartemperatur. Diese kann manuell auf einen beliebigen Wert zwischen 40^ und 250^ eingestellt werden.
Bei dem Programm DREHSPIESS ist der voreingestellte Wert 270^ .

Programm TRADITIONELL
Bei dieser traditionellen Garart verwenden Sieitte nur eine Einschubhöhe.

Programm ECHTE HEISSLUFT
Da die Hitze im gesamtten Backofen konstant ist, werden die Speisen sehr gleichmäßig gegart und gebräunt. Es kann auf maximal zwei Einschubhöhen gleichzeitig gegart werden.

Programm BRATEN
Die einseitige Strahlungshitze wird im Inneren des Backofens mit Umluft kombiniert.
Hierdurch wird ein Verbrennen der Speiseoberflächen verhindert und die Hitze dringt tiefer in die Speisen ein. Diese Garart bei geschlossener Backofentür durchführten.

Programma DREHSPIESS
These Funktion wurden für das Garen mit dem Drehspiegel optimiert. Garen Sie bei geschlossener Backofentür.

Programme NIEDRIGE TEMPERATUR
These Programme eigenen sich zum Gären von Hefeteigen, zum Auftauen von Gefriergut, zur Bereitung von Yoghurt, zum mehr oder weniger schllen Aufheizen, zum langsamen Garen bei niedriger Temperatur. Folgende Temperaturen können eingestellt werden: 40, 65, 90^ .

DrehspieB
Zur Inbetriebnahme des Drehspiebes (siehe Abbildung) verfahren Sie wie folgt:
-
Schieben Sied die Fettpfanne auf Einsatzböhne 1 ein
-
Schieben Sie die Drehspielehalterung auf Einsatzböhne 3 ein und
stecken Sie den Spiegel in die entsprchende Öffnung der Backofenrückwand;
- Setzen Sie den Drehspieß durch Wahl der Symboltaste

in Betrieb.
! Ist das Programm eingeschaltet, stoppt der Drehspieß, wenn die Tür geöffnet wird.
Automatik-Garprogramme
! Temperatur und Garzeitdauer sind vorbestimmt und durch das System C.O.P.® (Cottura Ottimale Programmata
- Programmierte optimale Garzeit) unveränderlich. Somit wird ein perfektes Ergebnis garantiert. Der Backvorgang wird automatisch unterbrochen; der Backofen signalisiert, wenn das Backgut gar ist. Die Garzeit kann um eine Minute verändert werden, wie nachfolgend in der Beschreibung der einzelnen Funktionen angegeben.

Programm RINDERBRATEN
Verwenden Sie diese Funktion für Kalbs-, Schweine- und Lammlbraten. Schieben Sie das Gargut in den kalten Ofen. Es kann jederoch auch in den vorgeheizten Backofen gegeben werden. Nur die Gardauer kann um -20/+25 Minuten verändert werden.

Programm PIZZA
Benutzen Sie diese Funktion zum Backen von Pizzen. Befolgen Sie das angeführte Rezept sowie die Details. Nur die Gardauer kann um -5 / + 5 Minutes verändert werden. Für optimale Ergebnisse befolgen Sieitte aufmerksam die nachfolgend aufgeführten Anweisungen:
- Halten Sie sichitte an das Rezept.
- Der Teig muss zwischen 500 g und 700 g wiegen.
- fetten Sie die Fettpfanne und die Backbleche möglich ein. Schieben Sie das Gargut in den kalten Ofen. Mochtte man das Gargut in den vorgehizten Ofen geben, nachdem er für eine andere Zubereitung bereits hohe Temperaturen erreicht hat, dann zeigt das Display den Hinweis "Hot" bis die Temperatur des Backofens die 120^ erreicht hat. Nun kann die Pizza in den Ofen gegeben werden.
PIZZAREZEPT:
1 Backblech, untere Einschubhöhe, bei kaltem oder vorgeheiztem Backofen
Rezept für 3 Pizzen mit etwa 550 g: 1000 g Mehl, 500 g Wasser, 20 g Salz, 20 g Zucker, 10 cl Olivenöl, 20 g frische Hefe (oder zwei Tüchen Instanthefe)
- Aufgehen bei Raumtemperatur: 1 Stunde oder manuelle Betriebsart NIEDRIGE TEMPERATUR bei 40^ und etwa 30/45 Minuten gehen halten.
- Schieben Sie das Gargut in den kalten Ofen.
- Starten Sie das Garprogramm PIZZA.

Programm BROT
Für optimale Ergebnisse befolgen Sieitte aufmerksam die nachfolgend aufgeführten Anweisungen:
- Halten Sie sichitte an das Rezept.
- Berücksichtigten Sie das Maximalgewicht pro Backblech.
- Vergessen Sieitte nicht,1dl kaltes Wasser auf die aufEinschubhöhe5eingeschobeneFettpfanne zu geben.
Schieben Sie das Gargut in den kalten Ofen. Mochtte man das Gargut in den vorgeheizten Ofen geben, nachdem er für eine andere Zubereitung bereits hohe Temperaturen erreicht hat, dann zeigt das Display den Hinweis "Hot" bis die Temperatur des Backofens die 40^ erreicht hat. Nun kann das Brot in den Ofen gegeben werden.
BROTREZEPT:
1 Backblech mit 1.000g max., untere Einschubhöhe
Rezept für 1000g Teig: 600 g Mehl, 360g Wasser, 11g Salz, 25 g frische Hefe (oder zwei Tüchten Instanthefe)
Vorgang:
- Vermischen Sie Mehl und Salz in einem großen Behälter.
- Losen Sie die Hefe in leicht lauwarmem Wasser (circa 35 Grad) auf.
- Drücken Sie eine Mulde in das Mehl.
- Geben Sie das Gemisch aus Wasser und Hefe hinein.
- Kneten Sie das Ganze, bis ein homogener und nur leicht klebriger Teig entsteht. Platten Sie hierfür den Teig mit dem Handballen und kneten Sieihn dann wieder zusammen (für ca. 10 Minuten).
- Formen Sie eine Kugel und geben Sie den Teig in eine Schüssel. Decken Sie den Teig mit Frischhaltefolie ab, damit er an der Oberfläche nicht austrocknet. Geben Sie die Schüssel in den auf manuelle Betriebsweise NIEDRIGTEMPERATUR 40^ geschalteten Backofen, und halten Sie den Teig für ungebär 1 Std. gehen (bis der Teig das doppelte Volumen erreicht hat).
- Teilen Sie den Teig, so dass Sie mehrere Brote erhalten.
- Geben Sie diese auf ein mit Backpapier ausgelegtes Backblech.
Bestauben Sie die Brote mit Mehl.
Schneiden Sie die Brote ein. - Vergessen Sieitte nicht,1dl kaltes Wasser auf die auf Einschubhöhe 5 eingeschobene Fettpfanne zu geben..
Zur Reinigung raten wir die Verwendung von Wasser und Essig.
- Schieben Sie das Gargut in den kalten Ofen.
- Starten Sie das Garprogramm BROT.
- Legen Sie die Brote nach dem Garvorgang auf ein Gitter, damit sie komplett abkühlen können.

Programm KUCHEN
These Funktion ist ideal für die Zubereitung von Kuchen. Schieben Sie das Gargut in den kalten Ofen. Es kann jeder auch in den vorgehizten Backofen gegeben werden. Nur die Gardauer kann um -10 / + 10 Minutes verändert werden.
Garzeit programmieren
! Die Programmierung ist nur nach der Festlegung eines Garprogramms möglich.
Programmieren der Garzeit-Dauer
- Drücken Sie mehrmals die Taste , bis auf dem DISPLAY das Symbol und die drei Digit-Anzeigen blinken.
- Drehen Sie den Knopf ZEITEINSTELLUNG in Richtung "+" und "-", um die gewünschte Zeit einzustellen.
- Drücken Sie erneut die Taste um die Eingabe zu bestätigten;
- Nach Ablauf der Zeit zeigt das DISPLAY die Anzeige END an. Der Backofen schließ den Garvorgang ab und das akustische Signal wird aktiviert.
- Beispiel: Es ist 9.00 Uhr. Programmierte Garzeit: 1 Std. und 15 Min. Das Programm stoppt automatisch um 10:15 Uhr.
Programmierung eines Garzeitendes
! Das Ende einer Garzeit kann nur dann programmiert werden, wenn auch eine Garzeitdauer eingestellt wurde.
- Die zum Einstellen der Programmdauer beschriebenen Schritte von 1 bis 3 durchführten.
- Drücken Sie daraufufhin die Taste , bis auf dem DISPLAY das Symbol und die zwei Digit-Anzeigen blinken.
- Drehen Sie den Knopf ZEITEINSTELLUNG in Richtung "+" und "-", um die Stunden einzustellen.
- Drücken Sie erneut die Taste , bis auf dem DISPLAY die nachsten zwei Digit-Anzeigen blinken.
- Drehen Sie den Knopf ZEITEINSTELLUNG in Richtung “+” und “-”, um die Minuten einzustellen.
-
Drücken Sie erneut die Taste , um die Eingabe zu bestätigten.
-
Nach Ablauf der Zeit zeigt das DISPLAY die Anzeige END ar Der Backofen schliebt den Garvorgang ab und das akustische Signal wird aktiviert.
-
Beispiel: Es ist 9:00 und es wird eine Dauer von 1 Std. und 15 Min. sowie das Programmende für 12:30 Uhr vorprogrammiert. Das Programm startet um 11:15:00 automatisch.
Die eingeschalteten Symbole und sind ein Zeichen damit, dass eine Programmierung durchgefuhrt worden ist.. Das DISPLAY gibt das Garende und die Garzeit in Wechselfolge wieder. Die Programmierung kann durch das Drehren des Drehschalters PROGRAMME auf Position „0“ rückgangig gemacht werden.
Praktische Tipps
! Verwenden Sie beim HeiBluftgaren nicht die Einschubhöhen 1 und 5. Sie sind der HeiBluft zu direkt ausgesetzt, wodurch empfindliche Gerichteleitung verbrennen können.
! Setzen Sie beim Garen mit den Programmen DREHSPIESS und BRATEN die Fettpfanne zum Auffangen von abtropfendem Fett oder Fleischsaft auf Einschubhöhe 1 ein.
ECHTE HEISSLUFT
- Die Einschubhöhen 2 und 4 verwenden, wobei Höhe 2 für die Speisen verwendet werden sollente, die einer größeren Hitze bedürfen.
- Die Fettpfanne in dieunte und den Rost in die obere Führung einfahren.
PIZZA
- Verwenden Sie eine Leichtmetallform und stellen Sie diese auf den mitgelieferten Rost. Bei Verwendung der Fettpfanne wird die Garzeit verlangert, und man wird kaum eine knusprige Pizza erhalten.
- Bei reich belegten Pizzen ist esratsam, den Mozzarella erst nach Verstreichen der halben Backzeit hinzuzugegeben.
| VORSEHEN | HAUPTGERICHE | BEISPIELE | FUNKION | TEMPERATUR | UNTERLAGE |
| Plum-Cake (gesalzen) | Plum-Cake mit Oliven, Thunfisch usw. | Kuchen oder Heilflut | 160 °C | Form auf Backblech | |
| Pikante Kuchen | Pikante Kuchen mit Käse, Lachspasteten usw. | Kuchen oder Heilflut | 200 °C | a/ Backblech | |
| Terrinen | Fisch-, Fleisch-, Gemüseterrinen usw. | Ober-Unterhize | 160 °C | Terrinenorm auf Backblech (Wasserbad mit bereits heißen Wasser) | |
| Gerichte in kleinen Formen | Geflügelleberpastete, Lachspüree usw. | Ober-Unterhize | 160 °C | Formen auf Backblech (Wasserbad mit bereits heißen Wasser) | |
| Soufflé | Aufläufe mit Käse, Gemüse, Fisch usw. | Heilflut | 200 °C | Form auf Backblech | |
| GEMÜSE/REISGERICHE | Überbackenes (allg.) | Kartoffelgratin, Lasagne usw. | Gratin (oder Braten) | 200-210 °C | Gefäß a/Backblech |
| Gefülltes Gemüse | Kartoffeln, Tomateb, Zucchini, Wiring usw. | Heilflut | 200 °C | a/ Backblech oder Backform auf Backblech | |
| Geschmertes Gemüse in der Casserolle (mit Deckel) | Möhren, Weißwurzel, Kopfsalat usw. | Ober-Unterhize | 200 °C | Casserolle auf Backblech | |
| Flan | Pizflan, Gemüsefrrikadellen usw. | Ober-Unterhize | 160 °C | Formen auf Backblech (Wasserbad mit bereits heißen Wasser) | |
| Terrinen | Gemüse-Terrinen | Ober-Unterhize | 160 °C | Formen auf Backblech (Wasserbad mit bereits heißen Wasser) | |
| Soufflé | Spargel, Tomatensoufflé usw. | Heilflut | 200 °C | Form auf Backblech | |
| Pasteten | Gemüsepasteten usw. | Heilflut | 200 °C | a/ Backblech | |
| Fisch in Alufolie | Trüffel usw. | Heilflut | 200 °C | Alufolie auf Backblech | |
| Reis | Reis Pilaf | Ober-Unterhize | 180 °C | Form auf Backblech |
| FLEICH | GARGUT | BEISPIELE | FUNKTION | TEMPERATUR | UNTERLAGE |
| Geflügelbraten | Huhn, Hühnen, Ente, Kapaun | Braten | 200 °C | Geflügel a/Backofenrost | |
| Geflügel a/Spieß | Huhn, Hühnen | Drehspfeß | 270 °C | Drehspießalterung | |
| Braten | Schweine-, Kalbs-, Putenbraten, Rostbeef, Lammkeule, gefüllte Kalbsbrust usw. | Braten | 200 °C | Feisch auf Backofenrost | |
| Geschmortes Fleisch am Stück | Geschmorte Lammkeule (ganz), großer Kappa der Truthahn usw. | Heißluft | 180° (nach einem Dritter der Bratzheit auf 160°C herunterschalten) | Fleisch a/Backblech in regelmäßigen Abständen mit Bratenaft beg|iessen | |
| Fleisch Sauté in Casserolle und traditionelle Gerichte | Rindsschmorbbraten, Kaninchen, Kalbsgoulasch „Marengo“, Lammlfleisch mit Kartoffeln, Huhn mit Paprikaschooten usw. | Statisch | 190 °C | Casserolle auf Backblech | |
| Gegrilltes | Steak, Kotelett, Bratwurst, Spißchen, Hühnerschenkel usw. | Heißluft | 200 °C | auf Backofenrost (Einschuhböhe je nach Größe) | |
| Fleisch im Teigmantel | Rindfleischfillet „Wellington“, Keule im Teigmantel usw. | Heißluft | 200 °C | Auf dem Backblech (bei großen Stücken die Temperatur auf 160°C herunterschalten, wenn der Teigmantel gar ist) | |
| Fleisch im Salzeig-Mantel | Geflügel in Salzteig usw. | Heißluft | 240 °C | Fleisch auf Backblech oder Behättinis auf Backblech | |
| FISCH | Gegrillter Fisch und Späßchen | Seebarsch, Makrele, Sardinen, Seebarbe, Thunfisch usw. | Heißluft | 180 °C | auf Backofenrost (Einschuhböhe je nach Größe) |
| Ganziische (gefüllt) | Goldbrasse, Karpfen usw. | Heißluft | 200 °C | Backblech | |
| Fischfillet (mit Zusatz von Wein oder anderen Flüssigkeiten) | Lachs, Drachenkopf, Kabeljau, Seebarsch usw. | Statisch | 200 °C | Backblech | |
| Fisch in Alufolie | Sezungune, Limande, Jakobsmuscheln usw. | Heißluft | 200 °C | Backblech | |
| Fisch im Teigmantel (blätterteig oder Mürbeteig)PASTEN (blätterteig oder Mürbeteig) | Lachs, Späßchen usw. | Heißluft | 200 °C | Backblech | |
| Überbackener Fisch | Gratinierter Kabeljau usw. | Gratin (oder Braten) | 200-210 °C | Gefäß auf Backblech | |
| Soufflé | Muscheln usw. | Heißluft | 200 °C | Form auf Backblech | |
| Fisch im Salzteig-Mantel | Kabeljau, Karpfen usw. | Heißluft | 240 °C | Fisch auf Backblech oder Gefäß auf Backblech |
Tabelle Garen im Backofen
| HAUPTGERICHE | BEISPIELE | FUNKTION | TEMPERATUR | UNTERLAGE | |
| GEBÄCK | Plätzchen (ohne Hefe) | Biskuit, Löffelbiskuit, versch. Platzchen, Brownsies | 200 °C | Form auf Backblech | |
| Käsekuchen | 200 °C | Form auf Backblech | |||
| Kuchen mit Hefteig | Süße Kuchen, Streuselkuchen mit Obst | 180 °C | Form auf Backblech | ||
| Teigböden für Torten (Sandteig) | Torten mit frischem Obst (Erdbeeren, Himbereren usw.) | 180 °C | Backoffeform /Backblech(Trockenbohen aufKuchenteig) | ||
| Pasteten (Blätterteig oder Mühbeteil) | Birnenpasteten usw. | 220 °C | Form auf Backblech | ||
| Kleines Gebäck | Brandteiggebäck (Windbeutel), versch. Gebäck, Bigné, Saint- Honoré-Torte usw. | 190 °C | a/ Backblech | ||
| Kleines Konditorel-Gebäck (mit Hefe) | Croissants, Süße Küchlein, Brioche ohne Fülllung, kl. Savarinsuw. | 180 °C | a/ Backblech | ||
| Großes Konditorel-Gebäck (mit Hefe) | Gugelhopf, Christstollen, Süßes Brot, Brioche ... | 160 °C | Backblech oderBackform aufBackblech | ||
| PIU KITCHEN KIENES GEBÄCK | Plätzchenieleg | Gebäck in Papierformen, Löffelkuchen usw. | 180 °C | a/ Backblech | |
| Sandteig | Mühbetegleiplazchen, Spritzgebäck, Kekse usw. | 200 °C | a/ Backblech | ||
| Blätterteiggebäck | Versch. Blätterteigebäck | 200 °C | a/ Backblech | ||
| Mandelgebäck, Kokoskugeln | Mandelgebäck mit Koscosnuss oder Manneldetek | 180 °C | a/ Backblech | ||
| Hefteig | Mini-Brioche, Mini-Croissants usw. | 180 °C | a/ Backblech | ||
| Weîfe Baisers | 70 °C | a/ Backblech | |||
| Gebrachte Baisers | 110 °C | a/ Backblech | |||
| SÜSSPEISEN | Pudding | Reispudding, Brotpudding usw. | Kuchen oderHeiluft | 190 °C | Form auf Backblech |
| Cremes und Eierspeisen, Griespudding | Karamellpudding, Creme Brulee, Schokoladenflan usw. | 160 °C | Formen in Fettpanne(Wasserbad inFettpanne) | ||
| Süße Reispeisen | Versch. Reisspeisen | 180 °C | Form auf Backblech | ||
| Soufflé | Soufflé mit Likör, Obst usw. | 200 °C | Form auf Backblech | ||
| OBST | Gefülltes Obst oder Obst in Alulofle | Bratäpfel usw. | Heiluft | 200 °C | Backform bzw. Alulofleauf Backblech |
| VERSCHIEDNES | HAUPTGERICHE | BEISPIELE | FUNKTION | TEMPERATUR | UNTERLAGE |
| Yoghurt | NIEDRIGE TEMPERATUR | 40 °C | Kleine Form a/Backblech | ||
| Trockenobst | Trockenobst, Trockenplize oder Trockengemüse in Schelben usw. | NIEDRIGE TEMPERATUR | 65 °C | auf Backofenrost |
Automatik-Garprogramme
| Funktion | Empfohlerer Garvorgang für ... | BEISPIELE | UNTERLAGE | EinschubhöheFettpfanne/Backblech | Garzeit(Minuten) | Einschieben | |
| Rinderbra ten | Braten | Kalbsbraten | auf Fettpfanne oder Form | 2 | kalt | ||
| Schweinebraten | |||||||
| Brathträchen | |||||||
| Lammkeule | |||||||
| Kuchen | Plum-Cake und Pfundkuchen(mit Backpulver) | Plum-Cake mit Obst,Marmorkuchen, Pfundkuchen usw. | Form auf Backofenrost | 2 | 45** | kalt | |
| Obstkuchen (Mürbetaei der Blätterteig, mit oder ohne Guss) | Apfel-, Mirabellen-, Birnenkuchen usw. | Form auf Backofenrost | 2 | ||||
| Blätterteiggebäck | Apfeltafaschen,Gemusekuchen, Pasteten usw. | a/ Backblech | 2 | ||||
| Kuchen ohne Hefe (Clafoutis,Mandelkuchen, Gemüsekuchenusw.) | a/ Backblech | 2 | |||||
| Pizza | Gefüllte Pizza, gefüllte Focaccia(Hefteig) | 2 | 28** | warm oder kalt | |||
| Brot | *** | 2 | 55 | kalt |
- Bei den angegebenen Garzeiten handelt es sich um Richtwerte, die je nach Wunsch geändert werden konnen. Die Vorzeitzeiten des Backofens sind voreingestellt und konnen
dennach nicht von Hand geandert werden.
Dauerverbindern kann
*** Wie im Rezept angegeben 100 gr Wasser in die Fettpfanne füllen.
Inbetriebsetzung und Gebrauch
! Der auf die Dichtungen aufgetragene Leim könnte Fettpuren auf dem Glas hinterlassen. Wir empfehlen Ohnen, diese vor Einsatz des Gerätes mit einem herkömmlichen Reinigungsmittel (eine nicht scheuernde Poliercreme) zu entfernen. Wahrend der ersten Betriebsstunden könnte ein Geruch verbrannten Gummis zu vernehmen sein. Dies wird sich nach kurzer Zeit geben.
! Wird das Kochfeld an das Stromnetz angeschlossen, ertont nach einigen Sekunden ein kurzes akustisches Signal. Nur daraufhin kann das Kochfeld eingeschaltet werden.
! Durch längeres Drucken der Tasten und küssen die Leistungswerte und die Minuten des Timers im Schnelllauf verändert werden.
Einschalten des Kochfeldes
Das Kochfeld wird über die Taste (für ca. 1 Sekunde gedrückt halten) eingeschaltet.
Einschalten der Kochzonen
Eine jeder Kochzone wird über eine Bedienungstaste
und über einen aus einer Doppeltaste ( - und +) bestehenden Leistungsregler eingeschaltet.
Um eine Kochzone einszuschalten, drücken Sie die entsprechende Bedienungstaste und
stellen daraufhin über die Tasten und die gewünschte Leistungsstufe ein.
Booster-Funktion*
Zur Beschleunigung der Aufheizzeit kann zu einigen
Kochzonen durch Drucken der Taste Boosterfungtion zugeschaltet werden. Die über der Taste befindliche Kontrolleuchte schaltet sich ein. Diese Funktion steigert die Leistung auf 2000W oder 3000W, je nach Großde der angesteuerten Kochzone. Die Boosterfungtion schaltet sich automatisch nach 4 Minuten wieder aus. Solange die Booster-Funktion für eine der Kochzonen aktiv ist, bleibt die Leistung der dahinter oder davor liegenden Kochzone beschrankt (z.B.: Ist der Booster der hinteren linken Kochzone aktiv, dann ist die Leistung der vorderen linken Kochzone herabgesetzt). Weitere Informationen finden Sie in der Technischen Beschreibung der jeweiligen Modelle.
-
Achten Sie darauf, dass der Boden des
-
Nur an einigen Modellen
Ausschalten der Kochzonen
Um eine Kochzone auszuschalten, wahren Sie diese zuerst über die entsprechende Bedienungstaste und: Drucken Sie die Taste : Die Kochzonenleistung sinkt allmählich bis zum völligen Ausschalten der Kochzone.
Programmierung der Garzeit
! Sümmtliche Kochzonen können gleichzeitig für eine Garzeit von 1 – 99 Minuten programmiert werden.
- Wahlen Sie die Kochzone über die entsprechende Wahltaste.
- Wahlen Sie die gewünschte Leistungsstufe.
- Drücken Sie die Programmiertaste Die Kontrolleucht der ausgewählten Zone blinkt.
- Stellen Sie über die Tasten “-” und “+” die gewünschte Zeit ein.
- Bestätigkeiten Sie Einstellung durch Druck auf die Taste, oder warten Sie 10 Sekunden für die automatische Auswahr.
Die Zeitrechnung (rückwärfter Ablauf) des Timers setzt unverzüglich ein. Ist die programmierte Garzeit abgelaufen, ertönt (1 Minute lang) ein akustisches Signal und die Kochzone wird automatisch ausgeschaltet. Wiederholen Sie obige Schritte für jeder Kochzone, die Sie programmieren möchten.
Anzeige im Falle einer Mehrfachprogrammierung
Wurde die Betriebszeit einer oder mehrerer Kochzonen vorprogrammiert, erscheint auf dem Display die Restgarzeitanzeige der Kochzone, die für die niedrigste Zeit programmiert wurde; die entsprechende Kontrollleuchte blinkt, um anzuzeigen, um welche Kochzone es sich handelt. Die Kontrollleuchten der übrigen programmierten Kochzonen sind eingeschaltet. Um die Restzeit der anderen programmierten Kochfelder
anzuizen drucken Sie wiederholt die Taste () : es werden in Folge und im Uhrzeigersinn alle Zeiten des Kurzzeitweckers und der programmierten Kochfelder
angezeigt, beginnend mit dem Kochfeld vorne links.

Änderung der Programmierung
- Drücken Sie mehrmals die Taste , bis die Zeit der Kochzone, deren Programmierung Sieändern möchten, angezeigt wird.
- Stellen Sie mittels der Tasten - und + die neue Zeit ein.
- Bestätigen Sie die Einstellung durch Druck auf die Taste
Möchten Sie eine Programmierung löschen, dann verfahren Sie wie folgt: Bei Punkt 2 drücken Sie die Taste :- Die programmierte Zeit wird fortlaufend gesenkt bis zum Ausschalten bei 0. Die programmierte Zeit wird gelöscht und das Display verlässt den Programmierungs-Modus.
Die Minutenuhr
Das Kochfeld muss eingeschaltet sein.
Mit dem Minutenzahler kann ein Zeitraum bis 99.
Minuten eingestellt werden.
- Drücken Sie die Programmiertaste bis sich die
Kontrollleuchte des Minutenzahlers einschaltet. 2. Stellen Sie über die Tasten " -" und + " die gewünschte Zeit ein.
- Bestätigen Sie die Einstellung durch Druck auf die Taste
Die Zeitrechnung (rückwärfter Ablauf) des Timers setzt unverzüglich ein. Nach Ablauf der Zeit ertönt ein akustisches Signal (über die Dauer von 1 Minute).
Sperre der Schaltelemente
Während der Betriebszeit des Kochfeldes konnen die Schaltelemente gespeppt werden, um irrtümliche Einstellungenänderungen zu verhindern (durch Kinder,
bei der Reinigung usw.). Drücken Sie die Taste, dann werden die Schaltelemente gespeppt. Die über der Taste befindliche Kontrollleuche leuchtet auf. Zu weiteren Einstellungen (z.B. um den Garvorgang zu unterbrechen) müssen die Schaltelemente erst wieder
frei gegeben werden. Drücken Sie die Taste für eineugekunden; die Kontrollleuche erlischt, die Schaltelemente werden frei gegeben.
Ausschalten des Kochfeldes
Durch Drücken der Taste wird das Kochfeld ausgeschaltet.
Sollten die Schaltelemente gespeppt worden sein, bleiben diese auch bei Wiedereinschalten des Gerätes gespeppt. Um das Kochfeld wieder einschalten zu konnen, müssen die Schaltelemente vorher entsperrt werden.
,Demo"-Mode (Vorfuhrmodus)
Es besteht die Möglichkeit, einen Vorfruhrmodus einzustellen, bei dem das Bedienfeld (einschließlich der zur Programmierung erforderlichen Bedienelemente) normal funktioniert, die Heizelemente dagegen schalten sich nicht ein. Zur Aktivierung eines Vorfruhrmodus
muss das Kochfeld eingeschaltet und alle Platten ausgeschaltet sein.
- Halten Sie die Tasten + und - für 6 Sekunden gleichzeitig gedrückt. Nach 6 Sekunden blinken die Kontrollleuchte ON/OFF und die Kontrollleuchte SPERRE DER SCHALTELEMENTE für eine Sekunde. Lassen Sie die Tasten + und - los und drücken Sie die Taste ;
- Auf dem Display erscheint abwechselnd die Anzeige DE und MO und das Kochfeld schaltet sich aus:
- Wird das Kochfeld daraufaufhin wieder eingeschaltet, befindet es sich im Vorführmodus (Demo-Mode)
Zum Verlassen theses Modus verfahren Sie gemäß obiger Angaben. Auf dem Display erscheint abwechselnd die Anzeige DE und OF und das Kochfeld schaltet sich aus: Wird das Kochfeld daraufhin wieder eingeschaltet, funktioniert es wieder auf normale Weise.
Praktische Ratschläge zum Einsatz des Gerätes
! Verwenden Sie Kochgeschirr, dessen Herstellungsmaterial (magnetisiertes Material) sich für das Induktionssystem eignet. Wir empfehlen Ihnen Töppe und Pfaffen aus: Gusseisen, emailiertem Stahl oder Spezialstahl für Induktionskochzonen. Im Zweifelsfall hilt ein Magnet bei der Prüfung der Verwendbarkeit eines Kochgeschirrs.
GEEIGNETES MATERIAL

UNGEEIGNETES MATERIAL

So gibt Ichnen Ihr Kochfeld sein Bestes:
- Verwenden Sie Kochgeschirr mit dickem und ebenem Boden, um sicher zu sein, dass dieser perfekt auf der Kochzone aufliegt.


- Benutzen Sie stets nur Kochgeschirr, dessen Durchmesser mit dem der Kochzone übereinstimmt, d.h. dessen Boden die Kochzone ganz bedeckt, und somit die gesamte Wärme genutzt wird.



Kochgeschirrs trocken und sauber ist; nur so ist ein perfektes Aufliegen des Geschirrbodens sowie eine lange Lebensdauer von Kochzone und Geschirr gewährleistet.
- Vermeiden Sie den Einsatz von Kochgeschirr, das auch auf Gasflammen verwendet wird. Die äußert hohe Hitzekonzentration der Gasbrenner * ^2 nde die Topfböden leicht verformen und demnach die korrekte Auflage beeinträchtigen
Sicherheitsvorrichtungen
Topferkennung
Jede Kochzone ist mit einer Topferkennungs-Vorrichtung ausgerüstet. Die Kochzone bewirkt ein Erhitzen des Topfbodens nur bei einer angemessenen, der Kochzone entsprechenden Topfgroße. Das Blinken der Anzeigeleuche kann Folgendes signalisieren:
- ungeeignetes Kochgeschirr,
- ein zu geringer Topfdurchmesser,
- der Topf wurde abgenommen.
Restwärmeanzeigen
Jede Kochzone ist mit einer Restwärmeanzeige ausgerüstet. Diese Anzeige signalisiert, welche Kochzonen noch eine erhöhte Temperatur haben.
Zeigt die Leistungsanzeige H, dann ist die Kochzone noch warm. Es ist beispelsweise möglich, eine Speise warm zu halten oder Schokolade oder Butter zu schmelzen. Mit dem Abkühlen der Kochzone zeigt die
Leistungsanzeige h. Die Anzeige schaltet sich ab, sobald die Kochzone ausreichend abgekühlt ist.
Überhitzung
Im Falle einer Überhitzung der elektronischen Gerätekomponenten schaltet sich das Kochfeld automatisch aus, auf dem Display erscheint die
Anzeige F gefolggt von einer blinkenden Zahl. Diese Meldung erlischt, und das Kochfeld kann wieder eingesetzt werden, sobald die Temperatur auf einen akzeptablen Wert gesunden ist.
Sicherheitsautomatik
Das Gerät ist mit einer Sicherheitsautomatik ausgestattet, die die Kochzone automatisch abschaltet, wenn die maximale Betriebszeit auf einer gewissen Leistungsstufe erreicht wird. Bei Auftreten eines solchen Sicherheitsintervalls erscheidt auf dem Display die Anzeige „0".
Beispiel: Die wichtere rechte Kochzone wird auf Leistungsstufe 5 eingestellt, die vordere linke dagegen auf 2. Die wichtere rechte Kochzone wird nach 5 Std. Betriebszeit ausgeschaltet, die vordere linke erst nach 8 Stunden.
| Heizleistung | Beschränkung der Funktdauer in Stunden |
| 1 | 9 |
| 2 | 8 |
| 3 | 7 |
| 4 | 6 |
| 5 | 5 |
| 6 | 4 |
| 7 | 3 |
| 8 | 2 |
| 9 | 1 |
Tonsignal
Einige Anomalien, wie:
- Gegenstände (Topf, Besteck usw.), die für länger als 10 Sekunden auf dem Schaltfeld liegen,
- Flüssigkeit, die über das Schaltfeld gegessen wurde,
- ein zu longer Druck auf eine Taste, können die Ursache für ein Warnsignal sein. Um das Warnsignal auszuschalten, muss der Grund der Störung beseitigt werden. Wir die Störung nicht beseitigt, bleibt das Warnsignal eingeschaltet und das Kochfeld wird ausgeschaltet.
Technische Beschreibung der Modelle
Kochen mit Induktion ist die schnellste und zeitsparendste Art des Kochens. Im Gegensatz zu herkömmlichen Kochplatten, heizt sich nicht die Kochzone auf: die Hitze wird direkt im Innern des Topfes entwickelt, der hierzu notwendigerweise über einen Boden aus magnetisiertem Material verfügen muss.
Legende:
I = Einfache Induktions-Kochzone
B = Booster: Die Leistung dieser Kochzone kann bis auf 3000 W erhöht werden.
* = Die maximale Leistung wird begrenzt, solange die Boosterfungtion für die entsprechende wichtere Kochzone eingeschaltet bleibt (siehe Inbetriebsetzung und Gebrauch).
| Kochfelder | CI 96I W S CI 96I I S CI 96I K S CI 96I A S |
| Kochzonen | Leistung (W) |
| Hinten links | I 1400 – 600 se Ant. Sx* |
| Hinten rechts | I 2200 – B 3000* |
| Vorne links | I 2200 – B 3000* |
| Vorne rechts | I 1400 – 600 se Post. Dx* |
| Gesamtleistung | 7200 |
Praktische Back-/Brathinweise
DE
| Sehr stark garen | 0008 | Schnellgaren Schnellkochtopf Grillen | Fritieren Kochen |
| Stark garen | 0009 | Crèpes | Stark garen und bräunen (Braten, Koteletts, Schnitzel, Fischfilets, Spiegeleier) |
| Sanftgaren: | 0010 | Schnell eindicken (flüssige Soßen) Kochendes Wasser (Nudeln, Reis, Gemüse) Milch | |
| 0011 | Langsam eindicken (dickflüssige Soßen) | ||
| 0012 | Wasserbad Garen im Schnellkochtopf nach dem Dampfaustritt | ||
| Sehr sanft Garen: | 0013 | Sehr sanft Garen | Aufwärmen von Speisen |
| Extrem sanft Garen: | 0014 | Schokoladensoße | Warmhalten |
Vorsichtsmaßregeln und Hinweise
! Das Gerät wurde entsprechend den internationalen Sicherheitsvorschriften entworfen und gebaut. Die im Folgenden aus Sicherheitsgründen wiedergegebenen Hinweise sollenn aufmerksam gelesen werden.
Allgemeine Sicherheit
- Nachfolgende Anleitungen gelten nur für die Bestimmungsländer, deren Symbole im Handbuch und auf dem Typenschild des Gerätes abgebildet sind.
- Dieses Gerät ist für den nicht professionellen Einsatz im privaten Haushalt bestimmt.
- Das Gerätarf nicht im Freien aufgestellt werden, auch nicht, wenn es sich um einen geschützten Platz handelt. Es ist hoch gefährlich, das Gerät Regen und Gewittern auszusetzen.
- Berühren Sie das Gerät nicht mit nassen oder feuchten Händen oder Fußen und auch nicht, wenn Sie barfuss sind.
- Das Gerätarf nur von Erwachsenen und gemäß den Hinweisen der vorliegenden Bedienungsanleitung zur Zubereitung von Lebensmitteln verwendet werden. jeder andere Einsatz (zum Beispiel: zum Beheizen von Räumen) ist als unsachgemäß und gefährlich anzusehen. Der Hersteller haftet nicht für eventuelle, durch unsachgemäßen, falschen oder unangemessenen Gebrauch verursachte Schäden.
- Dieses Handbuch bezieht sich auf ein Gerät der Klasse 1 (isoliert) oder der Klasse 2 - Unterklasse 1 (Einbau zwischen zwei Unterschränken).
- Bei in Betrieb befindlichem Gerät werden die Heizelemente und einige Ofentürteile sehr heiß. Berühren Sie sie nicht und halten Sie Kinder vom Ofen fern.
- Vermeiden Sie, dass die Netzkabel anderer Elektrogeräte in Kontakt mit bereits Backofenteilen gelangen.
Die zur Belüftung und Wärmeableitung vorgesehenen Öffnungen)dürfen nicht zugestellt bzw.abgedeckt werden. - Stellen Sie keine unstabilen oder verformten Töppe auf die Kochzonen, um Unfälle durch Umkippen der Töppe zu vermeiden. Stellen Sie Stieltöppe so auf das Kochfeld, dass ein unbeabsichtigtes Anstoßen vermieden wird.
- Verwenden Sie stets Backofenhandschuhe.
- Benutzen Sie keine brennbaren Flüssigkeiten (Alcohol, Benzin usw.) in der Höhe des eingeschalteten Gerätes.
- Geben Sie keine entflammbaren Materialien in das untere Aufbewährungsfach oder in den
Backofen: Sie konnten entflammen, wenn das Gerät versehentlich eingeschaltet wird.
- Vergewissern Sie sich stets, dass sich die Reglerknöpfie auf Position o befinden, wenn das Gerät nicht in Betrieb ist.
- Ziehen Sie den Netzstecker nicht am Netzkabel aus der Steckdose, sondern nur am Netzstecker selbst.
- Ziehen Sie vor der Reinigung oder vor Wartungsmaßnahmen stets den Netzstecker aus der Steckdose.
- Versuchen Sie bei etwaigen Störungenitte keinesfalls, Innenteile selbst zu reparieren. Wenden Sie sich an den Kundendienst.
- Stellen Sieittekeine schweren Gegenstände auf der geöffneten Backofentur ab.
Die internen Flächen des Geschirrwagens (falls vorhanden) können äußert heißen. - Das Glaskeramikkochfeld ist stoßfest; davon kann es durch Stöße bzw. Aufprall von spitzen Gegenständen springen (oder)sogar zerbrechen). Schalten Sie das Kochfeld in einem solchen Fall vom Stromnetz ab und wenden Sie sich an die Kundendienstelle.
- Sollte die Kochfeldoberfläche gesprungen sein, schalten Sie das Gerät aus, um so mögliche Stromschläge zu vermeiden.
-itte berücksichtigten Sie,dass die Kochzonen noch fur ca.30 Minuten nach dem Ausschalten sehr hei bleiben.Die Restwärme wird auf der entsprechenden Anzeige eingeblendet (siehe Inbetriebsetzung und Gebrauch). - Halten Sie sãmtliche Gegenstände, die schmelzen konnten, wie Plastikteile oder Kunststoffe sowie Zucker oder stark zuckerhaltige Speisen vom Kochfeld fern. Achten Sie besonders auf Verpackungsmaterial, Frischhaltefolie und Alufolie: Wird derartiges Material auf den noch freißen oder warmen Oberflächen belassen, konnen sie das Kochfeld dauerhaft beschädigen.
- Stellen Sie Stieltöpfe und Pfannen immer mit nachinnen gerichteten Griffen auf die Kochstelle, um jegliches Risiko durch unbeabsichtigtes Anstoßen auszuschreiben.
- Ziehen Sie den Netzstecker nicht am Netzkabel aus der Steckdose, sondern nur am Netzstecker selbst.
- Ziehen Sie vor der Reinigung oder vor Wartungsmaßnahmen stets den Netzstecker aus der Steckdose.
- Legen Sieitte keine Metallgegenstände (Messer, Löffel, Deckel usw.) auf das Kochfeld; sie konnten sehr heiß werden.
- Das Gerät ist nicht zur Verwendung durch Personen (einschließlich Kinder) mit eingeschränkten körperlichen oder geistigen Fähigkeiten oder Wahrnehmungsstörungen, bzw. Personen ohne ausreichende Erfahrung und Produktkennis geeignet, sofern sie nicht durch eine für ihre
Sicherheit verantwortliche Person beaufsichtigt werden oder zuvor Anleitungen zum Gerätegebrauch erhalten haben.
- Dieses Gerät ist kein Spielzeug für Kinder.
-
Wird der Herd auf einem Sockel aufgestellt, dann achen Sieitte darauf, dass das Gerät nicht herunterrutschen kann.
-
Hinweis für Herzschrittmacherträger oder Träger anderer medizinischen Implantate: Das Kochfeld entspricht allen geltenden Richtlinien in Sachen elektromagnetischer Verträglichkeit. Dieses Erzeugnis erfüllt demnach sümttliche gesetzlichen Anforderungen (Richtlinien 89/336/CEE). Es wurde so konzipiert, dass keine Interferenzen mit anderen in Einsatz befindlichen elektrischen Geräten entstehen können, es sei dann, letztere entsprechen nicht den obigen Richtlinien. Das Induktions-Kochfeld erzeugte elektromagnetische Felder im Nahbereich. Um jegliche Gefahren durch Interferenzen zwischen dem Kochfeld und dem Schrittmacher auszuschreiben, muss letzterer in Übereinstimmung mit den bestehenden Richtlinien hergestellt sein. In dieser Hinsicht können wir nur für die Übereinstimmung unseres Erzeugnisses gerantieren. Für Informationen hinsichtlich der Konformität oder eventueller Unverträglichkeiten bitten wir Sie, sich an den behandelnden Arzt oder an die Herstellfirma des Herzschrittmachers wenden zu wollen.
- Nach dem Gebrauch schalten Sieitte das Kochfeld über seine Bedienungsvorrichtung aus und verlassen Sie sich nicht auf den Topferfassungsfuhler.

Entsorgung
- Das Verpackungsmaterial entsprechend den lokalen Vorschriften entsorgen. Verpackungsmaterial kann wiederverwertet werden.
Die europäische Richtlinie 2002/96/EG über Elektround Elektronik-Altgeräte (WEEE) sieht vor, dass Haushaltsgeräte nicht mit dem normalen Haummüll entsorgt werden dürfen. Die Altgeräte müssen getrennt gesammelt werden, um die Rückführung und das Recycling der Materialen zu optimieren, aus denen die Geräte hergestellt sind, und um mögliche Belastungen der Gesundheit und der Umwelt zuverhindern. Das Mülleimersymbol ist auf allen Produkten dargestellt, um an die Verpflichtung zur getrennten Abfallsammlung zu erinnern. Für weitere Informationen zur korrekten Entsorgung
konnen sich die Besitzer von elektrischen Haushaltsgeräten an die übergeordnete öffentliche Einrichtung oder an ihren Handler wenden.
Energie sparen und Umwelt schonen
- Für einen sparsamen Energieverbrauch den Backofen in den Stunden zwischen dem später Nachmittag und dem frühen Morgen verwenden. Mit Hilfe der Programmvorwahl, vor allem dem „Garvorgang mit verzögertem Start" (siehe Programme) konnen Sie die Benutzung Ihres Backofens in diesen Sinne programmieren.
- Es empfeihlt sich, die Programme DREHSPIESS und BRATEN stets bei geschlossener Backofentür zu verwenden: Dadurch werden nicht nur optimale Ergebnisse erzielt, sondern auch Energie gespart (ca. 10%).
- Halten Sie die Dichtungen sauber und in einwandfreiem Zustand, so dass sie gut an der Tür anliegen und keine Wärmeverluste verursachen.
! Dieses Produkt entspricht den Vorschriften der neuen Europäischen Richtlinie zur Einschränkung des Energieverbrauchs im Standby.
BACKOFEN:
Werden für 2 Minuten keine Tasten gedrückt, dann stellt sich das Gerät automatisch in den Standby-Modus. Der Standby-Modus wird mit dem schwach leuchtenden „Uhr-Symbol" angezeigt. Sobald eine Taste gedrückt wird, stellt sich das Gerät wieder in den normalen Betriebsmodus.
KoCHFELD:
Werden für 2 Minuten keine Tasten gedrückt, dann stellt sich das Gerät nach Ausschalten der Anzeigen für Resthitze und des Lüften (wenn vorhanden) automatisch in den "off mode".
Das Gerät kehrt durch Drücken der Taste ON/OFF in den Betriebsmodus darüber.
Reinigung und Pflege
Stromversorgung trennen
Vor jeder Reinigung und Pflege ist das Gerät vom Stromnetz zu trennen.
Reinigung des Gerätes
! Verwenden Sie zur Reinigung des Kochfeldes keine Dampf- oder Hochdruckreinigungsgeräte.
- Reinigen Sie die Backofentür aus Glasitte nur mit einem weichen Schwamm und mildem Spülmittel und trocknen Sie sie abschließlich mit einem weichen Tuch. Verwenden Sie keine rauen, scheuernden Materialien oder scharfkantige, metallische Schaber, da diese Kratzer auf ihrer Oberfläche hinterlassen und das Zerbrechen des Glases zur Folge haben können.
Die emailierten oder aus Edelstahl gefertigten Außenteile des Gerätes sowie die Gummidichtungen konnen mit einem mit lauwarmem Wasser und einem neutralen Reinigungsmittel getränkten Schwamm gereinigt werden. Bei hartnäckigen Flecken spezielle Reinigungsmittel verwenden. Verwenden Sie zur Reinigung ausreichend Wasser und trocken Sie das Gerät hinterher sorgfältig. Auf keinen Fall Scheuermittel oder sonstige scharfe Reinigungsmittel verwenden. - Der Backofen sollte möglichst nach jedem Gebrauch, solange er noch etwas warm ist, gereinigt werden. Hierzu warmes Wasser und ein Reinigungsmittel verwenden. Mit Wasser nachspälen und mit einem weichen Tuch trocken. Scheuermittel vermeiden.
- Das Zubehör{lösst sich wie normales Geschirr reinigen (spülmaschinenfest).
- Das Bedienfeld wird mit einem weichen Schwamm oder Tuch von Fett und Schmutz befrei.
- Sollte stark kalkhaltiges Wasser oder ein scharfes phosphorhaltiges Spülmittel für längerere Zeit darauf stehen bleiben, können auf den Edelstahlteilen Flecken zurückbleiben. Es ist ratsam, diese Teile nach der Reinigung gut nachzuspulen und trocken zu reiben.
Kontrolle der Backofendichtungen
Den Zustand der Dichtung an der Backofentür in regelmäßigen Abständen prufen. Wenden Sie sich im Falle einer Beschädigung dieser Dichtung an die nachstgelegene Kundendienstelle. Es empfeht sich, den Backofen bis zur erfolgten Reparatur nicht zu verwenden.

Austausch der Backofenlampe
Die Backofenlampe wie folgt ersetzen:
- Die Glasabdeckung mithilfe eines Schraubenziehers entfernen.
- Die Lampe ausschrauben und durch eine neue Lampe desselben Typs ersetzen: Leistung 15 W, Sockel E 14. Bringen Sie die Abdeckung wieder an. Achten Sie hierbei darauf, dass die Dichtung ordnungsgemäß einlegeit wird (siehe Abbildung).
! Die Offenlampearf nicht als Raumlampe verwendet werden.
Reinigen des Glaskeramik-Kochfelds
! Der Einsatz von Scheuermitteln oder scharfen oder chemischen Reinigungsmitteln, wie Backofensprays, Fleckenentferner, Rostentfernungsmittel, Reiniger in Pulverform und Scheuerschwämme, die die Oberfläche des Kochfeldes hoffnungslos beschädigen * ^wurden , ist zu vermeiden.
- Zur tätiglichen Pflege genügt es, das Kochfeld mit einem feuchten Schwamm abzuwischen und mit Kuchenpapier abzutrocknen.
- Bei besonders starker Verschmutzung solle ein spezielles Reinigungsmittel für Glaskeramik verwendet werden; anschließend ist das Kochfeld mit Wasser abzuspüssen und sorgfältig abzutrocknen.
- Starke Verschmutzungen setzen sich mit einem Schaber (Klingenschabier) entfernen. Sie sollenn so Schnell wie möglich - und nicht erst nach Abkühlen des Kochfeldes - entfernt werden, um zu vermeiden, dass sich die Verschmutzungen festsetzen. Gute Ergebnisse halten sich auch mit einem -für Glaskeramik geeigneten Spezialschwamm aus Edelstahlwolle - und einer einfachen Spüllauge erzielen.
- Auf dem Kochfeld versehentlich geschmolzene Alufolie, Plastikteile oder Kunststoffe, sowie Zuckerreste müssen umgehend mit einem Schaber von der noch warmen Oberfläche entfernt werden.
- Nach der Reinigung kann das Kochfeld mit einem Pflegeprodukt nachbehandelt werden: Der unsichtbare Schutzfilm, den ein solches Produkt hinterlässt, schützt die Oberfläche vor eventuell überkochenden Speisen. Es empfeihlt sich, diese Nachbehandlung bei lauwarmem oder abgekühtem Gerät vorzunehmen.
- Achten Sieitte darauf, das Kochfeld nach der Reinigung stets mit klarem Wasser abzuspulen und anschliebend abzutrocknen. Rückstände der Reinigungsmittel konnten sichathamlich bei der nachsten Benutzung des Kochfeldes ihrerseits festsetzen.
| Spezialreinigungsmittel für Glaskeramik-Kochfelder | Wo sind diese erhalten? |
| Klingenschaber und Ersatzklingen | Haushaltwaren Warenhäusern |
| Stahl-Fix SWISSCLEANER WK TOP Andere Produkte f.Glaskeramik | Haushaltwaren Hobbyläden Warenhäusern Supermarktten |
* Nur an einigen Modellen
PYROLYSE-Selbstreinigung
Während des pyrolyse-Reinigungsmethods werden im Backofeninneren Temperaturen von bis zu 500^ erzielt, dank dessen zusückgebliebene Speisereste verkohlten werden. Der Schmutz wird regelrecht zu Asche.
Während der automatischen Reinigung konnen einzelle Ofenteile sehr heißt werden. Kinder sind davon vom Backofen fernzuhalten. Durch das Glas der Ofentür kann beobachtet werden, wie einzel Rückstände aufglimmen. Es handelt sich um einen vollig normalen spontanen Verbrennungsvorgang, der keine Risiken in sich birgt.
Vor Aktivierung einer PYROLYSE:
- Größere Speisereste aus dem Backofeninneren mit einem feuchten Schwamm entfernen. Keine Reinigungsmittel verwenden.
- Das gesamte Zubehör aus dem Backofen entfern.
- Etwaige Geschirrtücher oder Topflappen vom Backofengriff entfern.
- Den Drehschalter PROGRAMME auf „0“ positionieren.
! Wenn der Backofen sehr heißt ist, startet der Pyrolysevorgang möglicherweise nicht. Den Backofen abkühlen halten.
! Das Programm kann nur bei geschlossener Backofentür aktiviert werden.
Zur Aktivierung der PYROLYSE-SELBSTREINIGUNG die Taste ...etta 4 Sekunden lang drucken. Die gewünschte Reinigungsstufe kann über den Drehschalter ZEITEINSTELLUNG festgelegt werden, wobei die Dauer voreingestellt ist und nicht abgeändert werden kann.
- Sparprogramm (ECO): Drehschalter in Richtung „drehen. Dauer: 1 Stunde.
- Normalprogramm (NOR): Anfangsleistungsstufe.
Dauer: 1 Stunde und 30 Minuten. - Intensivprogramm (INT): Knopf in Richtung „+“ drehen. Dauer: 2 Stunden.
- Drücken Sie zur Bestätigung die Taste
Auch für den PYROLYSE-Zyklus kann, wie für jeder normalen Garvorgang, programmiert werden, wann dieser beendet werden soll (siehe Programmierung des Endes des Selfstreinigungsvorgangs).
Sicherheitsvorrichtungen
- Das Aufleuchten des auf dem Display befindlichen Symbols ist ein Zeichen damit, dass die
Backofentür ab dem Moment automatisch gesperrt wurde, an dem sehr hohe Temperaturwerte erreicht wurden.
- Das Symbol STOP weist daraufhin, dass durch Drücken der Taste der Reinigungsvorgang jederzeit unterbrochen werden kann.
- Bei einer etwaigen Störung wird die Stromversorgung der Heizelemente getrennt.
Die vorgenommen Einstellungen (Dauer und Programmende) können bei gesperter Backofentür nicht mehr abgeändert werden.
Programmierung des Endes des Selbstreinigungsvorgangs
- Drücken Sie die Taste , bis auf dem DISPLAY das Symbol und die zwei Digit-Anzeigen blinken.
- Drehen Sie den Knopf ZEITEINSTELLUNG in Richtung “+” und “-”, um die Stunden einzustellen.
- Drücken Sie erneut die Taste , bis auf dem DISPLAY die{nachsten zwei Digit-Anzeigen blinken.
- Drehen Sie den Knopf ZEITEINSTELLUNG in Richtung "+" und "-", um die Minuten einzustellen.
- Drücken Sie erneut die Taste , um die Eingabe zu bestätigten;
- Nach Ablauf der Zeit zeigt das DISPLAY die Anzeige END an und das akustische Signal wird aktiviert.
- Beispiel: Es ist 9.00 Uhr, und es wird ein PYROLYSE-Sparprogramm mit voreingestellter Dauer von 1 Stunde gewählt. Programmierung des Programmendes: 12.30 Uhr. Das Programm startet um 11.30 Uhr automatisch.
Die eingeschalteten Symbole und sind ein Zeichen damit, dass eine Programmierung durchgeführt worden ist. Auf dem DISPLAY wird abwechselnd die als PYROLYSE-Ende programmierte Uhrzeit und die PYROLYSE-Dauer eingebrendet.
Ende des Selfstreinigungsvorgangs
Die Backofentür kann nicht那么简单 werden, sondern erst dann, wenn die Backofentemperatur auf ein annehmbares Niveau gesunden ist. An den Ofenwänden und auf dem Backofenboden können sich während der Reinigung etwas weiter Staub abgelagert haben. Den Staub bei abgekühtem Backofen mit einem feuchten Schwamm entfernen. Wenn die vorhandene Ofenwärme für einen Garvorgang genutzt werden will, ist es nicht erforderlich, diese Staubablagerungen sollen zu entfernen. Sie sind unschädlich.
EinfachAnleitung