LFFA+ 8H141 EU - Bulaşık makineleri HOTPOINT-ARISTON - Ücretsiz kullanım kılavuzu
Cihazın kılavuzunu ücretsiz bulun LFFA+ 8H141 EU HOTPOINT-ARISTON PDF formatında.
Cihazınız için talimatları indirin Bulaşık makineleri PDF formatında ücretsiz! Kılavuzunuzu bulun LFFA+ 8H141 EU - HOTPOINT-ARISTON ve elektronik cihazınızı yeniden ele alın. Bu sayfada cihazınızın kullanımı için gerekli tüm belgeler yayınlanmaktadır. LFFA+ 8H141 EU markasının HOTPOINT-ARISTON.
KULLANIM KILAVUZU LFFA+ 8H141 EU HOTPOINT-ARISTON
Yerleistirme ve Seviyelendirme
Su ve elektrik kaynaklarin baglanmasi
Iik yikama devri hakinda oneri
Teknik bilgi
Raflarin yuklenmesi, 77
Alt raf
Catal ve Biçak Sepeti
Ust Raf
Basilangic ve kullanim, 78-79
Bulaşik makinesinin calistirilmasi
Deterjanin ölcülmesi
Yikama secenekleri
Yikama devirleri, 80
Yikama devirleri tablosu
Durulama maddesi ve islenmiş tuz, 81
Durulama maddesinin olçūlmesi
Islenmis tuzun olçulmesi
Bakim ve onarim, 82
Su ve elektrik kaynaklarin n kapatilmasi
Bulaşik makinesinin temizlenmesi
Istenmeyen kokularin engellenmesi
Puskurtuckollarin temizlenmesi
Su Giris Filtresinin Temizlenmesi
Filtrelerin temizlenmesi
Makinenin uzun sure kullanilmamasi
Onlemler, oneri ve Destek, 83
Genel guvenlik
Tasfiye
Enerji tasarrufu yapmak ve cevreye karıduyarlı olmak
Destege basvurmadan once
Sorun giderme, 84
TR
A lideride kullanilmasi aciisindan bu talimat kitabini guvenli bir yerde muhafaza edin. Cihaz satldi, baska birine verildi ya da hareket ettirildiyse yen kullanicin da bu manuelde belirtilen onerilerden yararlanabilmesi incn manuelin de makine ile birlakte muhafaza edildiginden emin olun.
A Lüften bu talimat kitabini dikkatle okuyun: Cihazin güvenli bir sekilde kurulumuna, kullanimina ve bakimina dair önemli bilgiler icermektedir.
A Makinenin yeri degişirilmek istenirse makineyi dok konumda tutun; kesinlikle gerekiyor ise makine arka kism üzerine eigilebilir.
A Bu cihaz evde kullanilmasi veya benzer uygulamalar amacli tasarlanmistir, orneigin:
-
magazalarda, ofislerde ve diger is ortamilarnda calisan personel icin mutfak olarak kullanilan alanlar;
-
giftlik evleri;
- otel, motel ve diger konaklama tipi ortamlarda musteriler tarafindan kullanim;
- bed and breakfast (oda&kahvalti)
Yerleistirme ve Seviyelendirme
- Cihazi, ambalajindan tamamyla cikarin ve tasima sirasinda hasar gormediiginden emin olmak icin kontrol edin.
Hasar gormus iseperakende saticinizile gorusun ve kurulimislemini devam ettimeyin. - Yanlarinin ve arka panelinin bitisiginde bulunan dolaplar ya da duvar ile temas edebilmesi icin bulasik makinesini yerine yerleistirerek kontrol edin. Bu cihaz, ayni zamanda tek bir tezgah ultina da yerlestirilebilir* (Kurulum bilgileri sayfasina bakiniz).
- Bulaşik makinesini,扭矩 ve dayanikl bir yüzey uzerine yerleştin. Yüzey扭矩 degil isecihazın on ayagl, makine yatay bir pozisyona gelene kadar ayarlanabilir. Cihaz.Doğru bir sekilde seviyelendirildiyse daha saglam olacak ve calisması sirasinda titresim ya da gürultu yaratmayacak veya hareket etmeyecektrl.
4^ . Arka ayagın yükseligiin ayarlanması icin 8 mm Türkiye bilg alt geni anahart kullanmak suretiyle bulasik makinesinin onunde alt kismim merkezinde bulunan kirmizi alt geni burc yagaşi dondırun. Yükseligi artirmak icin anahtari saat yönunde, yükseligi zaaltmak icin saat yönünunsersine dondırun.(dokumana eklenen Yapim talimatlari sayfasina bakiniz)
Su ve elektrik kaynaklarinin baglanmasi
Su ve elektrik kaynakclarin'in baglanmasi, nitelikli bir tekniyen tarafindanGPCKELESTIRIMelidir.
A Bulasik makinesi, su hortumlarin ya da elektrik kaynagkablolarin ustune yerlestilmemelidir.
A Cihaz, su tesisatina yeti hortumlar kullanilarak baglanmaldir. Eski hortumlari kullanmayin.
Su giris ve cikis hortumlari ve elektrik kaynag kablosu, mumkun alan en iyi kurulumun elde edilmesi amacyla saga ya da solaogr uyerlesterilebilir.
Uygun bir soğuk su böglanti noktasina: Hortumu baglamadan öncse, su icinde bulunması mumkün olan partiküllerin cihazi tikamaması icin hortum tamamiyla temizlenene kadur su akitin; Bu islemiGPCekleştdirkten sonra girihtortumunu,musluğa 3 / 4 lukbir gaz vidasidi baglantisiyla vidalayin.
Uygun bir sicak su baglanti noktasina: Bulasik makineniz, sicakigi 60^^ yi geçmeyecek sekilde elektrik kaynagindan gelen sicak su ile beslenebilir (radyatorlu bir merkezi istma sisteminiz varsa). Soguk su kaynagin in baglanmasi konusunda belirtilen sekilde hortumu musuga vidalayin.
Giris hortumu yeteri kadar uzun degil ise konusunda uzman bir magazaya ya da yetkili bir tekniysene basvurun. (bknz Destek)
A Su basinci, Teknik bilgi tablosunda verilen deger araligianda olmalir. (bknz bitisik bilgi)
Hortum kivrilmamali ya da ezilmemelidir.
Atik su boşaltma hortumunun baglantisi
bosaltma hortumunu, kivirmadan ic capi en az 4 cm對於 bir bosaltma kanalina baglayiniz

Boşaltma hortumu, zeminden veya bulasık makinesinin destek zemininden (A) 40 ila 80 cm.arasinda bir yükbseklique olmaldir. Atı su boşaltma hortumunu lavabonun akı borusuna baglamadan.Once, plastik tapayi (B) kal diriniz.
Su basmalarina karshi koruma
Su basmasi olayarinin ortaya cikmayacagindan emin olmak icin bulasik makinesi:
-Cihazin icinde olusabilecek ariza veya sizintilar halinde subsbeslemsini bloke eden özel bir system ile yapilandirilmaldir.
Bazi modellerde, New Aqua Stop* (Yeni Su Durduma) olarak bilinen ve besleme hortumunun yirtilmasi durumunda bile su basmalarina karsi koruma saglayan destek guvenlik cihazlara da bulunmaktadir.
UYARI: TEHLIKELI VOLTAJI
Su giris borusu iletken elektriksel parçalar icerdişi icin her ne Şart altinda olursa olsun kesilmemelidir.
- Sadece seçilen modellerde mevcuttur.
Elektrik baglantisi
Fişi elektrik prizine takmadan once aşaqidaki hususlarin saglandından emin olun:
- Priz topraklanmis olup uygulanan tum yonetmeliklere uygundur.
- Priz, kapagin ic kisminda bulunan bilgi plakasi uzerinde belirtilen cihazin maksimum yukuneodayanacak gucTedir. (Cihazin Tanim buaglikl bolum inceleyiniz)
- Güç kaynagi voltaji, kapagin ic kisminda bulunan bilgi plakasinu üzerinde belirtilen degerler icerisindedehyşir.
- Priz, cihazin fisi ile uyumludur. Yukaridaki szartlar saglanmiyorsa prizin degistirlimesi icin yetkili bir tekniysyene basvurun (bknz Destek); uzatma kabolari ya da coklu priz kullanmayin.
A Cihazin kurulumu tamamlandiktan sonra guc kaynagi kablosu ve elektrik prizi kolaylka ulasilabilir bir yerde olmalidir.
A Kablo kivrilmamali ya da ezilmemelidir.
Güç kayàni kablosu zarar gormüş ise tüm potansiyel tehlikerin önlenmesi icin kablo, imalatçı ya da Teknik Destek Servisi tarafindan degistirilmelidir. (Bknz "Destek")
Bu kurallara uyilmaması durumunda ortaya çıkabilecek olaylardan Şirketimiz sorumlu tutulamayacaktir.
Yogusma onleyici bant\*
Bulaşik makinesini kurduktan sonra kapaği acın ve bulasık makinenizi yüzşma nedeniyle olşan muhtemel sorunlardan korumak icin yapskanl bandi ahsap rafin altina yapsıtin.
Irk yikama devri hakkinda oneri
Cihazin kurulum tamamlandiktan sonra ve ilk yikama devrini批发市场 manan hemen once tuz daqiticisini tamamiyla su ile doldurun ve ancak bundan sonra yaklasik 1 kg kadar tuz ekleyin (Duruluma maddesi ve islenmis tuz baslik bolm uninceleyiniz). Su disariya tasabilir: Bu normal bir durum olup sorun olarak degerlendirilmemelidir. Su sertigi degerini segin (Durulama maddesi ve islenmis tuz baslik bolm uninceleyiniz). Tuz, makinenin icine dokuldukten sonra, YETERSIZ TUZ (LOW SALT)* goftergesisi sonecekbir.
A Tuz bolmesi doldurulmazsa, sonuc olarak su yumusaticisi ve isitma bileşeni zarar gorebilir.
| Teknik bilgiler | |
| Boyutlar | Genişlik 60 cm. Yükbseklik 85 cm. Derinlik 60 cm. |
| Kapasite | 14 standart yer ayari |
| Su赎beke basinci | 0.05 + 1MPa (0.5 + 10 bar) 7,25 - 145 psi |
| Güç kaynakı voltaj | Bilgi levHASINA bakınüz |
| Toplam absorbe edilen Güç | Bilgi levHASINA bakınüz |
| Sigorta | Bilgi levHASINA bakınüz |
| CE PG AVID | Bu bulasık makinesi asağidaki Avrupa Birlügi Yönergelerine uy gundur: -2006/95/EC (Düzuk Voltaj) -2004/108/EC (Elektromanyetik Uygunluk) -2005/32/EC (Comm. Reg. 1275/2008) (Ecodesign) -97/17/EC(etak ket Yönergesi) -2002/96/EC |
ECODESIGN REGULATION
ECO yikama devresi erjer etiketinin verilerine iliskin olan standart programdir; bu devre, genellikke kiri olan bulasiklar yikamaya uygundur ve bu tipteki bulasiklar icin erjer ve su tuketimi aciisindan en etkin olan programdir. Daha az tuketim icin, bulasik makinesini tam yuke kullaniz.
Stand-by tuketimleri: Left-on mode tuketimi: 4,5 W-offmode tuketimi:1,3W
Basilica devreler icin tuketilmere sahip tablo
| Standart.Since1* | Kullanı.Since1** | |||||
| Enerji:tüketimi(KWh/devre) | Su:tüketimi(I/devre) | Süre(dak/devre) | Enerji:tüketimi(KWh/devre) | Su:tüketimi(I/devre) | Süre(dak/devre) | |
| YOĞUN | 1,50 | 15 | 150 | 1,30 | 14 | 135 |
| NORMAL | 1,20 | 15 | 120 | 1,05 | 14 | 110 |
- Program verileri, EN 50242 avrupa standartina gore elde edilen laboratuar olcum degerleridir.
** Veriler, kullanim ve kullanin bulaşik yüku Şartlarda ölcümler geleçkleştilerek elde edilmektedir.
TR
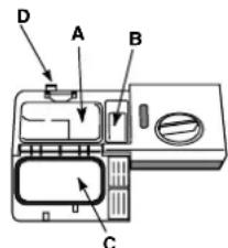
Genel görünüm

- Üst Raf
2.ust puskurtuc kol
3.Egimli bolumler
4.Raf yuksekligi ayarlayici si - Alt raf
6.Alt puskurtuckol
7.Catal ve Biçak Sepeti
8.Yikama filtresi
9.Tuz dagitici
10.Deterjan ve durulama maddesi dagiticari
11.Bilgi plakasi - Kontrol paneli***
Kontrol paneli

*** Sadece tamamiyla gelistirilmis modellerde.
* Sadece seçilen modellerde mevcuttur.
Yikama devrilerinin ve seceneklerin sayisi ve tipi, bulasik makinesi modeline baglı olarak degisiklik gostermektedir.
A Sepetleri yuklemeden once bulasiklarda ki yemek artikarini temizleyiniz ve bardak ve kaselerde ki sivilari bosaltiniz. Yukleme yapildiktan sonra piskurtme kollarinin serbeste tandugunden emin olunuz.
Altsepveçatalbicismepeti.
Alt sepete tencereleer, kapaklar, tabaklar, salataliklar, kepceler vb. konulabilirBuyuk tabak ve kapaklar tercihe gore,SEPETIN yan kismilarina siralanabilir.


Bazi bulasik makinesi modelleri, egilebilir alanlar icermektedir ki, bu alanlari, tencere, salatalik ve tavalarin yerlestirilmesine gore yatay ya da dikey pozisyonlarda kullaamk mumkundur.


Cataliaksepeti,bulaikmakinesinin modelinebaglolarak ayrilabilir ya da ayrilamaz tipte olabilir.Ayrilamazsep,tyalnizcabulaik makinesinin altsepetin on kismina yerlestirlmelidir.




Her iki tipte, catal biçaklarin en iyi sekilde yerleştiirllmesi icin üst izgaraya sahiptir.
A Bicak ve sivri uclu kesici alelter catal bicak sepetine, kesici uclari asagdnuk olarak siralanmis olmali ya da ustSEPETIN kapaklarinin uzerine yatay olarak konulmalidir.
A Bulaşik makinesinde yikamaya uygun tabak canak kullanilması tavsiye edilir.
- Sadece seçilen modellerde mevcuttur. Sayisi ve yişişiklik gösterebilir.
Ustsep
Hassas ve hafif catal biçaklari siralayiniz: Bardak, fincan, altk, alçak salataliklar.


Degistirilebilir pozisyonlu kapaklar.

Kapaklar,sepetalaninda
yerlestirilmis bulasiklarin
yerlestirmesini iyestirmek amacil
ileiki farkli yukseklikte ayaranabilir.
Kadehler,kapaklar vasitasile
kadeh ayaklar ilgili bozluklarara
yerlestirilmek sureti ile sabitlenerek
siralanabilir.

Bazi bulasik makinesi modellerinde surgulu tepsi mevcut olup* servis kasik ve catallarini ya da cok kucuk ebattaki fincanlari koymak icin kullanilr. En iyikamayi saglamak icin tepsiyi buyuk objeler ile asin doldurmayiniz.
Ustsepetinyuksekliginayarlayiniz.
Tabak canaklarin yerleştilmesini kolaylşirmak icin, üst sepet yüksekligini alçak ya da yüksek pozisyonda ayarlamak mumkündür.
UstsepetyuksekliginiYENISEPETyuksekliginegore ayarlamakmumkundur.
Sepeti asla tek tarafindan bastirmayiniz ya da kaldirmayiniz.

Sepetin kilavuz sabitlemelerini saga ve sola dokru aginiz ve sepeti cikariniz, alta ve yahut üste yerleştiniriz, on tekerlekler yerine oturana kadar kilavuzlar uzerinde kaydiriniz ve sabitlemeleri kapatiniz (Sekile bakiniz).

Sepete Dual Space (Sekile bakiniz)
kollarin bulunmasi halinde sepeti hat sonuna
kadar cikariniz,sepetin yanlarnda bulunan
kollari kavrayiniz,asagi ve yukari dokru
kaydirarak ve el ile eslik ederek sepeti
birakiniz.
Bulaşik makinesinde yikamaya uygun olmayan tabak canaklar.
- Ahsap sapli, baga sapli ya da yapişirmali kisimlari bulunan ahsap objeler.
- Altuminyum, bakir, piring, kalay ve kursun alasimi yi da kalayi objeler.
- Isiya dayanikl olmayan plastik tabak canaklar
Eldekorlu,antikporselenler - Antik gümüş Antik gümüş objeler özel ve hassas bir program ile diger metaller ile temelas etmeleri kasinlikle onlenerek yikanabilir.
TR
Bulaşik makinesinin calistirilmasi
-
Su musluğunu yüzın.
-
ACMA/KAPAMA duğmesine basin: kisa bir bip sesi duyacaksiniz; tum gosterreich isiklari ve ekran birka saniyeliğine yanacaktir.
- Kapaği�能 ve yeterli miktarda deterjan dokun (aşahiya bakın).
- Raflari yukeyin (Raflarin yuklenmesi baslikl bolumu inceleyin) ve kapagi kapatin.
- P Düğmesine basarak canak Çomlek tipi ve kırkılik dizeyine uygün yikama programini seksin (Yikama programlari tablosuna bakın).
- Yikama opsiyonlarini secin* (bitisikteki bilgiyi inceleyin).
- Baslat/Durdur Düğmesine basarak programı baslatin: uzun bir bip sesi programı basladıyın gosterir ve program bitimine kadan kalan sure gosterilir.
-
Iki kisa ve uzun bir bip sesi yikama programin bittiginin goesterir; yikama programi goftergesi iigi yanip soner ve BTTI (END) goftergesi iigi yanar ((seildiyse)). ON/OFF AÇMA/KAPAMA dügmesine basarak cihazi kapatin, su vanasini kapatin ve cihazi fişten Çekın.
-
Elinizi yakmamak icin canak ccomlekleri cikarmadan once birkac dakika bekleyin. Raflari altan baslayarak bosaltin.
-
Elektrik energjisitiuketimini azaltmak icin, bazi KULLANILMAYAN durumlarda, makine otomatik olarak kapanir.
A OTOMATIK YIKAMA PROGRAMLARI*: bu bulasik makinesi modelinde kirlenme seviyesini degerlendirmek ve dolayisiyla otomatik olarak en verimli ve ekonomik yikama cevrimini sejmek icin kullanilabilen özel bir sensör bulunmaktadir.
Otomatik yikama cevrimalerin surerleri sensorun calismasindan dolayi degisebilir.
Calisma sirasinda yikama programini degistirme
Yikama programi sejm islemis sirasinda bir hata yapilmissa, yeti baslamis olmasi kosuluyla cevrimin degistirilmesi mumkundur: Yikama programi basladiktan sonra ACMA/KAPATMA/Sifirlama dugmesine basarak makineyi kapatin. Ayni dugmeyi kullanarak tekrar acin ve istenilen yikama programi ve secenekleri belirleyin.
Ihave canak ccomleklerin yerlestirilmesi
Baslat/Durdur dugmesine basin (ilgili gosterge isigi yanip sonecekir). Elektrik kacaklarina dikkat ederek kapiyi acin ve catal ve bicaklarimakinenin icine yerlestirin. Baslat/Durdur dugmesine basin (sabit isik): uzun bir bip sesinden sonra program baslar.
A Makinenin durdurulmasi icin Baslat/Durdur dugmesine basildiya yikama programi ya da Gecikmeli Blaslama fonksiyonu (secildiyse) kesintiye ugratilr.
Bu aşamada yıkama devrinindehyşistilmesi mümkın degildir.
Yanlislikla programa ara verilmesi
Yikama programi sirasinda kapak acilirsa yada elektrik kesilirse, program durur. Kapak kapatildiginda veya elektrik yeniden geldiginde tekarr yarida kesildigi yerden baslar.
Deterjanin ölcülmesi
Yikama sonunda iyi bir sonucun elde edilmesi, kullanilan deterjan miktarininogruluuguna da baglidir; belirtilen miktardan daha fazla deterjan kullanimi yikamayi daha verimli hare getirmezken ayni zamanda cevresel kirllik yaratir.
A Sadece bulasik makinerleri icin ozel olarak uretilen deterjanlari kullanin.
Siv bulasik deterjani KULLANMAYIN.
A Fazla miktarda deterjanin killianlmasi, devir sona erdikten sonra makinenin icinde sabun artiklarinin kalmasina neden olabilir.
A Tableterin kullanimi, sadece COK FONKSIYONLU TABLETLER opsiyonunu sunan modeller icin tavsiye edilmektedir.
Her yikama ve kurutma devrinden en iyi sonumlari almak icin toz deterjan, durulama sivisi ve tuz kullanilmalidir.
A Bolmesi:Yikama deterjani
B Bolmesi: On yikama deterjani

- D Düɡmesine basarak C kapaɡiniinceton
- Yikama devirleri tablosuna gore deterjani dokun:
- Toz deterjan icin A ve B bömlerini kullanin.
- Tablet seklindeki deterjanlar icin: Devir icin 1 tablet gerekiyorsa sos konusu tableti A bolmesine yerleşirin ve kapagi kapatin;
2 tablet gerekiyorsa ikinci tableti cihazin en ultina yerleştinir.
3. Bolmenin kenarlarindan deterjan kalntilarini temizleyin ve klik sesini duyana kadar kapagi kapatin.
Yikama seçenekleri*
SEÇENEKLER, ançak yıkama devri seçildikten sonra ve各行at/Durdur Düğmesine BASISmadan.Once ayarlanabilir, degistirilebilir ya da sifirlanabilir.
Sadece yikama devri tipine uygun對於 segenekler belirlenebilir. Herhangi bir segenek, seçilen yikama programina uygundehyilse (Yikama programlari tablosuna bakin) ilgili LED ardi ardina 3 defa yanip söner.
Basta bir secenekle (onceden segilen) uyumlu olmayan bir secenk belendiginde, ilk belirlenen secenekle ilgili gõsterge 1sigi 3 defa yanip soner, 3 bip sesi duyulur ve son belirlene secenek etkin kalirken onceki secenek iptal edilir.
Yanlislikla seçilen bir opsiyonun seçimini iptal etmek icin ilgili duğmeye tekrar basin.
- Sadece seçilen modellerde mevcuttur.
Ust rafa yarim yukleme
Yikanacak cok fazla bulasik yoksa su, elektrik ve deterjan tasarrufu yapmak icin yarim yuklu program kullanilabilir. Yikama programini secin ve YARIM YUKLU (HALF LOAD) duğmesine basin: gosterreich üşigi aydinlanir ve yikama programi yalnizca üst rafa uygulanir.
Yalinizca ust rafi yuklemeyi ve buna gore deterjan miktarini azaltmayi unutmayin.
A Bu durumda toz deterjan kullanilmasi daha iyidir.
Bu seçenek asagidaki yikama programlarina uygundehyildir: Speed ve Bebek.
Gecikmeli baslatma
Programi 1-24 saatarasinda bir sureyle gecikmeli olarak baslatmak mumkundur.
- Istenen yikama programi ve diger secenekler belirldikten sonra GECIKMELI BAsLATMA duqmesine basin: ilgili gostege isigi yanar. Yikama programinin baslatilmasini istediginiz zamani seqmek icin ayinduqmeyi kullanin (1 - 24 saatlik sure sonrasi).
- Bāslat/Durdur dūgmesiyle seçiminizi onaylayin; gerije doğru saymaesimal. Seçilen gecikme suresinin ilgili 1sigi yanip söner ve Bāslat/Durdur dūgmesi yanip sönmesi durur (Isik sabit olarak yanar).
- Ayarlanan zaman geztikten sonra GECIKMELI BAŞLATMA goştergesi ıski)söner ve yıkama programı%!
GECIKMELI BASLATMA segeneğini iptal etmek icin, KAPALI ögesi görünncye kadar GECIKMELI BASLATMA Düğmesine arka arkaya basin.
A Gecikmeli Baslatma fonksiyonu, yikama islemi basladiktan sonra ayarlanamaz.
Iyi Geceler secenegi
Bu seçeneg makinenin gürültu miktarın azalir ve yikama programini uzatir. Kullanıçınin gece enerji fiyatlarindan faydalanması n sagladigindan bu seçeneg;cok kullanıslidir.
Yikama programini sektiken sonra, Iyi Geceler segeneigi dugmesine basin; seimi belirten kisa bip sesinden sonra ilgili gõsterge işign yanar.
Seçeneşi iptal etmek,—in ayni)—duğmeye tekrar basin.
A Iyi Geceler seceneigi YARIM YUKLU seceneigyle uyumludegildir.
Cok fonksiyonlu tabletler (Sekmeler)
Bu seçenek, yikama ve kurutma sonuçlarini optimize eder.
Çok fonksiyonlu tabletler kullanilirken ÇOK FONKSİYONLU TABLETLER Düğmesine basin. ilgili goşterge İski yanar. "Çok fonksiyonlu tabletler" seçeneği, yikama programınuzamasın neden olur.
A COK FONKSIYONLU TABLETLER secenei iptal edilmezse sonraki yikama programlarinda da kullanilir.
A Tableterin kullanimi, sadece COK FONKSIYONLU TABLETLER seceneğini sunan modeller icin tavsiye edilmektedir.
A Bu secenegin, cok fonksiyonlu tabletlerin kullanimina uygun olmayan yikama programlarinda kullanilmamasi onerilir. (bkz. Secenekler Tablosu).
| Secenekler Tablosu | A | B | C | D |
| Gecikmeli Çalıstirma | Yarıncı Bulaşık | Çok ilelevleri Tablettler | Good Night | |
| Ekonomik 50°C | Evet | Evet | Evet | Evet |
| Otomatik Normal | Evet | Evet | Evet | Evet |
| Günlük A 60' | Evet | Evet | Evet | Hayır |
| Sudan Geçirme | Evet | Evet | Hayır | Hayır |
| Otomatik Süper Yarıka | Evet | Evet | Evet | Hayır |
| Speed 25' | Evet | Hayır | Evet | Hayır |
| Kristal | Evet | Evet | Evet | Hayır |
| Bebek Çevrimi | Evet | Hayır | Hayır | Hayır |
A Catak, kask ve bicaklar az kirli isy da bulasik makinesine yerlestirilmeden once sudan gecirilmisler isbu doogrultuda kullanan deterjan miktarini azaltin.
Yikama devrilerin ve seceneklerin sayisi ve tipi, bulasik makinesi modeline baglı olarak degisiklik gostermektedir.
A Mevcut SEGENEKLER icin BaIangic ve kullanim sayfasindaki Secenekler tablosunu inceleyin.
| Y⊢ikama programi.Sincemtalimatlari | Y⊢ikamaprogrami | Deterjan(A)=A bolmesi(B)=B bolmesi | Kurutmaliyikamaprogramlari | Seçenekler | Y⊢ikamaprogrami.Sincestolerans) Sa. Dk. | ||
| Toz | Sıvi | Tablet | |||||
| Düşükenerjikullanimi,sağlayançevreye duyarili,y⊢ikamaprogrami,tavalarve tabaklar icin uygundur | 50Ekonomik* | 29 g (A)6 g (B) | 29 ml (A)6 ml (B) | 1 (A) | Evet | A-B-C-D | 2:55' |
| Normal seviyede kirlenmiş tava ve tabaklar. Standart,gūnlük y⊢ikamaprogrami. | OtomatikNormal | 29 g (A)6 g (B) | 29 ml (A)6 ml (B) | 1 (A) | Evet | A-B-C-D | 1:50' |
| Sinirli,gūnlük kır miktari(4yer ayari+1tava+1tencere) | Gūnlük A 60 | 25 g (A) | 25 ml (A) | 1 (A) | Hayir | A-B-C | 1:00' |
| Bir sonraki yemeğin bulasiklarindia konulmasini,bekleyen bulasiklar içın on y⊢ikama | SudanGeçirme | Hayir | Hayir | Hayir | Hayir | A-B | 0:08' |
| Çok kiri biluasaiklar ve tavalar(kirilgan parçalar icinkullanilmamaldir) | OtomatikSüper Y⊢ikama | 35 g (A) | 35 ml (A) | 1 (A) | Evet | A-B-C | 2:25' |
| Az kirlenmiş tabaklar icin kullananlekonomik veHZl y⊢ikama(kullandiktan sonra hemen programı calistirn) (2 tabak + 2 bardak + 4 catalkasık + 1 tava + 1 kılıçuk tencere) | speed | 25 g (A) | 25 ml (A) | 1 (A) | Hayir | A-C | 0:25' |
| Yüksek sicutakligrara karsi hassas ögeler icin ekonomikvehizl y⊢ikama(Kullandiktan sonra hemen programi baslatin) (bardak Üst Raf + hassastabaklar Alt raf) | Kristal | 35 g (A) | 35 ml (A) | 1 (A) | Evet | A-B-C | 1:30' |
| Tabaklar, fincanlar, bardaklar ve Ça talbirçaklarla birlikte,isle,halka ve biberon emziklerini y⊢ikam icin uy gundezensekteli y⊢ikama programi.Bulaşiklar,yalinizca üst rafa yerseltirilmelidir. | BebekY⊢ikaması | 20 g (A) | 20 ml (A) | Hayir | Evet | A | 1:20' |
Notlar:
"Günlük yikaması" ve "Speed yikama" devirleri kullanilirken optimum performans Düzyleri, belirtilen maksimum Çatak, kasık ve seksak miktarina sadık kalınarak elde edilebilir.
- Ekonomik yikama devri, EN-50242 yönemeliklerine uygundur. Diger yikama devirlerinden daha uzun sürmesine ragmen daha az enerji kullanir ve Çevreye daha az zararlidir.
Test Laboratuarl iin Not: lgili EN test kosullarina iliskin bilgi almak icin lufen asagidaki adrese bir e-posta gonderin: ASSISTENZA_EN_LVS@indesitcompany.com
Deterjanin olçulmesini daha kolay hale getirmek icin asagidaki bilgileri inceleyin:
1corba kasi = 15 g toz=yaklasik 15 ml sivi 1 Cay kasi = 5 g toz=yaklasik 5 ml siv
A Sadece bulasik makinerleri icin ozel olarak uretilen urunleri kullanin. Tablet tut ya da endustriyel tut veya sivi bulasik deterjan kullanmayin.
Paket uzerinde verilen talimatlari izleyin.
Cok fonksiyonlu bir urin kullanilyorsa durulama maddesi eklemenize gerek yoktur; fakat ozellikle de suyun sert ya da cok sert oldugu yerlerde yasiyorsaniz tuz eklemenizi onemle tavsiye ederiz. Paket uzerinde verilen talimatlari izleyin.
Tuz ya da durulama maddesi eklemezseniz YETERSIZ TUZ ve YETERSIZ DURULAMA MADDESI gosterreich yanip öyle kalacaktir.
Durulama maddesinin ölcülmesi
Durulama maddesi, su, yüzeylerin üzerinden devamlı akar ve herhangi bir Çizik ve ya izbirakmadan durulama isleminiGPCkeleşirken bulasiklarin kurumasini kolaylasi. Durulama maddesi dağticisi doldurulmaldir:
- Kontrol paneli überindeki YETERSIZ DURULAMA MADDESİ * gosterreich işi yändigi zaman;

- (G) kapagini saat yönunun tersine dondürerek dagiticiyi acin.
-
Daigiticidan tasmamasina dikkat ederek durulama maddesini dagiticiya dokun. Durulama maddesi daigiticidan taarsa, kuru bir bez ile dokulen miktari silin.
-
Kapaği tekrar yerine takin. Durulama maddesini ASLA
makineninicone direktolarak dokmeyin.
Durulama maddesi miktarinin ayarlanmasi
Kurutma sonclarindan tam anlamyla memnun degilseniz durulama maddesinin miktarini ayarlayabilirsiniz. Dozaj ayarlayacisini (F) bir tornavida kullanmak suretiyle daha onceden belirlenen 6 pozisyondan birine getirin (ontani ml pozisyon 4'tur):
Bulaşiklann uzerindeçigiler olusuyorsa, ayarlayiciy daha küçuk bir sayiya getirin (1-3).
Bulaşiklar üzerinde su damlaları bulunuyorsa ya da devir bittikten sonra kireç izleri gürülüyorsa ayarlayıciyi daha buyuk birayo getirin (4-6).
Su sertliginin ayarlanmasi
Her bulasik makinesinde ozellkie bu tur cihazlar icin tasarlanan islenmis tuz kullanarak daha sonra bulasiklari yikamak icin kullanilan suyun icindeki kireci alan bir su yumusaticisi bulunmaktadir.
Bulaşik makinese, kırkılgı azaltacık ve bölgenzdeki su sertlügen Göre yıkama performansini optimize edecek seçenekler sunmaktadir. Bu bilgi, konutunuza su tedarık eden organizasyondan ögrenilebilir.
Sertlik derecesinin ayarlanmasi, bulasik makinesi modeline gore farklilik gosterebilir.
- Makineyi ACMA/KAPAMA duğmesine basmak suretiyle aciniz.
- Birkac saniye P tusuna basiniz; sesli kisa bir sinyalden sonra, ekran ayarlanan su sertlik derecesini görtüller ve Baslat/Durdur uyari lambasi titrer (dekalsifikator, fabrika ayarlarnda 3 üzerinderedir).
- Arzu edilen sertlik derecesine ulaşa kadar P tuşuna basiniz (1-2-3-4-5* Su sertlik derecesi tablosuna bakiniz).
Ekran, seçilen su sertlik derecesi degerini görtüleyecektir.
Örn.: sertlik derecesi 1 (1 ekranGORuntus); sertlik derecesi 2 (2 ekran goruntus); sertlik derecesi 3 (3 ekran goruntus); vs...vs. maksimum 5^* seviyeye kadar.
Fonksiyondan cikmak icin birkac saniye bekleyin veya herhangi birduugme seceneigne* basin veya ON/OFF (ACMA/KAPATMA)duugmesine basarak makineyi kapatin.
Cok fonksiyonlu tableter kullanlirken bile su dagitici doldurulmalidir.
| Su Sertlik Tablosu | Orta yeterlik**tuz konteyneri | |||
| seviye | °dH | °fH | mmol/l | ay |
| 1 | 0 - 6 0 - 1 | 10 0 - 1 | 7 ay | |
| 2 | 6 - 11 | 11 - 20 | 1,1 - 2 | 5 ay |
| 3 | 12 - 17 | 21 - 30 | 2,1 - 3 | 3 ay |
| 4 | 17 - 34 | 31 - 60 | 3,1 - 6 | 2 ay |
| 5* | 34 - 50 | 61 - 90 | 6,1 - 9 | 2/3 hafta |
| 0°f ile 10°farasinda tuz kullanilmaması tavsiye editir.*5'e ayarlandıyinda sure uzayabilir.**gände 1 yıkama ile | ||||
(^ dH)= Alman derecesi ile hesaplanmis tertlik - ^ f= Fransiz derecesi ile hesaplanmis tertlik - mmol/l = litre basina milimol
Islenmi tuzun olçulmesi
Bir yikama devrinden mumkun olan en iyi sonuclar almak icin dagitincin devaml olarak dolu oldugundan emin olun. Islenmis tut, sudan kireci alir ve buna bagli olarak bulasiklar uzerinde kirec olusumunu engeller.
Tuz dagitici, bulasik makinesinin alt kisminda bulunmakta olup (bknz Tanim) doldurulmaldir:
Tuz dagticisinin kapagina gozle bakarak yesil ibre * gorulmedigi zaman
- Kontrol paneli üzerindeki YETERSİZ DURULAMA MADDESI *进展情况 15.2019/12/18 17:43 PM

- Alt kremayeri dokun ve konteynir kapaginin vidalarini acin (saat yönünün tersine).
- lik defa yapiyorsaniz: su tankini tam ažina kadar doldurun.
- Huniyi* yerlestitin (bakiniz figur) ve tz konteynirini tam agzina kadar doldurun (Bu
konteynir yaklasik 1 kg kaldirabilmelidir); az miktarda suyun disar sizmasi olagandir.
- Huniyi* cikartin ve aciiklik uzerinde kalan tum tuz artiklarin temizleyin; akan suyun alinda kapaigi durulayin ve ardindan kapaig alt kisminda yildiz sekinde duzenlenmis olak bulunan dort yariktan suyun disari cikmasini saglamak icin asagiya dogru bakedan basliga tekrar vidalayin. (Yeil ibreli kapak*)
Konteynira her tuz ekleyisinizde bu islemleriGPCekleistirmenizi tavsiye ederiz.
Kapaçın yerine sikiča vidalanmş oldugundan emin olun; boylece yikama dongusu suresince dagiticin inicine herhangi bir deterjan madde giremeyecektir (Bu durum su yumusaticisina tamir edilemez bir sekilde zarar verebilirdi.).
Gerekli oldugu zaman tuz dagticisindan disariya sizan tuz gezeltisin temizlendiginden emin olmak icin yikama develrinden once tuzu olcun.
* Sadece seçilen modellerde mevcuttur.
TR
Su ve elektrik kaynaklarin nkapatilmasi
- Sizintilari engellemek amaciyla su muslugunu her yikama devrinden sonra kapatin.
- Makine temizlenirken ya da bakimi yapilirken makinenin fisini cekin.
Bulaşik makinesinin temizlenmesi
- Makinenin dis yüezyleri ve kontrl paneli, iplikçık birakmayan hafif nemli bir bez parçasi ile temizlenebilir. Deterjan ya da asindirici ürünler kullanmayın.
Cihaz icinde olusan leke ya da izler nemli bir bez ile ve az bir sirke ile temizlenebilir.
istenmeyen kokularin engellenmesi
- Nem olusmaması ve olusan nemin makineicone hapsedilmemesi icin makinenin kapagini devaml olarak aralik tutun.
- Kapak cevesindeki su sizirmaz bantlar ve deterjan daiticilarini duzenli araliklarla nemli bir slinger ile temizleyin. Bu, yiyecek artiklarin bantlar uzerinde kalmasini engelleyecek ve bu artiklarin neden oldugu istenmeyen kokularin olusumunu onleyecektir.
Püskürtüku kollarin temizlenmesi
Yiyecek artiklari, piskurtucu kollar uzerine yapisip suyun piskurtuldugudelikleri tikayabilir. Bu nedenle piskurtucilerin duzenli araliklarla kontrl edilmesi ve metal icermeyen bir firca ile temizlenmesi onerilmektedir. Her iki piskurtucu kol da ckartilabilir.

deigistirlmelidir.
Ust puskurtuc kolu cikarmak icin kilit halkasinlaat yonununtersine dondurun. Ust puskurtuc kol,daha fazla sayida delik bulunan yuzun yukariyaogrugeldiginden emin olunmasi icin

Alt puskurtuckol, yandaki sekmelere basarak ve yukariya dokru cekerek ticartilabilir.
Su Giriş Filtresinin Temizlenmesi*
Eger su hortumlari yen ya da uzun bir sure boyuncakullanilmamislarsa gerekli baglantilari yapmadan oncehortumlarin temiz ve artiklardan arindirilmis oldugundanan emin olmak icin su hortumlarindan su gegisine izin verin. Eger soz konusu onlem alinmaz isu girisi tikanabilir vebulaşik makinesi hasar gorebilir.
Musluk cikisindaki su giris filtresini duzenli olarak temizleyin;
-Suslugunukapatin.
- Su giri hortumunun ucinun vidalarini dokun, filtreyi cikartin ve akan suyun.altinda dikkatlice temizleyin.
- Filtreyi yenisi ile degiistirin ve su hortumunu eski pozisyonunda vidalayin.
Filtrelerin temizlenmesi
Filtre grubu, yikama suyundan yiyecek kalintilarini temizleyen ve suyu tekrar donduren 出 ayiri filtreden olusmaktadir. Her yikamada en iyi sonumlari elde etmek icin temizlenmelidirler.
A Filtreleri duzenli araliklarla temizleyin.
A Bulasik makinese filtrer bulunmadan ya da filtrer gevsek durumdayken kullanilmamaldir.
- Birçok yikamadan sonra filtretegrubunu kontrol edin ve gerekkilo olması durumunda üzerinden su akitarak metal icermeyen birirate vasitasiyla asağidaki talimatlari izleyerek temizleyin:
- C silindirik filtresini saat yönunun tersine dondürun ve disari cekin (skl 1).
- Kapak filtresi B'yi yan kanatlara hafif basinç uygulayarak Çikartin (ski 2).
- Paslanmaz Çelik plaka filtresi A'yi disari.Doğru kaydirin (skl 3).
4.Tikaci kontrol edin ve yiyecek articlarini temizleyin. Yikama devri pompasin (siyah kenarl) ASLA SOKMEYIN (skl 4).

1

2


Filtreleri temizledikten sonra filtrte grubunu yaniden yerine takin ve sabitleyin; bu durum bulasik makinesinin veriml kullaniminin elde edilmesi icin gereklidir.
Makinenin uzun sure kullanilmaması
Cihazin elektrik böglantisi kesin ve su musluğunu kapatin.
Cihazin kapaçini yari açık durumda birakin.
- Geridondugunuzde, bulasik makinesi boş halde bir yikama cevrimi yaptirin.
* Sadece seçilen modellerde mevcuttur.
A Bu makine, mevcut uluslar arasi güvenlik standartlarna uygün olarak tasarlanmş ve üretilmşir. Asagidaki bilgi güvenliginiz icin hazirlanmşir, bu nedenle dikkatle okunmaldir.
Genel guvenlik
- Bu cihaz, kendilerine guvenliklerinden sorumlu kisi tarafindan cihazin kullanimi ile ilgili gozetim veya talimat verilmeksizin, siniri fiziksel, algisal veya zihinsel beceriye sahip kisiler (cocuklar dahil) tarafindan kullanilmak uzere tasaranmamistr.
- Cocuklar cihazla oynamamalarini saglamak icin gozetim alinda tutulmalir.
Cihaz, ev icinde konut kullanimi icin tasarlanmis olup ticari ya da endustriyel kullanimi amaclanmamistir. - Ev bulasiklarin bu kullanim kilavuzunda belirtilen sekilde yikanmasi icin makine sadece yetiskiner tarafindan kullanimaldir.
- Makine, diş mekanlarda ya da sadece üsti kapali alanlarda kurulmamaldir. Makinenin yagmur ya da fertina alto biraklimasiçok tehlikelir.
Ciplak ayakla makineye dokunmayin. - Makine prizden Çekilirken kabloyudehyi fisi, elektrik prisinden Çekin.
- Makine temizlenmeden ya da bakim islemleri baslatilmadan once su besleme musluğu kapatilmali ve makinenin fişi, elektrik przyunden Çikarilmaldir.
- Makine arizalanirsa her ne sart altunda olursa olsun makineyi kendiniz tamir etmeye calismayin ve makinenin ic kisimarina dokunmayin.
- Isitici bileşene asla dokunmayin.
- Makinenin açık olan kapagi üzerine yaslanmayin ya da otumayin Bu, makinenin devrilmesine neden olabilir.
- Onemli bir engel teşkil edeçigi icin kapak acik birakilmamaldir.
- Deterjanlari ve durulama maddelerini;cocuklarin ulasamayacagi yerlerde muhafaza edin.
- Paketleme malzemesi oyuncak olarak kullanilmamaldir.
Tasfiye
- Paketlemel malzemesinin tasfiyesi: Paketlerin yeniden kullanilabilir olup olmadigiina dair yerel yasalarinceleyin.
- Atik Elektrikli ve Elektronik Donanimlar (WEEE) konulu ve 2002/96/EC sayil Avrupa Direktiflerinde konutlarda kullaniler elektrikli cihazlarin normal kat iatik dongusu icinde tasfiye edilmemesi gerektigi belirtilmektedir. Eskimos cihazlar, toplum sagligina ve atmossere verilebilecek potansiyel zarar engellenerek makine icinde bulunan malzemelerin yeniden kullanim ve geri donusum masraflarin optimize edilmesi icin ayri olarak toplanmaldir. Uzerinde carpi isareti bulunan cop kutusu, elektrikli ve elektronik alet sahiplerine ayiri atik toplanmasihususundaki sorumluluklarini hatirlmatk icin tum urunler uzerinde bulunmaktadir.
Konutlarda kullanilan elektrikli cihazlarin dokru bir sekilde tasfiye edilmesihususunda ayrintili bilgi edinemek icin ilgili toplum yetkilisine ya da yerel bayinize basvurabilirsiniz.
Enerji tasarrufu yapmak ve cevreye karsi duyarli olmak
Su ve enerji tasarrufu yapmak
-
Sadece bulasik makinesi dolu oldugu zaman yikama devrini baslatin. Bulasik makinesinin dolmasini beklerken Sudan Geirme devrini kullanarak istenmeyen kokularin kullanimini engelleyebilirisiniz. (bknz Yikama devirleri)
-
Yɪkama devirleri tablosunu kullanarak bul)—iklarin kirllik seviyesine ve bul)—ik tipine uygün olan yɪkama devrini,—se.—
- Normal derecede kiri li bulasiklar icin daha duusuk ereri ve su kullanan Ekonomik yikama devrini kullanin.
- Bulaşik miktari normalden daha az ise Yarım yükleme opsiyonunu kullanin (bknz Başlangıç ve kullanım)
- Elektrik tedarikciniz, elektrik tasarrufu saatleri hakkinda bilgi veriyorsa yikama devirlerini dahaDFSUK ucretlendirmu uygulandi saatlerarasinda calistirin. Gecikmeli baslatma *duğmesi (bknz Basklangic ve kullanim) yikama devirlerini istediiginiz sekilde organize etmenize yardimci olur.
Enzim iceren fosfatsiz ve klorsuz deterjanlar
- Cevreye zararli olmalari nedeniyle fosfat ya da klor iceren deterjanlar kullanmamanizi onemle tavyiye ederiz.
- Enzimler, 50^ sicaklik aktinda özellikle etkildir ve bu nedenle enzim iceren deterjanlar, normalde 65^ sicaklik aktinda elde edilen sonçlarin daha Düşuk yikama devri sicakliklarinda elde edilmesi acisindan kullanilabilir.
- Deterjanin sarf edilmesinin onlenmesi acsisindan, urunimalatcinin talimatları, su sertligi, kirllik seviyesi ve bulasikmiktarina gore uygun mktarlarda kullanin. Biyolojik olarak geridonusturulebilir olsalar da deterjanlarDOGANIN dengesinideğistirebilen malzemeler icerir.
Destek
Destege basvurmadan once
- Problemin Sorun Giderme rehberi kullanilarak gezülup gezülmeyecgini kontrl edin (bknz Sorun Giderme).
- Karstalastiginiz problemin devam edip etmedigini gormek icin yikama devrini bastan baslatin.
- Problem devam ediyorsa Yetkili Teknik Destek Servisine basvurun.
Yetkisz tekniysenlerin verdişi hizmetleri kullanmayin.
Lüften asagida belirtilen bilgileri hazir edin:
- Ariza tipi
Cihaz Modeli (Mod) - Seri Numarasi (S/N)
Bu bilgiler, cihazin bilgi plakasi üzerinde bulunur (bknz Cihazin tanimi).
Cihazin calismasinda problem olmasi durumunda Destek taleinke bulunmadan once aagidaki listede bulunan gozum yollarini kontrol edin:
| Arzalar: | Olası sebep/Çozüm: |
| Bulaşık makinese, calism-myor veya komutlara yanı vermiyor | ON/OFF tuşu ile makineyi kapatınüz, yaklaşık bir dakika sonra yeniden,açınüz ve programı yeniiden ayarlayınüz. Fiş elektrik(PRi) prizine tam oturmuyordur. Bulaşık makinesinin kapaşi tam kapalıdehyil. |
| Kapak kapanmýor | Kilit serbest kalıştır, "klak" sesini duyana kadar,kapalık,iyice itiniz. |
| Bulaşık makinese atik sulari bosaltmýor. | Program bitmemiş. Atık su hortumu kırılmışı(Montaj böllumüne bakınüz). Lavabonun tahlıye borsu,tikali. Filtre yemek artıklarıle,tikanmışır. |
| Bulaşık makinese ses yapiyor. | Bulaşkıbirbirine vya piskürtmek kollarıncarçpıyor. Aşırı körpık olusuyor.deterjan dozaki uygung miktarda ayarlanmamşveya deterjan bulaşkımakinesinde,yıkamaya uygungdeğildir.(Çalıstirma ve kullanımolu,müne bakınüz) |
| Bulaşık ve bardaklar üzerinde kireç kalntlari vya Beyazbir satholuşuyor. | Yenileyici tuz eksik vya su sertlügenine uygungbir sekilde ayarlanmamş(Parlattı ve tuz bölümüne,bakınüz). Tuz haznesinin kapaşi tam kapalıdehyil. Parlattı bitti vya dozaki yeterlidehyil. |
| Bulaşık ve bardaklar üzerinde çüzgün gibi vya mavi bir sath olusuyor. | Parlattıdozaki fázla. |
| Bulaşkıram kurumamş. | Kurutmasız bir program/seilmkürlik(Parlattı ve tuz,bölümüne,bakınüz). Parlattıbitti vya dozaki yeterlidehyil(Parlattı ve tuz,bölümüne,bakınüz). Parlattıdozaki uygungdehyil. Bulaşkıram yapişmaz tabanlı vya plastiktir. |
| Bulaşkıram temizdehyil. | Sepetler fazlosıyla doldurulmuss(Sepetlerin,doldurulmasi,bölümüne,bakınüz). Bulaşkıramiyerleşirilmemis. Piskürtmek kollari serbeste dōnemiyor. Çok halifbir yıkama programıseçilmkür(Parlattıbölümüne,bakınüz). Aşırı körpık olusuyor.deterjan dozaki uygungmktarda ayarlanmamşveya deterjan bulaşkımakinesinde,yıkamaya uygungdeğildir.(Çalıstirma ve kullanımolu,müne,bakınüz) Parlattı haznesinin kapaşi tamamen kapanmamş. Filtre kırı vya,tikali(Bakim ve temizlik,bölümüne,bakınüz). Yenileyici tuz eksik(Parlattı ve tuz,bölümüne,bakınüz). |
| Bulaşkırmakinese su almýor - Kapaliçesigne alarmı. (kısa bipinyalleri duyulur) (ON/OFF(AÇMA/KAPAMA)gösterg esinir,isiklariyanı,soserveA6 ekrana gelir) | Şebekingensu akymiyor. Beslme su hortumu kırımlmiş(Montaj,bölümüne,bakınüz). Musluşu,açınüz;birkac,dakika sonra makine tekrargalı,maya baslayacaktı. Bipinyali verilince;mudahale edilmediği icin cihazdurmş. ON/OFFtuşuna basarak makineyi kapatıniz,musluşu,açınüz ve20saniye sonraayıta basarakmakineyi tekrar,calıstriniz.Makineyi yenidenprogramlayiniz ve tekrar,calıstriniz. |
| Su Alma hortumunda alarm/Su gisıfiltresi,tikalı. (ON/OFF(AÇMA/KAPAMA)gösterg esinir,isiklariyanı,soserveA7 ekrana gelir) | Çamaşır makinesini ACMA/KAPAMAduğmesinebasmak suretiylekapatınüz.Akmasınl önlemek icin su musluşunukapatınüz,fişi prizdençıkartınz.Su,girişfittresinin pislijklerile,tikanmamşolduguunukontrol ediniz.(“Bakim ve Koruma” bölümüne,bakınüz) |
Notice-Facile