RCNE520E30JGB - Kombine buzdolabı BEKO - Ücretsiz kullanım kılavuzu

Cihazın kılavuzunu ücretsiz bulun RCNE520E30JGB BEKO PDF formatında.

📄 489 sayfa Türkçe TR 💬 Yapay zeka sorusu
Notice BEKO RCNE520E30JGB - page 455
Kılavuz asistanı
ChatGPT tarafından desteklenmektedir
Mesajınız bekleniyor
Ürün bilgisi

Marka : BEKO

Model : RCNE520E30JGB

Kategori : Kombine buzdolabı

Cihazınız için talimatları indirin Kombine buzdolabı PDF formatında ücretsiz! Kılavuzunuzu bulun RCNE520E30JGB - BEKO ve elektronik cihazınızı yeniden ele alın. Bu sayfada cihazınızın kullanımı için gerekli tüm belgeler yayınlanmaktadır. RCNE520E30JGB markasının BEKO.

KULLANIM KILAVUZU RCNE520E30JGB BEKO

Lütfen önce bu kılavuzu okuyun! Değerli Müşterimiz, Modern tesislerde üretilen ve titiz kalite kontrol işlemlerinden geçirilen üründen en iyi verimi almanızı istiyoruz. Kullanma kılavuzu ürünü hızlı ve güvenli bir şekilde kullanmanıza yardımcı olur.

  • Güvenlikle ilgili talimatlara mutlaka uyun.
  • Daha sonra ihtiyacınız olabileceği için kullanma kılavuzunu kolay ulaşabileceğiniz bir yerde saklayın.
  • Ürünle birlikte verilen diğer belgeleri de okuyun.
  • Üretici ürün üzerinde değişiklik yapma hakkını saklı tutar. Bu kullanma kılavuzunun başka modeller için de geçerli olabileceğini unutmayın. Semboller ve açıklamaları Kullanma kılavuzunda şu semboller yer almaktadır:

Önemli bilgiler veya faydalı ipuçları. Can ve mal tehlikesi. Elektrik çarpması riski. Ürünün ambalajı, Ulusal Çevre Mevzuatımız gereği geri dönüştürülebilir malzemelerden üretilmiştir. AEEE yönetmeliğine uygundur. İçindekiler 1 Güvenlik ve çevre talimatları3 5 Ürünün kullanımı 1.1. Genel güvenlik . . . . . . . . . . . . . . . . . . .3

1.1.1 HC uyarısı . . . . . . . . . . . . . . . . . . . . . . . .5

1.1.2 Su pınarlı modeller için . . . . . . . . . .6

5.16 Su pınarı . . . . . . . . . . . . . . . . . . . . . . . . 24

5.17.Su Pınarının Kullanılması . . . . . . . 24

5.18.Su deposunun temizlenmesi . . 25

5.19.Su tepsisi . . . . . . . . . . . . . . . . . . . . . . . 26

5.20.Taze yiyeceklerin dondurulması27

5.21.Donmuş gıdaların saklanmasıyla ilgili

tavsiyeler . . . . . . . . . . . . . . . . . . . . . . . 27

5.22.Derin dondurucu bilgileri . . . . . . 28

5.23 Gıdaların yerleştirilmesi . . . . . . . . 28

5.24.Kapı açık uyarısı . . . . . . . . . . . . . . . . 28

5.25.Kapı açılış yönü değişimi . . . . . . . 28

  • Kurulum için doğru yer p. 9
  • Plastik takozların takılması p. 9
  • Ayakların ayarlanması p. 9
  • Elektrik bağlantısı Kapıların yönünün değiştirilmesi11 Kapıların yönünün değiştirilmesi12 4 Ön hazırlık p. 10

4.1. Enerji tasarrufu için yapılması gerekenler . . . . . . . . . . . . . . . . . . . . . . 13 4.2. İlk kullanım . . . . . . . . . . . . . . . . . . . . . 13 6 Bakım ve temizlik

6.1. Kötü kokuların önlenmesi . . . . . . 29 6.2. Plastik yüzeylerin korunması . . 29 6.3. Kapı camları . . . . . . . . . . . . . . . . . . . 30 7 Sorun giderme 2 /33 TR

Buzdolabı / Kullanma Kılavuzu

Güvenlik ve çevre talimatları Bu bölümde, yaralanma ya da maddi hasar riskini ortadan kaldıracak gerekli güvenlik talimatları yer almaktadır. Bu talimatlara uyulmaması halinde ürün her türlü garanti kapsamından çıkacaktır.

Kullanım amacı Bu cihaz;

  • ev içi ve ev benzeri kapalı alanlarda;
  • mağaza ve ofis benzeri kapalı çalışma alanlarında;
  • çiftlik evleri, otel, pansiyon benzeri kapalı konaklama alanlarında kullanılmak üzere tasarlanmıştır.
  • Ürün dış mekanlarda kullanılmamalıdır. 1.1. Genel güvenlik
  • Bu ürün, fiziksel, duyusal, zihinsel engelleri bulunan; tecrübe ve bilgi eksiği olan kişilerin ve çocukların kullanımına uygun değildir. Cihazın bu kişilerce kullanımı ancak bu kişilerin güvenliğinden sorumlu birinin gözetimi altında gerekli talimatların verilmesi durumunda uygundur. Çocukların Buzdolabı / Kullanma Kılavuzu

3/33 TR cihaz ile oynaması sakıncalıdır. Çalışırken arıza yapması durumunda ürünü fişten çekin. Ürünün fişini prizden çektikten sonra, fişi tekrar takmak için en az 5 dakika bekleyin. Ürün kullanımda değilse fişini çekin. Fişe ıslak ellerle kesinlikle dokunmayın! Fişi çekmek için kablosundan tutmayın, her zaman fişten tutarak çekin. Elektrik fişinin ucunu, prize takarken kuru bir bez ile silin. Priz gevşekse buzdolabının fişini prize takmayın. Kurulum, bakım, temizlik ve tamir işlemleri sırasında ürünün fişini prizden çekin. Ürün uzun süre kullanılmayacaksa fişini elektrik prizinden çekin ve içindeki yiyecekleri çıkarın. Ürününüzün üst veya arka bölmesinde bulunan ve içinde elektronik Güvenlik ve çevre talimatları kartların bulunduğu bölme (elektronik kart kutusu kapağı) (1) açıkken ürün kesinlikle kullanılmamalıdır.

Buzdolabındaki temizleme ve eritme işlemi için kesinlikle buhar veya buharlı temizlik malzemeleri kullanmayın. Buhar, buzdolabındaki elektrikli bölgelere temas ederek kısa devre veya elektrik çarpmasına neden olur! Ürünü üzerine su püskürterek veya su dökerek kesinlikle yıkamayın! Elektrik çarpma tehlikesi vardır!

4 /33 TR Elektrik çarpma riski olduğu için ürün arızalı iken kesinlikle çalıştırılmamalıdır. Yetkili servisle iletişime geçmeden herhangi bir işlem yapmayın. Ürünü, topraklı bir prize bağlayın. Topraklama tesisatı uzman bir elektrikçi tarafından yapılmalıdır. Ürününüzde led tipi aydınlatma var ise;değiştirileceği zaman veya herhangi bir sorunda yetkili servisi çağırınız. Dondurulmuş yiyeceklere ıslak elle dokunmayın! Elinize yapışabilirler! Şişe ve kutulardaki sıvı içecekleri dondurucu bölmesine koymayın. Patlayabilirler! İçecekleri, ağızları sıkı bir şekilde kapalı ve dik olarak yerleştirin. Yangın veya patlama riski olduğu için, ürünün yakınında yanıcı spreyler Buzdolabı / Kullanma Kılavuzu Güvenlik ve çevre talimatları

püskürtmeyin. Yanıcı ve yanıcı gaz içeren ürünleri (sprey vb.) ve patlayıcı maddeleri buzdolabında saklamayın. Ürünün üstüne içi sıvı dolu kaplar koymayın. Elektrikli bir parçanın üzerine su sıçrarsa elektrik çarpması ve yangın riski ortaya çıkar. Ürünü yağmur, kar, güneş ve rüzgâra maruz bırakmak elektrik güvenliği açısından tehlikelidir. Ürününüzün yerini değiştirirken kapı sapından tutarak çekmeyin. Sap yerinden çıkabilir. Ürünün içinde bulunan hareketli aksamlara elinizi veya vücudunuzun herhangi bir kısmını sıkıştırmamaya dikkat edin. Buzdolabındaki kapı ve çekmece gibi kısımları Buzdolabı / Kullanma Kılavuzu

kesinlikle destek veya basamak olarak kullanmayın. Ürünün devrilmesine veya aksamlarının zarar görmesine neden olursunuz. Şebeke kablosunun ezilmemesine dikkat edin.

Ürün R600a gazı içeren soğutma sistemine sahipse kullanım ve taşıma sırasında soğutma sisteminin ve boruların zarar görmemesine dikkat edin. Bu gaz yanıcıdır. Soğutma sistemi zarar görmüşse, ürünü, sistemin alev almasına neden olabilecek potansiyel kaynaklardan uzak tutun ve ürünün bulunduğu odayı hemen havalandırın. 5/33TR Güvenlik ve çevre talimatları

Ürünün hangi gazla üretildiği bilgisi ürünün sol iç kısmındaki etikette yer alır. Sıcak su girişine montaj yapmayınız. Hortumların donma riskine karşı önlem alınız. Su sıcaklığı çalışma aralığı minimum 33°F (0.6°C) , maksimum100°F (38°C) olmalıdır.

  • Yalnızca içme suyu kullanın. 1.2. Kullanım amacı
  • Bu ürün evde kullanılmak üzere tasarlanmıştır. Ticari amaçlı kullanıma uygun değildir.
  • Ürün, yalnızca yiyecek ve içecek saklanması için kullanılmalıdır.
  • Hassas sıcaklık kontrolü gerektiren ürünleri (aşı, ısıya duyarlı ilaç, tıbbi malzemeler vb.) buzdolabında saklamayın.
  • Üretici, hatalı kullanım veya taşıma nedeniyle oluşan herhangi bir zarardan dolayı sorumluluk kabul etmez.
  • Soğuk su girişi için basınç maksimum 90 PSi ( 6.2 bar ) olmalıdır. Eğer su basıncınız 80PSi (5,5 bar) değerini aşıyor ise şebeke sisteminizde basınç limitleme valfi kullanınız. Eğer su basıncınızı nasıl kontrol edeceğinizi bilmiyorsanız profesyonel tesisatçılardan yardım alınız.
  • Eğer tesisatınızda su darbesi etkisi görülme riski varsa tesisatınızda mutlaka su darbesi önleyici ekipman kullanınız. Eğer su darbesinin yokluğundan emin değilseniz profesyonel tesisatçılardan yardım alınız. 6 /33 TR Buzdolabı / Kullanma Kılavuzu Güvenlik ve çevre talimatları Ürünün satın alma tarihinden itibaren 10 yıl boyunca orijinal yedek parçalar sağlanacaktır. 1.3. Çocuk güvenliği
  • Ambalaj malzemeleri çocuklar için tehlikeli olduğundan ulaşamayacakları bir yerde bulunmalıdır.
  • Çocukların ürünle oynamalarına izin vermeyin.
  • Ürünün kapısında kilit varsa, anahtar çocukların ulaşamayacağı bir yerde muhafaza edilmelidir.

Bu ürün, geri dönüşümlü ve tekrar kullanılabilir nitelikteki yüksek kaliteli parça ve malzemelerden üretilmiştir. Bu nedenle ürünü, kullanım ömrünün sonunda evsel veya diğer atıklarla birlikte atmayın. Elektrikli ve elektronik cihazların geri dönüşümü için bir toplama noktasına götürün. Bu toplama noktalarını bölgenizdeki yerel yönetimden öğrenebilirsiniz. Kullanılmış ürünleri geri dönüşüme vererek çevrenin ve doğal kaynakların korunmasına yardımcı olabilirsiniz. Ürünü atmadan önce çocukların güvenliği için elektrik fişini kesin ve kapıda kilit varsa çalışmaz duruma getirin. 1.5. Ambalaj bilgisi

  • Ürünün ambalajı, Ulusal Mevzuatımız gereği geri dönüştürülebilir malzemelerden üretilmiştir. Ambalaj atığını evsel veya diğer atıklarla birlikte atmayın, yerel yönetiminin belirttiği ambalaj toplama noktalarına atın. 1.4. AEEE yönetmeliğine uyum ve atık ürünün elden çıkarılması Bu ürün, T.C. Çevre ve Şehircilik Bakanlığı tarafından yayımlanan “Atık Elektrikli ve Elektronik Eşyaların Kontrolü Yönetmeliği”nde belirtilen zararlı ve yasaklı maddeleri içermez. AEEE Yönetmeliğine uygundur. Buzdolabı / Kullanma Kılavuzu 7/33TR 2 Buzdolabınız

1. Soğutucu bölme kapı rafı

2. Su pınarı doldurma haznesi

Şişe rafı Kayar saklama kabı Ayarlanabilir ayaklar Derin dondurucu bölmesi Hızlı dondurma bölmesi

Buzmatik Sebzelik Sıfır derece bölmesi Aydınlatma lambası Soğutucu bölme cam rafı Sıcaklık ayar düğmesi Soğutucu bölme Dondurucu bölme *opsiyonel:Bu kullanma kılavuzunda yer alan şekiller örnek olarak verilmiş olup ürününüzle birebir aynı olmayabilir. Satın almış olduğunuz üründe ilgili parçalar yoksa, şekil başka modeller için geçerlidir. 8 /33 TR Buzdolabı / Kullanma Kılavuzu

Kurulum 3.1. Kurulum için doğru yer Ürünün kurulumu için Yetkili Servisi arayın. Ürünü kullanıma hazır duruma getirmek için, kullanma kılavuzundaki bilgilere bakarak elektrik tesisatı ve su tesisatının uygun olmasına dikkat edin. Değilse ehliyetli bir elektrikçi ve tesisatçı çağırarak gerekli düzenlemeleri yaptırın.

UYARI: Yetkili olmayan kişilerce yapılan işlemlerin neden olabileceği zararlardan üretici firma sorumlu değildir. UYARI: Kurulum esnasında ürünün elektrik fişi prize takılı olmamalıdır. Aksi halde ölüm ya da ciddi yaralanma tehlikesi vardır! UYARI: : Ürünün yerleştirileceği odanın kapı aralığı, ürünün geçemeyeceği kadar darsa, olmuyorsa yetkili servisi arayın.

3.2.Plastik takozların

takılması Ürünle duvar arasındaki hava dolaşımını sağlayacak mesafe’yi korumak için ürün içerisinden çıkan plastik takozlar kullanılmaktadır.

1. Takozları takmak için üründeki vidaları

söküp plastik takozlarla birlikte verilen vidaları kullanın.

2. 2 adet plastik takozu şekilde görüldüğü

gibi arka havalandırma kapağına takın.

ayarlanması Ürün, yerleştirdiğiniz yerde dengesiz duruyorsa öndeki ayar ayaklarını sağa veya sola döndürerek ayarlayın.

  • Sarsıntıları önlemek için ürünü düz bir zemine yerleştirin.
  • Ürünü ocak, kalorifer peteği ve soba gibi ısı kaynaklarından en az 30 cm, elektrikli fırınlardan en az 5 cm uzağa kurun.
  • Ürünü doğrudan güneş ışığına maruz bırakmayın ve rutubetli yerde bulundurmayın.
  • Ürününün verimli çalışabilmesi için çevresinde uygun bir hava dolaşımı olmalıdır. Ürünü duvara girintili bir yere yerleştirilecekseniz tavanla ve yan duvarlarla arasında en az 5 cm boşluk olmasına dikkat edin.
  • Sıcaklığın -5°C’nin altına düştüğü ortamlara ürünü kurmayın. Buzdolabı / Kullanma Kılavuzu 9/33 TR Kurulum 3.4. Elektrik bağlantısı

UYARI: Uzatma kabloları ya da çoklu prizlerle bağlantı yapmayın. UYARI: Hasar görmüş elektrik kablosu Yetkili Servis tarafından değiştirilmelidir. İki soğutucu yan yana yerleştiriliyorsa aralarında en az 4 cm boşluk bırakılmalıdır.

  • Ürünün ulusal yönetmeliklere uygun topraklama ve elektrik bağlantısı yapılmadan kullanılması halinde ortaya çıkacak zararlardan firmamız sorumlu olmayacaktır.
  • Elektrik kablosunun fişi, kurulumdan sonra kolay erişilebilir olmalıdır.
  • Buzdolabınızı voltaj değeri 220240V /50 Hz olan, toprak hattına sahip bir prize bağlayınız. Priz, 1016A değerinde bir sigortaya sahip olmalıdır.
  • Buzdolabınız ile duvar prizi arasında uzatma kablolu veya kablosuz çoklu grup priz kullanmayınız.

Sıcak yüzey uyarısı! Ürününüzün yan duvarları soğutma sistemini geliştirmek için soğutucu boruları ile donatılmıştır. Yüksek sıcaklıktaki akışkan bu yüzeylerden akabilir ve yan duvarlarda sıcak yüzeylere neden olabilir. Bu normal bir durumdur ve herhangi bir servis ihtiyacı yoktur. Bu alanlara dokunurken dikkat ediniz. 10 /33TR Buzdolabı / Kullanma Kılavuzu Kurulum

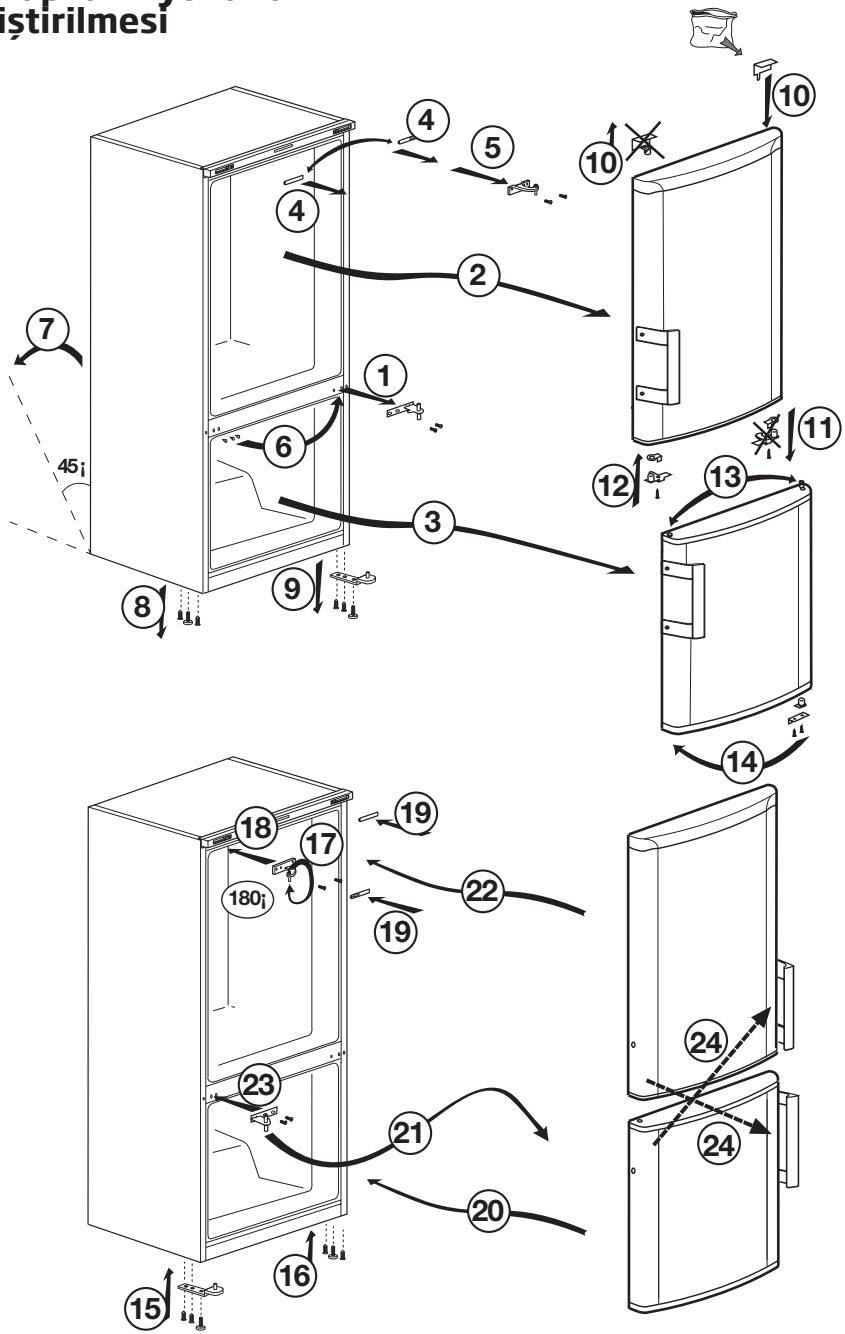
3.5.Kapıların yönünün

Buzdolabı / Kullanma Kılavuzu 11/33 TR Kurulum 3.6. Kapılarınyönünün değiştirilmesi (8)

12 /33TR Buzdolabı / Kullanma Kılavuzu

Ön hazırlık 4.1. Enerji tasarrufu için yapılması gerekenler

Ürünün elektronik enerji tasarruf sistemlerine bağlanması, ürüne zarar verebileceği için sakıncalıdır.

  • Buzdolabınızın kapılarını uzun süre açık tutmayın.
  • Buzdolabınıza sıcak yiyecek ya da içecek koymayın.
  • Buzdolabını aşırı doldurmayın, içerideki hava akımı engellendiğinde soğutma kapasitesi düşer.
  • Buzdolabınızın dondurucu bölmesine en fazla gıdayı yüklemek için üst çekmeceler çıkartılarak cam raf üzerine yüklenmelidir. Buzdolabınızın beyan edilen enerji tüketimi, maksimum yüklemeye imkân sağlayacak şekilde buzluk, buz tepsisi ve üst çekmeceler çıkarılarak belirlenmiştir. Yükleme yaparken alt çekmecenin kullanılması önemle tavsiye edilir. En iyi enerji tüketimi için enerji tasarrufu işlevi aktif olmalıdır.
  • Dondurucu bölme fanı önüne gıda koyarak hava akışı bloke edilmemelidir. Koruyucu fan teli önünde minimum 3cm boşluk bırakılarak gıdalar yüklenmelidir.
  • Ürününüzün özelliğine bağlı olarak; dondurulmuş gıdaları soğutucu bölmede çözdürmeniz, hem enerji tasarrufu sağlayacak hem de gıdanın kalitesini koruyacaktır.
  • Enerji tasarrufu sağlamak ve gıdaları daha iyi ortamda korumak için soğutma bölmesindeki çekmeceler kullanılarak gıdalar saklanmalıdır.
  • Dondurucu bölme yer alan sıcaklık sensörü ile gıda paketlerinin doğrudan teması engellenmelidir. Sensör ile temas olması halinde cihazın enerji tüketiminde artış görülebilir. Buzdolabı / Kullanma Kılavuzu
  • Yiyecekleri aşağıdaki şekilde belirtilen soğutucu bölme sıcaklık sensörüne temas ettirmeyin.

İlk kullanım Buzdolabınızı kullanmaya başlamadan önce, “Güvenlik ve çevre talimatları” ve “Kurulum” bölümündeki talimatlara uygun hazırlıkların yapıldığından emin olun.

  • Ürünü 6 saat boyunca yiyecek koymadan boş olarak çalıştırın ve kapısını çok gerekmedikçe açmayın.

13/33 TR Kompresör çalışmaya başladığında bir ses duyacaksınız. Soğutma sistemi içerisindeki sıkışmış sıvı ve gazlar, kompresör çalışmıyor olsa da ses çıkarabilir ve bu normaldir. Ürünün ön kenarları sıcak olabilir. Bu normaldir. Bu alanlar, yoğuşmayı önlemek için ısınacak şekilde tasarlanmıştır. Bazı modellerde gösterge paneli kapı kapandıktan 5 dakika sonra otomatik olarak sönmektedir. Kapı açıldığında veya herhangi bir tuşa basıldığında, tekrar aktif hale gelecektir.

Ürünün kullanımı 5.1. Sıcaklık ayar düğmesi Buzdolabınızın iç sıcaklığı aşağıda belirtilen nedenlerden dolayı değişiklik gösterir:

  • Mevsim sıcaklıkları,
  • Kapısının sık sık açılması ve uzun süre açık kalması,
  • Oda sıcaklığına düşürülmeden buzdolabınıza sıcak konan yemekler,
  • Buzdolabının oda içerisindeki konumu (güneş ısısına maruz kalması gibi).
  • Bu nedenlerden dolayı değişkenlik gösteren iç sıcaklığı, ayar düğmesi vasıtasıyla ayarlayabilirsiniz. Ayar düğmesi’nin etrafındaki rakamlar “°C” olarak sıcaklık derecelerini göstermektedir. Ortam sıcaklığı 25°C ise, buzdolabının sıcaklık ayar düğmesi 4°C konumunda kullanılması önerilmektedir. Diğer ortam sıcaklıklarında bu değer ihtiyaca göre artırılıp azaltılabilir.

Büyük miktarda taze gıda dondurmak istiyorsanız gıdaları hızlı dondurma bölmesine koymadan 24 saat önce sıcaklık ayar düğmesini ( )konumuna getirin. Dondurma kapasitesi olarak belirtilen maksimum miktarda taze gıdayı dondurmak için düğmenin en az 24 saat süreyle bu konumda tutulması önerilir. Dondurulmuş olarak satılan gıdalarla taze gıdaların karışmamasına özellikle dikkat edin. Gıda dondurulduktan sonra sıcaklık ayar düğmesini önceki konumuna getirmeyi unutmayın. 14 /33 TR Buzdolabı / Kullanma Kılavuzu Ürünün kullanımı

5.3.Tatil fonksiyonu

Sıcaklık ayar düğmesi en sıcak konuma ( )alındıktan sonra ürünün kapıları en az 12 saat açılmaz ise Tatil fonksiyonu otomatik olarak devreye girecektir. Fonksiyonu iptal etmek için düğme ayarı değiştirilmelidir. Tatil fonksiyonu aktifken soğutucu bölmede gıda saklanması önerilmez.

  • Ayar işlemi tamamlandıktan sonra, sıcaklık ayar düğmesi’ni içeri bastırarak gizlenmesini sağlayabilirsiniz. Buzdolabı / Kullanma Kılavuzu 15/33TR Ürünün kullanımı

Gösterge paneli Gösterge panelleri, ürününüzün modeline göre değişiklik gösterebilir. Gösterge panelindeki işitsel ve görsel fonksiyonlar ürünü kullanmanıza yardımcı olur.

Soğutucu bölme göstergesi Hata durumu göstergesi Sıcaklık göstergesi Tatil fonksiyon düğmesi Sıcaklık ayar düğmesi Bölme seçim düğmesi Dondurucu bölme göstergesi Ekonomi modu göstergesi Tatil fonksiyonu göstergesi *opsiyonel

*Opsiyonel: Bu kullanıcı kılavuzunda yer alan şekiller taslaktır ve ürünle birebir aynı olmayabilir. Satın almış olduğunuz üründe ilgili parçalar yoksa, bunlar başka modeller için geçerlidir. 16 /33 TR Buzdolabı / Kullanma Kılavuzu Ürünün kullanımı

1. Soğutucu bölme göstergesi

Soğutucu bölme sıcaklığı ayarlanırken soğutucu bölme ışığı yanar.

2. Hata durumu göstergesi

Buzdolabınız yeterli soğutma yapmıyorsa ya da bir sensör arızası meydana gelirse, bu gösterge devreye girer. Bu gösterge aktif olduğunda, dondurucu bölmesi sıcaklık göstergesinde “E”, soğutucu bölmesi sıcaklık göstergesinde ise “1,2,3...” gibi rakamlar görüntülenir. Göstergedeki bu rakamlar, servis personeline hata hakkında bilgi verir.( )

3. Sıcaklık göstergesi

Dondurucu, soğutucu bölme sıcaklığını gösterir.

6. Bölme seçim düğmesi

Seçim düğmesi soğutucu ve dondurucu bölmeleri arasında geçiş yapmak için buzdolabı bölme seçim düğmesine basın.( )

7. Dondurucu bölme göstergesi

Dondurucu bölme sıcaklığı ayarlanırken soğutucu bölme ışığı yanar.

8. Ekonomi modu göstergesi

Buzdolabının, enerji tasarruf modunda çalıştığını belirtir. Bu gösterge, dondurucu bölmesinin sıcaklığı -18°C'ye ayarlanmışsa aktif olacaktır.( ) 9.Tatil fonksiyonu göstergesi 4.Tatil fonksiyonu düğmesi Bu fonksiyonu aktiflemek için Tatil düğmesine 3 sn basın. Tatil fonksiyonu aktif olduğunda, soğutucu bölmesi sıcaklık göstergesinde "- -" ibaresi görünür ve soğutucu bölmesinde hiçbir aktif soğutma işlemi gerçekleştirilmez. Bu fonksiyonda, yiyeceklerinizi soğutucu bölmesinde tutmanız uygun değildir. Diğer bölmeler, bunlar için ayarlanmış sıcaklıklara göre soğutulmaya devam edecektir. Bu fonksiyonu iptal etmek için tekrar Tatil düğmesine basın.( ) Tatil fonksiyonunun aktif olduğunu gösterir. ( )

5. Sıcaklık ayar düğmesi

İlgili bölme sıcaklığını -24°C... -18°C ve 8°C...1°C arasında değiştirir.( ) Buzdolabı / Kullanma Kılavuzu 17/33TR Ürünün kullanımı Gösterge paneli Gösterge paneli, ürünün kapısını açmadan sıcaklığı ayarlamanızı ve ürünle ilgili diğer fonksiyonları kontrol etmenizi sağlar. Fonksiyon ayarları için sadece ilgili düğmelerin yazılarına dokunmanız yeterlidir.

1. Elektrik kesintisi/Yüksek sıcaklık

/ hata uyarısı Bu gösterge ( ) elektrik kesintisi, yüksek sıcaklık arızası durumunda ve hata uyarılarında yanar. Uzun süre elektrik kesintisi olduğunda, dondurucu bölme sıcaklığının ulaştığı en sıcak değer, digital göstergede yanıp söner. Dondurucu bölme gıdaları kontrol edildikten sonra ( )alarm off düğmesine basılarak uyarı silinir. Bu göstergeyi açık görürseniz lütfen kılavuzunuzdaki "sorunlar için önerilen çözümler" bölümüne bakın.

Ürünün kapılarının açılıp kapanmadığı zamanlarda enerji tasarrufu fonksiyonu otomatik olarak devreye girer ve enerji tasarrufu simgesi yanar.( Enerji tasarrufu fonksiyonu etkinleştirildiğinde enerji tasarrufu simgesi dışında ekrandaki tüm simgeler söner. Enerji tasarrufu fonksiyonu etkinken herhangi bir düğmeye basılır ya da kapı açılırsa, enerji tasarrufu fonksiyonundan çıkılır ve ekrandaki simgeler normale döner. *Opsiyonel: Bu kullanıcı kılavuzunda yer alan şekiller taslaktır ve ürünle birebir aynı olmayabilir. Satın almış olduğunuz üründe ilgili parçalar yoksa, bunlar başka modeller için geçerlidir. 18 /33 TR Buzdolabı / Kullanma Kılavuzu Ürünün kullanımı Enerji tasarrufu fonksiyonu fabrika çıkışı aktif bir fonksiyondur, iptal edilemez. 3.Hızlı soğutma fonksiyonu Düğmenin iki fonksiyonu vardır. Hızlı soğutma fonksiyonunu etkinleştirmek veya devre dışı bırakmak için basıp bırakın. Hızlı soğutma göstergesi sönecek ve ürün normal ayarlarına geri dönecektir. (

Hızlı soğutma fonksiyonunu soğutucu bölmeye koyduğunuz yiyecekleri hızlı bir şekilde soğutmak istediğinizde kullanın. Büyük miktarda taze yiyecek soğutmak istiyorsanız, yiyecekleri ürüne yerleştirmeden önce fonksiyonu etkinleştirin. Hızlı soğutma fonksiyonu iptal edilmezse en fazla 8 saat sonra veya dondurucu bölme yeterli soğukluğa ulaşınca otomatik olarak iptal olur. Elektrik kesintisi sonrası bu fonksiyon hatırlanmaz. Bu düğmeye basıldığında soğutucu bölme sıcaklığı sırayla 8, 7,6, 5,4,3, 2, 8... değerlerine ayarlanabilir. Soğutucu bölme sıcaklığını istediğiniz değere ayarlamak için bu düğmeye basın.( ) Buzdolabı / Kullanma Kılavuzu

6. Alarm off uyarısı

Elektrik kesintisi/yüksek sıcaklık alarmı durumunda dondurucu bölme gıdaları kontrol edildikten sonra alarm off düğmesine basılarak ( )uyarı silinir.

Hızlı soğutma düğmesine kısa aralıklarla tekrar tekrar basarsanız, elektrik devre koruması etkinleşir ve kompresör hemen devreye girmez.

4. Soğutucu bölme sıcaklık ayar

düğmesi 5.Tatil fonksiyonu Tatil fonksiyonunu aktive etmek için bu düğmeye ( )3 saniye basın, tatil modu göstergesi ( ) devreye girer.Tatil fonksiyonu aktif olduğunda, soğutucu bölmesi sıcaklık göstergesinde "- -" ibaresi görünür ve soğutucu bölmesinde hiçbir aktif soğutma işlemi gerçekleştirilmez. Bu fonksiyonda, yiyeceklerinizi soğutucu bölmesinde tutmanız uygun değildir. Diğer bölmeler, bunlar için ayarlanmış sıcaklıklara göre soğutulmaya devam edecektir. Bu fonksiyonu iptal etmek için tekrar tatil fonksiyonu düğmesine basın. 3 saniye boyunca eş zamanlı olarak tuş kilidi düğmesine ( )basın. Tuş kilidi simgesinin ( ) ışığı yanar ve tuş kilidi modu etkinleşir. Tuş kilidi modu etkin olduğunda düğmeler çalışmaz. 3 saniye boyunca eş zamanlı olarak tekrar Tuş kilidi düğmesine basın. Tuş kilidi simgesinin ışığı söner ve tuş kilidi modundan çıkılır. Eğer buzdolabının sıcaklık ayarının değiştirilmesini engellemek isterseniz tuş kilidi düğmesine basın.( ) 19/33TR Ürünün kullanımı

Eko fuzzy fonksiyonunu etkinleştirmek için eko fuzzy düğmesine 1 saniye boyunca basılı tutun. Fonksiyon aktifken dondurucu en az 6 saat sonra en ekonomik modda çalışmaya başlayacak ve ekonomik kullanım göstergesi yanacaktır.( ) Eko fuzzy fonksiyonunu devre dışı bırakmak için eko fuzzy fonksiyonu düğmesine 3 saniye boyunca basılı tutun. Bu gösterge eko fuzzy fonksiyonu aktifken 6 saat sonra yanar.

9. Dondurucu bölme sıcaklık ayar

düğmesi Bu düğmeye basıldığında dondurucu bölme sıcaklığı -18,-19,-20,-21, -22, -23,-24, -18... değerlerine sırası ile ayarlanabilir. Dondurucu bölme sıcaklığını istediğiniz değere ayarlamak için bu düğmeye basın.( )

10. Buzmatik kapalı göstergesi

Buzmatiğin çalışır durumda olup olmadığını göserir. ( )Yanıyorsa buzmatik çalışmıyor demektir. Buzmatiği tekrar çalıştırmak için buzmatik açma-kapatma düğmesini 3 saniye basılı tutun.

Bu fonksiyon seçili iken su tankından su alımı duracaktır. Ancak buzmatikteki daha önce yapılmış buzlar alınabilir.

11. Hızlı dondurma fonksiyonu

düğmesi/ buzmatik açma-kapatma düğmesi Fonksiyonu etkinleştirdiğinizde, dondurucu bölme ayarlı sıcaklıktan daha düşük bir değere soğutulacaktır. Buzmatiği açmak veya kapatmak için ise yaklaşık 3 saniye basılı tutun.

Hızlı dondurma fonksiyonunu dondurucu bölmeye koyduğunuz yiyecekleri hızlı bir şekilde dondurmak istediğinizde kullanın. Büyük miktarda taze yiyecek dondurmak istiyorsanız, yiyecekleri ürüne yerleştirmeden önce fonksiyonu etkinleştirin.

Hızlı dondurma fonksiyonu iptal edilmezse en fazla 4 saat sonra veya soğutucu bölme yeterli soğukluğa ulaşınca otomatik olarak iptal olur. Elektrik kesintisi sonrası bu fonksiyon hatırlanmaz.

12. Ekonomik kullanım göstergesi

Ürünün enerji tasarrufu modunda çalıştığını gösterir. ( )Dondurucu bölme sıcaklığı -18 olarak ayarlandığında veya Eko-Ekstra fonksiyonuyla enerji tasarruflu soğutma gerçekleştirilirken bu gösterge yanar.

Hızlı soğutma veya hızlı dondurma fonksiyonları seçildiğinde ekonomik kullanım göstergesi söner. Hızlı dondurma fonksiyonunu etkinleştirmek veya devreden çıkarmak için bu düğmeye basın. 20 /33 TR Buzdolabı / Kullanma Kılavuzu Ürünün kullanımı 5.5. Buz kabı 5.7. Fan (Bu özellik opsiyoneldir)

  • Buz kabını dondurucu bölmeden çıkarın.
  • Buz kabını suyla doldurun.
  • Buz kabını dondurucu bölmeye yerleştirin. Yaklaşık iki saat sonra buz hazırdır.
  • Buz kabını dondurucu bölmeden çıkartıp buzları servis edeceğiniz kabın üzerinde hafifçe bükün. Buzlar kolayca servis kabına dökülecektir.

Fan buzdolabınızın içindeki soğuk havanın homojen olarak dağılmasını ve dolaşmasını sağlamak için tasarlanmıştır. Fanın çalışma zamanı ürününüzün özelliğine göre farklılık gösterebilir. Bazı ürünlerde fan sadece kompresör ile birlikte çalışırken, bazılarında soğutma ihtiyacına göre çalışacağı zamanı kontrol sistemi belirler. Yumurtalık Yumurtalığı istediğiniz kapı veya gövde rafına koyabilirsiniz. Gövde rafına koyulacaksa daha soğuk alt rafların tercih edilmesi önerilir.

Yumurtalığı kesinlikle dondurucu bölmeye koymayın.

Sebzelik (Bu özellik opsiyoneldir) Ürünün sebzeliği, özellikle sebzelerin nemini kaybetmeden taze olarak korunması için tasarlanmıştır. Bu amaçla, sebzeliğin genelinde soğuk hava dolaşımı yoğunlaştırılmıştır. 5.9. Sıfır derece bölmesi (Bu özellik opsiyoneldir) Bu bölmeyi daha düşük sıcaklıkta saklanması gereken şarküteri ürünlerini veya hemen tüketeceğiniz et ürünlerini saklamak için kullanın. Sıfır derece bölmesi, buzdolabınızda süt mamülleri, et, balık veya tavuk gibi gıdaların ideal saklama koşullarında saklanabileceği en soğuk yerdir. Sebze ve/veya meyveler bu bölümde saklanmamalıdır. Buzdolabı / Kullanma Kılavuzu 21/33TR Ürünün kullanımı 5.11. Kayar saklama kabı 5.10. Hareketli kapı rafı (Bu özellik opsiyoneldir) (Bu özellik opsiyoneldir) Hareketli Kapı Rafı, 3 ayrı pozisyonda sabitlenebilmektedir. Rafı hareket ettirmek için kenarlarda görülen butonlara aynı oranda basınız. Raf, hareket edebilir duruma gelecektir. Rafı aşağı ya da yukarı hareket ettiriniz. Rafı istediğiniz konuma getirdiğinizde butonları bırakınız. Raf, butonları bıraktığınız yerde tekrar sabitlenecektir. Bu aksesuar kapı raflarının kullanım hacmini arttırmak için tasarlanmıştır. Sağa ve sola hareket etme özelliği sayesinde bir alttaki şişe rafına koyduğunuz uzun şişe, kavanoz veya kutuları rahatlıkla yerleştirebilmenizi sağlar. 5.12. Mavi Işık (Bu özellik opsiyoneldir) Mavi ışık ile aydınlatılan sebzeliklerde saklanan gıdalar, mavi ışığın dalga boyu etkisi ile fotosentez yapmaya devam ederek, tazeliklerini korumakta ve vitamin değerlerini arttırmaktadırlar. 22 /33 TR Buzdolabı / Kullanma Kılavuzu Ürünün kullanımı 5.13. Nem kontrollü sebzelik 5.14. Otomatik buz makinası (Bu özellik opsiyoneldir) (Bu özellik opsiyoneldir) Nem kontrollü sebzelik özelliği ile sebze ve meyvelerin nem oranları kontrol altında tutulmakta ve gıdaların daha uzun süre taze kalmaları sağlanmaktadır. Marul, ıspanak gibi yapraklı sebzeleri ve nem kaybına duyarlı benzer sebzeleri, kökleri üzerinde dik değil, mümkün mertebe yatay konumda sebzeliklere yerleştirmenizi tavsiye ederiz. Sebzelerin yerleştirilmesi sürecinde sebzelerin özgül ağırlıklarını göz önünde bulundurup, ağır ve sert sebzeleri altta, hafif ve yumuşak sebzeleri üstte kalacak şekilde konumlandırınız. Sebzelik içerisinde sebzeleri kesinlikle poşet içinde bırakmayınız. Sebzelerin poşet içinde kalmaları, kısa sürede çürümelerine neden olur. Hijyen açısından diğer sebzeler ile temasın tercih edilmediği durumlarda poşet yerine, belirli bir gözenekliliğe sahip kağıt vb. ambalaj malzemeleri kullanınız. Elma başta olmak üzere, etilen gazı üretimi yüksek olan armut, kayısı, şeftali gibi meyveleri, diğer sebzemeyveler ile aynı sebzelik içerisine yerleştirmeyiniz. Bu meyvelerden açığa çıkan etilen gazı, diğer sebze-meyvelerinizin daha hızlı olgunlaşmasına ve daha kısa sürede çürümelerine neden olabilir. Buzdolabı / Kullanma Kılavuzu Otomatik buz makinası, buzdolabında kolayca buz yapmanızı sağlar. Buz makinasından buz elde etmek için soğutucu bölmedeki su tankını çıkarın, suyla doldurun ve yerine takın. İlk buzlar yaklaşık 2 saat içinde dondurucu bölmedeki Buz makinası çekmecesinde hazır olacaktır. Su tankı tamamıyla dolu yerleştirildikten boşalana kadar yaklaşık 60-70 küp buz elde edilebilir. Su tankındakı su 2-3 hafta beklediyse değiştirilmelidir.

23/33TR Otomatik buz makineli ürünlerde, buz dökme esnasında ses oluşabilir. Oluşan bu ses normal olup, hata belirtisi değildir. Ürünün kullanımı 5.15. Buzmatik ve Buz Saklama Kabı 5.16. Su pınarı (Bu özellik opsiyoneldir) (Bazı Modellerde) Buzmatik’in kullanılması Buzmatiği su ile doldurup yerine koyunuz. Yaklaşık iki saat sonunda buzlarınız hazırdır. Buz almak için buzmatiği yerinden çıkarmayınız. Buz haznelerinin üzerindeki düğmeleri 90˚ sağa çeviriniz. Buz haznelerindeki buzlar alltaki buz saklama kabına dökülecektir. Daha sonra buz saklama kabını çıkarıp buzları servis yapabilirsiniz. Dilerseniz buzları, buz saklama kabında bekletebilirsiniz. Su pınarı, dolabınızın kapısını açmadan soğuk suya ulaşmaya dayalı son derece kullanışlı bir özelliktir. Buzdolabınızın kapısını sık açmanız gerekmediği için elektrik tasarrufu sağlamış olursunuz. Buz saklama kabı Sadece buz biriktirmek içindir. İçinde su dondurmayınız. Aksi takdirde kırılır. 5.17. Su Pınarının Kullanılması Su pınarınızın kolunu bardağınızla ittirin. Kolu bıraktığınızda pınarın çalışması durur. Su pınarını çalıştırırken kola tam basıldığında maksimum akış sağlanır. Pınardan ne kadar su aktığının, kola hangi oranda bastırdığınıza bağlı olduğunu lütfen unutmayın. Bardağınızdaki/kabınızdaki su seviyesi yükseldikçe taşmayı önlemek için kol üzerindeki baskı miktarını hafifçe azaltın. Kola az miktarda basarsanız su damlayacaktır; bu tamamen normaldir ve bir arıza değildir. 24 /33 TR Buzdolabı / Kullanma Kılavuzu Ürünün kullanımı Su pınarının su deposunun doldurulması Su deposu doldurma haznesi kapı rafının içindedir. Haznenin kapağını açarak saf ve temiz içme suyunu doldurabilirsiniz. Sonrasında kapağı tekrar kapatınız Dikkat!

  • Su deposuna su dışında, meyve suyu, karbonatlı gazlı içecekler, alkollü içecekler gibi su pınarıyla kullanıma uygun olmayan başka bir sıvı doldurmayın. Bu tür sıvılar kullanılırsa su pınarı arızalanacak ve onarılamaz hasar meydana gelecektir. Garanti, bu tür kullanımları kapsamaz. Bu tür içecek / sıvılardaki bazı kimyasal maddeler ve katkı maddeleri de su deposu malzemesine zarar verebilir.
  • Sadece temiz ve saf içme suyu kullanın.
  • Su deposunun kapasitesi 3 litredir, aşırı doldurmayın.
  • Su pınarı kolunu sert bir bardakla ittirin. Plastik atılabilir bardak kullanıyorsanız kolu, bardağın arkasından parmaklarınızla ittirin. 5.18. Su deposunun temizlenmesi
  • Kapı rafı içindeki su doldurma haznesini çıkarın.
  • Kapı rafını her iki tarafından tutarak yerinden çıkarın.
  • Su deposunu her iki tarafından tutarak 45∘derece açı ile yerinden çıkarın.
  • Su deposu kapağını çıkararak temizleyin.

Buzdolabı / Kullanma Kılavuzu 25/33TR Su deposu ve su pınarı bileşenleri bulaşık makinesinde yıkanmamalıdır. Ürünün kullanımı 5.19. Su tepsisi Su pınarı kullanılırken damlayan su, damlama tepsisinde birikir. Plastik süzgeç parçasını şemada gösterildiği gibi çıkartın. Kuru ve temiz bir bez ile biriken suyu temizleyin 26 /33 TR Buzdolabı / Kullanma Kılavuzu Ürünün kullanımı 5.20. Taze yiyeceklerin dondurulması

  • Gıdaların kalitesinin korunabilmesi için dondurucu bölmeye konulduğunda mümkün olduğunca hızlı dondurulmalıdır, bunun için hızlı dondurma özelliğini kullanın.
  • Gıdaları tazeyken dondurmanız halinde, dondurucu bölmede daha uzun saklayabilirsiniz.
  • Dondurulacak gıdaları paketleyerek, hava almayacak şekilde ağızlarını iyice kapatın.
  • Gıdalarınızı dondurucuya koymadan önce paketlemeye dikkat edin.Klasik ambalaj kağıtları yerine, dondurucu kaplarını, folyolarını ve nem geçirmeyen kağıdı, plastik torba veya diğer paketleme malzemelerini kullanın.

Dondurucu bölmelerindeki buzlar otomatik olarak çözülür.

  • Dondurulmuş gıdalar çözüldükten sonra derhal kullanılmalı ve tekrar dondurulmamalıdır.
  • Çok fazla miktarda yiyeceği bir seferde dondurmayın. 5.21. Donmuş gıdaların saklanmasıyla ilgili tavsiyeler Bölüm en az -18°C dereceye ayarlı olmalıdır.

1. Ürünleri satın aldıktan sonra

çözülmesine fırsat vermeden, olabildiğince kısa süre içinde dondurucuya koyun.

2. Ürünü dondurmadan önce paketin

üzerindeki “Son Kullanma” tarihinin geçmediğinden emin olmak için kontrol edin.

3. Gıda ambalajının hasarlı olmamasına

  • Dondurmadan önce her besin paketini, tarih yazarak etiketleyin. Dondurucunuzu her açtığınızda, her besinin tazeliğini bu şekilde ayırt edebilirsiniz. Daha önce dondurulan besinleri ön tarafta saklayarak ilk olarak kullanılmasını sağlayın. Dondurucu Soğutucu Bölmesi Ayarı Bölmesi Ayarı -18°C -20,-22 veya -24°C 4°C Hızlı Dondur 4°C -18°C veya daha soğuk 2°C 4°C Açıklamalar Bu, normal tavsiye edilen ayardır. Bu ayarlar, ortam sıcaklığı 30°C'yi geçtiğinde tavsiye edilir. Yiyeceklerinizi kısa zamanda dondurmak istediğinizde kullanın. İşlem bittiği zaman ürününüz önceki konumuna geri dönecektir. Ortamın sıcak olması veya kapının sık açılıp kapanmasından dolayı soğutucu bölmenizin yeterince soğuk olmadığını düşünüyorsanız, bu ayarları kullanın. Buzdolabı / Kullanma Kılavuzu 27/33TR Ürünün kullanımı 5.22. Derin dondurucu bilgileri IEC 62552 standartlarına göre, her 100 litre dondurucu bölme hacmi için ürünün 25°C oda sıcaklığında 4,5 kg'lık gıda maddesini -18°C veya daha düşük sıcaklıklarda 24 saatte dondurabilmesini gerektirir. Gıda maddelerinin uzun süre korunması ancak -18°C ve daha düşük sıcaklıkta mümkündür. Gıda maddelerinin tazeliğini (derin dondurucuda -18°C ve daha düşük sıcaklıklarda) aylarca koruyabilirsiniz. Dondurulacak gıda maddeleri daha önce dondurulan yiyeceklerin kısmen çözülmelerini önlemek için onlarla temas ettirilmemelidir. Sebzelerin dondurulmuş halde depolama sürelerini uzatmak için haşlayın ve suyunu süzün. Süzdükten sonra hava geçirmeyen ambalajlara koyun ve dondurucuya yerleştirin. Muz, domates, marul, kereviz, haşlanmış yumurta, patates vb. besinler dondurulmaya uygun değildir. Bu besinlerin dondurulması durumunda sadece besin değerleri ve yeme kaliteleri olumsuz etkilenecektir. İnsan sağlığını tehdit eden bir bozulma söz konusu değildir. 5.23. Gıdaların yerleştirilmesi Dondurucu bölme rafları Soğutucu bölme rafları Et, balık, dondurma, sebze vb. gibi farklı donmuş gıdalar. Tencere, kapalı tabak ve kapalı kaplardaki gıdalar, yumurta (kapalı kapta) Soğutucu bölme kapı rafları Sebzelik Taze gıda bölmesi Küçük ve paketlenmiş gıda ya da içecekler Sebzeler ve meyveler Şarküteri ürünleri (kahvaltılık ürünler ,kısa sürede tüketilecek et ürünleri) 5.24. Kapı açık uyarısı (Bu özellik opsiyoneldir) Ürününüzün kapısı en az 1 dakika süre açık kaldığında uyarı sesi duyulur. Kapı kapatıldığında veya varsa, ekran butonlarından herhangibirine basıldığında bu ses kesilir. Kapı açık uyarısı hem sesli hem de görsel olarak kullanıcıya gösterilir. Uyarı 10 dk boyunca devam ettiği takdirde iç aydınlatmalar kapanır. 5.25. Kapı açılış yönü değişimi Kullandığınız yere göre buzdolabınızın kapı açılış yönü değiştirilebilir. Buna ihtiyaç duyduğunuzda mutlaka size en yakın Yetkili Servis’e başvurunuz. Yukarıdaki açıklama genel bir ifadedir. Kapı açılış yönü değişebilirliği ile ilgili olarak ürünün kapı içinde bulunan, uyarı etiketine bakılmalıdır. 5.26. Aydınlatma lambası Aydınlatma lambası olarak led tipi lamba kullanılmaktadır. Bu lamba ile ilgili herhangi bir sorunda yetkili servisi çağırın. Bu cihazda kullanılan lamba(lar) evde aydınlatma amaçlı kullanılamaz. Bu lambanın kullanım amacı güvenli ve rahat bir şekilde buzdolabı / dondurucu besinleri yerleştirmek için kullanıcıya yardımcı olmaktır. 28 /33 TR Buzdolabı / Kullanma Kılavuzu

önlenmesi Ürünün düzenli temizlenmesi halinde kullanım ömrü uzar

UYARI: Buzdolabınızı temizlemeden önce elektrik bağlantısını kesin.

  • Temizlik için keskin ve aşındırıcı aletler, sabun, ev temizlik maddeleri, deterjan, gaz, benzin, cila vb. maddeler kullanmayın.
  • Bir çay kaşığı karbonatı yarım litre suda eritin. Bir bezi bu sıvıyla ıslatıp iyice sıkın. Bu bezle cihazınızın içini silin ve ardından iyice kurulayın.
  • Lamba muhafazasına ve diğer elektrikli kısımlara su girmemesine dikkat edin.
  • Kapıyı nemli bir bez ile temizleyin. Kapı ve gövde raflarını çıkarmak için içindekilerin tümünü alın.Kapı raflarını yukarı doğru kaldırarak çıkarın. Temizleyip kuruladıktan sonra yukarıdan aşağıya doğru kaydırarak yerine takın.
  • Ürünün dış yüzey temizliğinde ve krom kaplı parçaların temizliğinde asla klor içeren su ya da temizlik maddesi kullanmayınız. Klor, bu tür metal yüzeylerde paslanmaya neden olur.
  • Plastik parça üzerindeki baskıların kalkmaması ve deforme olmaması için keskin, aşındırıcı aletler, sabun, ev temizlik maddeleri, deterjan, gaz, benzin, cila vb. maddeler kullanmayın. Temizlik için ılık su ile yumuşak bez kullanın ve kurulayın. Buzdolabı / Kullanma Kılavuzu Ürününüzün üretiminde kokuya neden olacak hiçbir madde kullanılmamaktadır. Ancak uygun olmayan yiyecek saklamaya ve ürün iç yüzeyinin gerektiği şekilde temizlenmemesine bağlı olarak koku ortaya çıkabilir. Bu sorunu önlemek için 15 günde bir karbonatlı suyla temizleyin.
  • Yiyecekleri kapalı kaplarda saklayın. Ağzı açık saklanan gıdalardan yayılan mikroorganizmalar kötü kokuya neden olur.
  • Saklama süresi dolan ve bozulan gıdaları kesinlikle buzdolabınızda saklamayın.

Çay bilinen en iyi koku alıcılarından biridir. Demlemiş olduğunuz çay posasını ağzı açık bir kap içinde ürünün içine yerleştirin ve en geç 12 saat sonra alın. Çay posasını ürünün içinde 12 saatten fazla tutarsanız, kokuya sebep olan organizmaları bünyesinde toplayacağı için kokunun kaynağı haline gelebilir. 6.2. Plastik yüzeylerin korunması Plastik yüzeylere yağ dökülmesi durumunda yüzeye zarar verebileceği için ılık suyla hemen temizlenmelidir. 29/33 TR Bakım ve temizlik 6.3. Kapı camları Camların üzerindeki koruyucu folyoyu çıkartınız. Camların yüzeyinde bir kaplama vardır. Bu kaplama leke oluşumunu en aza indiren ve oluşan lekelerin ve kirlerin kolay temizlenmesini sağlayan bir kaplamadır. Kaplama ile korunmamış camlar, kısa sürede ve kolayca, lekelenmeye ve fiziksel hasara yol açan kireç taşı, mineral tuzları, yanmamış hidrokarbonlar, metal oksitler ve silikonlar gibi organik veya anorganik, hava ve su kökenli kirletici etkenlerin kalıcı olarak bağlanmasına maruz kalabilir.Düzenli yıkamaya rağmen camın temiz tutulması, imkansız olmasada çok zor hale gelir. Bunun sonucu olarak, camın berraklığı ve görünümü bozulur.Sert ve aşındırıcı temizleme yöntemleri ve bileşikleri bu kusurları daha da arttırır ve bozulma sürecini hızlandırır. Rutin temizlik işlemleri için *alkali ve aşındırıcı olmayan, su bazlı temizlik ürünleri kullanılması gerekir. Bu kaplamanın ömrünün kalıcı olabilmesi için temizlik sırasında alkali ve aşındırıcı olan maddeler kullanılmamalıdır. Bu camların darbelere ve kırılmaya karşı dayanıklıklarını arttırmak için temperleme işlemi uygulanmıştır. Ayrıca bu camlara ek güvenlik olarak, kırılması durumunda çevreye zarar vermemesi için arka yüzeylerine güvenlik filmi uygulanmıştır. *Alkali, suda çözündüğünde hidroksit iyonları (OH¯) oluşturan bir bazdır. Li (Lityum), Na (Sodyum), K (Potasyum) Rb (Rubidyum), Cs (Sezyum) ile yapay ve radyoaktif Fr (Fan-siyum) metallerine ALKALİ METALLER denir. 30 /33 TR Buzdolabı / Kullanma Kılavuzu

Sorun giderme Servis çağırmadan önce, bu listeyi gözden geçirin. Bunu yapmak sizi zaman ve para kaybından kurtarır. Bu liste sık rastlanabilecek, hatalı işçiliğe ya da malzeme kulanımına bağlı olmayan şikayetleri içerir. Bahsedilen bazı özellikler ürününüzde olmayabilir. Buzdolabı çalışmıyor.

  • Fiş prize tam oturmamıştır. >>> Fişi prize tam oturacak şekilde takın.
  • Ürünün bağlandığı prizin sigortası ya da ana sigorta atmıştır. >>> Sigortayı kontrol edin. Soğutucu bölmenin (MULTI ZONE, COOL CONTROL ve FLEXI ZONE) yan duvarında terleme.
  • Ortam çok soğuktur. >>> Ürünü sıcaklığın -5°C’nin altına düştüğü ortamlara kurmayın.
  • Kapı çok sık açılıp kapanmıştır. >>> Ürünün kapısını çok sık açıp kapamamaya dikkat edin.
  • Ortam çok nemlidir. >>> Ürünü çok nemli ortamlara kurmayın.
  • Sıvı içeren yiyecekler açık kaplarda saklanıyor olabilir. >>> Sıvı içeren yiyecekleri kapalı kaplarda saklayın.
  • Ürünün kapısı açık kalmıştır. >>> Ürünün kapısını uzun süre açık tutmayın.
  • Termostat çok soğuk bir değere ayarlanmıştır. >>> Termostatı uygun değere ayarlayın. Kompresör çalışmıyor
  • Ani elektrik kesilmesinde veya fişin çıkarılıp takılmasında, ürün soğutma sistemindeki gazın basıncı henüz dengelenmemiş olduğu için kompresör koruyucu termiği atar. Yaklaşık 6 dakika sonra ürün çalışmaya başlayacaktır. Bu süre sonunda ürün çalışmaya başlamazsa servis çağırın.
  • Buz çözme devresindedir. >>> Tam otomatik buz çözme yapan bir ürün için bu normaldir. Buz çözme döngüsü periyodik olarak gerçekleşir.
  • Ürünün fişi prize takılı değildir. >>> Fişin prize takılı olduğundan emin olun.
  • Sıcaklık ayarları doğru yapılmamıştır. >>> Uygun sıcaklık ayarını seçin.
  • Elektrik kesilmiştir. >>> Elektrik geldiğinde ürün normal şekilde çalışmaya devam edecektir. Buzdolabı çalışırken çalışma sesi artıyor.
  • Ortam sıcaklığının değişmesine bağlı olarak ürünün çalışma performansı değişebilir. Bu normaldir ve bir arıza değildir. Buzdolabı çok sık ya da çok uzun süre çalışıyor. Buzdolabı / Kullanma Kılavuzu 31/33 TR Sorun giderme
  • Yeni ürün, eskisinden daha geniş olabilir. Daha büyük ürünler daha uzun süre çalışır.
  • Oda sıcaklığı yüksek olabilir. >>> Sıcak ortamlarda daha uzun süre çalışması normaldir.
  • Ürünün fişi daha yeni takılmış ya da yeni yiyecek koyulmuş olabilir. >>> Fiş yeni

takıldığında ya da yeni yiyecek konulduğunda ürünün ayarlanan sıcaklığa ulaşması daha uzun zaman alır. Bu durum normaldir. Ürüne yakın zamanda fazla miktarlarda sıcak yemek konmuş olabilir. >>> Ürüne sıcak yemek koymayın. Kapılar sık sık açılmış ya da uzun süre açık kalmıştır. >>> İçeri giren sıcak hava ürünün daha uzun çalışmasına neden olur. Kapıları çok sık açmayın. Dondurucu ya da soğutucu kapısı aralık kalmış olabilir. >>> Kapıların tamamen kapalı olup olmadığını kontrol edin. Ürün çok düşük bir sıcaklığa ayarlanmıştır. >>> Ürünün sıcaklığını daha yüksek bir dereceye ayarlayın ve bu sıcaklığa ulaşmasını bekleyin.

  • Soğutucu ya da dondurucu kapı contası kirlenmiş, eskimiş, kırılmış ya da tam oturmamış olabilir. >>> Contayı temizleyin ya da değiştirin. Hasarlı / kopuk kapı contası ürünün mevcut sıcaklığı korumak için daha uzun süre çalışmasına neden olur. Dondurucu sıcaklığı çok düşük ama soğutucu sıcaklığı yeterli.
  • Dondurucu bölme sıcaklığı çok düşük bir değere ayarlanmıştır. >>> Dondurucu bölme sıcaklığını daha yüksek bir dereceye ayarlayıp kontrol edin. Soğutucu sıcaklığı çok düşük ama dondurucu sıcaklığı yeterli.
  • Soğutucu bölme sıcaklığı çok düşük bir değere ayarlanmıştır. >>> Soğutucu bölme sıcaklığını daha yüksek bir dereceye ayarlayıp kontrol edin. Soğutucu bölme çekmecelerinde saklanan yiyecekler donuyor.
  • Soğutucu bölme sıcaklığı çok düşük bir değere ayarlanmıştır. >>> Soğutucu bölme sıcaklığını daha yüksek bir değere ayarlayıp kontrol edin. Soğutucu ya da dondurucudaki sıcaklık çok yüksek.
  • Soğutucu bölme sıcaklığı çok yüksek bir değere ayarlanmış olabilir. >>> Soğutucu bölme sıcaklık ayarının dondurucu bölme sıcaklığı üzerinde etkisi vardır. Soğutucu ya da dondurucu bölme sıcaklığını değiştirerek ilgili bölmelerin sıcaklığı yeterli seviyeye gelene kadar bekleyin.
  • Kapılar sık açılmış ya da uzun süre açık kalmıştır. >>> Kapıları çok sık açmayın.
  • Kapı aralık olabilir. >>> Kapıyı tamamen kapayın.
  • Ürünün fişi daha yeni takılmış ya da yeni yiyecek konulmuş olabilir. >>> Bu normaldir. Fiş yeni takıldığında ya da yeni yiyecek konulduğunda ürünün ayarlanan sıcaklığa ulaşması normalden daha uzun zaman alır.
  • Ürüne yakın zamanda fazla miktarlarda sıcak yemek konmuş olabilir. >>> Ürüne sıcak yemek koymayın. Sarsılma ya da gürültü.
  • Zemin düz veya dayanıklı değildir. >>> Ürün yavaşça hareket ettirildiğinde sallanıyorsa ayaklarını ayarlayarak ürünü dengeleyin. Ayrıca zeminin ürünü taşıyabilecek kadar dayanıklı oolmasına dikkat edin.
  • Ürünün üzerine konulmuş eşyalar gürültü yapıyor olabilir. >>> Ürünün üzerinde bulunan eşyaları kaldırın. Üründen sıvı akması, püskürmesi vb. sesler geliyor.
  • Ürünün çalışma prensipleri gereği sıvı ve gaz akışları gerçekleşmektedir. >>>Bu normaldir ve bir arıza değildir. 32 /33 TR Buzdolabı / Kullanma Kılavuzu Sorun giderme Üründen rüzgar sesi geliyor.
  • Ürünün soğutma işlemini gerçekleştirebilmesi için fan kullanılmaktadır. Bu normaldir ve bir arıza değildir. Ürünün iç duvarlarında terleme oluyor.
  • Havanın sıcak ve nemli olması buzlanmayı ve yoğunlaşmayı artırır. Bu normaldir ve bir arıza değildir.
  • Kapılar sık açılmış ya da uzun süre açık kalmıştır. >>> Kapıları çok sık açmayın, açıksa kapayın.
  • Kapı aralık olabilir. >>> Kapıyı tamamen kapayın. Ürünün dışında ya da kapıların arasında terleme oluşuyor.
  • Hava nemli olabilir, nemli havalarda bu gayet normaldir. >>> Nem azaldığında yoğunlaşma kaybolur. Ürünün içi kötü kokuyor.
  • Düzenli temizlik yapılmamıştır. >>> Ürünün içini sünger, ılık su veya karbonatlı suyla düzenli olarak temizleyin.
  • Bazı kaplar ya da paketleme malzemeleri koku yapabilir. >>> Koku yapmayan kap ya da paketleme malzemesi kullanın.
  • Yiyecekler ürüne ağzı açık kaplarda konulmuştur. >>> Yiyecekleri kapalı kaplarda saklayın. Ağzı açık saklanan yiyeceklerden yayılan mikroorganizmalar kötü kokulara neden olabilir.
  • Saklama süresi dolan ve bozulan yiyecekleri üründen çıkarın Kapı kapanmıyor.
  • Yiyecek paketleri kapının kapanmasını engelliyor olabilir. >>> Kapıları engelleyen paketlerin yerlerini değiştirin.
  • Ürün zemin üstünde tamamen dik durmuyor olabilir. >>> Ayaklarını ayarlayarak ürünü dengeleyin.
  • Zemin düz ya da sağlam değildir. >>> Zeminin düz ve ürünü taşıyabilecek kadar sağlam olmasına dikkat edin. Sebzelikler sıkışmış.
  • Yiyecekler çekmecenin üst bölümüne değiyor olabilir. >>> Çekmecedeki yiyecekleri düzenleyin.

UYARI: Bu bölümdeki talimatları uygulamanıza rağmen sorunu gideremezseniz ürünü satın aldığınız bayi ya da Yetkili Servise başvurun. Çalışmayan ürünü kendiniz onarmayı denemeyin. Buzdolabı / Kullanma Kılavuzu 33/33 TR 57 5538 0000/AV 5/5 PT-ES-TR www.beko.com.tr www.beko.com