RCNE520E30JGB - Kombinuotas šaldytuvas BEKO - Nemokama naudojimo instrukcija

Raskite įrenginio instrukciją nemokamai RCNE520E30JGB BEKO PDF formatu.

📄 489 puslapiai Lietuvių LT 💬 AI klausimas
Notice BEKO RCNE520E30JGB - page 279
Instrukcijos asistentas
Veikia ChatGPT pagrindu
Laukiama jūsų žinutės
Informacija apie produktą

Prekės ženklas : BEKO

Modelis : RCNE520E30JGB

Kategorija : Kombinuotas šaldytuvas

Atsisiųskite instrukciją savo Kombinuotas šaldytuvas PDF formatu nemokamai! Raskite savo instrukciją RCNE520E30JGB - BEKO ir vėl perimkite savo elektroninį įrenginį. Šiame puslapyje skelbiami visi dokumentai, reikalingi jūsų įrenginio naudojimui. RCNE520E30JGB prekės ženklo BEKO.

NAUDOJIMO INSTRUKCIJA RCNE520E30JGB BEKO

EWWERQWEW Prieš naudodamiesi produktu perskaitykite šią instrukciją! Gerb. kliente, norime, kad optimaliai išnaudotumėte mūsų produkto, kuris buvo pagamintas pagal modernias technologijas ir laikantis griežtos kokybės kontrolės, galimybes, todėl rekomenduojame prieš naudojantis produktu perskaityti visą instrukciją. Jei produktą perduotumėte kitam asmeniui, nepamirškite kartu su juo naujajam savininkui perduoti ir šios instrukcijos. Ji padės jums greitai ir saugiai išmokti naudotis savo produktu.

Atidžiai ją perskaitykite prieš įrengdami ir naudodamiesi šiuo produktu. Visada laikykitės atitinkamų saugos instrukcijų. Laikykite šį vadovą lengvai pasiekiamoje vietoje. Perskaitykite kitus su produktu pateikiamus dokumentus. Atkreipkite dėmesį, kad ši instrukcija skirta keliems produkto modeliams. Skirtumai tarp modelių instrukcijoje aiškiai nurodyti.

Svarbi informacija ir naudingi patarimai. Pavojus gyvybei ir turtui. Elektros smūgio pavojus. Produkto pakuotės yra pagamintos iš perdirbimų medžiagų pagal nacionalines aplinkosaugos taisykles. Turinys 1 Saugumas ir aplinkosaugos instrukcijos

  • 1.2. Numatytoji paskirtis p. 5
  • 1.3. Vaikų saugumas p. 6
  • 1.4. Elektros ir elektronikos atliekų (WEE) ir panaudotų produktų utilizavimo direktyvų atitiktis p. 6
  • 1.5. RoHS direktyvos atitiktis p. 6
  • 1.6. Informacija apie pakuotę 2 Šaldytuvas p. 6
  • 3.1. Tinkama įrengimui vieta p. 8
  • 3.2. Plastikinių kaiščių pritvirtinimas p. 8
  • 3.3. Atramų reguliavimas p. 8
  • 3.4. Maitinimo prijungimas p. 9
  • 3.5. Durų perstatymas p. 10
  • 3.6. Durų perstatymas 4 Paruošimas p. 11

4.1. Kaip taupyti energiją . . . . . . . . . . . . . . . . . 12 4.2. Pirmasis įjungimas . . . . . . . . . . . . . . . . . . 12 5 Prietaiso naudojimas

  • 5.1. Temperatūros reguliavimo mygtukas p. 13
  • 5.2. Greitas šaldymas p. 13
  • 5.3. Atostogų funkcija p. 14
  • 5.4. Valdymo skydelis p. 15
  • 5.5. Ledukų konteineris p. 18
  • 5.6. Kiaušinių dėtuvė p. 18
  • 5.7. Ventiliatorius p. 18
  • 5.8. Daržovių dėžė p. 18
  • 5.9. Nulio laipsnių skyrius p. 18
  • 5.10. Judanti durelių lentyna p. 19
  • 5.11. Ištraukiama dėžutė p. 19
  • 5.12. Daržovių dėžė su drėgmės valdymu p. 20
  • 5.13. Automatinis ledukų gaminimo įtaisas p. 20
  • 5.14. Ledukų dėklas ir ledukų saugojimo talpykla21 5.15. Vandens dalytuvo naudojimas p. 21
  • 5.16. Pripildykite vandens dalytuvo talpyklą p. 22
  • 5.17. Vandens talpyklos valymas p. 23
  • 5.18. Padėklas nulašančiam vandeniui p. 24
  • 5.19. Šviežių produktų užšaldymas p. 25
  • 5.20. Užšaldytų produktų laikymo rekomendacijos25 5.21. Giluminis užšaldymas p. 25
  • 5.22. Produktų sudėjimas p. 26
  • 5.23. Atidarytų durelių signalas p. 26
  • 5.24. Vidinė lemputė p. 26
  • 5.25. Durų atidarymo krypties pakeitimasė 6 Priežiūra ir valymas p. 26

6.1. Kaip išvengti blogų kvapų . . . . . . . . . . . . . 27 6.2. Plastikinių paviršių apsauga . . . . . . . . . . . 27 7 Trikčių diagnostika 2 / 30 LT

Šaldytuvas / Vadove nuorodinės

Saugumas ir aplinkosaugos instrukcijos Šiame skyriuje pateikiama prietaisą. Kai prietaiso saugumo informacija, skirta nenaudojate, jį išjunkite. padėti išvengti sužalojimų ir Nelieskite kištuko šlapiomis turto pažeidimų. Nesilaikant rankomis! Netraukite kištuko už šių instrukcijų visos garantijos laido, visada laikykite už kištuko. prietaisui nustos galioti.

  • Prieš įjungdami nuvalykite Naudojimo paskirtis maitinimo laido kištuką sausa
  • Šis gaminys skirtas naudoti šluoste.
  • –patalpose ir uždarose
  • Nejunkite šaldytuvo į klibantį vietose, pavyzdžiui, namuose; elektros lizdą.
  • –uždaroje darbo aplinkoje,
  • Atjunkite prietaisą, kai atliekate pavyzdžiui, parduotuvėse ir įrenginio, priežiūros, valymo ir biuruose; remonto darbus.
  • –uždarose apgyvendinimo
  • Jei prietaiso kurį laiką vietose, pavyzdžiui, ūkininkų nenaudokite, išjunkite elektros gyvenamuosiuose namuose, lizdo kištuką ir išimkite maisto viešbučiuose, pensionuose. produktus.
  • Šio gaminio negalima naudoti • Nevalykite šaldytuvo ir lauke. netirpdykite ledo garu ar garinio valymo įrenginiais. Dėl garo 1.1. Bendroji sauga kontakto su dalimis, kuriomis
  • Šis prietaisas neskirtas teka elektra, gali kilti trumpasis naudoti asmenims su fiziniais, jungimas arba ištikti elektros protiniais ir jutiminiais sutrikimais, smūgis! jei jų tinkamai neapmoko kitas
  • Neplaukite prietaiso purkšdami asmuo, bei vaikams. Prietaisu ar pildami ant jo vandenį! Elektros tokie asmenys gali naudotis tik smūgio pavojus! prižiūrimi ir tinkamai instruktuoti
  • Niekuomet nenaudokite už jų saugumą atsakingo gaminio, jei gaminio viršuje arba asmens. Neleiskite su prietaisu galinėje pusėje esantis skyrius su žaisti vaikams. elektroninėmis spausdintinėmis
  • Jei prietaisas sugedo, atjunkite plokštėmis viduje yra atidarytas jį nuo elektros tinklo. (elektroninių spausdintinių
  • Atjungę palaukite bent 5 plokščių dangtis) (1). minutes prieš vėl įjungdami Šaldytuvas / Vadove nuorodinės 3 / 30 LT Saugumas ir aplinkosaugos instrukcijos
  • Skysčius statykite talpose stačiai, sandariai uždarę dangtelius.
  • Prie prietaiso nepurkškite degių medžiagų, nes jos gali užsidegti ar sprogti.
  • Nelaikykite šaldytuve degių medžiagų ir produktų su degiomis dujomis (aerozolių ir pan.).
  • Nedėkite talpų su skysčiais ant prietaiso. Ant dalių, kuriomis teka elektra, išbėgusių skysčių kyla elektros smūgio ir gaisro pavojus.
  • Jei prietaisas sugedo, jo
  • Saugokite prietaisą nuo nenaudokite, nes gali trenkti lietaus, sniego, tiesioginių elektros smūgis. Prieš ką saulės spindulių ir vėjo. Kai nors darydami susisiekite su prietaisą perkeliate į kitą vietą, įgaliotąja aptarnavimo tarnyba. netraukite jo už durų rankenos.
  • Įjunkite prietaisą į įžemintą Rankena gali atlūžti. elektros lizdą. Įžeminimą turi
  • Saugokite, kad prietaise atlikti kvalifikuotas elektrikas. neįstrigtų ranka ar kita kūno
  • Jei prietaisas turi LED dalis. lempučių, jei jas reikia keisti Nelipkite ir nesiremkite į arba jos sugedo, kreipkitės į dureles, stalčius ir pan. Dėl to įgaliotąją aptarnavimo tarnybą. prietaisas gali nukristi ir būti
  • Nelieskite šaldytų maisto pažeistas. produktų šlapiomis rankomis! Neprispauskite elektros laido. Jie gali lipti prie rankų!
  • Nedėkite į šaldiklį butelių ir skardinių su skysčiais. Jie gali sprogti! 4 / 30 LT Šaldytuvas / Vadove nuorodinės Saugumas ir aplinkosaugos instrukcijos smūgių pavojus, visada privalote naudoti apsaugos nuo hidraulinių smūgių įrangą. Pasitarkite su santechnikos specialistu, jeigu nesate užtikrinti, kad jūsų vandentiekio sistemoje nėra hidraulinių smūgių pavojaus.
  • Negalima montuoti karšto Jei prietaise yra aušinimo sistema vandens įvade. Saugokite žarnas su R600a dujomis, saugokite nuo užšalimo. Darbinė vandens aušinimo sistemą ir vamzdžius temperatūra turi būti nuo 33 °F nuo pažeidimo perveždami ir (0,6 °C) iki 100 °F (38 °C). naudodami prietaisą. Šios dujos • Naudokite tik geriamąjį yra degios. Jei aušinimo sistema vandenį pažeista, patraukite produktą saugiu atstumu nuo liepsnos ir iškart gerai išvėdinkite patalpą. Etiketėje ant vidinės pusės kairėje nurodyta, kokio tipo dujos naudojamos prietaise.
  • Slėgis šalto vandens įvade neturi viršyti 90 psi (6,2 bar). Jei slėgis jūsų vandens sistemoje viršija 80 psi (5,5 bar), joje turi būti sumontuotas slėgio ribojimo vožtuvas. Jei nežinote, kaip patikrinti vandens slėgį, kreipkitės į santechnikos specialistą.
  • Jeigu jūsų vandentiekio sistemoje kyla hidraulinių Šaldytuvas / Vadove nuorodinės 1.2. Numatytoji paskirtis
  • Prietaisas yra skirtas naudoti namuose. Jis neskirtas komerciniam naudojimui.
  • Prietaisas skirtas tik maisto produktams ir gėrimams laikyti.
  • Nelaikykite jame produktų, kuriems reikia tiksliai reguliuojamos temperatūros (vakcinų, vaistų, kuriems reikia konkrečios temperatūros, medicininės paskirties priemonių ir pan.).
  • Gamintojas neprisiima atsakomybės už pažeidimus dėl netinkamo ar neatsargaus naudojimo. 5 / 30 LT Saugumas ir aplinkosaugos instrukcijos
  • Originalios atsarginės dalys tiekiamos 10 metų nuo gaminio įsigijimo dienos. 1.3. Vaikų saugumas
  • Laikykite pakuotes vaikams nepasiekiamoje vietoje.
  • Neleiskite su prietaisu žaisti vaikams.
  • Jei ant durelių yra užraktas, laikykite raktą vaikams nepasiekiamoje vietoje. 1.4. Elektros ir elektronikos atliekų (WEE) ir panaudotų produktų utilizavimo direktyvų atitiktis Šis prietaisas atitinka ES WEEE direktyvą (2012/19/ES). Prietaisas yra pažymėtas elektrinių ir elektroninių įrenginių atliekų (WEEE) klasifikacijos simboliu. Prietaisas yra pagamintas iš aukštos kokybės dalių ir medžiagų, kurias galima panaudoti pakartotinai arba perdirbti. Neišmeskite prietaiso su buitinėmis atliekomis. Atiduokite jį į specialų elektrinių ir elektroninių atliekų surinkimo centrą. Kur rasti tokį centrą, teiraukitės vietinėje atsakingoje institucijoje. 1.5. RoHS direktyvos atitiktis
  • Šis prietaisas atitinka ES WEEE direktyvą (2011/65/ES). Jame nėra kenksmingų ir draudžiamų medžiagų, išvardintų direktyvoje. 1.6. Informacija apie pakuotę
  • Prietaiso pakuotės yra pagamintos iš perdirbamų medžiagų pagal mūsų nacionalinius aplinkosaugos reikalavimus. Neišmeskite pakuočių su buitinėmis ar kitomis atliekomis. Atiduokite jas perdirbti į pakuočių surinkimo centrą, nurodytą vietinių atsakingųjų institucijų. 6 / 30 LT Šaldytuvas / Vadove nuorodinės

Vėsinimo skyriaus durelių lentyna Vandens dozatoriaus užpildymo bakelis Kiaušinių skyrius Vandens dozatoriaus talpykla Butelių lentyna Ištraukiama dėžutė Reguliuojamos kojelės Užšaldymo skyrius Greitojo užšaldymo skyrius

Ledo kubelių dėklas ir ledo talpykla Daržovių dėžė Nulio laipsnių skyrius Vidaus apšvietimo lemputė Vėsinimo skyriaus stiklo lentyna Temperatūros reguliavimo mygtukas Vėsinimo skyrius Šaldiklio skyrius *Pasirinktinai: šioje instrukcijoje pateikiamos iliustracijos yra sąlyginės ir gali skirtis nuo konkretaus jūsų prietaiso. Jei jūsų prietaise tokių dalių nėra, informacija apie jas taikoma kitiems prietaiso modeliams. Šaldytuvas / Vadove nuorodinės 7 / 30 LT

Įrengimas 3.1. Tinkama įrengimui vieta 3.2. Plastikinių kaiščių pritvirtinimas Su prietaisu pateikiami plastikiniai kaiščiai, kurie leidžia užtikrinti pakankamą oro cirkuliaciją tarp prietaiso ir sienų. Dėl prietaiso įrengimo kreipkitės į įgaliotąjį aptarnavimo centrą. Kaip paruošti prietaisą, žr. informaciją naudojimo instrukcijoje, įsitikinkite, kad yra reikalingi vandens ir elektros linijų prievadai. Jei jų nėra, susisiekite su elektriku ir santechniku, kad juos įrengtų.

1. Norėdami juos pritvirtinti, atsukite varžtus nuo

šaldytuvo ir prisukite varžtus, pateiktus su kaiščiais.

2. Pritvirtinkite 2 plastikinius kaiščius ant ventiliacijos

dangtelio, kaip pavaizduota j pav. ĮSPĖJIMAS: Gamintojas neprisiima 3.3. Atramų reguliavimas atsakomybės už žalą, atsiradusią dėl to, kad darbus atliko neįgalioti asmenys. ĮSPĖJIMAS: Įrengiant prietaisas turi būti Jei prietaisas stovi nestabiliai, pareguliuokite priekines atramas pasukdami į kairę arba į dešinę. atjungtas nuo elektros tinklo. To nepadarius galima sunkiai ar net mirtinai susižaloti! ĮSPĖJIMAS: Jei durys per siauros ir prietaisas pro jas netelpa, nuimkite duris ir pasukite prietaisą šonu; jei ir tai nepadeda, kreipkitės į įgaliotąjį aptarnavimo centrą.

  • Statykite prietaisą ant lygaus paviršiaus, kad jis nevibruotų.
  • Statykite prietaisą bent 30 cm atstumu nuo kaitlentės ir kitų šilumos šaltinių ir bent 5 cm atstumu nuo elektrinių orkaičių.
  • Saugokite prietaisą nuo tiesioginių saulės spindulių ir nelaikykite drėgnoje aplinkoje.
  • Kad prietaisas veiktų tinkamai, reikia pasirūpinti gera oro cirkuliacija. Jei prietaisą statote į nišą, palikite bent 5 cm tarp prietaiso, sienų ir lubų.
  • Nestatykite prietaiso aplinkoje, kur temperatūra nukrenta iki žemesnės nei -5 °C. 8 / 30 LT Šaldytuvas / Vadove nuorodinės Įrengimas 3.4. Maitinimo prijungimas

ĮSPĖJIMAS: Nenaudokite ilgintuvų ar paskirstymo lizdų. ĮSPĖJIMAS: Pažeistą maitinimo laidą turi pakeisti įgaliotoji aptarnavimo tarnyba. Jei šalia statote du aušintuvus, tarp jų palikite bent 4 cm tarpą.

  • Mūsų įmonė neprisiima atsakomybės dėl pažeidimų, atsiradusių dėl to, kad prietaisas nebuvo prijungtas ir įžemintas pagal nacionalines taisykles.
  • Pastačius prietaisą maitinimo laido kištukas turi būti lengvai pasiekiamas.
  • Prietaisą junkite prie įžeminto lizdo su 220-240 V / 50 Hz įtampa. Prie kištuko turi būti 10-16 A saugiklis.
  • Nenaudokite kelių jungčių kištuko su ilgintuvu ar be jo.

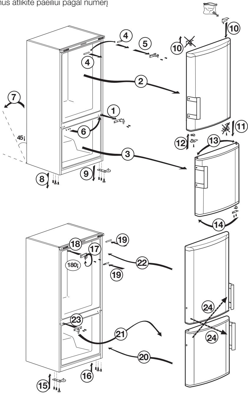
Įspėjimas – karštas paviršius Jūsų produkto šoninėse sienelėse sumontuoti šaltnešio vamzdžiai, skirti pagerinti aušinimo sistemą. Per šias sritis gali tekėti aukštą temperatūrą pasiekiantis šaltnešis, dėl to šoninių sienelių paviršiai gali būti šilti. Tai normalu ir nereiškia, kad atsirado gedimas. Šias vietas lieskite atsargiai. Šaldytuvas / Vadove nuorodinės 9 / 30 LT Įrengimas 3.5. Durų perstatymas Veiksmus atlikite paeiliui pagal numerį

10 / 30 LT Šaldytuvas / Vadove nuorodinės Įrengimas 3.6. Durų perstatymas Veiksmus atlikite paeiliui pagal numerį (8)

Šaldytuvas / Vadove nuorodinės

Paruošimas 4.1. Kaip taupyti energiją 4.2. Pirmasis įjungimas mehmet

Prijungiant prietaisą prie energijos taupymo sistemos kyla pavojus jį sugadinti.

  • Nelaikykite ilgą laiką atidarytų šaldytuvo durelių.
  • Nedėkite į šaldytuvą karšto maisto ar skysčio.
  • Neperpildykite šaldytuvo, nes dėl užstotų ventiliacijos angų šaldymas bus ribotas.
  • Energijos sąnaudų vertė, nurodyta šaldytuvui, buvo matuojama išėmus šaldiklio kameros viršutinę lentyną, kitos lentynos ir apatinis stalčius buvo vietoje, buvo nustatyta maksimali apkrova. Viršutinę stiklinę lentyną galima naudoti priklausomai nuo norimo šaldyti maisto produktų dydžio ir formos.
  • Priklausomai nuo prietaiso ypatybių, šaldytų produktų atšildymas aušinimo kameroje padeda taupyti elektros energiją ir išsaugoti maisto kokybę.
  • Šaldymo kameros dėžės ir stalčiai padeda sumažinti elektros sąnaudas ir užtikrinti geresnę produktų kokybę, todėl visada juos naudokite.
  • Maisto produktų kontaktas su temperatūros jutikliu šaldiklio kameroje gali padidinti prietaiso elektros sąnaudas. Stebėkite, kad prie jutiklio niekas nesiliestų.
  • Pasirūpinkite, kad maisto produktai nesiliestų prie aušinimo kameros temperatūros jutiklio. Prieš naudodamiesi šaldytuvu imkitės reikalingų priemonių pagal instrukcijas skyriuose apie saugumą ir aplinkos apsaugą bei įrengimą.
  • Leiskite prietaisui paveikti be maisto produktų bent 6, neatidarinėkite durelių, jei tai nėra neišvengiamai būtina. 12 / 30 LT

Kai įsijungs kompresorius, išgirsite triukšmą. Tai normalu, garsas girdisi, net jei kompresorius neveikia, nes aušinimo sistemoje cirkuliuoja slėgio veikiami skysčiai ir dujos. Kad priekiniai šaldytuvo kraštai gali būti šilti, yra normalu. Šios zonos yra numatytos būti šiltos, kad viduje nesikauptų kondensatas. Kai kurių modelių instrumentų skydelis automatiškai išsijungs po 5 minučių po durelių uždarymo. Jis vėl įsijungs paspaudus bet kurį mygtuką arba atidarius dureles. Šaldytuvas / Vadove nuorodinės

Prietaiso naudojimas 5.1. Temperatūros reguliavimo mygtukas Šaldytuvo vidaus temperatūra priklauso nuo šių priežasčių:

  • sezoninės temperatūros;
  • ilgam laiko tarpui palikus atidarytas šaldytuvo duris;
  • pridėjus į šaldytuvą maisto, kuris nėra atvėsęs iki kambario temperatūros;
  • dėl šaldytuvo vietos patalpoje (pvz., pastačius jį ten, kur jį veikia tiesioginiai saulės spinduliai).
  • Dėl šių veiksnių besikeičiančią vidaus temperatūrą galima reguliuoti mygtuku. Skaičiai aplink reguliavimo mygtuką nurodo temperatūrą Celsijaus laipsniais – °C. Jei aplinkos temperatūra yra 20 °C, rekomenduojama nustatyti 4 °C šaldytuvo temperatūrą. Esant kitai aplinkos temperatūrai, šią reikšmę galima tinkinti.

5.2. Greitas šaldymas Jei norite užšaldyti didelį kiekį šviežių produktų, temperatūros reguliavimo mygtuką perjunkite į padėtį ( ) prieš įdėdami produktus į greitojo užšaldymo skyrių. Norint užšaldyti maksimalų leidžiamą maisto kiekį, rekomenduojama palikti rankenėlę ties šia padėtimi 24 valandoms. Svarbu nemaišyti šaldyto ir šviežio maisto. Nepamirškite perjungti temperatūros reguliavimo mygtuko į ankstesnę padėtį. *Pasirinktinai: Iliustracijos šiame vadove yra nuorodinės, jos gali tiksliai neatitikti jūsų prietaiso. Jei jūsų prietaise tokių dalių nėra, informacija apie jas taikoma kitiems prietaiso modeliams. Šaldytuvas / Vadove nuorodinės 13 / 30 LT Prietaiso naudojimas 5.3. Atostogų funkcija Jeigu gaminio durelės neatidaromos ( ) bent 12 valandų esant didžiausiai temperatūros nustatymo mygtuko padėčiai, automatiškai įjungiama atostogų funkcija. Norint atšaukti funkciją, reikia pakeisti mygtuko nustatymą. Veikiant atostogų funkcijai, šaldytuve rekomenduojama nelaikyti maisto produktų.

  • Baigę nustatymą galite paslėpti temperatūros nustatymo mygtuką jį įspausdami. 14 / 30 LT Šaldytuvas / Vadove nuorodinės Prietaiso naudojimas 5.4. Valdymo skydelis Naudodami valdymo skydelį, galite nustatyti temperatūrą ir kitas su gaminiu susijusias funkcijas, neatidarydami gaminio durelių. Tiesiog paspauskite atitinkamų funkcijų nustatymų mygtukų užrašus.

1. Elektros tiekimo nutrūkimo / aukštos

temperatūros / įspėjimo apie klaidą indikatorius Šis indikatorius ( ) šviečia dėl gedimų pakilus aukštai temperatūrai bei esant įspėjimų apie klaidas. Jei energijos tiekimas nutrūksta ilgam, šaldiklio skyriaus pasiektos aukščiausios temperatūros rodmuo mirksės skaitmeniniame ekrane. Patikrinę šaldiklio skyriuje ( ) esantį maistą, paspauskite įspėjimo išjungimo mygtuką, kad įspėjimas dingtų. Pastebėję, kad šis indikatorius šviečia, žr. naudojimo instrukcijos trikčių šalinimo skyriuje aprašytus trikčių atitaisymo būdus.

išjungimas): Jei produkto durelės ilgai laikomos uždarytos, aurtomatiškai įjungiama energijos taupymo funkcija ir uždegamas energijos taupymo simbolis.

Kai veikia energijos taupymo funkcija, išjungiami visi ekrano simboliai, išskyrus energijos taupymo. Kai veikia energijos taupymo funkcija, paspaudus bet kurį mygtuką arba atidarius dureles, energijos taupymo funkcija bus atšaukta ir ekrane vėl bus rodomi simboliai. Energijos taupymo funkcija įjungiama gabenant iš gamyklos, jos negalima atšaukti. *Pasirinktinai: Iliustracijos šiame vadove yra nuorodinės, jos gali tiksliai neatitikti jūsų prietaiso. Jei jūsų prietaise tokių dalių nėra, informacija apie jas taikoma kitiems prietaiso modeliams. Šaldytuvas / Vadove nuorodinės 15 / 30 LT Prietaiso naudojimas

3. Greitojo atvėsinimo funkcija

Šis mygtukas atlieka dvi funkcijas. Spustelėkite jį, jeigu norite įjungti arba išjungti greitojo atvėsinimo funkciją. Sparčiojo vėsinimo indikatorius užges ir gaminyje vėl galios normalios nuostatos. (

6. Įspėjamasis garso signalas

Jei įjungtas signalas dėl energijos tiekimo nutrūkimo / aukštos temperatūros, patikrinkite šaldiklio skyriuje esantį maistą ir paspauskite signalo išjungimo mygtuką ( ), kad pašalintumėte įspėjimą. Naudokite greitojo atvėsinimo funkciją, kai norite greitai atvėsinti į šaldytuvo skyrių sudėtą maistą. Jei norite užšaldyti didelį kiekį šviežių produktų, įjunkite šią funkciją, prieš sudėdami produktus gaminį. Jeigu jos neišjungsite, po 8 valandų arba kai šaldytuvo skyriuje temperatūra pasieks reikiamą lygį, greitojo atvėsinimo funkcija bus išjungta automatiškai.

3 sekundes palaikykite nuspaudę mygtukų užrakto mygtuką ( ). Užsidegs mygtukų užrakto simbolis ( ) ir mygtukų užrakto režimas bus įjungtas. Veikiant mygtukų užrakto režimui, mygtukai neveiks. Dar kartą 3 sekundes palaikykite nuspaudę mygtukų užrakto mygtuką. Mygtukų užrakto simbolis užges ir mygtukų užrakto režimas bus išjungtas. Paspauskite mygtukų užrakto mygtuką, jeigu norite, kad šaldytuve negalima būtų pakeisti temperatūros nuostatos ( ). Jeigu greitojo užšaldymo mygtukas spausite daugiau nei vieną kartą per trumpą laikotarpį, įsijungs elektroninės grandinės apsaugos sistema ir kompresorius iš karto neįsijungs. Kai nutrūkus elektros tiekimui elektra vėl atsiranda, ši funkcija nėra atkuriama.

4. Šaldytuvo skyriaus termostato nustatymo

rankenėlė Spauskite šį mygtuką, kad šaldytuve atitinkamai nustatytumėte 8, 7, 6, 5, 4, 3, 2, 8... laipsnių temperatūrą. Spauskite šį mygtuką, kol nustatysite pageidaujamą šaldytuvo skyriaus temperatūrą. ( )

5. Atostogų funkcija

Norėdami įjungti atostogų funkciją, palaikykite nuspaudę šį mygtuką ( 3 sekundes: užsidegs atostogų režimo indikatorius ( ). Kai atostogų funkcija veikia, šaldytuvo skyriaus temperatūros indikatoriuje rodoma „- -“, o šaldytuvo skyrius nešaldomas. Veikiant atostogų funkcijai, šaldytuve maisto produktų laikyti negalima. Kiti skyriai ir toliau bus šaldomi, atsižvelgiant į jų nustatytą temperatūrą. Jeigu šią funkciją norite atšaukti, dar kartą paspauskite atostogų funkcijos mygtuką.

Norėdami įjungti funkciją „Eco Fuzzy“, 1 sekundę palaikykite nuspaudę „Eco Fuzzy“ mygtuką. Įjungus šią funkciją, šaldytuvas pradės veikti ekonomiškiausiu režimu praėjus mažiausiai 6 valandoms, ir švies taupaus naudojimo indikatorius ( ). Norėdami funkciją „Eco Fuzzy“ išjungti, 3 sekundes palaikykite nuspaudę funkcijos „Eco Fuzzy“ mygtuką. Šis indikatorius užsidega praėjus 6 valandoms nuo funkcijos „Eco Fuzzy“ įjungimo. 16 / 30 LT Šaldytuvas / Vadove nuorodinės Prietaiso naudojimas

9. Šaldiklio kameros temperatūros nustatymo

mygtukas Spauskite šį mygtuką, kad šaldiklyje atitinkamai nustatytumėte -18,-19,-20,-21, -22, -23,-24, -18... laipsnių temperatūrą. Spauskite šį mygtuką, kol nustatysite pageidaujamą šaldiklio skyriaus temperatūrą. ( )

10. „Icematic“ išjungimo indikatorius

Nurodo, ar ledukų gaminimo funkcija įjungta, ar išjungta. ( ) Jei įjungta, tuomet ledukų gaminimo funkcija neveikia. Kad „Icematic“ vėl veiktų, 3 sekundes palaikykite paspaudę įjungimoišjungimo mygtuką.

Rodo, kad gaminys veikia energijos taupymo režimu. ( ) Šis indikatorius bus rodomas tuomet, jei šaldiklio skyriaus temperatūra bus nustatyta ties –18 laipsnių temperatūra arba veikiant funkcijai „Eco-Extra", prietaisas veiks energijos taupymo režimu.

Pasirinkus šią funkciją, vanduo iš vandens talpyklos nustos tekėti. Tačiau anksčiau pagamintą ledą galima išimti iš „Icematic“.

11. Greitojo užšaldymo mygtukas / ledukų

gaminimo funkcijos įjungimo-išjungimo mygtukas Paspauskite šį mygtuką, jeigu norite įjungti arba išjungti greitojo užšaldymo funkciją. Suaktyvinus funkciją, šaldiklio kamera atšals iki temperatūros, žemesnės nei nustatyta reikšmė. ( ) Norėdami įjungi ir išjungti „Icematic“, 3 sekundes palaikykite jį nuspaudę.

Naudokite greitojo užšaldymo funkciją, kai norite greitai užšaldyti į šaldytuvo skyrių sudėtą maistą. Jei norite užšaldyti didelį kiekį šviežių produktų, šią funkciją rekomenduojama įjungti prieš įdedant produktus į šaldytuvą. Jeigu jos neišjungsite, po 4 valandų arba kai šaldytuvo skyriuje temperatūra pasieks reikiamą lygį, greitojo atvėsinimo funkcija bus išjungta automatiškai. Kai nutrūkus elektros tiekimui elektra vėl atsiranda, ši funkcija nėra atkuriama. Šaldytuvas / Vadove nuorodinės 17 / 30 LT Pasirinkus greito atvėsinimo arba greitojo šaldymo funkcijas, ekonomiško naudojimo indikatorius užgęsta. Prietaiso naudojimas 5.5. Ledukų konteineris 5.8. Daržovių dėžė *pasirinktinai *pasirinktinai

  • Išimkite ledukams skirtą vandens talpyklą iš šaldiklio skyriaus.
  • Užpildykite ledukams skirtą vandens talpyklą.
  • Įdėkite ledukams skirtą vandens talpyklą į šaldiklio skyrių.
  • Ledukai sušals maždaug per dvi valandas. Išimkite ledukams skirtą vandens talpyklą iš šaldiklio skyriaus, šiek tiek sulenkite ties indu, kuriame norite patiekti ledukus. Ledukai lengvai sukris į tiekimo indą. Gaminio daržovių dėžė pagaminta taip, kad išsaugotų joje laikomų daržovių drėgnumą. Todėl daržovių dėžėje sustiprinama bendra šalto oro cirkuliacija. 5.9. Nulio laipsnių skyrius *pasirinktinai Šiame skyriuje laikykite delikatesus, kuries reikia žemesnės temperatūros, arba greitai vartojamus mėsos produktus. Nulio laipsnių skyrius yra vėsiausia vieta, idealiai tinkanti laikyti pieno, mėsos, žuvies ir vištienos produktus. Į šį skyrių nereikėtų dėti daržovių ir (arba) vaisių. 5.6. Kiaušinių dėtuvė Kiaušinių dėtuvę galite laikyti durelių lentynoje arba ant pasirinkto laikiklio. Jei nuspręsite naudoti laikiklį, rekomenduojame jį dėti į žemiau esančias lentynas, nes jos šaltesnės.

Nelaikykite kiaušinių dėtuvės šaldiklio skyriuje. 5.7. Ventiliatorius Ventiliatorius sukurtas taip, kad vienodai paskirstytų šaltį jūsų šaldytuve. Ventiliatoriaus veikimo laikas gali skirtis atsižvelgiant į jūsų gaminio savybes. Kai kuriuose gaminiuose ventiliatorius veikia tik su kompresoriumi, tačiau kituose gaminiuose vėsinimo laiką nustato valdymo sistema. 18 / 30 LT Šaldytuvas / Vadove nuorodinės Prietaiso naudojimas

5.10.Judanti durelių lentyna

*pasirinktinai Judančią durelių lentyną galima tvirtinti 3 skirtingose padėtyse. Norėdami išimti lentyną, vienu metu paspauskite šone esančius mygtukus. Lentyną galėsite išimti. Perkelkite lentyną į viršų arba į apačią. Kai lentyna bus reikiamoje padėtyje, atleiskite mygtukus. Lentyna bus įtvirtinta toje vietoje, ties kuria atleidote mygtukus. Šaldytuvas / Vadove nuorodinės

5.11.Ištraukiama dėžutė

*pasirinktinai Šie priedai skirti geriau išnaudoti durelių lentynų talpumą. Dėl judėjimo į šonus galimybės į butelių lentyną galima lengvai įdėti ilgą butelį, stiklainį ar dėžutes. 19 / 30 LT Prietaiso naudojimas

5.12.Daržovių dėžė su

5.13.Automatinis ledukų

gaminimo įtaisas *pasirinktinai Esant drėgmės valdymo funkcijai, valdomi daržovių ir vaisių drėgmės rodikliai, todėl produktai ilgiau išlieka švieži. Lapines daržoves, pvz., salotas, špinatus ir panašias greitai džiūstančias daržoves, rekomenduojama daržovių dėžėje laikyti ne šaknimis žemyn, o horizontaliai. Dėdami daržoves, sunkias ir tvirtas daržoves dėkite apačioje, o lengvas ir minkštas – ant viršaus, atsižvelgdami į konkretų daržovių svorį. Dėdami daržoves į daržovių dėžę, išimkite jas iš plastikinių maišelių. Jei paliksite daržoves plastikiniuose maišeliuose, jos greitai supus. Jei nenorite, kad daržovės liestųsi, naudokite tokias higieniškas poringas pakavimo medžiagas, kaip popierių. Nedėkite daug etileno dujų išskiriančių vaisių (pvz., kriaušių, abrikosų, persikų ir ypač obuolių) į tą pačią daržovių dėžę kartu su kitomis daržovėmis ir vaisiais. Dėl šių vaisių išskiriamų etileno dujų kitos daržovės ir vaisiai gali greičiau sunokti ir sugesti. *pasirinktinai Automatinis ledukų gaminimo įtaisas gamina ledukus jūsų šaldytuve. Jei norite, kad ledukų gaminimo įtaisas gamintų ledukus, ištraukite šaldytuvo skyriuje esantį vandens bakelį, pripilkite jį vandens ir įdėkite atgal. Pirmieji ledukai bus paruošti po maždaug 2 valandų ledukų gaminimo įtaiso stalčiuje, kuris yra šaldiklio skyriuje. Iš pilno bakelio vandens gausite apie 60–70 kubelių ledo. Jei vanduo talpykloje stovi 2–3 savaites, jį reikia pakeisti.

20 / 30 LT Gaminiuose, kuriuose yra automatinis ledukų gaminimo įtaisas, galite girdėti krentančių ledukų garsą. Tai visiškai normalu ir nėra gedimas. Šaldytuvas / Vadove nuorodinės Prietaiso naudojimas

5.14.Ledukų dėklas ir ledukų

saugojimo talpykla *pasirinktinai Ledukų dėklo naudojimas Pripilkite į ledukų dėklą vandens ir įdėkite jį į šaldiklį. Ledukai sušals maždaug per dvi valandas. Norėdami išimti ledukus, neištraukite ledukų dėklo iš jo lizdo. Pasukite ant dėklo esančias rankenėles 90 laipsnių kampu. Formelėse esantys ledo kubeliai iškris į apačioje esančią ledukų saugojimo talpyklą. Galite ištraukti ledukų saugojimo talpyklą ir patiekti ledo kubelius. Jeigu norite, galite laikyti ledo kubelius ledukų saugojimo talpykloje. Ledukų saugojimo talpykla Ledukų saugojimo talpykla skirta tik ledo kubeliams kaupti. Nepilkite į ją vandens. Kitaip ji gali sutrūkti. Šaldytuvas / Vadove nuorodinės

5.15.Vandens dalytuvo naudojimas

*pasirinktinai Kelių pirmų stiklinių vanduo iš dozatoriaus bus šiltas – tai normalu. Jei vandens dalytuvo ilgai nenaudojote, prieš gerdami pirmas kelias stiklines išpilkite.

1. Stikline paspauskite vandens dalytuvo svirtį.

Jei naudosite minkštą plastikinį puodelį, spausti svirtį ranka bus lengviau.

2. Pripildę puodelį iki norimo lygio, atleiskite

svirtį. Atkreipkite dėmesį, kad vandens srautas priklauso nuo to, kaip stipriai spaudžiate svirtį. Kai stiklinė bus beveik pilna, lėtai atleiskite svirtį, kad vanduo nebėgtų per kraštus. Jeigu per mažai nuspausite svirtį, vanduo lašės; tai visiškai normalu ir nėra gedimas.

21 / 30 LT Prietaiso naudojimas

5.16.Pripildykite vandens

dalytuvo talpyklą Vandens talpyklą pripildantis bakelis yra durelių lentynoje.

1. Atidarykite talpyklos dangtį.

2. Pripildykite talpyklą geriamu vandeniu.

3. Uždarykite dangtį.

Nepilkite į vandens talpyklą jokio kito skysčio, pavyzdžiui, vaisių sulčių, gazuotų arba alkoholinių gėrimų, kurie nėra tinkami laikyti vandens dalytuve, tik vandenį. Vandens dalytuvas nepataisomai suges, jeigu jame laikysite kitos rūšies skysčius. Tokiu atveju garantija nebegalios. Tam tikros tokių rūšių gėrimuose/skysčiuose esančios cheminės medžiagos ir priemaišos gali sugadinti vandens talpyklos medžiagą. Naudokite tik švarų geriamą vandenį. Vandens bakelio talpa yra 3 litrai; neperpildykite. 22 / 30 LT Šaldytuvas / Vadove nuorodinės Prietaiso naudojimas 5.17. Vandens talpyklos valymas

1. Išimkite vandens talpyklą pripildantį bakelį iš

2. Laikydami iš abiejų pusių, išimkite durelių

3. Suimkite vandens talpyklą iš abiejų pusių ir

išimkite ją, pavertę 45 °C.

4. Nuimkite vandens talpyklos dangtį ir išvalykite

Vandens talpyklos sudedamųjų dalių ir vandens dozatoriaus negalima plauti indaplovėje. Šaldytuvas / Vadove nuorodinės 23 / 30 LT Prietaiso naudojimas

5.18.Padėklas nulašančiam vandeniui

Vandens lašeliai, nutekantys naudojant vandens dlaytuvą, kaupiasi nutekančio vandens padėkle. Išimkite plastikinį filtrą, kaip parodyta paveikslėlyje. Švaria sausa šluoste nuvalykite susikaupusį vandenį. 24 / 30 LT Šaldytuvas / Vadove nuorodinės Prietaiso naudojimas

5.19.Šviežių produktų užšaldymas

  • Kad maistas išsaugotų savo patrauklumą, šviežius produktus reikia užšaldyti kuo greičiau, tam naudokite greito užšaldymo funkciją.
  • Šviežių produktų šaldymas pailgins jų laikymo šaldiklyje laiką.
  • Sudėkite produktus į uždarytas pakuotes ir užsandarinkite.
  • Nepamirškite jų supakuoti prieš dėdami į šaldiklį. Naudokite šaldikliams skirtus indelius, aliumininę foliją, nedrėkstantį popierių, plastikinius maišelius ar kitas pakuotes, nedėkite maisto produktų, supakuotų į įprastą pakavimo popierių
  • Ant kiekvienos pakuotės užrašykite datą prieš užšaldydami. Taip visada žinosite, kiek šviežias yra kiekvienas produktas. Produktus su senesnėmis datomis sunaudokite pirmiausiai.
  • Iš karto po atšildymo produktus suvartokite, neužšaldykite jų pakartotinai.
  • Nešaldykite didelių kiekių maisto vienu metu.

5.20.Užšaldytų produktų

laikymo rekomendacijos Kameroje turi būti mažiausiai -18 °C temperatūra.

1. Sudėkite produktus į šaldiklį kuo greičiau, kad

2. Prieš užšaldydami patikrinkite produktų

3. Patikrinkite, ar nepažeistos produktų pakuotės.

5.21.Giluminis užšaldymas

Pagal IEC 62552 standartą šaldiklis turi galėti užšaldyti iki 4,5 kg maisto produktų prie -18 °C ar žemesnės temperatūros per 24 valandas kiekvieniems 100 litro šaldiklio tūrio. Ilgą laiką užšaldytus maisto produktus galima laikyti tik prie -18 °C ar žemesnės temperatūros . Taip maisto produktai išliks švieži ne vieną mėnesį (juos užšaldžius iki 18 °C ar žemesnės temperatūros). Maisto produktai, kuriuos užšaldote, neturi liestis prie jau užšaldytų, nes pastarieji iš dalies atšils. Norėdami pailginti laikymo laiką, daržoves išvirkite ir leiskite vandeniui nubėgti. Po to sudėkite maistą į orui nelaidžias pakuotes ir sudėkite į šaldiklį. Nešaldykite bananų, pomidorų, salotų, salierų, virtų kiaušinių, bulvių ir panašių maisto produktų. Šaldant šiuos maisto produktus suprastės maisto produktų kokybė ir maistinė vertė, jie gali sugesti ir tapti pavojingi sveikatai. Šaldytuvo Šaldiklio kameros kameros Apibūdinimas temperatūros temperatūros nustatymas nustatymas -18°C 4°C Tai numatytasis rekomenduojamas nustatymas -20, -22 arba Šie nustatymai rekomenduojami aplinkai, kurioje temperatūra viršija 4°C -24 °C 30 °C. Greitas Nustatymą naudokite, norėdami greitai užšaldyti maisto produktus; 4°C užšaldymas procesui pasibaigus bus atstatomi ankstesni nustatymai. Naudokite šiuos nustatymus, jei, jūsų nuomone, šaldytuvo kameroj -18 °C ar 2°C nepakankamai šalta dėl aplinkos temperatūros arba jei dažnai šalčiau atidaromos durelės. Šaldytuvas / Vadove nuorodinės 25 / 30 LT Prietaiso naudojimas

5.22.Produktų sudėjimas

Šaldiklio skyriaus lentynos Aušinimo skyriaus lentynos Aušinimo skyriaus durelių lentynos Dėžės daržovėms Šviežio maisto skyrius Vidinėje kameroje naudojama LED lemputė. Jei su ja kyla problemų, kreipkitės į aptarnavimo tarnybą. Šiame prietaise naudojamos lemputės neskirtos patalpoms apšviesti. Jos skirtos tik padėti sudėti ir išimti maisto produktus iš šaldytuvo ir šaldiklio saugiai ir patogiai. Skirtos įvairiems produktams, įskaitant mėsą, žuvį, ledus, daržoves ir pan. Maistas puoduose, uždengtose lėkštėse, uždengtose dėžutėse, kiaušiniai (uždengtoje dėžutėje)

krypties pakeitimasė Nedidelės maisto ir gėrimų pakuotės ir talpos Šaldytuvo durų atidarymo kryptį galima pakeisti pagal vietą, kurioje statysite šį buitinį prietaisą. Jei reikia, susisiekite su artimiausia įgaliotąja techninio aptarnavimo tarnyba. Vaisiai ir daržovės Delikatesai (pusryčių maistas, mėsos produktai, kuriuos netrukus suvartosite).

5.23.Atidarytų durelių signalas

(Pasirinktinai) Jei durelės laikomos atidarytos 1 minutę, pasigirsta įspėjamasis signalas. Jis išsijungia dureles uždarius arba paspaudus signalo išjungimo mygtuką ekrane (jei yra). 26 / 30 LT Šaldytuvas / Vadove nuorodinės

Priežiūra ir valymas Reguliariai valomas prietaisas tarnaus ilgiau.

ĮSPĖJIMAS: Prieš valydami šaldytuvą išjunkite jį iš elektros tinklo.

  • Nevalykite aštriais ir braižančiais įrankiais, muilu, valymo skysčiais, skiedikliais, dujomis, benzinu, lakais ir kitokiomis panašiomis priemonėmis.
  • Vandenyje ištirpinkite arbatinį šaukštelį karbonato. Sudrėkinkite šluostę vandeniu, išgręžkite. Nuvalykite prietaisą šluoste ir leiskite nudžiūti arba nusausinkite.
  • Saugokite, kad vandens nepatektų į lempos dangtelį ir kitas elektrines dalis.
  • Dureles valykite drėgna šluoste. Išimkite visus produktus, norėdami išimti durelių ir kamerų lentynas. Norėdami išimti, pakelkite durelių lentynėles į viršų. Išvalykite ir išdžiovinkite lentynėles, tada iš viršaus įstatykite atgal į vietą.
  • Nevalykite prietaiso išorinių paviršių ar chromuotų detalių vandeniu su chloru ar valikliais. Dėl chloro metaliniai paviršiai ims rūdyti.
  • Nenaudokite aštrių, braižančių įrankių, muilo, buitinių valiklių, ploviklių, žibalo, degalų alyvos, lako ir pan., kad nesideformuotų ir nenusiluptų dažų sluoksnis nuo plastikinių dalių. Nuvalykite su drungnu vandeniu ir minkšta šluoste ir sausai nušluostykite.
  • Maistą laikykite uždarose talpose. Iš neuždaryto maisto produktų sklindantys mikroorganizmai gali sukelti blogą kvapą.
  • Nelaikykite šaldytuve maisto produktų, kurie sugedo arba išėjo iš galiojimo. 6.2. Plastikinių paviršių apsauga Ant plastikinių paviršių išpiltas aliejus gali paviršių pažeisti, todėl jį būtina nedelsiant nuvalyti šiltu vandeniu. 6.1. Kaip išvengti blogų kvapų Iš gamyklos prietaisas pristatomas be jokių kvepiančių medžiagų, tačiau laikant maistą netinkamai ir nevalant vidinių paviršių, viduje gali atsirasti blogas kvapas. Kad taip neatsitiktų, kas 15 dienų valykite vidų vandeniu su karbonatu. Šaldytuvas / Vadove nuorodinės 27 / 30 LT

Trikčių diagnostika Prieš kreipdamiesi į aptarnavimo tarnybą patikrinkite šiuos dalykus. Tai padės sutaupyti ir laiko, ir pinigų. Jame pateikiamos dažniausiai sutinkamos triktys ir problemos, kurios nėra susijusios su gamybos ar medžiagų defektais. Kai kurios iš apibūdintų funkcijų jūsų modeliui gali būti netaikomos. Šaldytuvas neveikia.

  • Ne iki galo įkištas elektros lizdo kištukas. >>> Tinkamai įkiškite kištuką į lizdą.
  • Perdegė saugiklis, prijungtas prie lizdo, į kurį įkištas prietaiso kištukas, arba išmušė pagrindinį saugiklį. >>> Patikrinkite saugiklius. Ant šaldytuvo vidinių sienelių (MULTI ZONE, COOL, CONTROL ir FLEXI ZONE) kaupiasi vanduo.
  • Per dažnai atidaromos durelės >>> Stenkitės per dažnai neatidarinėti prietaiso durelių.
  • Per drėgna aplinka. >>> Nestatykite prietaiso drėgnoj aplinkoje.
  • Maistas su skysčiu laikomas neuždengtose talpose. >>> Maistą laikykite uždengtose sandariose talpose.
  • Prietaiso durelės paliekamos atviros. >>> Nelaikykite ilgai atidarytų prietaiso durelių.
  • Termostatas nustatytas į per žemą temperatūrą. >>> Nustatykite termostatą į tinkamą temperatūrą. Neveikia kompresorius.
  • Jei nutrūko elektros tiekimas, ištraukėte elektros laido kištuką ir vėl įjungėte, dujų slėgis prietaiso aušinimo sistemoje tampa nesubalansuotas, ir dėl to įsijungia kompresoriaus terminė apsauga. Prietaisas įsijungs po maždaug 6 minučių. Jei praėjus šiam laikotarpiui prietaisas neįsijungia, kreipkitės į aptarnaujančią tarnybą.
  • Įjungta atšildymo funkcija. >>> Tai yra normalu prietaisams su visiškai automatizuotu atšildymu. Atšildymas atliekamas periodiškai.
  • Prietaisas neįjungtas į elektros tinklą. >>> Patikrinkite, ar kištukas gerai įkištas į lizdą.
  • Neteisingai nustatyta temperatūra. >>> Pasirinkite tinkamą temperatūros nustatymą.
  • Nutrūko elektros tiekimas. >>> Prietaisas toliau veiks kaip įprastai, kai elektros tiekimas atsistatys. Naudojamas šaldytuvas veikia garsiau.
  • Prietaiso veikimas gali skirtis priklausomai nuo aplinkos temperatūros. Tai yra normalu ir nerodo gedimo. Šaldytuvas veikia per dažnai arba per ilgai. 28 / 30 LT Šaldytuvas / Vadove nuorodinės Trikčių diagnostika
  • Nauji produktai gali būti didesni už ankstesnius. Jei produktai yra didesni, šaldytuvas veiks ilgiau.
  • Temperatūra patalpoje gali būti per aukšta. >>> Jei kambaryje temperatūra aušta, prietaisas paprastai veikia ilgiau.
  • Gali būti, kad prietaisą neseniai įjungėte arba įdėjote naujų maisto produktų. >>> Prietaisui reikia daugiau laiko nustatytai temperatūrai pasiekti, jei jis neseniai įjungtas arba įdėjote naujų produktų. Tai yra normalu.
  • Neseniai į prietaisą įdėjote daug karšto maisto. >>> Nedėkite į šaldytuvą karšto maisto.
  • Per dažnai atidaromos arba per ilgai laikomos atidarytos prietaiso durelės. >>> Dėl į vidų patekusio šilto oro prietaisas veiks ilgiau. Stenkitės dažnai neatidarinėti prietaiso durelių.
  • Šaldytuvo ar šaldiklio durelės gali būti uždarytos nesandariai. >>> Patikrinkite, ar gerai uždarytos visos durelės.
  • Gali būti nustatyta per žema temperatūra. >>> Nustatykite aukštesnę temperatūrą, palaukite, kol prietaisas sureaguos ir pasieks ją.
  • Gali būti purvina, nusidėvėjusi ar atšokusi šaldytuvo ar šaldiklio durelių tarpinė. >>> Nuvalykite arba pakeiskite tarpinę. Jei tarpinė pažeista ar nuplyšo, prietaisas veiks ilgiau ir dažniau, kad išlaikytų esamą temperatūrą. Šaldiklio temperatūra labai žema, bet šaldytuvas šaldo gerai.
  • Nustatyta labai žema temperatūra šaldiklio kameroje. >>> Padidinkite temperatūros nustatymą šaldikliui ir patikrinkite dar kartą. Šaldytuve temperatūra labai žema, bet šaldiklis šaldo gerai.
  • Nustatyta labai žema temperatūra šaldytuvo kameroje. >>> Padidinkite temperatūros nustatymą šaldikliui ir patikrinkite dar kartą. Šaldytuvo stalčiuose laikomi produktai užšalo.
  • Nustatyta labai žema temperatūra šaldytuvo kameroje. >>> Padidinkite temperatūros nustatymą šaldikliui ir patikrinkite dar kartą. Per aukšta temperatūra šaldytuve ar šaldiklyje.
  • Nustatyta labai aukšta temperatūra šaldytuvo kameroje. >>> Nuo šaldytuvo kameros temperatūros priklauso ir temperatūra šaldiklyje. Pakeiskite šaldytuvo ar šaldiklio kameros temperatūrą, palaukite, kol kamerų temperatūra susireguliuos.
  • Per dažnai atidaromos arba per ilgai laikomos atidarytos prietaiso durelės. >>> Stenkitės per dažnai neatidarinėti durelių.
  • Durelės gali būti uždarytos nesandariai. >>> Tinkamai uždarykite dureles.
  • Gali būti, kad prietaisą neseniai įjungėte arba įdėjote naujų maisto produktų. >>> Tai yra normalu. Prietaisui reikia daugiau laiko nustatytai temperatūrai pasiekti, jei jis neseniai įjungtas arba įdėjote naujų produktų.
  • Neseniai į prietaisą įdėjote daug karšto maisto. >>> Nedėkite į šaldytuvą karšto maisto. Prietaisas veikia garsiai arba vibruoja. Šaldytuvas / Vadove nuorodinės 29 / 30 LT Trikčių diagnostika
  • Grindys nelygios arba netvirtos. >>> Jei prietaisas vibruoja ar juda, pareguliuokite jo atramas. Patikrinkite, kad grindys būtų pakankamai tvirtos, kad atlaikytų prietaiso svorį.
  • Ant prietaiso uždėti daiktai gali kelti triukšmą. >>> Nelaikykite daiktų ant produkto. Girdisi skysčio bėgimo, purškimo ir kitokie garsai.
  • Prietaise veikia skysčio ir dujų kontūrai. >>> Tai yra įprasti veikimo garsai ir nerodo gedimo. Iš prietaiso sklinda pučiančio vėjo garsas.
  • Įsijungė ventiliatorius. Tai yra normalu ir nerodo gedimo. Ant vidinių sienelių yra kondensato.
  • Esant drėgnam ar karštam orui padidėja ledėjimas ir rasojimas. Tai yra normalu ir nerodo gedimo.
  • Per dažnai atidaromos arba per ilgai laikomos atidarytos prietaiso durelės. >>> Neatidarykite durelių per dažnai ir greitai jas uždarykite.
  • Durelės gali būti uždarytos nesandariai. >>> Tinkamai uždarykite dureles. Ant prietaiso išorės arba tarp durelių kaupiasi kondensatas.
  • Jei aplinkos oras drėgnas, tai yra normalus reiškinys. >>> Sumažėjus aplinkos drėgmei kondensatas išgaruos. Viduje smirda.
  • Prietaisas nėra reguliariai valomas. >>> Išvalykite prietaiso vidų su kempine ir šiltu vandeniu, naudokite vandenį su karbonatu.
  • Kvapas gali sklisti nuo tam tikrų pakuočių ir talpų >>> Naudokite kvapų neskleidžiančias pakuotes ir talpas.
  • Maistas buvo sudėtas ir neuždarytas. >>> Maistą laikykite uždarose talpose. Iš neuždaryto maisto produktų sklindantys mikroorganizmai gali sukelti blogą kvapą.
  • Išimkite sugedusius ar nebegaliojančius produktus. Durelės neužsidaro.
  • Gali būti, kad jas blokuoja maisto pakuotės. >>> Perdėkite tokias pakuotes į kitą vietą.
  • Prietaisas nėra visiškai vertikalus. >>> Pareguliuokite prietaiso atramas.
  • Grindys nelygios arba netvirtos. >>> Patikrinkite, kad grindys būtų lygios ir atlaikytų prietaiso svorį. Užstrigo daržovių dėžė.
  • Gali būti, kad maisto produktai siekia aukštesnį skyrių. >>> Perdėliokite produktus dėžėje.

ĮSPĖJIMAS: Jei problema išlieka ir peržiūrėjus šio skyriaus nuorodas, kreipkitės į pardavėją ar įgaliotąjį aptarnavimo centrą. Nebandykite taisyti prietaiso patys. 30 / 30 LT Šaldytuvas / Vadove nuorodinės 57 5538 0000/AV 3/5 EL-HU-LT www.beko.com.tr www.beko.com