HES 62 - Sporák HOOVER - Bezplatný návod na obsluhu
Nájdite návod k zariadeniu zdarma HES 62 HOOVER vo formáte PDF.
Otázky používateľov k HES 62 HOOVER
0 otázka o tomto zariadení. Odpovedzte na tie, ktoré poznáte, alebo položte vlastnú.
Položte novú otázku o tomto zariadení
Stiahnite si návod pre váš Sporák vo formáte PDF zadarmo! Nájdite svoj návod HES 62 - HOOVER a vezmite svoje elektronické zariadenie späť do rúk. Na tejto stránke sú zverejnené všetky dokumenty potrebné na používanie vášho zariadenia. HES 62 značky HOOVER.
NÁVOD NA OBSLUHU HES 62 HOOVER
Vaša bezpečnosť je pre nás dôležitá. Prečítajte si tieto informácie pred použitím varnej dosky.
Inštalácia
Zasiahnutie elektrickým prúdom
- Zmeny domáceho systému elektrického pripojenia môže vykonávat' len kvalifikovaný technik.
- Nedodržaním týchto pokynov môže nastat' zasiahnutie elektrickým prúdom alebo smrt'.
- Zvýšte pozornosť - hrany panela sú ostré.
- Nedodržaním tohto varovania sa môžete vážne zranit'.
- Prečítajte si tieto pokyny pozorne pred inštaláciou alebo použitím spotrebiča.
- Na spotrebič nikdy nedávajte horľavé materiály.
- Poskytnite tieto informácie osobe zodpovednej za inštaláciu spotrebiča, tým môžete znížit náklady za inštaláciu.
- Aby ste zabránili nebezpečenstvu, tento spotrebič sa musí inštalovať v súlade s týmito pokynmi.
- Tento spotrebič môže inštalovať a správne uzemnit’ len kvalifikovaný odborník.
- Tento spotrebič sa musí pripojit' k obvodu, ktorý obsahuje odpájací prepínač ponúkajúci kompletné odpojenie od elektrickej energie.
- Nesprávnou inštaláciou spotrebiča môžete stratit' právo na záruku.
Prevádzka a obsluha
Riziko zasiahnutia elektrickým prúdom
- Nevarte na prasknutej varnej doske. Ak varná doska praskne, spotrebič ihned' vypnite od elektrickej siete (istič) a kontaktujte kvalifikovaného technika.
- Pred čistením a údržbou vypnite a odpojte varnú dosku od elektrickej siete.
- Nedodržanie tohto postupu môže spôsobit' zasiahnutie elektrickým prúdom alebo smrt'.
Ohrozenie zdravia
- Tento spotrebič vyhovuje štandardom pre elektromagnetickú bezpečnost'.
- Osoby s kardiostimulátorom alebo inými elektrickými implantátmi (ako sú inzulínové pumpy) musia kontaktovať lekára alebo výrobcu zariadenia pred použitím varnej dosky pre zaistenie, že ich implantáty nebudú ovplyvnené elektromagnetickým poľom.
- Nedodržanie týchto pokynov môže viest' k smrti.
Riziko horúceho povrchu
- Počas použitia sú prístupné časti spotrebiča dostatočne horúce na spôsobenie popálenia.
- Zabráňte kontaktu tela, odevov alebo iných predmetov okrem vhodného varného riadu s indukčnou varnou doskou, pokým povrch nevychladne.
- Upozornenie: magnetické kovové predmety na tele sa môžu zahriat', ak sa dostanú do blízkosti varnej dosky. Zlaté alebo strieborné šperky nebudú ovplyvnené.
-
Držte deti mimo dosahu.
-
Rukoväti panvíc môžu byť horúce na dotyk. Skontrolujte, či rukoväti panvíc neprekrývajú iné varné zóny, ktoré sú zapnuté. Držte rukoväti dosahu detí.
- Nedodržanie týchto pokynov môže viest' k popáleniu a obareniu.
Riziko porezania
- Čepel' škrabky na varnú dosku je odkrytá po zložení ochranného krytu. Škrabku používajte so zvýšenou opatrnosťou a vždy ju skladujte mimo dosahu detí.
- Nedodržanie týchto pokynov môže spôsobit' zranenie.
- Spotrebič nenechávajte počas použitia nikdy bez dozoru. Vyvrenie môže spôsobit' dym a môže sa vznietit'.
- Váš spotrebič nikdy nepoužívajte ako pracovní alebo odkladaciu plochu.
- Na spotrebiči nenechávajte žiadne náradie ani iné cudzie predmety.
- V blízkosti spotrebiča nenechávajte žiadne magnetické predmety (napr. kreditné karty, pamät'ové karty) alebo elektronické zariadenia (nape. počítače, MP3 prehrávače), pretože môžu byť ovplyvnené elektromagnetickým pol'om.
- Po použití spotrebiča vypnite varné zóny podľa popisu v tomto návode (napr. pomocou dotykových ovládačov). Nespoliehajte sa na vypnutie varných zón pomocou funkcie detekcie riadu.
- Nedovol'te det'om hrat' sa so spotrebičom, ani na naň sadat', stúpat' a liezt'.
- Do skriniek nad spotrebičom neukladajte predmety lákavé pre deti. Deti lezúce na varnú dosku sa môžu vážne zranit'.
- Počas prevádzky spotrebiča nenechávajte deti v blízkosti bez dozoru.
- Deti alebo osoby s obmedzenými senzorickými schopnosťami musia byť pod dozorom osoby zodpovednej za ich bezpečnosť. Zodpovedná osoba sa musí uistiť, že tieto osoby môžu používať spotrebič bez ohrozenia seba alebo svojho okolia.
- Neopravujte ani nemeňte žiadne časti tohto spotrebiča, ak to nie je uvedené v návode. Všetky servisné zásahy musí vykonávať kvalifikovaný servisný technik.
- Na čistenie varnej dosky nepoužívajte vysokotlakový parný čistič.
- Na varnú dosku nedávajte t'ažké predmety.
- Na varnú dosku si nestúpajte.
- Nepoužívajte riad so zubatými okrajmi ani net'ahajte riad cez varnú dosku, pretože môžete poškriabat' sklo varnej dosky.
- Nepoužívajte škrabky ani iné drsné čistiace prostriedky na čistenie varnej dosky, mohli by ste poškriabat' sklo varnej dosky.
- Ak je poškodený prívodný kábel, musí ho vymenit' len kvalifikovaný technik.
- Spotrebič je určený na použitie v domácnosti.
- Tento spotrebič môžu používať deti od 8 rokov a osoby s obmedzenými fyzickými, senzorickými alebo mentálnymi schopnosťami alebo bez dostatočných skúseností a znalostí, ak boli poučené o použití spotrebiča správnym spôsobom a porozumeli možným bezpečnostným rizikám. Nedovol’te deťom hrat’ sa so spotrebičom. Čistenie a údržbu nesmú vykonávať deti bez dozoru.
- VAROVANIE: Varenie na varnej doske s olejmi a tukmi bez dozoru je nebezpečné a môže viest' k prehriatiu a požiaru. NIKDY sa nepokúšajte uhasit' plamene vodou, spotrebič len vypnite a potom prekryte plameň pokrývkou alebo protipožiarnou prikrývkou.
- Na varnej doske nenechávajte kovové predmety ako sú nože, vidličky, lyžičky a pokrývky, pretože sa môžu zahriat.
- Po použití vypnite varnú dosku pomocou ovládača a nespoliehajte sa na vypnutie pomocou detekcie riadu.
- Spotrebič nie je určený na ovládanie pomocou externého časovača alebo systému samostatného dial'kového ovládania.
Blahoželáme k zakúpeniu vašej novej indukčnej varnej dosky. Odporúčame, aby ste venovali určitý čas čítaniu týchto pokynov/Návodu na inštaláciu pre plné porozumenie, ako správne inštalovať a obsluhovať varnú dosku.
Za účelom inštalácie si prečítajte časť o inštalácii.
Pred použitím a inštaláciou si prečítajte všetky bezpečnostné pokyny a uschovajte si tento návod na bezpečnom mieste.
Popis spotrebiča
Pohl'ad zhora

text_image
1 3 5 6 2 4 7 8 NOOVER- Posuvný volič výkonu/časovača
- Volíče vol'by varnej zóny
- Volič uzamknutia
- Tlačidlo zapnutia/vypnutia
- Volič udržiavania teploty
- Volič funkcie Boost
- Volič časovača
Úvod
Indukčné varenie je bezpečná, zdokonalená, účinná a ekonomická technológia varenia. Funguje pomocou elektromagnetických vibrácií vytvárajúcich teplo priamo v riade, namiesto prestupovania tepla cez sklokeramický povrch. Sklokeramický povrch je horúci len ak sa dostatočne zahreje riad.

Pred použitím vašej novej indukčnej varnej dosky
- Prečítajte si tento návod, dbajte hlavne na časť „Bezpečnostné upozornenia“.
- Odstráňte všetky ochranné fólie, ktoré sa môžu nachádzať na varnej doske.
- Ovládacie prvky reagujú na dotyk, preto na ne nemusíte tlačit' silou.
- Používajte bruško prsta, nie špičku.
- Po každom zaregistrovaní dotyku budete počut' akustický signál.
- Zaistite, aby boli ovládacie prvky vždy čisté, suché a že sa na nich nenachádzajú žiadne predmety (napr. náradie alebo utierky). Aj tenký film vody môže st'ažit' obsluhu ovládacích prvkov.

Vol'ba varného riadu
- Používajte len varný riad s dnom vhodným pre indukčné varenie. Vid' symboly na obale alebo na dne riadu.

- Vhodnosť riadu môžete skontrolovať pomocou magnetického testu. Presuňte magnet bližšie ku dnu riadu. Ak sa prichytí, riad je vhodný na indukciu.

-
Nalejte trochu vody do riadu, ktorý chcete testovat'.
-
Postupujte podl'a krokov „Spustenie varenia“.
-
Ak na displeji nebliká a voda sa hreje, riad je vhodný.
- Riad z nasledujúcich materiálov nie je vhodný: čistá nerezová ocel', hliníkový alebo medený bez magnetického dna, sklo, drevo, porcelán, keramika a kamenina.
Nepoužívajte riad so zakriveným dnom alebo ostrými okrajmi.

Uistite sa, či je dno riadu hladké, pasuje presne na sklo a či má rovnakú veľkost' ako varná zóna. Používajte riad, ktorého priemer je rovnaký ako zobrazená varná zóna. Použitím riadu s mierne väčším priemerom využijete energiu s maximálnou účinnosťou. Ak použijete menší riad, účinnosť môže byť nižšia ako očakávaná.
Riad s priemerom menším ako 140 mm nemusí varná doska detekovat'. Riad vždy vycentrujte na varnej zóne.

Riad z varnej dosky vždy dvíhajte – nepresúvajte, mohli by ste ju poškriabať.

Varné zóny sa až po limit automaticky adaptujú na priemer riadu. Dno riadu musí mat' minimálny priemer zodpovedajúci varnej zóne. Na dosiahnutie najlepšej účinnosti vašej varnej dosky umiestite riad do stredu varnej zóny.
HES 62
| Varná zóna Priemer dna indukčnej varnej dosky | ||
| 1, 2, 3 140 220 | ||
| Flexibilná zóna 220 | 220 x 400 | |
| 4 140 140 | ||
HES 6D
| Varná zóna Priemer dna indukčnej varnej dosky | ||
| 1, 2, 3, 4 140 220 | ||
| Flexibilná zóna 220 220 x 400 | ||
Použitie indukčnej varnej dosky
Začíname varit'
- Stlačte tlačidlo zapnutia/vypnutia ①.
„ ovládač vol'by varnej zóny zobrazí „ „ alebo „ indikujúci, že indukčná doska je v pohotovostnom režime.
- Umiestnite vhodný riad na varnú zónu, ktorú chcete použit'.
- Uistite sa, že sú dno riadu a povrch varnej dosky čistý a suchý.
- Dotknite sa ovládača vol'by varnej zóny a kontrolka príslušnej zóny začne blikat'.

-
Upravte nastavenie výkonu pomocou posuvného ovládača.
-
Ak nezvolíte výkon do 1 minúty, indukčná varná doska sa automaticky vypne. Musíte začat' opät' od kroku 1.
- Nastavenie výkonu môžete upravit' kedykol'vek počas varenia.

text_image
Zniženie výkonu
text_image
Zvýšenie výkonu- ste neumiestnili riad na správnu varnú zónu alebo,
- použitý riad nie je vhodný na indukčné varenie alebo,
- panvica je vel'mi malá alebo nesprávne vycentrovaná na varnej zóne.
Ohrev sa nespustí, ak nie je na varnej doske vhodný riad. Displej sa automaticky vypne po 1 minúte, ak neumiestnite vhodný riad na varnú zónu.
Po dovarení
- Požadovanú varnú zónu na vypnutie zvol'te dotykom symbolu varnej zóny.

text_image
15 D- Varnú dosku vypnete stlačením tlačidla zapnutia/vypnutia.

- Dbajte na horúci povrch.
H sa zobrazí pri varnej zóny, ktorá je veľmi horúca na dotyk. Zmizne, keď je povrch dostatočne vychladnutý na bezpečnú teplotu. Zvyškové teplo môžete využit’ aj na úsporu energie, ak chcete ohriat’ d’alší riad.

Použitie funkcie Boost
Aktivácia funkcie boost.
-
Dotknite sa symbolu vol'by príslušnej varnej zóny.
-
Dotknite sa ovládača boost B, indikátor zóny zobrazí „b“ a výkon dosiahne Maximum.

text_image
B → b
Zrušenie funkcie Boost
- Dotknite sa voliča varnej zóny, pre ktorú chcete zrušit funkciu boost.

text_image
b c- a: Dotknite sa ovládača boost „B“, potom sa varná zóna vráti na pôvodné nastavenie. b: Dotknite sa posuvného ovládača, varná zóna sa nastaví na zvolený výkon.

text_image
B alebo
- Funkciu môžete použit' na všetky varné zóny.
- Varná zóna sa vráti na pôvodné nastavenie po 5 minútach.
- Ked' je funkcia boost 1. varnej zóny aktívna, výkon druhej varnej zóny je automaticky obmedzený na úroveň 2 a naopak.
- Ak sa pôvodné nastavenie teploty rovná 0, vráti sa na úroveň 15 po 5 minútach.
Použitie funkcie udržiavania teploty
Aktivácia funkcie udržiavania teploty
- Dotknite sa symbolu príslušnej varnej zóny.

text_image
10 10- a: Dotknite sa posuvného ovládača, potom sa varná zóna vráti na zvolenú úroveň.

b: Dotknite sa voliča funkcií B, varná zóna sa vráti na skôr nastavený výkon.
Flexibilná oblast'
- Túto oblast' je možné použit' ako jednu varnú zónu alebo dve samostatné zóny, podl'a požiadaviek varenja.
- Flexibilná oblast' obsahuje dva nezávislé induktory, ktoré je možné ovládat' samostatne. Pri použití ako jedna zóna, ak presuniete varnú nádobu z jednej zóny na druhú v rámci flexibilnej oblasti, bude zachovaný rovnaký výkon pôvodnej varnej zóny a časť nepokrytá riadom sa automaticky vypne.
- DÔLEŽITÉ: uistite sa, že je riad uprostred jednej varnej zóny. V prípade použitia veľkého riadu, oválnej, štvorcovej alebo dlhej nádoby sa uistite, že je umiestnená uprostred varnej zóny a prekrýva obidve logá.
Príklad správneho a nesprávneho umiestnenia riadu.

- Na aktiváciu flexibilnej oblasti ako jednej veľkej varnej zóny jednoducho stlačte zodpovedajúce tlačidlá.

text_image
0- Nastavenie výkonu funquje ako pri bežnom nastavení.
- Ak presuniete riad z prednej na zadnú časť (alebo naopak), flexibilná oblast automaticky zistí novú pozíciu, uchová rovnaký výkon.
- Na pridanie d'alšieho riadu stlačte opät' zodpovedajúce tlačidlá na zistenie riadu.
Dve nezávislé zóny
Pre použitie flexibilnej oblasti ako dvoch samostatných varných zón s odlišným nastavením výkonu stlačte zodpovedajúce tlačidlá.

text_image
Alebo- Môžete uzamknút'ovládací panel pred nechceným použitím (napríklad pred náhodnou aktiváciou varnej zóny det'mi).
- Ked' sú ovládače uzamknuté, všetky ovládače okrem ovládača zapnutia/vypnutia sú neaktívne.
Dotknite sa symbolu uzamknutia 📋. Indikátor časovača zobrazí „Loc”.
- Dotknite sa a podržte symbol uzamknutia
- Teraz môžete začat' používat' indukčnú varnú dosku.

Ked' je varná doska v uzamknutom režime, všetky ovládače sú neaktívne okrem zapnutia/vypnutia ①, vždy môžete varnú dosku v prípade núdze vypnút' tlačidlom zapnutia/vypnutia ①, ale pre d'alšiu obsluhu musíte najskôr varnú dosku odomknút'.
Ochrana pred prehriatím
Teplotný senzor môže monitorovať teplotu v indukčnej varnej doske. Ked' je zistená nadmerne vysoká teplota, indukčná doska sa automaticky vypne.
Detekcia malých predmetov
Ked' necháte na varnej doske predmet nevhodnej vel'kosti alebo nemagnetický predmet (napr. hliník), alebo iný malý predmet (napr. nôž, vidličku, klúče), varná zóna prejde automaticky po 1 minúte do pohotovostného režimu. Ventilátor chladí indukčnú varnú dosku 1 minútu.
Automatické vypnutie je bezpečnostná funkcia ochrany indukčnej varnej dosky. Vypne ju automaticky, ak ju zabudnete vypnút'. Počiatočné prevádzkové časy pre rôzne výkony sú zobrazené v nižšie uvedenej tabuľke:
| Výkon Udržiava- | nie tepla | 1-5 6-10 11-14 15 | ||
| Počiatočný prevádzkový čas (hodiny) | 284 | 21 |
Po zložení riadu indukčná varná doska ihned' prestane hriat' a automaticky sa po 2 minútach vypne.

Osoby s kardiostimulátorom musia použitie varnej dosky konzultovat's lekárom.
Použitie časovača
Časovač môžete použit' dvomi rôznymi spôsobmi:
- Môžete ho použit' ako minútku. V tomto prípade časovač nevypne žiadnu varnú zónu po uplynutí nastavenej doby.
- Môžete ho nastavit' na vypnutie varných zón po uplynutí nastavenej doby.
- Časovač môžete nastavit' až na 99 minút.
Použitie časovača ako minútky
Ak nezvolíte žiadnu varnú zónu
Poznámka: minútku môžete použit' aj ked' nezvolíte žiadnu varnú zónu.
- Čas nastavte dotykom posuvného ovládača (napr. 9), teraz je časovač nastavený na 9 minút.

text_image
0:56- Po uplynutí nastaveného času bude zniet' akustický signál 30 sekúnd a indikátor časovača zobrazí „0:00“.
0:00
Nastavenie časovača pre vypnutie varných zón
Ak je časovač nastavený pre jednu varnú zónu:
- Dotknite sa voliča varnej zóny, pre ktorú chcete nastaviť časovač.

- Nastavte čas dotykom posuvného ovládača (napr. 9), teraz je nastavený časovač na 56 minút.
0:56

- Ked' je časovač nastavený, spustí sa ihned' jeho odpočítavanie. Displej zobrazuje zostávajúcu dobu a indikátor časovača bliká 5 sekúnd.
POZNÁMKA: Červená bodka vedl'a úrovne výkonu bude svietit' pre indikáciu zvolenej varnej zóny.
- Ked' časovač uplynie, zodpovedajúca varná zóna sa automaticky vypne.
6

Ostatné varné zóny budú v prevádzke d'alej, ak boli predtým zapnuté.
0:00
Ak je časovač nastavený pre viac ako jednu zónu:
- Ked' nastavíte časovač pre niekol'ko varných zón naraz, desatinné bodky príslušných varných zón svietia. Minúty zobrazujú min. časovača. Bodka zodpovedajúcej varnej zóny bliká.
15
3
6.
(nastavenie na 15 minút)
(nastavenie na 45 minút)
- Po uplynutí nastavenej doby sa príslušná varná zóna vypne. Potom sa zobrazí d'alší časovač a zodpovedajúca zóna bliká.
30
6
- Dotknite sa voliča varnej zóny, zodpovedajúci časovač sa zobrazí na indikátore.
Odporúčania k vareniu

Zvýšte pozornosť pri vyprážaní na oleji alebo tuku, ktorý sa veľmi rýchlo zahreje, hlavne ak používate funkciu PowerBoost. Pri extrémne vysokých teplotách sa môže olej a tuk vznietit’ a predstavuje vážne riziko požiaru.
Tipy k vareniu
- Dusenie nastáva pod bodom varu, okolo 85°C, ked' bublinky pomaly stúpajú k hladine. Je to klúčom k chutnej polievke a jemnému duseniu, pretože chuť sa rozvíja bez prevarenia jedla. Týmto spôsobom by ste mali varit' aj vaječné a múčne omáčky pod bodom varu.
- Niektoré pokrmy, vrátane varenia ryže spôsobom absorbcie, môžu vyžadovat' vyššie nastavenie ako najnižšie pre zaistenie dobrého uvarenia v správnom čase.
Opekanie steaku
Na prípravu šťavnatých chutných steakov:
- Približne 20 minút pred pečením nechajte mäso odležat' pri izbovej teplote.
- Zahrejte panvicu.
- Potrite obidve strany steaku olejom. Kvapnite malé množstvo oleja na horúcu panvicu a potom položte steak na rozpálenú panvicu.
- Počas pečenia steak raz otočte. Presná doba pečenia závisí od hrúbky steaku a stupňa požadovaného prepečenia. Časy sa môžu menit' od 2 do 8 minút na jednu stranu. Zatlačte na steak pre kontrolu stavu prepečenia – tuhší znamená viac „prepečený“.
- Nechajte steak odstát' na teplom tanieri niekol'ko minút pred podávaním pre uvoľnenie.
Smaženie s miešaním
- Zvol'te wok alebo vel'kú panvicu vhodnej vel'kosti a z vhodného materiálu pre indukčné varenie.
- Pripravte si všetky ingrediencie. Smaženie s miešaním musí byť rýchle. Ak pripravujete veľké množstvo, pripravujte pokrmy v menších dávkach.
- Panvicu krátko predhrejte a pridajte dve lyžice oleja.
- Najskôr pečte mäso, dajte ho bokom a udržiavajte teplé.
- Pripravte zeleninu. Ked' je horúca, ale stále chrumkavá znížte výkon varnej zóny, vrát'te mäso do panvice a pridajte omáčku.
- Ingrediencie jemne premiešajte a dobre prehrejte.
- Ihned' servírujte.
Nastavenie teploty
Nižšie uvedené nastavenia sú len informačné. Presné nastavenie závisí od niekoľkých faktorov, vrátane riadu a množstva pripravovaných pokrmov. Experimentujte s indukčnou varnou doskou pre zistenie nastavení, ktoré vám najviac vyhovujú.
| Nastavenie teploty | Vhodné pre |
| 1 - 2 • jemný ohrev | malých množstiev pokrmov• topenie čokolády, masla a pokrmov, ktoré sa l'ahko spália• jemné dusenie• pomalé ohrievanie |
| 3 - 5 • ohrev | • rýchle dusenie• varenie ryže |
| 6 - 11 • palacinky | |
| 12- 14 • varenie | • varenie cestovín |
| 15/P • smaženie s miešaním• opekanie• varenie polievky• varenie vody | |
Nastavenia sú len informatívne. Presné nastavenia závisia od niekol'kých faktorov, vrátane riadu a pripravovaného množstva pokrmu. Experimentujte s varnou doskou pre zistenie najlepších nastavení.
Starostlivost' a čistenie
| Čo? Ako? Dôležité! | ||
| Každodenné znečistenie sklokeramickej dosky (odtlačky prstov, škvrny z jedla alebo flaky bez obsahu cukru) | 1. Vypnite varnú dosku.2. Aplikujte čistič na varné dosky, pokým je sklo stále teplé (nie horúce!)3. Opláchnite a vysušte utierkou alebo papierovou utierkou.4. Zapnite varnú dosku. | Ked'je napájanie varnej dosky vypnuté, na varnej doske sa neobjaví indikácia horúceho povrchu, ale varná doska môže byť stále horúca! Zvýšte pozornosť.Drsné škrabky, nylonové škrabky a abrazívne čističe môžu poškriabať sklo. Vždy si prečítajte štítok na výrobku, či je vhodný na sklokeramiku.Nikdy nenechávajte zvyšky čistiaceho prostriedku na varnej doske: môžu zanechat' škvrny. |
| Vyvreté pokrmy, roztavené a horúce škvrny sladkých pokrmov na skle. | Odstráňte ich ihned' škrabkou vhodnou na sklokeramiku, dbajte na horúce varné zóny:1. Odpojte napájanie varnej dosky.2. Držte škrabku v uhle 30° a oškriabte nečistoty z varnej dosky.3. Znečistenie odstráňte bavlnenou alebo papierovou utierkou.4. Vykonajte kroky 2 až 4 postupu „Každodenné čistenie sklokeramickej dosky" vyššie. | Odstráňte škvrny a cukrové pokrmy čo najskôr. Ak ich necháte vychladnúť na sklokeramike, ich odstránenie môže byť t'ažké, alebo môžu trvale poškodiť sklenený povrch.Riziko porezania: po zložení ochranného krytu škrabky sa odkryje ostrá čepeľ. Maximálne zvýšte pozornosť a vždy škrabku skladujte mimo dosahu detí. |
| Škvrny na ovládacom paneli. | 1. Vypnite napájanie varnej dosky.2. Nečistoty namočte.3. Utrite oblast' dotykových ovládačov čistou špongiou alebo utierkou.4. Oblast' dôkladne vysušte papierovou utierkou.5. Opát' zapnite napájanie varnej dosky. | Varná doska môže vydat' akustický signál a sama sa vypnút' a ovládací panel nemusí byť funkčný, ak sa na ňom nachádza tekutina. Oblast' ovládacieho panela dôkladne očistite pred opätovným zapnutím varnej dosky. |
Tipy a triky
| Problém Možná príčina | Čo robit'? | |
| Varnú dosku nie je možné zapnút. | Bez napájania. Skontrolujte, či je varná doska pripojená k elektrickej sieti a či je funkčná. Skontrolujte, či nie je výpadok elektrickej energie vo vašej domácnosti alebo vašej oblasti. Ak aj po kontrole problém trvá, kontaktujte kvalifikovaného technika. | |
| Dotykové ovládače nereagujú. | Ovládací panel je uzamknutý. | Odomknite ovládací panel. Vid' časť „Použitie varnej dosky" ohľadne funkcií. |
| Dotykové ovládače sa t'ažko ovládajú. | Môže sa na nich nachádzať vodný film alebo používate špičku prsta. | Skontrolujte, či sú ovládacie prvky čisté a pri ovládaní používajte bruško prsta. |
| Poškriabané sklo. Drsný riad. | Nevhodné čistiace prostriedky. | Použite riad s rovným a hladkým dnom. Vid' „Vol'ba správneho riadu". Vid' „Starostlivost' a čistenie". |
| Niektorý riad vydáva praskavý zvuk. | Môže to byť spôsobené konštrukciou riadu (vrstvy rôznych materiálov vibrujú rôzne). | Je to normálne a nepredstavuje to poruchu. |
| Indukčná doska vydáva tiché hučanie pri použití na vysokej teplote. | Je to spôsobené technológiou indukčného varenia. | Je to normálne, ale zvuk stíchne alebo zmizne po zvýšení výkonu. |
| Zvuk ventilátora z varnej dosky. | Chladiaci ventilátor varnej dosky chráni elektroniku pred prehriatím. Môže chvíľu dobiehat' aj po vypnutí varnej dosky. | Je to normálne a nevyžaduje žiadny zásah. Neodpájajte napájanie varnej dosky, pokým ventilátor pracuje. |
| Nádoby sa nezahrievajú a na displeji sa zobrazí symbol >0<. | Indukčná doska nemôže detekovat' riad, pretože nie je vhodný pre indukčné varenie. Indukčná doska nemôže detekovat' riad, pretože je veľmi malý pre varnú zónu alebo nie je uprostred. | Použite riad vhodný pre indukčné varenie. Vid' časť „Vol'ba správneho riadu". Riad vycentrujte a uistite sa, či priemer dna zodpovedá varnej zóne. |
| Indukčná doska sa neočakávane vypne, znie akustický signál a zobrazí sa kód poruchy (štandardne striedavo s jednou alebo dvomi číslicami na displeji časovača). | Technická porucha. Poznačte | si číslo poruchy a symboly, vypnite napájanie indukčnej dosky a kontaktujte kvalifikovaného technika. |
Ak nastane neštandardná situácia, indukčná varná doska sa automaticky prepne do ochranného režimu a zobrazia zodpovedajúce ochranné kódy.
| Problém Možná príčina Čo robit'? | |
| F1-F6 Chybný teplotný senzor. Kontaktujte dodávatel'a. | |
| F9-FA Chybný senzor IGBT. Kontaktujte dodávatel'a. | |
| FC Chybné prepojenie medzi displejom a hlavnou doskou. | Kontaktujte dodávatel'a. |
| E1/E2 Nešstandardné napätie. Skontrolujte napájanie. | Zapnite po obnovení štandardného napätia. |
| E3/E4 Vysoká teplota teplotného senzora sklokeramickej varnej dosky. | Reštartujte po ochladení varnej dosky. |
| E5 Vysoká teplota IGBT senzora. Reštartujte po ochladení varne dosky. | |
Vyššie uvedené body sú riešenia bežných prevádzkových porúch.
Nedemontujte varnú dosku svojpomocne, aby ste zabránili riziku a poškodenia varnej dosky.
Technické údaje
| Varná doska HES 62, HES 6D | |
| Varné zóny | 4 zóny |
| Napájacie napätie | 220 - 240 V~ 50/60 Hz |
| Príkon | 7200 W |
| Rozmery g × š × v (mm) | 590 x 520 x 60 |
| Rozmery pre zabudovanie A × B (mm) | 560 x 490 |
Hmotnosť a rozmery sú približné. Z dôvodu neustáleho vylepšovania našich výrobkov si vyhradzujeme právo na zmenu technických údajov a dizajnu.
Inštalácia
Požiadavky na inštaláciu
Vyrežte otvor v pracovnej doske podľa rozmerov uvedených na obrázku.
Pre inštaláciu ponechajte minimálne 5 cm vol'ného priestoru okolo otvoru.
Uistite sa, či je hrúbka pracovnej dosky najmenej 30 mm. Zvol'te teplu odolný materiál pracovnej dosky, aby ste zabránili deformácii spôsobenej teplom z varnej dosky.

text_image
L W H D' X B X A X Tesnenie SEAL| L(mm) | W(mm) | H(mm) | D(mm) | A(mm) | B(mm) | X(mm) |
| 590 | 520 | 60 | 56 | 560+4+1 | 490+4+1 | 50 mini |
Uistite sa, či je varná doska dobre vetraná a či nie sú blokované jej vetracie otvory. Skontrolujte, či je varná doska v dobrom stave.

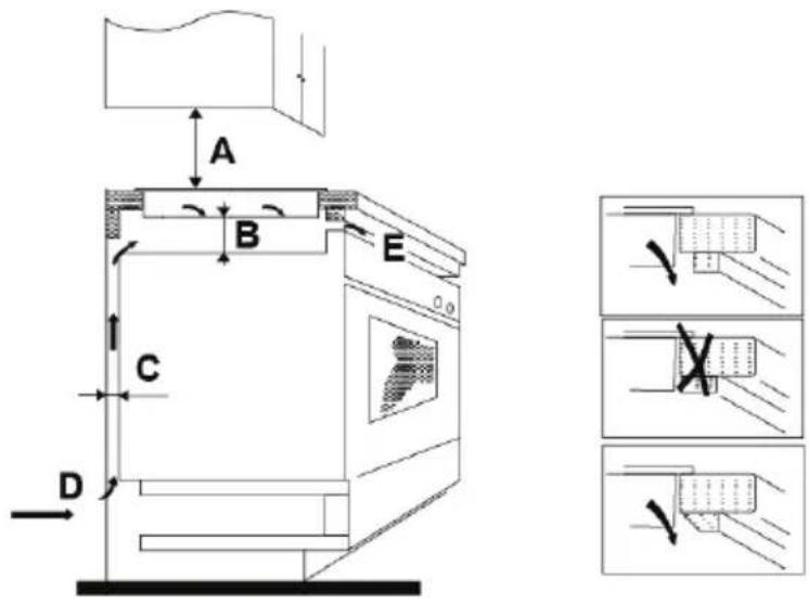
Poznámka: Bezpečná vzdialenost' medzi varnou doskou a skrinkou nad ňou musí byt najmenej 760 mm.

text_image
A B E C D| A(mm) B(mm) C (mm) D E | ||||
| 760 | 50 mini | 20 mini | Vstup vzduchu | Výstup vzduchu min. 5 mm |
Pred inštaláciou varnej dosky sa uistite:
- že je pracovná doska rovná a že nebránia inštalácii žiadne štrukturálne prvky.
- že je pracovná doska z teplu odolného materiálu.
- že ak inštalujete varnú dosku nad rúru, rúra musí mať zabudovaný chladiaci ventilátor.
- že inštalácia vyhovuje všetkým platným štandardom a predpisom.
- že je včlenené vhodné odpájacie zariadenie medzi varnú dosku a napájací kábel, ktoré je umiestnené podľa platných predpisov a smerníc.
Odpájací vypínač musí byt' schváleného typu a musí ponúkat' 3 mm vol'ného priestoru medzi kontaktmi vo vypnutom stave (alebo všetkých aktívnych [fázových] vodičov, ak miestne predpisy povolujú túto zmenu prepisov).
- že je odpájacie zariadenie l'ahko prístupné aj po inštalácii spotrebiča.
- že inštalácia vyhovuje miestnym predpisom o inštalácii.
Po inštalácii varnej dosky sa uistite:
- že nie je prívodný kábel dosiahnutel'ný cez zásuvku alebo priestor pod varnou doskou;
- že je dostatočný prietok vzduchu na chladenie varnej dosky;
- že ak je varná doska inštalovaná nad zásuvkou, musí byť inštalované ochranné medzidno pod dnom varnej dosky.
- že je odpájací spínač l'ahko prístupný spotrebitel'om.
Spotrebič postavte na stabilný, hladký povrch (použite balenie). Netlačte na ovládacie prvky vyčnievajúce z varnej dosky.
Nastavenie pozície držiakov
Varnú dosku pripevnite k pracovnej doske pomocou 4 držiakov na dolnej strane varnej dosky (vid' obrázok) po inštalácii.
Nastavte pozíciu držiaka podľa hrúbky pracovnej dosky.

- Indukčnú varnú dosku musí inštalovat' kvalifikovaný technik. Náš servis ponúka profesionálov. Nikdy ju neinštalujte svojpomocne.
- Varnú dosku neinštalujte nikdy priamo nad umývačku riadu, chladničku, mrazničku, práčku alebo sušičku, pretože vlhkost môže poškodit' elektroniku varnej dosky.
- Indukčnú varnú dosku inštalujte tak aby mohlo teplo dobre unikať pre zaistenie jej spol'ahlivosti.
- Steny okolo a plochy nad varnou doskou by mali byt' odolné voči teplu.
- Aby ste zabránili nebezpečenstvu, vrstvené pracovné plochy a lepidlá musia byt' odolné voči teplu.
Pripojenie varnej dosky k elektrickej sieti

Túto varnú dosku musí k elektrickej sieti pripájať kvalifikovaný elektrikár. Pred pripojením varnej dosky k elektrickej sieti skontrolujte:
- či je elektrický systém v domácnosti vhodný pre príkon varnej dosky.
- či napätie v elektrickej sieti zodpovedá parametrom uvedeným na varnej doske.
- či napájací kábel zodpovedá parametrom uvedeným na výrobnom štítku.
Na pripojenie varnej dosky k elektrickej sieti nepoužívajte adaptéry alebo redukcie, pretože môžu spôsobit' prehriatie a požiar. Prívodný kábel sa nesmie dotýkat' žiadnych horúcich častí a musí byt' vedený tak, aby teplota nepresiahla 75°C v žiadnom bode.

Požiadajte elektrikára o kontrolu, či je elektrický systém v domácnosti vhodný na pripojenie. Akékol'vek zmeny musí vykonávať kvalifikovaný technik. Napájanie musí byt' vykonané v súlade s platnými štandardmi, spôsob pripojenia je uvedený nižšie.

- Ak je kábel poškodený alebo je nutné ho vymenit', túto činnosť musí vykonať kvalifikovaný servisný technik, aby sa zabránilo nebezpečenstvu.
- Ak pripojíte spotrebič priamo k elektrickej sieti pomocou všepólového odpájacieho zariadenia, odstup medzi kontaktmi vo vypnutom stave musí byť najmenej 3 mm.
- Inštalatér musí zaistiť správnu inštaláciu v súlade s platnými smernicami a predpismi.
- Kábel sa nesmie stláčat' ani ohýbat'.
- Kábel pravidelne kontrolujte a môže ho menit' len kvalifikovaný technik.
Informácie o likvidácii opotrebovaného elektrického zariadenia (súkromné domácnosti)

Tento symbol na produktoch a/alebo na priložených dokumentoch znamená, že sa pri likvidácii nesmú elektrické a elektronické zariadenia miešat' so všeobecným domácim odpadom.
V záujme správneho obhospodarovania, obnovy a recyklácie odvezte, prosím, tieto produkty na určené zberné miesta, kde budú prijaté bez poplatku. V niektorých krajinách je možné tieto produkty vrátit' priamo miestnemu maloobchodu v prípade, ak si objednáte podobný nový výrobok.
Správna likvidácia týchto produktov pomôže ušetrit' hodnotné zdroje a zabrániť možným negatívnym vplyvom na l'udské zdravie a prostredie, ktoré môžu inak vzniknút' v dôsledku nesprávneho zaobchádzania s odpadom. Bližšie informácie o najbližšom zbernom mieste získate na miestnom úrade.
V prípade nesprávnej likvidácie odpadu môžu byť uplatnené pokuty v súlade s platnou legislatívou.
Pre právnické osoby v Európskej únii
Ak potrebujete zlikvidovat' opotrebované elektrické a elektronické zariadenia, bližšie informácie získate od svojho miestneho predajcu alebo dodávatel'a.
Informácie o likvidácii v krajinách mimo Európskej únie
Tento symbol je platný len v Európskej únii. Ak si želáte zlikvidovat' toto zariadenie, obráťte sa na miestny úrad alebo predajcu a poinformujte sa o správnom spôsobe likvidácie tohto typu odpadu.
JednoduchýManuál