FIDC B605 L - Cuptor încorporat CANDY - Manual de utilizare gratuit
Găsiți gratuit manualul dispozitivului FIDC B605 L CANDY în format PDF.
Questions des utilisateurs sur FIDC B605 L CANDY
0 question sur cet appareil. Repondez a celles que vous connaissez ou posez la votre.
Poser une nouvelle question sur cet appareil
Descărcați instrucțiunile pentru Cuptor încorporat în format PDF gratuit! Găsiți manualul dvs. FIDC B605 L - CANDY și luați din nou în mână dispozitivul dvs. electronic. Pe această pagină sunt publicate toate documentele necesare pentru utilizarea dispozitivului dvs. FIDC B605 L mărcii CANDY.
MANUAL DE UTILIZARE FIDC B605 L CANDY
107 Atentionäri generale
111 Instruetiuni generale
113 Descrierea produsului
116 Descrierea afisajului
118 Moduri de gătit
121 Note generale privind curățarea
121 Intreşinere
125 Curățareași intreținerea cuptorului
126 Installation
- In timpul gătitului, umiditatea poate condensa în interiorul cuptorului sau pe geamul uşii. Aceasta este o stare normală. Pentru a reduce acest efect, asteptați 10-15 minute după pornire, îniate de a pune alimente în cuptor. In orice caz, condensul dispare cand cuptorul atinge temperatura de gătit.
- Gătişi legumele intr-un recipient cu un capac, în loc de o tava deschisia.
- Evitați să lasați alimentele în cuptor după gătit mai mult de 15-20 de minute.
- AVERTISMENT: aparatul Şi partirile accesibile devin fierbinti in tim-pulutilizarii. Aveṭi grijā sā nu atingeti partirile fierbinti.
- AVERTISMENT: piesele accesibile pot fi fierbinti tand cuptorul este in uz. Copiii mici trebuie tini la o distanţa sigură.
- Deconnectati aparatul de la sursa de alimentare inainte de a efec-tua orice operatiune sau lucrare de intretnere asupra acestuia.
- AVERTISMENT: pentru a evita un pericol ce poate fi cauzat de resetarea accidentala a dispositivului de intrerupere termica, aparatul nu trebuie alimentat printr-un dispositiv de comutare extern, precum un temporizator, sau nu trebuie conectat la un circuit care este pornit și oprit în mod regulat.
- Copii i cu várste sub 8 ani trebuie tiniuti la o distanţă sigură fata de aparat dacă nu sunt permanent supravegheati.
- Este interzis copiilor să se joace cu acest aparat.
- Aparatul poate fi utilizes de copii cu vársta de 8 aniși mai mariși de personale cu abilitàti fizice, senzoriale sau mentale limitate, fãră experientă sau cunoștinte privind produsul, numai dacă acestoea sunt supravegheate sau instruite cu privire la Utilizarea aparatului în un mod sigur, fiind constientizate posibilele riscuri.
- Curățareași intreținerea nu trebuie efectuate de către copii nesupravegheatai.
- A nu se utilizes materiale dure sau abrazive sau raclete metalice ascuţite pentru a curăsta sticla de pe uşa cuptorului, deoarece acestea pot zgâria suprafatași pot determinina spargerea sticlei.
- Cuptorul trebuie oprit inainte de a scoate partile detasabile. Dupa
curățare, reasamblati partile detasaabile conform instrucțiunilor.
- Utilizathi doar sonda de carne recomandata pentru acest cuptor.
- Nu folosiţi un dispositiv de curățare cu aburi sau pulverizator cu presiune ridicata pentru operatiunile de curățare.
- IN CAZUL IN CARE CUPTORUL Este FURNIZAT DE PRODUCATOR FÁRÁ STECÁR:
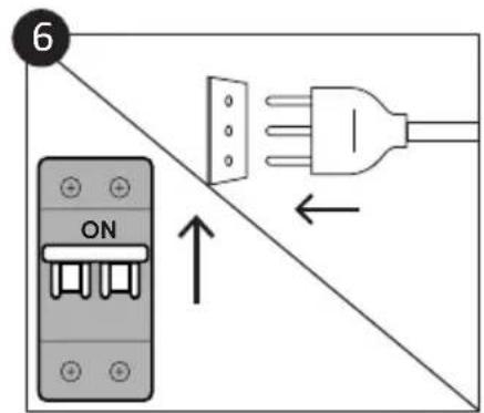
APARATUL NU TREBUIE CONECTAT LA SURSA DE ALIMENTARE UTILIZAND STECARUL SAU PRIZE, CI TREBUIE CONECTAT DIRECT LA RETEAU A DE ALIMENTARE. Conectarea la sursa de alimentare trebuie efectuata de catre un profesionist calificat in mod corespunzator. Pentru a avea o instalatie conforma cu legislata actuala in materie de siguranta, cuptorul trebuie conectat numai prin amplasarea unui disjunctor omnipolar, cu separarea contactelor conforma cu cerintele privind categoria lll de supratensiune, intre aparat si sursa de alimentare. Disjunctorul omnipolar trebuie sa suporte sarcina maxima connectata si trebuie sa respecte legislata actuala. Cablul de impamantare galben-verde nu trebuie sa fie intrerupt de disjunctor. Disjunctorul omnipolar utilizes pentru connectare trebuie sa fie uesor accesibil atunci cand aparatul este instalat.
Conectarea la sursa de alimentare trebuie efectuata catre de un profesionist calificat in mod corespunzător, tinând cont de polaritatea cuptoruluiși a sursei de alimentare.
Deconnectarea trebuie realizata incorporand un intrerupator in cablajul fix, conformitate cu regulile de cablare.
- IN CAZUL IN CARE CUPTORUL Este FURNIZAT DE PRODUCATOR CU STECAR:
Priza trebuie să fie adecvata pentru sarcina indicata pe etichetășitrebuie să aibă contactul de impânntare conectatșiin functiune. Conductorul de impânntare este de culoare galben-verde. Această operție trebuie efectuata de o personă calificata corespunzător. In cazul incompatibilități dintre prizăși stecărul aparatului, solicitati unui electrician calificat sa inlocuiasca priza cu un alt model adecvat. Stecărulși priza trebuie să fie in conformitate cu normele curente din tara unde se efectuează in-
stalarea. Conectarea la sursa de alimentare se poate face.si prin plasarea unui disjunctor omnipolar, cu separarea contactelor conformă cu cerințele privind categorie lll de supratensiune, intre aparat si sursa de alimentare care poate suporta sarcina maxima conectata si care respecta legislația in vigoare. Cabul de impamantare galben-verde nu trebuie sa fie intrerupt de disjunc-tor. Priza sau disjunctorul omnipolar utilizeate pentru conexiune trebuie sa fie uşor accesibile atunci cand aparatul este instalat. Deconnectarea se poate realiza dacă stecărul este accesibil saudacă este incorporat un comutator in schema electrică fixă in conformitate cu regulile referitoare la schema electrică.
- In cazul în care cablul de alimentare este deteriorat, acesta trebuie înlocuit cu un cablu sau un manunchi special disponibil de la produçător sau prin contactarea départementului Serviciuclienti. Tipul de cablu de alimentare trebuie să fie H05V2V2-F. Această operatives trebuie efectuata de un professionist calificat în mod corespunzător. Conductorul de impamântare (galben-verde) trebuie să fie cu 10 mm mai lung decât alte conductoare. Pentru orice reparati, adresati-vă doar départementului de Asistentăclientiși solicitati適用are unor piese de schimb originale.
- Nerespectarea cerintei de mai sus poate duce la compromiterea sigurantei aparatului si la anularea garantiei.
- Orice urme de material旨在 excess trebuie indepartate inainte de curătare.
- O intrerupere indelungata a alimentarii care apare in timpul fazei de gatit poate determina functionarea defectuoasa a monitorului. In acest caz, contacta ti serviciul de Asistenta clientsi.
- Aparatul nu trebuie instalat in spatele unei uşi decorative pentru a evita supraíncălzirea.
- Când introduciţi tava grătar, aveți grijă ca marginea antiderapantă să fie poziţionata în spreși în spre în sus.
- Cánd introduci gratarul, verificati dacă sistemul de oprire esteindreptat in susși dacă se află in spatele cavitatei cuptorului. Gratarul trebuie introdus in intregime in cavitate.
- AVERTISMENT: Nu captuşiti pereti cuptorului cu folie de alumin-
iu pau cu unSYSTEM de protectie de unica folosinta disponible in magazine. Folia de aluminiu pau orice alt system de protectie, in contact direct cu emailul fierbinte, risca sa se topeasca si sa detioreze emailul din interior.
- AVERTISMENT: Nu îndepărti niciodata garnitura de la uşa cupto-rului.
- ATENTIE: Nu reumpleti partea de jos a cavității cu apă în tampul gătitului sau cand cuptorul este fierbinte.
- Nu este nécessara operarea/setarea supplementară pentru a utilizes aparatul la freventaile nominale.
- Cuptorul poate fi amplasat intr-o coloană inaltă sau sub suprafata de lucru. Inainte de fixare, trebuie să asigurati o bună ventilare a spațiului cuptorului pentru a permite circularea adecvata a aerului proaspăt NEEDARsaru răcirea si protejarea pieselor interne. Realizathi fantele specificate pe ultima pagină conform tipului de fitting.
- AVERTISMENT: Nu puneti alimentente in contact direct cu gratarele cuptorului. Vă rugăm să folosiți vase de gătit sau hârtie de copt adecvate.
AVERTISMENTE (*PENTRU VASUL CU ABURI)
- AVERTISMENT: Risc de arsuriși de deteriorare a aparatului: la utilizarea functiei aburul eliberat poate provoca arsuri: Deschidetiusa cu atentie pentru a evita vătamarea după/utilizarea functiei de gătit cu abur.
- Utilizathi numai apă potabilă pentru a umple vasul în timpul functiei de abur.
- AVERTISMENT: Dupăutilizare,aparezidualădinvaspoate fi incă fierbinte. Vărugăm sā manipulati cu grijă.
- Vă rugăm să reținți că vasul cu aburi este destinat utilizării numai în interiorul unui cuptor. Nu utilizați vasul cu aburi pe plite sau pe o flacărășchisia.
- Nu este recomandat să puneti vasul în mașina de spălat vase. Spălati-l manual cu un detergent de vase obişnuit.
- Nu utiliziati substante de curătare abrazive dure sau raclete de metal ascuțite pentru a curăța vasul cu aburi.
Instruktiuni generale
Vă multțumim că ați alees unul dentre produsele noastre. Pentru obținerea celor mai bune rezultate cu captorul dvs.,trebuie să citiţi aesst manual cu atențieși să il păstrați pentru o referintă viitoare. Inainte de a instala captorul,notați numărul de series pe care il puteti da personalului din cadrul departamentului de serviciu clienti dacă sunt necesare reparataii. După scoaterea captorului din ambalaj, verificăți să nu fi fost deteriorarat in timpul transportului. Dacă aveți indoieli, nu utilizăi captorul si consultăți un tehnician calificat pentru sfaturi. Nu lasăti materialele din ambalaje (pungi de plastic, polistiren, cuie) la indemâna copiar. Atunci cand captorul este pornit pentru prima data, poate apărea un miros puternic de fum, cauzat de lipiciul de pe panourile de izolare care inconjoara captorul ce se incâlzește pentru prima data. Acest lucru este absolut normal,și dacă are loc, trebuie sașsteptați ca fumul să dispară inainte de a pune mancarea in captor. Produțatorul nu iși asumă nicio responsabilitate in cazul in care instrucțiunile incluse in acest document nu sunt respectate. NOTA: functțile, proprietățileși accesoriile captoruluimentionate in acest manual vor varia, in functie de modelul pe care l-ați achizitionat.
Indicaţii privind siguranta
Utilizathi cuptoril numai in scopul pentru care a fost destinat, si anume pentru gătirea alimentelor; orice alteutilizare, de exemplu ca sursă de caldură, se consideră a fi necorespunțătoareși prin urmare periculoasă. Produțatorul nu pot fi considerat răspunțător pentru daunele provocate de Utilizarea necorespunțătoare, incorcetă sau nejustificata.
Utilizarea aparatelor electrice implica respectarea unor regulifundamentale:
- nu trajeţi de cablul de alimentare pentru a scoate stecherul din priză;
- nu atingeti aparatul dacă aveți mainile sau picioarele umede;
- in general, nu este recomandata utilizarea adaptoarelor, a przyelor multiple si a prelungitoarelor;
- In caz de fonctionare defectuosa 山 /sau fonctionare deficienta, opriti aparatul si nu il foratai.
Siguranta electrica
ASIGURATI-VA C A UN ELECTRICIAN SAU UN TEHNICIAN CALIFICAT REALIZEAZA CONEXIUNILE ELEC
TRICE. Sursa de alimentare la care este conectat cuptorul trebuie sa respecte legislata in vigoare in tara in care acesta este instalat. Producatorul nu iisi asumă raspunderea pentru nicio daună provocata de nerespectarea acestor instructiuni. Cuptorul trebuie conectat la o sursa de alimentare cu o priză de perete cu impamântqre sau la un disjunctor cu poli multipli, in functie de legislata in vigoare in tara in care acesta este instalat. Alimentarea electrică trebuie protejă prin sigurante adecate, iar cablurile utilizetrebuie sa aibă o sectiune transversala care poate asigura alimentarea corectă a cuptorului.
CONEXIUNEA
Cuptorul este furnizat impreună cu un cablu de alimentare care trebuie conectat numai la o sursă de alimentare cu o putere de 220 - 240 VCA 50 Hz intre faze sau intre fazăși nul. Inainte de a conecta cuptorul la o sursă de alimentare, este important sa verificati:
- tensiunea indicata pe cuplu;
- reglajul disjunctorului.
Firul de impamantare conectat la borna de impamantare a cuptorului trebuie legat la impamantarea sursei de alimentare.
AVERTISMENT
Înaine de a connecta captorul la sursa de alimentare, solicitati unui electrician calificat sa vérifice continuitatea bornei de impamantare a sursei de alimentare. Produçatorul nu işi asumă raspunderea pentru accidentele Sau alte probleme cauzate de neconnectarea captorului la borna de impamantare sau de o impamantare care prezinta continuitate defectă.
NOTÄ: deoarece cuptorul ar putea necesita lucrãi de intreținere, este recomandabil să se pastreze o alta priza de perete disponibla, astfel incât cuptorul să poata fi connectat la acesta dacă este scos din spatuiul in care este instalat. Cablul de currenttrebuie inlocuit numai de cotre personalului departamentului de servicii tehnice sau de cotre tehnicieni cu o calificare echivalentă.
Recomandári
După fiecare適用are a cuctorului, o curățare minimă va ajuta la păstrarea cuctorului în perfectă de curățare.
Nu captuşiti pereşti cuptorului cu folie de aluminiu sau cu un sintem de protectie de unica folosintă disponible in magazine. Folia de aluminiu sau orice alt sintem de protectie, in contact direct cu emailul fierbinte, risca să se topeasca să deteriorioreze emailul din interior. Pentru a preveni murdarirea excessiva a cuptorului care duce la mirosuri puternice de fum, vă recomandam să nu Utilizati cuptorul la o temperatura foarte mare. Este mai bine să prelimungti durata coacerii să coborâti puțin temperatura. Pe lângă accesorile furnizate impreună cu cuptorul, vă recomandam să Utilizati vase să forme de coacere rezistente la temperaturi foarte mari.
Instalarea
Producătorii nu au nicio obligație să presteze acest serviciu. Dacă este neceasară asistența produțărului pentru a rectifica defecte ce decurg din instalare area incorcță, această asistență nu este acoperită de garantție. Trebuie urmate instrucțiunile de instalare pentru personalul calificat profesional. Instalarea incorcță poate duce la vătamarea sau ranirea personelorși animalelor sau la deteriorarea bunurilor. Producătorul nu poate fi tras la raspundere pentru astfel de vătamâri sau deteriorară. Cuptorul poate fi amplasat inalt intr-o coloană sau sub un blat de lucru. Inainte de fixare, asiguratî o ventilare bună în spatiul cuptorului pentru a permite o circulare corespunțătoare a aerului proaspăt pentru răcireași protejarea pieselor interne. Realizuți deschiderile specificare la ultima pagină, conform tipului de montaj.
Primautilizare
CURATARE PRELIMINAR :Curataci captorul inainte de a it utilization prma data. Stergeti suprafetele externe cu o laveta moale umeda. Spalati toate accesorile s stergei partea interioar a captorului cu o soluie din apa fierbinte s detergent de vase lichid. Reglci captorul gol la temperatura maxima si lasati-1 pornit tamp de aproximativ 1 or, astfel vor fi eliminate mirosurile prelungite tipice unui produs nou.
Descrierea produsului

ACCESORII (In functie de modelul captorului.)

Tava mai adanca
Tava mai adança este ideala pentru o rumenire uniformă, fiind perfectă pentru furtescuri, produse de patiserie, caserole sau fripturi. In plus, plasarea acesteia sub un gratar de gatat poate ajuta la colectarea picaturilor si la prevenirea murdăriei in captor.

Grilaje laterale de sarmà (doar dacá existá)
Amplasat pe ambele parti ale cavitaţii cuptorului, tine grătare metaliceși farfurii de picurare.
- Panou de comenzi
- Poziti rafturi (grilaj lateral din sarma, daca este inclus)
- Grilaje
- Tavi
- Ventilator (dacă există)
- Usa captor
- Grilaje laterale de sarma (daca exista: numai pentru cavitate plana)
- Numár de série

Sciei aici numarul dvs.de seric pentru referinva vitoare.

Grilaj metallic
Sustine tavi si farfurii de copt. Nu asezati alimentete in contact direct cu gratarul metallic.

Ghidaje telescopice (doar dacă există)
Doua sine de ghidare care facilitează verificarea stării de gâtire, deoarece permit extragerea si re-positionarea cu uşurintă a tăvilorși a gratarelor in interiorul cavitàții cuptorului.
NOTÀ: Grătarele cuptorului nu sunt potrivite pentru contact direct cu alimentele. Vă rugăm șiutilizati tăvi adecate sau hârtie de copt.
Sonda pentru carne (doar dacă este prezentă)

Masoară temperatura internă a alimentelor in timpul gătirii. Introduceți in orificiul din partea superioara a cavitatei. Trebuie introduus in tamp ce cuptorul este răcit.
AVERTISMENTE:
- Nu preincalziti si nu incepeti să gatiţi inaintede a introducre corect sonda pentru carne.
- Nu incercati sa introduceti sonda pentru carne in alimente congelate.
Panouri catalitice (doar dacá sunt prezente)

Panouri speciale acoperite cu email, realizate cu o structura microporoasa pentru a transforma grasimea t n elemente gazoase u sor de indepartat. Inlocui dupa 3 ani deutilizare (la 2/3 cicluri de ggit pe saptamna).
Capac Softclose (doar dacà sunt prezente)

Balamale care asigura o miscare automata moale si lină in timpul fazei de inchidere a uşii cuptorului.
Turnspit (doar dacă sunt prezeinte)

Nu este necessitiesa preincalzirea pentru gătitul la rotisor. Gătitul se face cu uşa inchisa.
- Deşurubá tí cârligele.
- Introduciţi tepuș in carne care urmează să fie gătă.
- Asiguratci carnea cu caryligele.
Strangeti suruburile. - Introduciţi axul in gaura unde este amplasat motorul.
- Scoateti帽子用sifolosi-lla sfarsitulgatitulipentrua evita arsurilecand scoateti mancareadincaptor.
Set tava pentru grill (doar dacă sunt prezeinte)

Polita simpla poate sustine forme 山 vase.
Polita suport pentru tăvi este ideală pentru grill. Folosiţi-o impreună cu tava de scurgere.
Profilul special al politelor asigura ca acestea raman orientale chiar si atunci cand sunt complet trase.
Nu există riscul ca un vas sa alunecse sa se verse.
Tava de scurgere colectează sucurile alimentelor gătite la grill. Aceasta se folosește doar cu functiile Grill, Rotisor sau Grill cu ventilatie; scoateti tava din cuptor pentru alte metode de gătit.
Nu folosi niciodata tava de scurgere ca tava de friptura, deoarece aceasta va genera fum si grasimea va stropi cuptorul, murdarindu-l.
Suportul pentru tăvi
Polita suport pentru tăvi este ideală pentru grill. Folosiţi-o impreună cu tava de scurgere. Este inclus un maner pentru a va ajuta sa mutati in siguranta ambele accesorii. Nu lasati manerul in interiorul cuptorului.
Panou bucatar (doar dacă este prezent)

Un transporte de aer care mârește circulațiaerului in interiorul cuptorului. Acest lucru permite o performanță imbunătată de găt, o gătire mai uniformă a alimentelor la toate
temperaturile, timpi de gàtire mai scurti sì, in sfársit, o distribuţie uniformă a temperaturii in interiorul cuptorului.
Tava Airfry (doar dacasunt preze)

Vas cu aburi (ODOar daca sunt prezente)

Recipientul de abur este un accesoriu util care se umple cu apa pentru a produce abur in tampul gătitului, imbunătățind aroma, texturași umidi-tatea preparatelor.
Descrierea afisajului (in functie de modelul cuptorului.)

8


Steam

8


7

8


7

8

7
Date privind consumul scazut de energia conform Regulamentului Comisiei (UE) 2023/826
Consumul de energia al produsului in starea modului de asteptare (standby), cu afisare a informatilor sau a starii: 0,8 W
Perioada după care echipamentul ajunge automatîn starea modului de așteptare (standby), cu afișare a informatților sau a stări: 20 min
- Minute
- Setarea ceasului
- Timp de preparare
- Blocare pentru copii
- Afişare temperatura sau ceas
- Comenzi de reglare a afisajului LCD
- Buton selector de functii
- Buton selector al termostatului
ATENTIE: prima operatiune care trebuie efectuata dupa ce cuptorul a fost instalat sau dupa intreruperea alimentarii cu energia electrica (aceasta se poate recunoaste pe afisaj care pulsa si indica 12:00) este setarea orei corecte. Acest lucru se realizazeza dupa cum urmeaza.
Apasati butonul central de 4 ori
- Seta ori ca cuUTOanele , - , + , ^
- Eliberati toate butoanele.
ATENTIE: Cuptorul va functiona numai daca ceasul este setat.
Utilizarea programatorului de ceas cu control tactil (in functie de modelul cuptorului.)
| FUNCTIE | MOD DE UTILIZARE | CUM SE DEZACTIVEAZÄ | CE FACE | NOTÄ |
| BLOCARE TASTE | • Funcția de Blocare pentru Copii se ac-tivează prin atingerea butonului Set (+) tamp de minimum 5 secunde. Din este aspect moment, toate celealte functții sunt blocate, LED-ul pentru blocarea copilor se aprinde, ia rifișajul va alternna înțre STOPși ora curentă. | • Funcția de Blocare pentru Copii se dezactivează prin atingerea butonului tactil Set (+) din nou, tamp de minimum 5 secunde. Din este aspect moment, LED-ul pen- tru blocarea copilor se stinge, ia toate functțiile devin din nou accesibile. | ||
| PROCES VERBAL | • Apăsați butonul central o data. • Apăsați butoanele „"și „+“ pentru a seta timpul dorit. • Eliberăți toate butoanele. | • Când timpul setat a expirat, se activează o alarmă sonora (această alarmă se va opri singură,Însă poate fi oprită imediat prin apăsarea butonului SELECT). | • Emite o alarmă la sfărțitol timpului setat. • Pe parcursul procesului, afișajul arataș timpul rămas. | • Permite/utilizarea captorului ca ceas cu Alarmă (poate fi activăție in timpul Utilizări cuptorului, fie fărăutilizarea acestuia). |
| TIMP DE PREPARARE | • Apăsați butonul central de 2 ori. • Apăsați butoanele „" sau „+“ pentru a seta durata de gătire dorită. • Eliberăți toate butoanele. • Setați functția de gătire folosind selectorul de functții al captorului. | • Apăsați orice buton pentru a opri semna-lul. Apăsați butonul central pentru a reveni la functția de ceas. | • Permite prese-tarea timpului de gătire necesar pent-ru rețeta aleasă. • Pentru a verifică că timp a rămas, apăsați butonul SELECT de 2 ori. • Pentru a modifi-ca/schimba timpul presetat, apăsați butonul SELECTși butoanele „-”și „+". | • Când timpul setat a expirat, captorul se va opri automat. Dacă doritiș sa opriți gătitul mai devreme, fie rotutiș selectorul de functți la 0, fie setați timpul la 0:00 (butonul SELECTși butoanele „-”și „+"). |

1

2

图
3

1

2

C


F


Date privind consumul scazut de energia conform Regulamentului Comisiei (UE) 2023/826
Consumul de energia al produsului in starea modului oprit: 0,5 W
Perioada dupa care echipamentul ajunge automat la starea modului oprit: 20 min
Folosind cronometrul minutelor Utilizarea cronometrului de sfarşit de gătit

Pentru a seta timpul de gataire, roiti cadranul cu o rotatie completa si apoi poziationati indexul la timpul dorit. Cand timpul a trecut, semnalul va suna pentrucateva secunde.

Acest control permite setarea tampului de gàtire dor-it (maxim 120 de minute). Cuptorul se va opri automat la sfársitul tampului setat.
Temporizatorul va numara invers de la tampul setat, revenind la poziţia 0 si se va opri automat. Pentru Utilizarea normală
a captorului, setați temporizatorul in poziția . Pentru a seta captorul, asiguratăi-vă ca temporizatorul nu este in poziția 0.
Moduri de gătit (in functie de modelul cuptorului.)
| Simbol | T°C impli-cit | Intervalul T°C | Funcție |
| LAMPă: Aprinde lumina cuptorului. | |||
| DECONGELARE: Când selectorul este setat pe această poziție, ventilatorul circulă aer la temperatura camerei în jurul alimentelor congelate, astfel înçât acestea să se decongeleze fără ca proteinele din alimente să fie afectate sau modificate. | |||
| MULTI LEVEL: Recommandăm'utilizarea acestei metode pentru carne de pasăre, produse de patiserie, pește și legume. Căldura pătrunde mai bine în alimente, ia timpii de gătire și de preincălzire sunt reduși. Puteti găti alimente diferite simul-tan, cu sau fără aceeuși preparare, pe una tau mai multe poziții. Această metodă de gătit oferă o distribuție uniformă aăldurii, fără amestecarea mirosurilor. Permiteti aproximativ zece minute supplimentare pentru gătirea alimentelor în același tamp. | |||
| * COOK LIGHT: Această funție permite gătitul în un mod mai sanătos, re-ducând cantitatea de grăsime tau ulei necessara. Combinatația de elemente de înçălzire și ciclul pulsatoriiu de aer asigură un rezultat perfect de coacere. | |||
| CONVENTIONAL + VENTILATOR: Selectând această funție, elementele de înçălzire inferioare și superioare functionează înpreună cu ventilatorul pen-tru o gătire uniformă pe toate nivelurile. Această metodă de gătit sporește frâgezimea și aroma fiecărui preparat, în special pentru fripturi și carne rosie. | |||
| 210 50 | MAX | ||
| 210 50 | MAX | ||
| 220 50 | MAX | * CONVENTIONAL: Atêt elemente de incâlzire superioare, cãt âs inferioroare sunt utilize. Preâncâlziți captorul aproximativ zece minute. Această metodă esté idealiâu prâjireși coacere tradizională. Plasășmâncareași vasul sâu pe un raft in poziția mistrucță. | |
| 220 50 | MAX | CONVENTIONAL + ABURI: Sunt utilize elemente de incâlzire superioare âs inferioroare. Preâncâlziți captorul timp de aproximativ zece minute. Această metodă esté idealiâu prâjireși coacere fripturi. Aşezâtiânncareași vasul pe un raft la miñoc. Această funçie oferãsãgãit asistat cu aburi, ceea ce presupune adâugarea de apã àn cavitate/recipient (daca este prezent) atunci cand captorul este recêș si rotirea selectorului la această funçie. Nu folositi preâncâlzirea pentru această funçie. Modul cu aburi poate fi適用at pentru a obtene o crustă mai crocantăși ocsuprață mai lucioasă. | |
| 230 50 | MAX | GRILL: Ideal pentru cantităti mari de cârnați, fripturiși pâine prâjità. Intreaga zona de sub elementul de grill devine fierbinte. Utilizâțu cu ugăînchisă. In-toarcți alimentele după două treimi din timpul de gâtie (daca este necesar). Pentru pâinea prâjță, utilizâți temperatura maxima pe poziția 5 a raftului, fãră preâncâlzire. | |
| 210 50 | MAX | CONVENTIONAL + VENTILATOR + ABURI: Prin selectarea acestei functii, elemente de incâlzire superioare âs inferioroare functionează âmpreună cu ven-tilatorul pentru o gâttire uniformă pe toate nivelurile. Această functie oferãsãgãit asistat cu aburi, necesitând adâugarea de apã àn cavitate/recipient (daca este prezent) si rotirea selectorului la această funçie. Nu folositi preâncâlzirea pentru această functie. Această metodă de gâttit sporește frâgezimeași aro-ma fiecărui preparat, in special fripturileși carneau rosie. | |
| 220 50 | MAX | PIZZA: Cu această functie, aerul cald circulăÎn captor pentru a asigura rezul-tate perfecte pentru preparate precum pizza sau prâjituri. | |
| 200 200 | AIRFRY: Această functie este ideală pentru coacere cu efect de friteuză cu aer,... combinata cu accesorul potrivit, asigură circularța uniformăși tridimensionala a aerului fierbinte in jurul alimentelor, obtinând un reultat mai crocant. Ideal pentru preparare alimentelor congelate sau a celor pre-prajiteși panetate. Pentru cele mai bune rezultate, utilizâți tava sau grâtarul pentru air fryer la nivalul 4și la 200°C, fãră preâncâlzire. Timpul de gâttire va varia in functie de tipulși cantitatea alimentelor. Vâ rugămă și plasați tava colectoare la nivalul 1 pentru a colecta sucreța sucreța sucreța sucreța sucreța sucreța sucreța sucreța sucreța sucreța sucreța sucreța sucreța sucreța sucreța sucreța sucreța sucreța sucreța sucreța sucreța sucreța sucreța sucreța sucreța sucreţa sucreța sucreța sucreța sucreța sucreța sucreța sucreța sucreța sucreța sucreța sucreța sucreța sucreța sucreța sucreța sucreța sucreța sucreța sucreța sucreța sucreța sucreța sucreța sucreța sucrettal. |
*Testat in conformitate cu standardul EN 60350-1旨在 scopul declaratiei de consum de energia si a clasei energetice
LABEL DE GATIT LA ABUR USOR
Puteti folosi modul Easy Steam in functiile care offera gatit asistat cu abur. Folosi modul Easy Steam pentru un singur nivel de gatit si nu preincalzi. Aduga ti cantitatea de apa indicata in tabelul urmator pe fundul cavita tii sau in vasul dedicat (dac este prezent*). Apoi puneti mancarea in cuptor cand esterece si activati functia. Valorile din tabelul urmator sunt parametri medii pentru fiecare grupa alimentara. Pot fi modificate in functie de preferinte.
| Funcție | Catego- ria De Alimente | Preinc-älzi | Pozitție Raft | Volumul De ApăÎn Cavita- te/Recipient | Interval de tempe- ratură | Interval de temp (min) | Descrirente |
| Pâine No | 2-3 100 ml | 190 °C - 220° | C 30-60 Pentru | pânini | |||
| Carne NO | 2-3 100 ml | 200 °C - 220° | C 20-80 | Pentru fripturi de vită, vitel și porc, păsări și bucăți de carne | |||
| Legumă NO | 2-3 150 ml | 200 °C - 220° | °C 30-60 | Pentru legume și car- tofi copți | |||
| Pește NO | 2-3 75 ml | 70 °C - 190° | C 15-45 | Pentru pești înesti și fileuri |
*CUM SÄ FOLOSITI VASELUL DE ABURI PENTRU FUNCTIILE DE GATIT CU ABUR

- Adaugaţi cantitatea recomandata de apă in vasul de abur de la chiuveta sau cu ajutorul unei cani.

- Asezati vasul in partea de jos a cavitatii.


- Asigurati-Va Cau Usa Cuptorului Este Inchisa.
Dupăutilizarea modului Easy Steam
In functie de frecventautilizarii si de duritatea apei, pot ramane pete de calcar pe fundul cavitatii sa in vas, dacă este prezent. Dupăutilizarea modului Easy Steam, lasați aparatul să se raceasca înunte de curătare. Pouru aindeparta petele de calcar, turnați un amestec de 100 ml oțetși 50 ml apă pe fundul cavitatii sa in vas. Dupăapproxativ 10 minute, stergeti cu o cappă moale.
Note generale privind curățarea
Ciclul de viata al aparatului poate fi prelimungit printr-o curatare regulata. Astepta 山 ca cuptorul sase raceasca inainte de a efectua operatiunile decurare manuala. Nu utiliata niciodata detergeti abrazivi, bureti de sarmau obiecte ascutite penstrucuratare, pentru a nu afecta in mod iremediabil piesele emailate. Utiliata numai apa, sapun saudetergenti pe bază de inalbitor (amoniu).
PIESE DIN STICLA
Se recomanda sa curatai fereastr din sticla cu un prosop de bucatarie absorbent dupa fiecare utilizare acuptorului. Pentru a indeparta petele mai dificile, putetiutiliza un burete imbibat in detergent, frecand bine si apoi clatind cu apa.
ETANSAAREA FERESTREICUPTORULUI
Daca este murdar, etanarea poate fi curata cu un burete uor umed.
ACCESORII
Curatai accesorile cu un burete umed, imbibat in detergent inainte de a le clati si usca: evita iutila-rea detergentilor abrazivi.
TAVA
Dupăutilizarea grillului, scoatei tava din cuptor. Turnati grasmile fierbinti intr-un recipient sispalati tava cu apă fierbinte,utilizand un burete si detergent lichid de vase.
Dacă rămân reziduuri de grăsime, scufundatu tava in apă cu detergent. Alternativ, puteti spăla tava in masina de spălat vase sau puteti Utiliza un detergent din comert pentru cuptoare. Nu puneti niciodata o tava murdară inapoi in captor.
Intreşinere (In functie de modelul cuptorului.)

INSTRUCTION PENTRU INALATAREA SICURATAREA RACCURIOR LATRICE
- Scoatei suporturile de sarma tragandu-le in directia sagetilor (a se vedea mai jos)
- Pentru a curata suporturile de sarma, fie le puneti in masina de spalat vase, fie utilizi un burete umed, asigurandu-va ca sunt apoi uscate.
- După incheierea procesului de curătare, instalati suporturile de sârmă in ordine inversă.









- Deconectaţi cuptorul de la sursa de alimentare.
- Desfaceti capacul de sticla, deurubati becul si inlocui-1 cu un bac nou de acelaasi tip.
- După ce becul defec t a fost inlocuit, puneti la loc capacul de sticlă.







Acest produs contine una tau mai multe surse de lumină cu clasa de deficientă energetica G (Lampa). *In caz de probleme cu această lampă, contactati serviciul de asistență pentru clienti.
Procedura Aquactiva foloseste aburul pentru a ajuta la indepartarea gratsimilor si particulelor de mancare rasmase in cuptor.
- Turnati 100ml de apa in recipientul Aquactiva aflat la baza cuptorului.
- Setaţi functția cuptorului pe lncălzire inferiorioara + Ventilator (
- Seta ti temperatura pe pictograma Aquactiva ( ).
- Lasa programul sa functioneze tamp de 20 de minute.
- După 20 de minute, opriti programulși lasați captorul să se răceasca.
- Cand aparatul este rece, curatai suprafetele interioare ale cuptorului cu o capa.
Avertisment: Asigura-va că aparatul esterece inainte de a-l atinge.
Trebuie sa avei grijacu toate suprafetele fierbinti, deoarece exista risc de arsuri.
Utiliziţi apă distilata sau potabila.



Prezentul aparat este etichetat
in conformitate cu Directiva
europeană 2012/19/UE privind
echipamentele electriceși
electrione (DEEE). DEEE contin atât
substanțe poluante (care pot
avea un efect negativ asupra
mediului) CAT SI elemente de baz (care pot fi refolosite). Este important ca DEEE s fie supuse unor tratamente specifie pentru a indeparta si elimina corect elementele poluante si pentru a recupera toate materialele. Persoanele pot juca un rol important in asigurarea faptului c DEEE nu devin problema de mediu; este esentia! sal se respecte cateva norme de baz:
- DEEE nu trebuie tratate ca deseuri menajere;
- DEE trebuie duse in spatii de colectare speciale, administrate de catre consiliul local sau o companie inregistrata.
In numeroase tari, colectarea deseurilor de la domiciliu poate fi disponibla pentru DEEE mari. Atunci cand cumparați un aparat electrocasnic nou, cel vechi poate fi returnat vanzatorului care trebuie sa il accepte Gratis la schimb, in masura in care acesta este de tip similar si are aceleasi functii cu aparatul cumparat.
SALVAREA §I PROTEJAREA MEDIULUI INCON
JURATOR
Acolo unde este posibil, evitați supraîncălzirea cuctoruluiși incercăți intotdeana să Îl umpleți. Deschideți ușa cuctorului CAT de ran posibil, deoarece caldura din cavitate se dispersează de fiecare dacăalande deschisa. Pentru o economisire semnificativă de energia, opriti cuctorul cu aproximativ 5-10 minute inainte de incheierea ciclului de preparare planificatși folosiți caldu-ra reziduală pe care cuctorul continuašo genereze. Mentiniști sistemele de etanșare curateși in stare bună pentru a evita dispersarea caldurii in afara cavității. Dacă aveți un abonament la curent cu tarif orar, programul „preparare intârziata" facilitazeza economisirea de energia, facandi ca procesul de preparare sa inceapă in intervalul de temp cu tarif redus
Curățareași intreținerea cuptorului
| PROBLEMÁ CAUZÁ POSIBILÁ SOLUTIE | ||
| Cuptorul nu seInsetçălzește Ceasul | nu este setat Setați ceasul | |
| Cuptorul nu seInsetçălzește | O functie de gătire și temperatura nu au fost setate | Asigurați-vă că setările necesare sunt corecate |
| Nicio reactie a interfeței cu uti-lizatorul tactil | Abur și condens pe panoul inter-fetei cu utilizatorul | Curățați cu o cârpă din microfibră panoul interfeței cu utilizatorul pent-ru a îndepărtă stratul de condens |
RO Daca captorul nu are ventilator de racire, creati o deschidere de 460mm× 15mm
RO Daca mobilierul este echipat cu un fund in partea din spate, asigura i o deschidere pentru cablul de alimentare.


RO Produçadoru nu va fi raspunzator pentru nicio inexactitate ce decurge din imprimarea sau erorile de transcriere cuprinse in prezenta broşură. Ne rezervam dreptul de a modifica produsele dacă este besoinar, inclusiv privind consumul, fara a influența caractéristicile referitoare la siguranta sau functiònare.
128 Bezbednosne Napomene
132 Opsha upozorenja
134 Opis proizvoda
137 Opis komandne table
139 Programi pečenja
142 Generalne napomene o ciścenju
142 Održavanje
146 Troubleshooting
147 Installation
ManualUșor